Меню по разделу
+
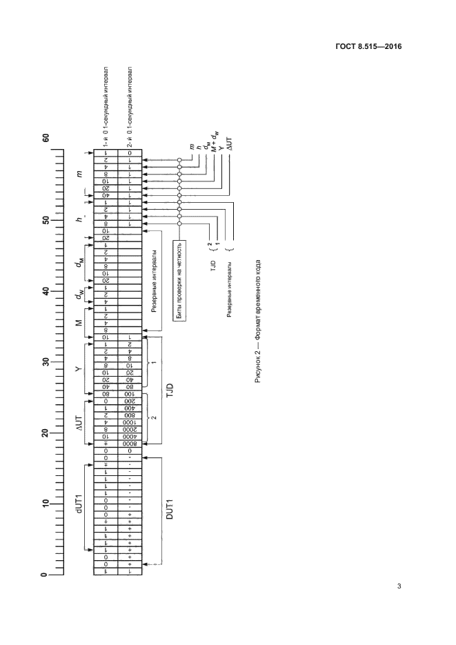
Настоящий стандарт распространяется на эталонные сигналы частоты и времени, излучаемые специализированными радиостанциями Государственной службы времени, частоты и определения параметров вращения Земли, работающими в диапазонах длинных и коротких волн, и устанавливает формат временного кода для передачи информации о текущем значении московского времени, календарной и Юлианской датах, разности шкал времени UT1 и UTC
| Обозначение: | ГОСТ 8.515-2016 |
| Статус: | действующий |
| Название рус.: | Государственная система обеспечения единства измерений. Эталонные сигналы частоты и времени, излучаемые специализированными радиостанциями Государственной службы времени, частоты и определения параметров вращения Земли. Временной код |
| Название англ.: | State system of ensuring the uniformity of measurements. Standard frequency and time signals radiated by specialized radio stations of the State service of time, frequency and the Earth rotation parameters determination. Time code |
| Дата актуализации текста: | 01.12.2016 |
| Дата актуализации описания: | 10.08.2017 |
| Дата издания: | 11.11.2016 |
| Дата введения в действие: | 01.07.2017 |
| Дата последнего изменения: | 13.07.2017 |
| Область и условия применения: | Настоящий стандарт распространяется на эталонные сигналы частоты и времени, излучаемые специализированными радиостанциями Государственной службы времени, частоты и определения параметров вращения Земли, работающими в диапазонах длинных и коротких волн, и устанавливает формат временного кода для передачи информации о текущем значении московского времени, календарной и Юлианской датах, разности шкал времени UT1 и UTC |
| Страниц: | 12 |
| Ссылки для скачивания: |

