Меню по разделу
+
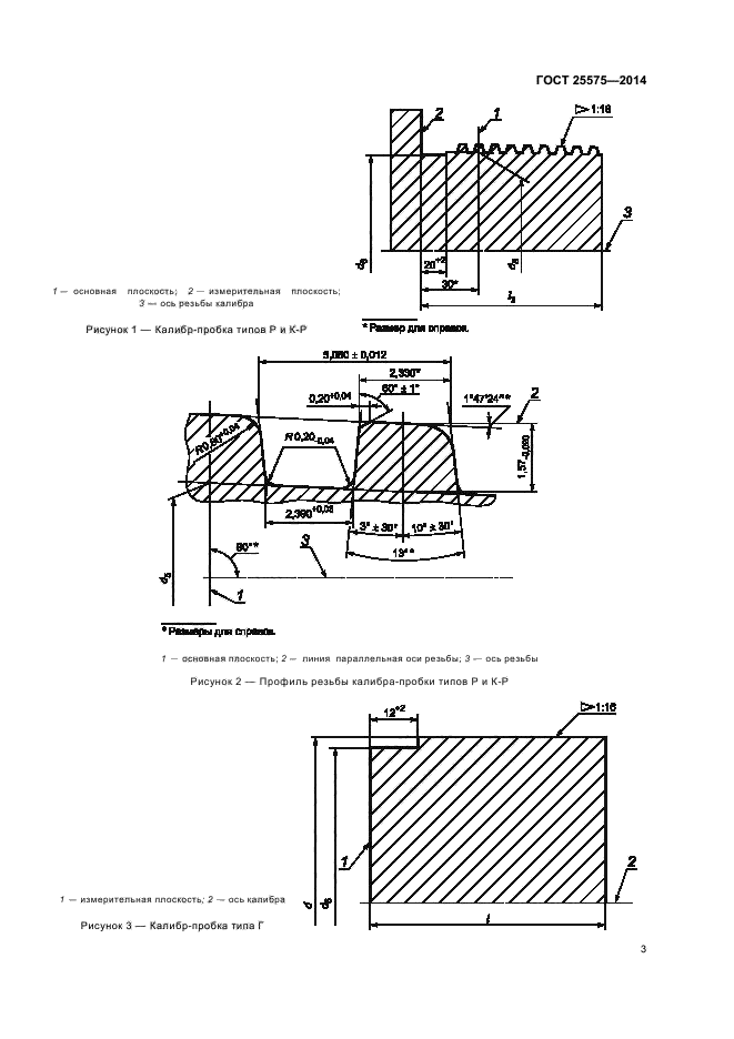
Настоящий стандарт распространяется на контрольные и рабочие конические резьбовые и гладкие калибры, предназначенные для контроля трапецеидальной резьбы и уплотнительных поверхностей резьбовых соединений обсадных труб и муфт к ним типов ОТТМ, ОТТГ и труб типа ТБО
| Обозначение: | ГОСТ 25575-2014 |
| Статус: | действующий |
| Название рус.: | Калибры для соединений с трапецеидальной резьбой обсадных труб и муфт к ним. Типы и основные размеры |
| Название англ.: | Gauges for trapezoidal thread connections for casing pipes with couplings. Types and basic dimensions |
| Дата актуализации текста: | 15.10.2015 |
| Дата актуализации описания: | 10.08.2017 |
| Дата издания: | 22.06.2015 |
| Дата введения в действие: | 01.12.2015 |
| Дата последнего изменения: | 13.07.2017 |
| Область и условия применения: | Настоящий стандарт распространяется на контрольные и рабочие конические резьбовые и гладкие калибры, предназначенные для контроля трапецеидальной резьбы и уплотнительных поверхностей резьбовых соединений обсадных труб и муфт к ним типов ОТТМ, ОТТГ и труб типа ТБО |
| Страниц: | 15 |
| Ссылки для скачивания: |

