Меню по разделу
+
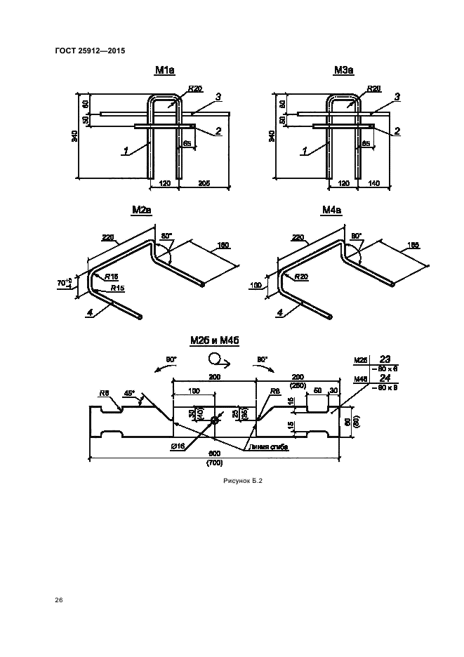
Настоящий стандарт распространяется на предварительно напряженные железобетонные плиты, изготовляемые из тяжелого бетона и предназначенные для устройства быстровозводимых сборных покрытий аэродромов, дорог, площадок для складирования, в том числе, рекомендуемых к применению в тяжелых условиях температурно-влажностного режима холодного климата и вечномерзлых грунтов
| Обозначение: | ГОСТ 25912-2015 |
| Статус: | действующий |
| Название рус.: | Плиты железобетонные предварительно напряженные для аэродромных покрытий. Технические условия |
| Название англ.: | Prestressed reinforced concrete slabs for aerodrome pavement. Specifications |
| Дата актуализации текста: | 01.08.2015 |
| Дата актуализации описания: | 10.08.2017 |
| Дата издания: | 11.06.2015 |
| Дата введения в действие: | 01.07.2015 |
| Дата последнего изменения: | 13.07.2017 |
| Область и условия применения: | Настоящий стандарт распространяется на предварительно напряженные железобетонные плиты, изготовляемые из тяжелого бетона и предназначенные для устройства быстровозводимых сборных покрытий аэродромов, дорог, площадок для складирования, в том числе, рекомендуемых к применению в тяжелых условиях температурно-влажностного режима холодного климата и вечномерзлых грунтов |
| Страниц: | 35 |
| Ссылки для скачивания: |

