Меню по разделу
+
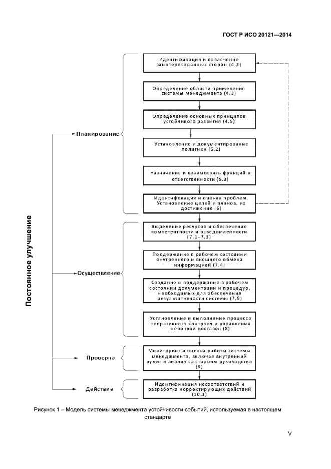
В настоящем стандарте установлены требования к системе менеджмента устойчивости событий в отношении событий любого типа, а также связанной с событиями деятельности, и приведено руководство по обеспечению соответствия этим требованиям.
В настоящем стандарте рассмотрен менеджмент устойчивого развития по всему циклу управления событиями
| Обозначение: | ГОСТ Р ИСО 20121-2014 |
| Статус: | действующий |
| Название рус.: | Cистемы менеджмента устойчивого развития. Требования и практическое руководство по менеджменту устойчивости событий |
| Дата актуализации текста: | 06.04.2015 |
| Дата актуализации описания: | 10.08.2017 |
| Дата издания: | 02.03.2015 |
| Дата введения в действие: | 01.12.2015 |
| Дата последнего изменения: | 17.07.2017 |
| Область и условия применения: | В настоящем стандарте установлены требования к системе менеджмента устойчивости событий в отношении событий любого типа, а также связанной с событиями деятельности, и приведено руководство по обеспечению соответствия этим требованиям.
В настоящем стандарте рассмотрен менеджмент устойчивого развития по всему циклу управления событиями |
| Страниц: | 39 |
| Ссылки для скачивания: |

