Меню по разделу
+
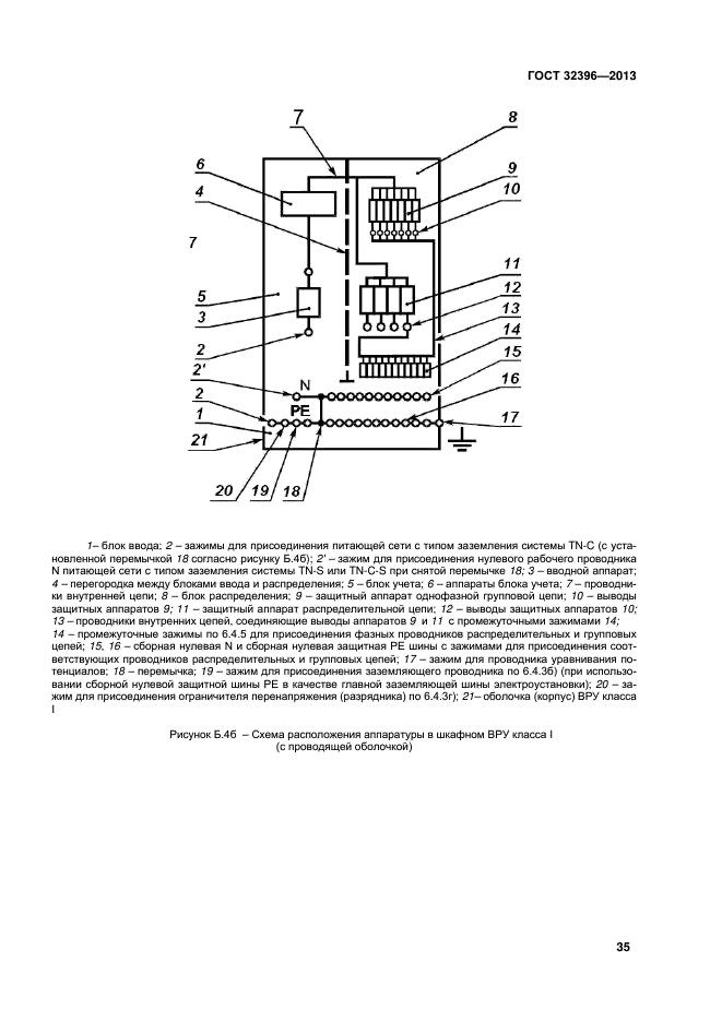
Настоящий стандарт распространяется на вводно-распределительные устройства, предназначенные для приема, учета и распределения электрической энергии в электроустановках жилых и общественных зданий, а также для защиты отходящих от ВРУ распределительных и групповых цепей при перегрузках и коротких замыканиях
| Обозначение: | ГОСТ 32396-2013 |
| Статус: | действующий |
| Название рус.: | Устройства вводно-распределительные для жилых и общественных зданий. Общие технические условия. Разработка ГОСТ на базе ГОСТ Р (ГОСТ Р 51732-2001). |
| Дата актуализации текста: | 06.04.2015 |
| Дата актуализации описания: | 10.08.2017 |
| Дата издания: | 05.10.2016 |
| Дата введения в действие: | 01.01.2015 |
| Дата последнего изменения: | 13.07.2017 |
| Переиздание: | переиздание |
| Область и условия применения: | Настоящий стандарт распространяется на вводно-распределительные устройства, предназначенные для приема, учета и распределения электрической энергии в электроустановках жилых и общественных зданий, а также для защиты отходящих от ВРУ распределительных и групповых цепей при перегрузках и коротких замыканиях |
| Страниц: | 44 |
| Ссылки для скачивания: |

