Меню по разделу
+
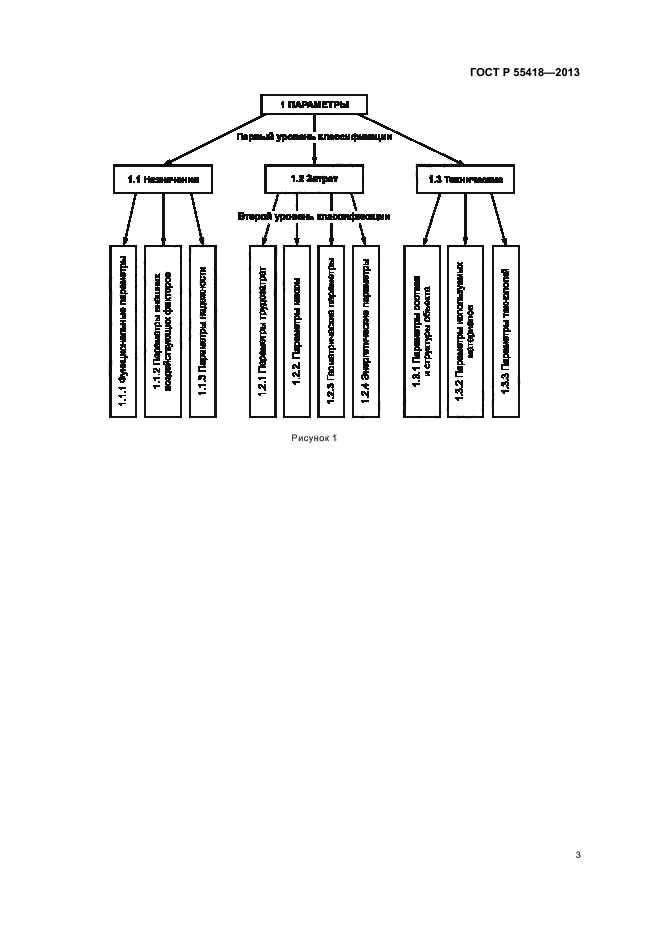
Настоящий стандарт распространяется на процессы формирования обобщенных понятий, которые формируются из множества конкретных физических величин, характеризующих изучаемые объекты, величин, обладающих некоторыми одинаковыми свойствами, и устанавливает критерии распределения свойств, описывающих изучаемый объект, на классы.
Стандарт направлен на упорядочение и упрощение построения нормативных документов по оптимизации, оценке технического уровня изделий авиационной техники, выполнения работ по сокращению номенклатуры комплектующих изделий, составления технических требований, технических условий, формирования предложений по импортозамещению
| Обозначение: | ГОСТ Р 55418-2013 |
| Статус: | действующий |
| Название рус.: | Техника авиационная. Классификация параметров объектов стандартизации. Общие требования |
| Дата актуализации текста: | 06.04.2015 |
| Дата актуализации описания: | 10.08.2017 |
| Дата издания: | 28.03.2014 |
| Дата введения в действие: | 01.01.2014 |
| Дата последнего изменения: | 13.07.2017 |
| Область и условия применения: | Настоящий стандарт распространяется на процессы формирования обобщенных понятий, которые формируются из множества конкретных физических величин, характеризующих изучаемые объекты, величин, обладающих некоторыми одинаковыми свойствами, и устанавливает критерии распределения свойств, описывающих изучаемый объект, на классы.
Стандарт направлен на упорядочение и упрощение построения нормативных документов по оптимизации, оценке технического уровня изделий авиационной техники, выполнения работ по сокращению номенклатуры комплектующих изделий, составления технических требований, технических условий, формирования предложений по импортозамещению |
| Страниц: | 8 |
| Ссылки для скачивания: |

