Меню по разделу
+
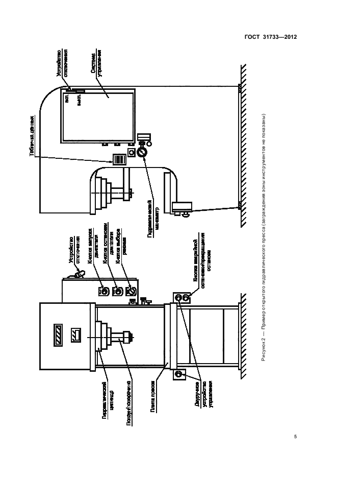
Настоящий стандарт устанавливает требования и меры безопасности, которые должны приниматься при проектировании, производстве и поставках гидравлических прессов, их агрегатов и узлов, распространяется на все проектируемые, изготовляемые и модернизируемые гидравлические прессы, линии и комплексы оборудования на их базе, средства автоматизации и механизации к ним.
Настоящий стандарт также охватывает прессы, которые изначально предназначены для работы с холодным металлом, но используются аналогичным образом для работы с другими листовыми материалами (например, картоном, пластмассой, резиной или кожей) и металлическим порошком.
Настоящай стандарт не распространяется на оборудование, основным проектным назначением которого является:
- резка листового металла гильотинными ножницами;
- установка креплений, например клепок, скоб или стежков;
- гибка или вальцовка;
- револьверная дыропробивная штамповка;
- пробивка на специализированных дыропробивных прессах по шаблонам (например для строительной промышленности)
| Обозначение: | ГОСТ 31733-2012 |
| Статус: | действующий |
| Название рус.: | Прессы гидравлические. Требования безопасности |
| Дата актуализации текста: | 01.08.2015 |
| Дата актуализации описания: | 10.08.2017 |
| Дата издания: | 20.05.2016 |
| Дата введения в действие: | 01.03.2013 |
| Дата последнего изменения: | 13.07.2017 |
| Переиздание: | переиздание |
| Область и условия применения: | Настоящий стандарт устанавливает требования и меры безопасности, которые должны приниматься при проектировании, производстве и поставках гидравлических прессов, их агрегатов и узлов, распространяется на все проектируемые, изготовляемые и модернизируемые гидравлические прессы, линии и комплексы оборудования на их базе, средства автоматизации и механизации к ним.
Настоящий стандарт также охватывает прессы, которые изначально предназначены для работы с холодным металлом, но используются аналогичным образом для работы с другими листовыми материалами (например, картоном, пластмассой, резиной или кожей) и металлическим порошком. Настоящай стандарт не распространяется на оборудование, основным проектным назначением которого является: - резка листового металла гильотинными ножницами; - установка креплений, например клепок, скоб или стежков; - гибка или вальцовка; - револьверная дыропробивная штамповка; - пробивка на специализированных дыропробивных прессах по шаблонам (например для строительной промышленности) |
| Страниц: | 46 |
| Ссылки для скачивания: |

