Меню по разделу
+
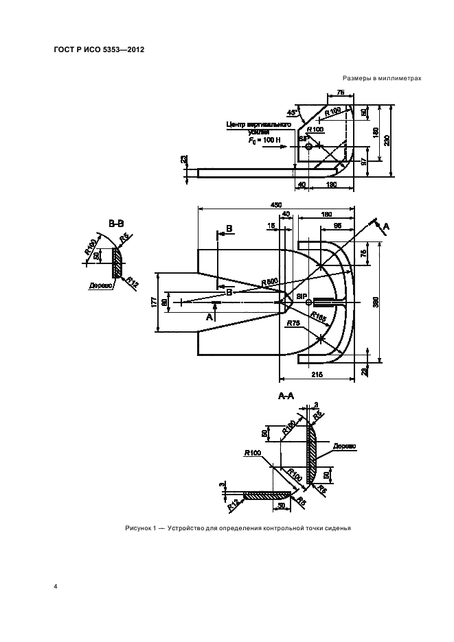
Настоящий стандарт устанавливает метод и средства определения положения контрольной точки сиденья для любого типа сидений, предназначенных для землеройных машин в соответствии с ИСО 6165, а также для тракторов и машин для сельского и лесного хозяйства в соответствии с ИСО 3339-0.
Настоящий стандарт устанавливает единообразный метод определения положения точки SIP относительно фиксированной точки на сиденье
| Обозначение: | ГОСТ Р ИСО 5353-2012 |
| Статус: | действующий |
| Название рус.: | Машины землеройные, тракторы и машины для сельского и лесного хозяйства. Контрольная точка сиденья |
| Дата актуализации текста: | 06.04.2015 |
| Дата актуализации описания: | 10.08.2017 |
| Дата издания: | 01.04.2014 |
| Дата введения в действие: | 01.01.2014 |
| Дата последнего изменения: | 13.07.2017 |
| Область и условия применения: | Настоящий стандарт устанавливает метод и средства определения положения контрольной точки сиденья для любого типа сидений, предназначенных для землеройных машин в соответствии с ИСО 6165, а также для тракторов и машин для сельского и лесного хозяйства в соответствии с ИСО 3339-0.
Настоящий стандарт устанавливает единообразный метод определения положения точки SIP относительно фиксированной точки на сиденье |
| Страниц: | 11 |
| Ссылки для скачивания: |

