Меню по разделу
+
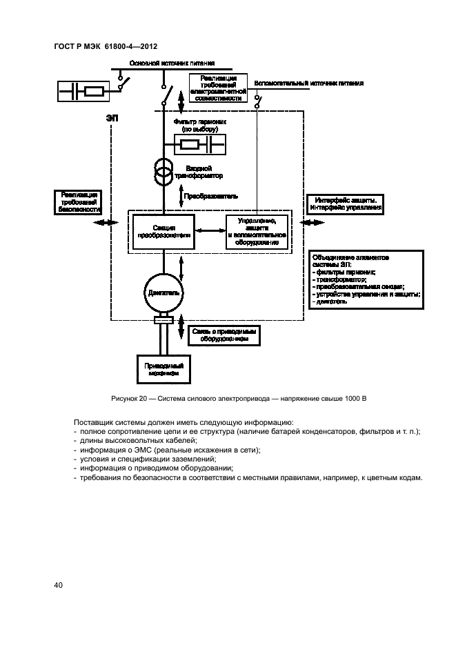
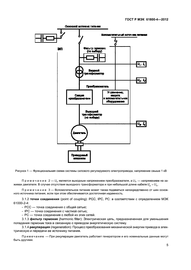
Настоящий стандарт распространяется на системы регулируемых электроприводов переменного тока, которые включают в себя силовой преобразователь, устройства управления и двигатель. Стандарт не распространяется на электрическую тягу железнодорожного применения и электрические приводы транспортных устройств.
Стандарт распространяется на системы электропривода с линейным напряжением преобразователя от 1 до 35 кВ переменного тока, 50 или 60 Гц и с частотами преобразователя на стороне нагрузки до 600 Гц
| Обозначение: | ГОСТ Р МЭК 61800-4-2012 |
| Статус: | действующий |
| Название рус.: | Системы силовых электроприводов с регулируемой скоростью. Часть 4. Общие требования. Номинальные технические характеристики систем силовых приводов переменного тока свыше 1000 В и не более 35 кВ |
| Дата актуализации текста: | 06.04.2015 |
| Дата актуализации описания: | 10.08.2017 |
| Дата издания: | 03.02.2014 |
| Дата введения в действие: | 01.06.2013 |
| Дата последнего изменения: | 13.07.2017 |
| Область и условия применения: | Настоящий стандарт распространяется на системы регулируемых электроприводов переменного тока, которые включают в себя силовой преобразователь, устройства управления и двигатель. Стандарт не распространяется на электрическую тягу железнодорожного применения и электрические приводы транспортных устройств.
Стандарт распространяется на системы электропривода с линейным напряжением преобразователя от 1 до 35 кВ переменного тока, 50 или 60 Гц и с частотами преобразователя на стороне нагрузки до 600 Гц |
| Страниц: | 82 |
| Ссылки для скачивания: |

