Меню по разделу
+
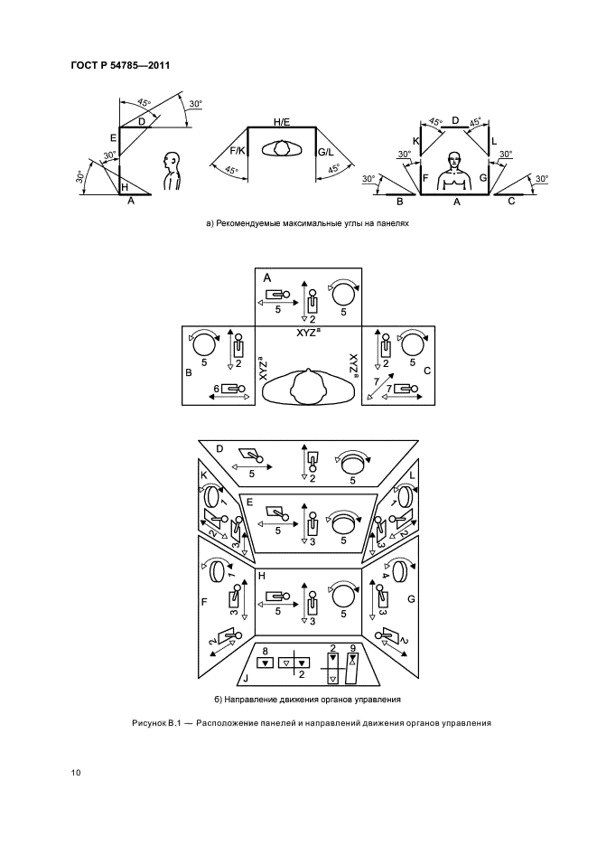
Настоящий стандарт устанавливает требования к ручным и ножным органам управления тракторами и самоходными сельскохозяйственными машинами, оборудованными сидячими рабочими местами (при условиях, указанных изготовителем), касающиеся конструктивного исполнения, направления перемещения, расположения органов управления, а также максимальных сил воздействия на них
| Обозначение: | ГОСТ Р 54785-2011 |
| Статус: | действующий |
| Название рус.: | Тракторы и самоходные машины для сельского и лесного хозяйства. Средства управления для оператора. Силы воздействия, расположение, перемещение и методы управления |
| Дата актуализации текста: | 06.04.2015 |
| Дата актуализации описания: | 10.08.2017 |
| Дата издания: | 03.04.2014 |
| Дата введения в действие: | 01.01.2013 |
| Дата последнего изменения: | 13.07.2017 |
| Область и условия применения: | Настоящий стандарт устанавливает требования к ручным и ножным органам управления тракторами и самоходными сельскохозяйственными машинами, оборудованными сидячими рабочими местами (при условиях, указанных изготовителем), касающиеся конструктивного исполнения, направления перемещения, расположения органов управления, а также максимальных сил воздействия на них |
| Страниц: | 20 |
| Ссылки для скачивания: |

