Меню по разделу
+
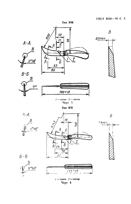
Настоящий стандарт распространяется на содовые ножи, предназначенные для формирования и обрехки кроны деревьев в садах и питомниках
| Обозначение: | ГОСТ 4230-93 |
| Статус: | действующий |
| Название рус.: | Ножи садовые. Технические условия |
| Название англ.: | Garden knives. Specifications |
| Дата актуализации текста: | 06.04.2015 |
| Дата актуализации описания: | 10.08.2017 |
| Дата издания: | 13.06.1995 |
| Дата введения в действие: | 01.01.1995 |
| Дата последнего изменения: | 13.07.2017 |
| Область и условия применения: | Настоящий стандарт распространяется на содовые ножи, предназначенные для формирования и обрехки кроны деревьев в садах и питомниках |
| Страниц: | 12 |
| Ссылки для скачивания: |

