Меню по разделу
+
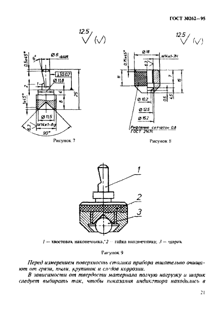
Настоящий стандарт распространяется на щетки электрических машин и устанавливает методы определения физико-химических свойств щеточных материалов
| Обозначение: | ГОСТ 30262-95 |
| Статус: | действующий |
| Название рус.: | Методы определения физических свойств материалов для щеток электрических машин |
| Название англ.: | Test procedures for determining physical properties of brush materials for electrical machines |
| Дата актуализации текста: | 06.04.2015 |
| Дата актуализации описания: | 10.08.2017 |
| Дата издания: | 21.03.1996 |
| Дата введения в действие: | 01.01.1997 |
| Дата последнего изменения: | 13.07.2017 |
| Область и условия применения: | Настоящий стандарт распространяется на щетки электрических машин и устанавливает методы определения физико-химических свойств щеточных материалов |
| Страниц: | 45 |
| Ссылки для скачивания: |

