Меню по разделу
+
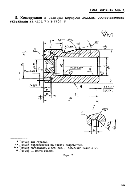
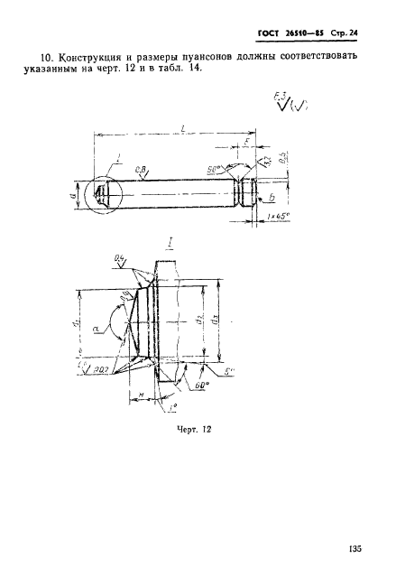
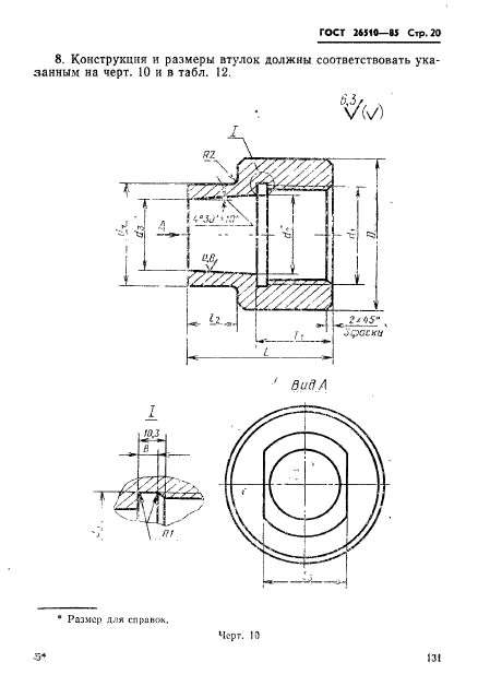
Настоящий стандарт распространяется на матрицы четвертого перехода для высадки заготовок гаек номинальным диаметром резьбы от 6 до 20 мм
| Обозначение: | ГОСТ 26510-85 |
| Статус: | действующий |
| Название рус.: | Инструмент для холодноштамповочных автоматов. Матрицы четвертого перехода. Конструкция и размеры |
| Название англ.: | Tools for cold-forming machines. 4Th station dies. Construction and dimensions |
| Дата актуализации текста: | 06.04.2015 |
| Дата актуализации описания: | 10.08.2017 |
| Дата издания: | 29.10.1985 |
| Дата введения в действие: | 30.06.1987 |
| Дата последнего изменения: | 13.07.2017 |
| Область и условия применения: | Настоящий стандарт распространяется на матрицы четвертого перехода для высадки заготовок гаек номинальным диаметром резьбы от 6 до 20 мм |
| Список изменений: | №1 от 01.01.1991 (рег. 19.12.1989) «Срок действия продлен» |
| Страниц: | 33 |
| Ссылки для скачивания: |

