Меню по разделу
+
| Обозначение: | ГОСТ 27169-86 |
| Статус: | действующий |
| Название рус.: | Мундир и китель для офицеров и прапорщиков Советской Армии. Технические условия |
| Название англ.: | Uniforms and tunics for officers and ensigns of the Soviet Army. Specifications |
| Дата актуализации текста: | 06.04.2015 |
| Дата актуализации описания: | 10.08.2017 |
| Дата издания: | 06.04.1987 |
| Дата введения в действие: | 30.06.1988 |
| Дата последнего изменения: | 13.07.2017 |
| Область и условия применения: | |
| Страниц: | 42 |
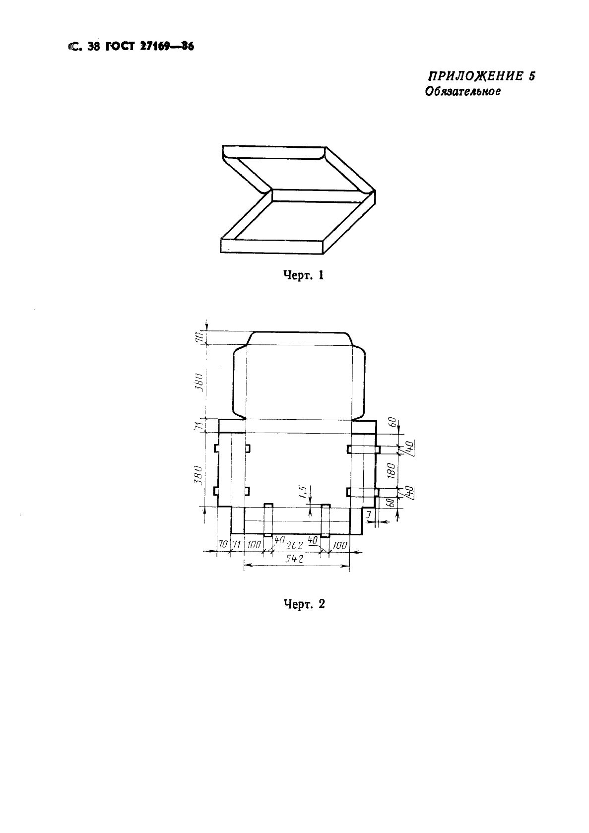
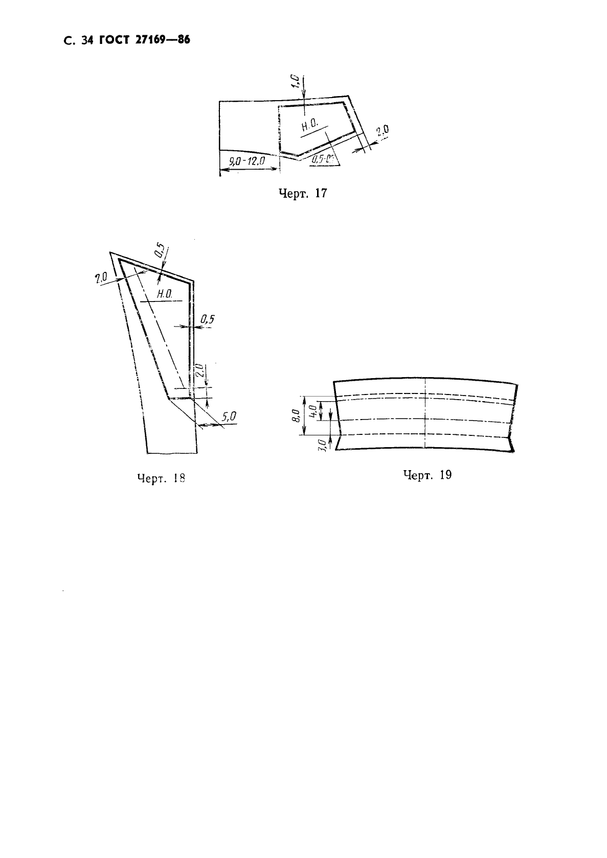
| Ссылки для скачивания: |

