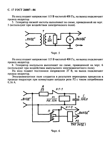
Меню по разделу
+
Настоящий стандарт распространяется на бортовую цифровую аппаратуру (радиоэлектронные и электронные устройства и их совокупность, включающие в себя элементы электронно-вычислительной и импульсной техники и обеспечивающие одну или несколько функций по приему, передаче, обработке, хранению цифровой информации) и сопрягаемое с ней бортовое оборудование
| Обозначение: | ГОСТ 26807-86 |
| Статус: | действующий |
| Название рус.: | Аппаратура бортовая цифровая самолетов и вертолетов. Методы стендовых испытаний на работоспособность в условиях электромагнитных воздействий |
| Название англ.: | Airborne digital apparatus for aircraft and helicopters. Standing test methods for working capacity under electromagnetic action conditions |
| Дата актуализации текста: | 06.04.2015 |
| Дата актуализации описания: | 10.08.2017 |
| Дата издания: | 01.01.1997 |
| Дата введения в действие: | 30.06.1987 |
| Дата последнего изменения: | 13.07.2017 |
| Переиздание: | переиздание с изм. 1 |
| Область и условия применения: | Настоящий стандарт распространяется на бортовую цифровую аппаратуру (радиоэлектронные и электронные устройства и их совокупность, включающие в себя элементы электронно-вычислительной и импульсной техники и обеспечивающие одну или несколько функций по приему, передаче, обработке, хранению цифровой информации) и сопрягаемое с ней бортовое оборудование |
| Список изменений: | №1 от 01.07.1993 (рег. 10.08.1992) «Срок действия продлен» |
| Страниц: | 20 |
| Ссылки для скачивания: |

