Меню по разделу
+
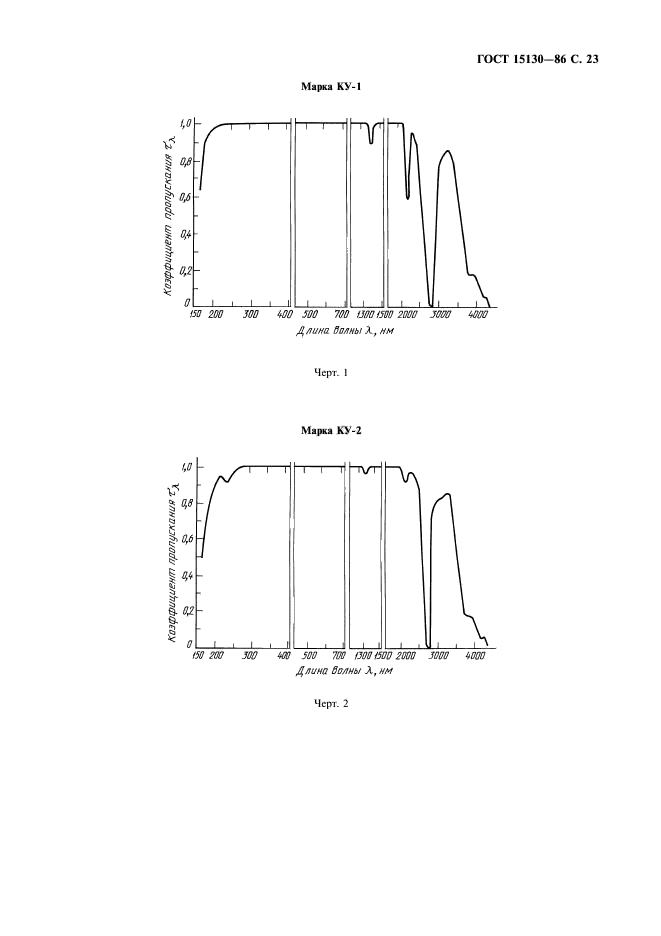
Настоящий стандарт распространяется на кварцевое оптическое стекло, предназначенное для изделий, работающих при прохождении света в одном направлении, и выпускаемое в заготовках размером (диаметром или диагональю) не более 1200 мм
| Обозначение: | ГОСТ 15130-86 |
| Статус: | действующий |
| Название рус.: | Стекло кварцевое оптическое. Общие технические условия |
| Название англ.: | Silica optical glass. General specifications |
| Дата актуализации текста: | 06.04.2015 |
| Дата актуализации описания: | 10.08.2017 |
| Дата издания: | 01.04.1999 |
| Дата введения в действие: | 01.01.1988 |
| Дата последнего изменения: | 13.07.2017 |
| Переиздание: | переиздание с изм. 1 |
| Область и условия применения: | Настоящий стандарт распространяется на кварцевое оптическое стекло, предназначенное для изделий, работающих при прохождении света в одном направлении, и выпускаемое в заготовках размером (диаметром или диагональю) не более 1200 мм |
| Список изменений: | №1 от 01.07.1990 (рег. 30.01.1990) «Срок действия продлен» №2 от 01.09.1991 (рег. 22.02.1991) «Срок действия продлен» |
| Страниц: | 31 |
| Ссылки для скачивания: |

