Меню по разделу
+
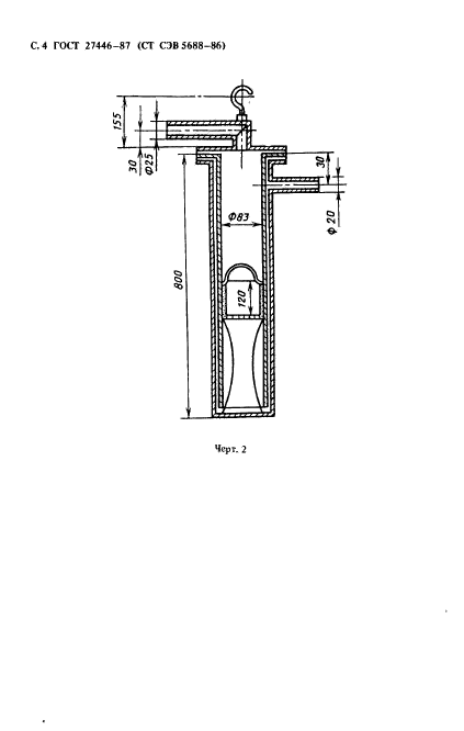
Настоящий стандарт распространяется на железные руды, агломераты и окатыши и устанавливает метод определения прочности руд после восстановления применительно к условиям верхней части доменной печи
| Обозначение: | ГОСТ 27446-87 |
| Статус: | действующий |
| Название рус.: | Руды железные, агломераты и окатыши. Метод определения прочности после статического восстановления при низких температурах |
| Название англ.: | Iron ores, aglomerates and pellets. Method for determination of strength after low-temperature static reduction |
| Дата актуализации текста: | 06.04.2015 |
| Дата актуализации описания: | 10.08.2017 |
| Дата издания: | 07.12.1987 |
| Дата введения в действие: | 01.01.1989 |
| Дата последнего изменения: | 13.07.2017 |
| Область и условия применения: | Настоящий стандарт распространяется на железные руды, агломераты и окатыши и устанавливает метод определения прочности руд после восстановления применительно к условиям верхней части доменной печи |
| Страниц: | 10 |
| Ссылки для скачивания: |

