Меню по разделу
+
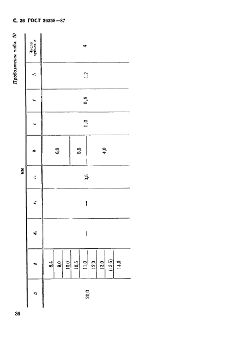
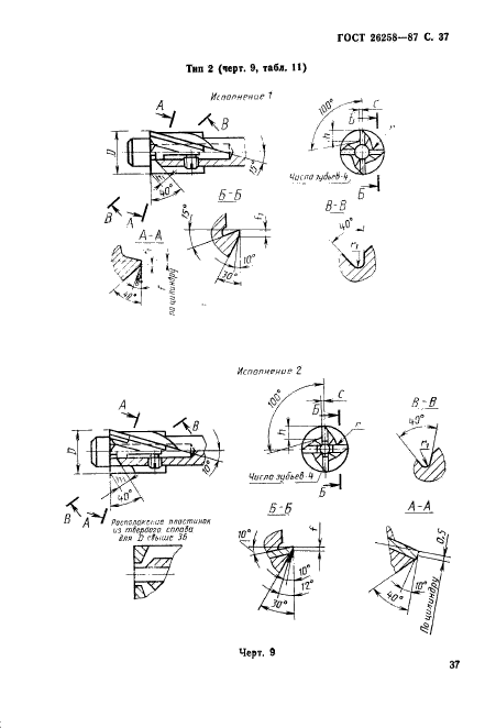
Настоящий стандарт распространяется на цилиндрические цековки, предназначенные для обработки опорных поверхностей под крепежные детали, кроме цековок под увеличенные шайбы для обработки опорных поверхностей диаметром свыше 61 мм и выступающие опорные поверхности диаметром до 15 мм
| Обозначение: | ГОСТ 26258-87 |
| Статус: | действующий |
| Название рус.: | Цековки цилиндрические для обработки опорных поверхностей под крепежные детали. Технические условия |
| Название англ.: | Counterbores desighed for working bearing surfaces under fastenings. Specifications |
| Дата актуализации текста: | 06.04.2015 |
| Дата актуализации описания: | 10.08.2017 |
| Дата издания: | 05.02.1988 |
| Дата введения в действие: | 01.01.1989 |
| Дата последнего изменения: | 13.07.2017 |
| Область и условия применения: | Настоящий стандарт распространяется на цилиндрические цековки, предназначенные для обработки опорных поверхностей под крепежные детали, кроме цековок под увеличенные шайбы для обработки опорных поверхностей диаметром свыше 61 мм и выступающие опорные поверхности диаметром до 15 мм |
| Страниц: | 46 |
| Ссылки для скачивания: |

