Меню по разделу
+
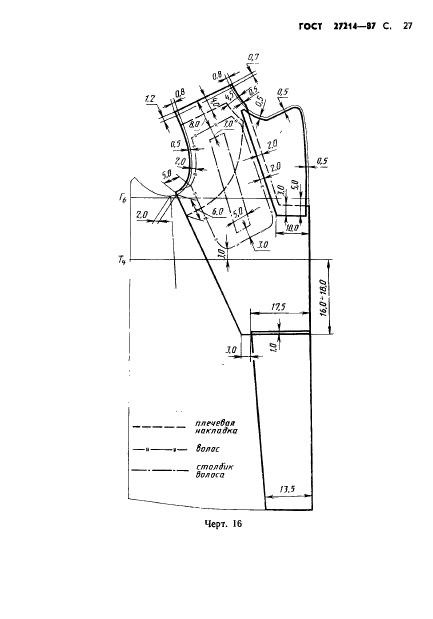
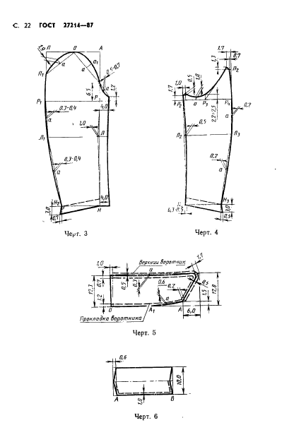
Настоящий стандарт распространяется на мужское госпитальное пальто, предназначенное для лечебных учреждений
| Обозначение: | ГОСТ 27214-87 |
| Статус: | действующий |
| Название рус.: | Пальто мужское госпитальное. Технические условия |
| Название англ.: | Hospital coats for men. Specifications |
| Дата актуализации текста: | 06.04.2015 |
| Дата актуализации описания: | 10.08.2017 |
| Дата издания: | 27.05.1987 |
| Дата введения в действие: | 30.06.1988 |
| Дата последнего изменения: | 13.07.2017 |
| Область и условия применения: | Настоящий стандарт распространяется на мужское госпитальное пальто, предназначенное для лечебных учреждений |
| Страниц: | 37 |
| Ссылки для скачивания: |

