Меню по разделу
+
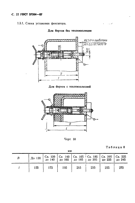
Настоящий стандарт распространяется на откидные борта стальных форм для изготовления железобетонных изделий по ГОСТ 25781-83 и устанавливает требования к конструкции и размерам основных сборочных единиц и деталей стандартизуемых элементов.
Стандарт не распространяется на борта, воспринимающие усилия натяжения арматуры при изготовлении предварительно напряженных железобетонных изделий
| Обозначение: | ГОСТ 27204-87 |
| Статус: | действующий |
| Название рус.: | Формы стальные для изготовления железобетонных изделий. Борта. Конструкция и размеры |
| Название англ.: | Steel moulds for reinforced concrete members. Sides. Construction and dimensions |
| Дата актуализации текста: | 06.04.2015 |
| Дата актуализации описания: | 10.08.2017 |
| Дата издания: | 28.05.1987 |
| Дата введения в действие: | 01.01.1988 |
| Дата последнего изменения: | 13.07.2017 |
| Область и условия применения: | Настоящий стандарт распространяется на откидные борта стальных форм для изготовления железобетонных изделий по ГОСТ 25781-83 и устанавливает требования к конструкции и размерам основных сборочных единиц и деталей стандартизуемых элементов.
Стандарт не распространяется на борта, воспринимающие усилия натяжения арматуры при изготовлении предварительно напряженных железобетонных изделий |
| Список изменений: | №1 от 01.01.1991 (рег. 30.10.1990) «Срок действия продлен» |
| Страниц: | 37 |
| Ссылки для скачивания: |

