Меню по разделу
+
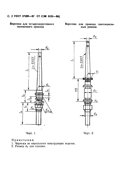
Настоящий стандарт распространяется на веретена кольцевых прядильных и крутильных машин для производства нитей из натуральных волокон и их смесей с химическими волокнами и устанавливает требования к веретенам, изготовляемым для нужд народного хозяйства и экспорта.
Стандарт не распространяется на веретена машин для прядения льна
| Обозначение: | ГОСТ 27289-87 |
| Статус: | действующий |
| Название рус.: | Веретена кольцевых прядильных и крутильных машин. Основные параметры и размеры |
| Название англ.: | Spindles for twister and ring frames |
| Дата актуализации текста: | 06.04.2015 |
| Дата актуализации описания: | 10.08.2017 |
| Дата издания: | 15.07.1987 |
| Дата введения в действие: | 01.01.1988 |
| Дата последнего изменения: | 13.07.2017 |
| Область и условия применения: | Настоящий стандарт распространяется на веретена кольцевых прядильных и крутильных машин для производства нитей из натуральных волокон и их смесей с химическими волокнами и устанавливает требования к веретенам, изготовляемым для нужд народного хозяйства и экспорта.
Стандарт не распространяется на веретена машин для прядения льна |
| Страниц: | 8 |
| Ссылки для скачивания: |

