Меню по разделу
+
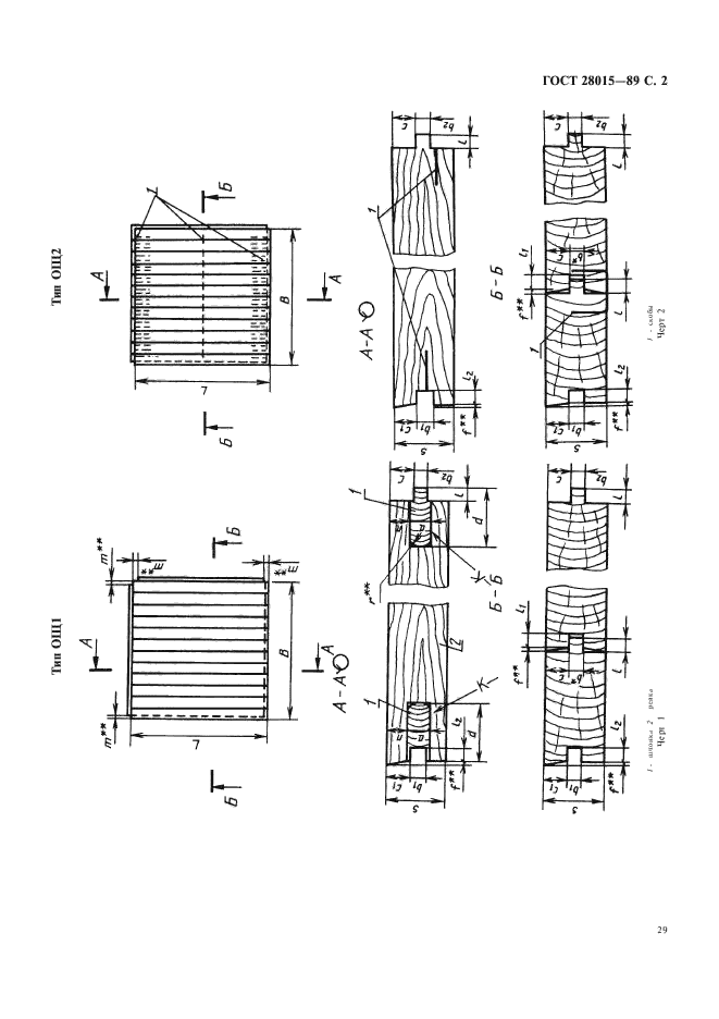
Настоящий стандарт распространяется на деревянные однослойные щиты, предназначенные для устройства полов в жилых и общественных зданиях
| Обозначение: | ГОСТ 28015-89 |
| Статус: | действующий |
| Название рус.: | Щиты покрытий пола деревянные однослойные. Технические условия |
| Название англ.: | One-layer wooden floor panels. Technical requirements |
| Дата актуализации текста: | 06.04.2015 |
| Дата актуализации описания: | 10.08.2017 |
| Дата издания: | 01.04.2002 |
| Дата введения в действие: | 01.01.1990 |
| Дата последнего изменения: | 13.07.2017 |
| Переиздание: | переиздание |
| Область и условия применения: | Настоящий стандарт распространяется на деревянные однослойные щиты, предназначенные для устройства полов в жилых и общественных зданиях |
| Страниц: | 9 |
| Ссылки для скачивания: |

