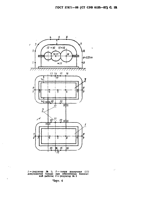
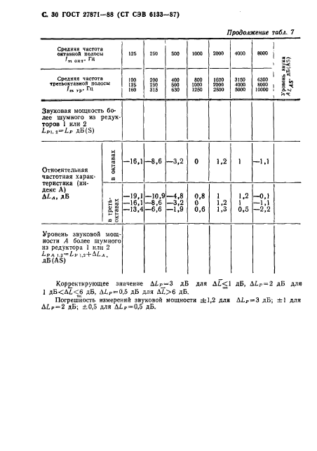
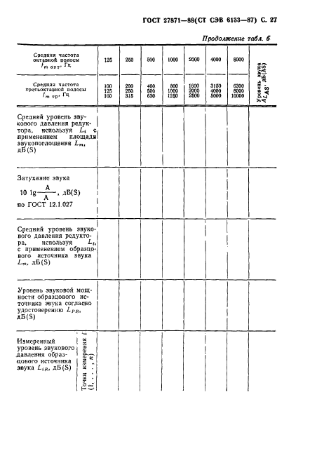
Меню по разделу
+
| Обозначение: | ГОСТ 27871-88 |
| Статус: | утратил силу в РФ |
| Название рус.: | Редукторы общего назначения. Методы определения уровня звуковой мощности |
| Название англ.: | Reducers of general usage. Methods for the determination of the sound power level |
| Дата актуализации текста: | 06.04.2015 |
| Дата актуализации описания: | 10.08.2017 |
| Дата издания: | 16.01.1989 |
| Дата введения в действие: | 01.01.1990 |
| Дата последнего изменения: | 13.07.2017 |
| Дата окончания срока действия: | 30.06.2008 |
| Область и условия применения: | |
| Список изменений: | №0 от 30.06.2008 (рег. 27.12.2007) «Поправка к изменению» |
| Страниц: | 34 |
| Ссылки для скачивания: |

