Меню по разделу
+
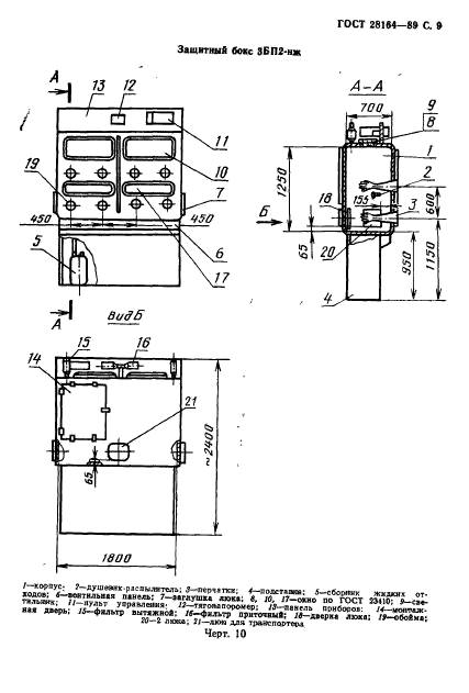
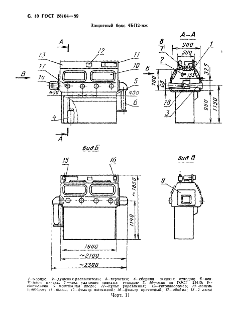
Настоящий стандарт распространяется на металлические и пластмассовые радиационно-защитные боксы с перчатками, с толщинами радиационной защиты из стали не более 2,5 мм или из органического стекла и других пластмасс не более 10 мм, оснащенные герметичными перчатками, предназначенные для работы с радиоактивными веществами в открытом виде по I, II и III классам работ, определяемым “Основными санитарными правилами работы с радиоактивными веществами и другими источниками ионизирующих излучений ОСП 72/87“, утвержденными Главным Государственным санитарным врачом.
Стандарт не распространяется на радиационно-защитные боксы, предназначенные для применения на передвижных объектах, а также боксы, предназначенные для специальных целей
| Обозначение: | ГОСТ 28164-89 |
| Статус: | действующий |
| Название рус.: | Боксы радиационно-защитные с перчатками. Типы |
| Название англ.: | Radiation-shielding glove boxes. Types |
| Дата актуализации текста: | 06.04.2015 |
| Дата актуализации описания: | 10.08.2017 |
| Дата издания: | 05.09.1989 |
| Дата введения в действие: | 30.06.1990 |
| Дата последнего изменения: | 13.07.2017 |
| Область и условия применения: | Настоящий стандарт распространяется на металлические и пластмассовые радиационно-защитные боксы с перчатками, с толщинами радиационной защиты из стали не более 2,5 мм или из органического стекла и других пластмасс не более 10 мм, оснащенные герметичными перчатками, предназначенные для работы с радиоактивными веществами в открытом виде по I, II и III классам работ, определяемым “Основными санитарными правилами работы с радиоактивными веществами и другими источниками ионизирующих излучений ОСП 72/87“, утвержденными Главным Государственным санитарным врачом.
Стандарт не распространяется на радиационно-защитные боксы, предназначенные для применения на передвижных объектах, а также боксы, предназначенные для специальных целей |
| Страниц: | 19 |
| Ссылки для скачивания: |

