Меню по разделу
+
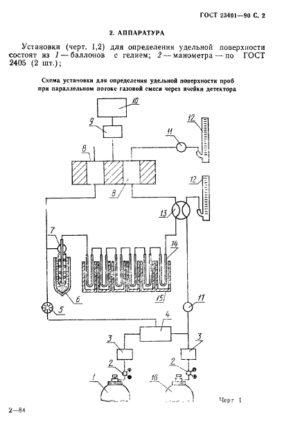
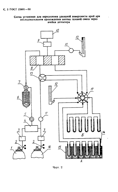
Настоящий стандарт устанавливает метод определения удельной поверхности металлических порошков, катализаторов и носителей от 0,05 до 1000 м кв./г по тепловой десорбции газа (азота или аргона)
| Обозначение: | ГОСТ 23401-90 |
| Статус: | действующий |
| Название рус.: | Порошки металлические. Катализаторы и носители. Определение удельной поверхности |
| Название англ.: | Metal powders. Catalysts and carriers. Determination of specific area |
| Дата актуализации текста: | 06.04.2015 |
| Дата актуализации описания: | 10.08.2017 |
| Дата издания: | 14.03.1991 |
| Дата введения в действие: | 01.01.1992 |
| Дата последнего изменения: | 13.07.2017 |
| Область и условия применения: | Настоящий стандарт устанавливает метод определения удельной поверхности металлических порошков, катализаторов и носителей от 0,05 до 1000 м кв./г по тепловой десорбции газа (азота или аргона) |
| Страниц: | 12 |
| Ссылки для скачивания: |

