Меню по разделу
+
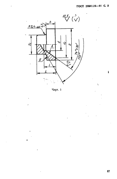
Настоящий стандарт распространяется на глухие крышки для соединений трубопроводов с развальцовкой трубы с углом конуса 74°
| Обозначение: | ГОСТ 28941.24-91 |
| Статус: | действующий |
| Название рус.: | Соединения трубопроводов с развальцовкой трубы. Крышки глухие. Конструкция |
| Название англ.: | Flare fittings. Snugle covers. Construction |
| Дата актуализации текста: | 06.04.2015 |
| Дата актуализации описания: | 10.08.2017 |
| Дата издания: | 03.09.1991 |
| Дата введения в действие: | 01.01.1992 |
| Дата последнего изменения: | 13.07.2017 |
| Область и условия применения: | Настоящий стандарт распространяется на глухие крышки для соединений трубопроводов с развальцовкой трубы с углом конуса 74° |
| Страниц: | 5 |
| Ссылки для скачивания: |

