Меню по разделу
+
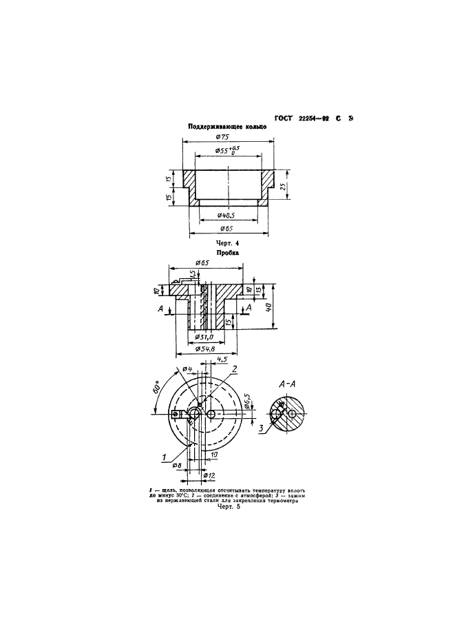
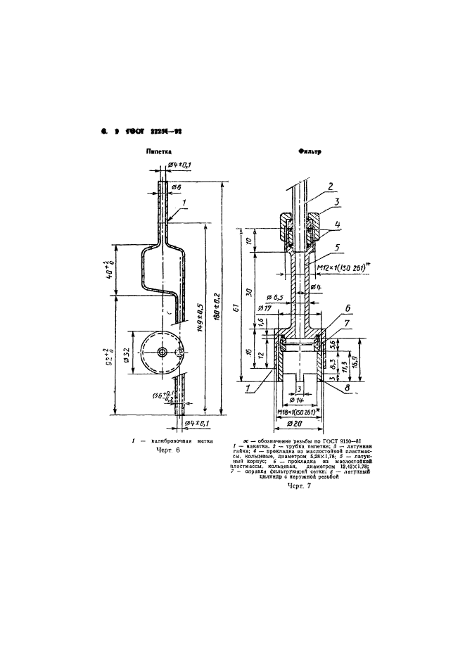
Настоящий стандарт устанавливает метод определения предельной температуры фильтруемости на холодном фильтре дизельных и бытовых печных топлив, предназначенных для народного хозяйства и для экспорта
Метод распространяется на дизельные топлива без присадок и с присадками, а также на топлива, применяемые в домашних отопительных системах
| Обозначение: | ГОСТ 22254-92 |
| Статус: | действующий |
| Название рус.: | Топливо дизельное. Метод определения предельной температуры фильтруемости на холодном фильтре |
| Название англ.: | Diesel fuels. Cold filter method for determination of lowest filtering temperature |
| Дата актуализации текста: | 06.04.2015 |
| Дата актуализации описания: | 10.08.2017 |
| Дата издания: | 13.04.1992 |
| Дата введения в действие: | 01.01.1993 |
| Дата последнего изменения: | 13.07.2017 |
| Область и условия применения: | Настоящий стандарт устанавливает метод определения предельной температуры фильтруемости на холодном фильтре дизельных и бытовых печных топлив, предназначенных для народного хозяйства и для экспорта
Метод распространяется на дизельные топлива без присадок и с присадками, а также на топлива, применяемые в домашних отопительных системах |
| Страниц: | 16 |
| Ссылки для скачивания: |

