Инструкция регламентирует порядок и условия содержания земляного полотна, водоотводных, укрепительных и защитных сооружений сети железных дорог для обеспечения бесперебойного и безопасносго движения поездов с установленными скоростями.
| Обозначение: | ЦП-544 |
| Название рус.: | Инструкция по содержанию земляного полотна железнодорожного пути |
| Статус: | действует |
| Дата актуализации текста: | 05.05.2017 |
| Дата добавления в базу: | 01.09.2013 |
| Утвержден: | 30.03.1998 Министерство путей сообщения РФ (Russian Federation Ministry of Railroads ) |
| Опубликован: | Издательство Транспорт (2000 г. ) |
| Ссылки для скачивания: |
МИНИСТЕРСТВО
ПУТЕЙ СООБЩЕНИЯ
РОССИЙСКОЙ ФЕДЕРАЦИИ
ДЕПАРТАМЕНТ ПУТИ И СООРУЖЕНИЙ
ВСЕРОССИЙСКИЙ
НАУЧНО-ИССЛЕДОВАТЕЛЬСКИЙ ИНСТИТУТ
ЖЕЛЕЗНОДОРОЖНОГО ТРАНСПОРТА
ЦП-544
Утверждаю:
Заместитель министра путей
сообщения РФ
В. Т. Семенов
30.03.98
ИНСТРУКЦИЯ
ПО СОДЕРЖАНИЮ
ЗЕМЛЯНОГО ПОЛОТНА
ЖЕЛЕЗНОДОРОЖНОГО
ПУТИ
Москва «ТРАНСПОРТ»
2000
1. Настоящая Инструкция регламентирует порядок и условия содержания земляного полотна, водоотводных, укрепительных и защитных сооружений сети железных дорог для обеспечения бесперебойного и безопасного движения поездов с установленными скоростями. Исправное состояние земляного полотна и его сооружений обеспечивается соответствием его конструкций действующим нагрузкам, выполнением планово-предупредительных ремонтов и основано на непрерывном текущем содержании и периодическом проведении капитального ремонта.
2. Главной задачей содержания земляного полотна является обеспечение исправности состояния всех его элементов, предупреждение появления неисправностей, своевременное их устранение, а также ликвидация причин, вызывающих появление неисправностей.
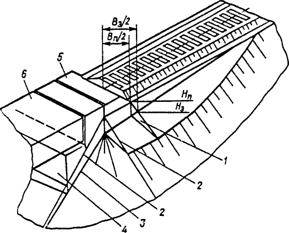
3. Земляное полотно железнодорожного пути (далее земляное полотно) служит основанием для верхнего строения пути и состоит из комплекса инженерных сооружений, рассчитанного на длительные сроки службы.
В комплекс инженерных сооружений земляного полотна (рис.) входят:
насыпи, выемки, полунасыпи, полувыемки, полунасыпи-полувыемки и нулевые места. К нулевым местам относятся переходные участки земляного полотна от полунасыпей или насыпей с высотой одного из откосов до 1 м к выемкам или полувыемкам с высотой их откосов до 1 м;
устройства для отведения поверхностных вод (лотки, кюветы, забанкетные и нагорные канавы у выемок; продольные канавы у насыпей и кулевых мест);
сооружения для перехвата и отведения грунтовых вод (закрытые дренажи различных конструкций, углубленные открытые канавы, каптажные устройства);
защитные сооружения, построенные для сохранения земляного полотна от повреждений или разрушений (подпорные стены, волноотбойные стены, волногасители, струенаправляющие дамбы, шпоры, запруды и другие сооружения);
укрепительные сооружения (плитные противо-размывные покрытия, отсыпки горной массы, анкерные крепления скальных пород);
сооружения для защиты земляного полотна от опасных природных явлений (противоселевые, противооползневые комплексы сооружений, противолавинные, противообвальные и т, п.).
Элементы земляного полотна и связанные с ним устройства:
1 - резерв; 2 - бровка; 3 - основание насыпи; 4 - контрбанкет; 5 - берма;
6 - водоотводная продольная канава; 7 - откос; 8 - нулевое место; 9 - кавальер;
10 - обочина; 11 - кювет; 12 - основная площадка; 13 - сливная призма;
14 - банкет; 15 - забанкетная канава; 16 - нагорная канава
4. Настоящая Инструкция устанавливает виды, периодичность, сроки и порядок осуществления надзора за земляным полотном, включая современные методы обследования, требования к конструкциям земляного полотна и его сооружениям; состав работ по текущему содержанию земляного полотна и его сооружений, в том числе в сложных инженерно-геологических условиях, особенности текущего содержания деформирующихся участков земляного полотна; условия назначения капитального ремонта земляного полотна; основные мероприятия по капитальному ремонту и усилению земляного полотна и его сооружений, выполняемые при планово-предупредительных ремонтах верхнего строения пути.
Настоящая Инструкция включает классификацию дефектов, повреждений и деформаций земляного полотна, причины их образования и признаки обнаружения.
5. При организации и выполнении работ по содержанию земляного полотна и его сооружений наряду с настоящей Инструкцией следует выполнять требования Правил технической эксплуатации железных дорог Российской Федерации, Инструкции по сигнализации на железных дорогах Российской Федерации, Инструкции по движению поездов и маневровой работе на железных дорогах Российской Федерации, Инструкции по текущему содержанию пути, Инструкции по обеспечению безопасности движения поездов при производстве путевых работ, Инструкции по содержанию искусственных сооружений, Инструкции по содержанию земляного полотна и технике безопасности при производстве работ на скально-обвальных участках железных дорог, Инструкции по содержанию земляного полотна и технике безопасности работ на селеопасных участках, Инструкции по текущему содержанию железнодорожного пути в карстоопасных районах, Правил техники безопасности и производственной санитарии при производстве работ в путевом хозяйстве, Положения о системе ведения путевого хозяйства на железных дорогах Российской Федерации, Правил безопасности для работников железнодорожного транспорта на электрифицированных линиях и других нормативных документов Министерства путей сообщения Российской Федерации.
6. Особое внимание при содержании земляного полотна должно уделяться состоянию водоотводных, укрепительных и защитных сооружений. Работники дистанции пути должны иметь чертежи и соответствующую учетную документацию сооружений и устройств, обеспечивающих устойчивость земляного полотна и его защиту от повреждений.
На все объекты земляного полотна и его сооружения, на которых имелись или происходят деформации, в дистанциях пути должны быть заведены следующие документы: Паспорт неустойчивого или деформирующегося земляного полотна (форма ПУ-9); Книга противодеформационных сооружений земляного полотна (форма ПУ-14), в которых должны регулярно отражаться результаты осмотров, обследований, инструментальных эксплуатационных наблюдений. В случаях когда деформации полностью устранены, работники дистанции пути продолжают вести паспорт формы ПУ-9, и объект в течение 5 лет состоит на учете как неустойчивый. Снятие с учета производится на основании акта комиссионного осмотра с участием дорожной инженерно-геологической базы, начальника дистанции пути, мастера по земляному полотну (или работника, на которого возложены его обязанности). Акт утверждает начальник (главный инженер) службы пути.
7. Начальник дистанции пути, его заместители, начальники участков, старшие дорожные мастера, дорожные мастера, мастера по земляному полотну, бригадиры пути, обходчики железнодорожных путей и искусственных сооружений обязаны знать и постоянно изучать состояние вверенных им земляного полотна и его сооружений, обеспечивать высокое качество их содержания, надзора и безопасность движения поездов.
8. Основой содержания земляного полотна являются надзор за его состоянием с целью своевременного выявления признаков и причин деформаций, предупреждение опасных деформаций, которые могут приводить к аварийным ситуациям, проведение неотложных мер, выполнение планово-предупредительных работ в комплексе работ по верхнему строению пути, а также его ремонт или усиление в качестве самостоятельных работ по индивидуальным проектам.
Работники службы пути, путеобследовательских станций по земляному полотну, инженерно-геологических баз железных дорог должны постоянно изучать, обобщать и распространять передовой опыт содержания и ремонта земляного полотна и его сооружений.
9. Все неустойчивые или деформирующиеся места земляного полотна, особенно находящиеся в сложных инженерно-геологических, гидрологических, гидрогеологических и климатических условиях (оползневые, обвальные, размывные, карстовые и другие участки), должны находиться под постоянным наблюдением инженерно-геологических баз или путеобследовательских станций железных дорог по земляному полотну. На основании наблюдений и обследований по указанным участкам необходимо ежегодно составлять инженерно-геологические отчеты с указанием необходимых мероприятий по надзору за земляным полотном и его сооружениями и их текущему содержанию, а также определять объемы и сроки выполнения этих работ. Отчеты представляют в дистанцию и службу пути.
10. Мероприятия по стабилизации и усилению земляного полотна следует разрабатывать в соответствии с действующими нормативными документами.
При ремонте и устройстве новых сооружений необходимо выполнять соответствующие требования технических условий на производство и приемку работ.
Мероприятия по повышению эксплуатационной надежности земляного полотна должны обеспечивать устранение его деформаций и дефектов, а также ремонт или усиление защитных и укрепительных сооружений. Мероприятия капитального характера по ремонту или усилению земляного полотна и его сооружений выполняются на основании индивидуальных проектов.
11. Результаты осмотров, комиссионных и инструментальных обследований и наблюдений, выполняемых должностными лицами дистанции пути, отделений железных дорог, службы пути, руководителями железных дорог, дорожными инженерно-геологическими базами (путеобследовательскими станциями по земляному полотну), с описанием обнаруженных неисправностей и указанием объема необходимых работ должны фиксироваться в книгах, журналах, актах установленных форм (приложение 1) и постоянно храниться в дистанциях пути. Начальник дистанции пути проверяет своевременность и правильность ведения учетных форм.
12. Текущее содержание земляного полотна и его сооружений осуществляется непрерывно в течение года на всем протяжении пути, включая участки, где производится ремонт земляного полотна или плановые ремонты верхнего строения пути.
Выполнение работ по устранению дефектов, деформаций и повреждений земляного полотна и его сооружений при текущем содержании, а также при проведении их ремонта и усиления осуществляют: бригады по текущему содержанию пути; специализированные бригады дистанций пути по текущему содержанию и ремонту земляного полотна; специализированные колонны дистанций пути, осуществляющие содержание и ремонт земляного полотна на участках со сложными инженерно-геологическими условиями (скально-обвальных, подтопляемых, карстовых, оползневых и других условий); колонны и цеха путевых машинных станций, специализирующиеся на работах по ремонту и усилению земляного полотна на участках плановых ремонтов пути; специализированные путевые машинные станции и другие подразделения, выполняющие сложные работы по земляному полотну на крупных объектах по индивидуальным проектам.
13. Объемы и номенклатуру работ по текущему содержанию земляного полотна, его защитных и укрепительных сооружений для конкретных участков, перегонов и других объектов определяет начальник дистанции пути в зависимости от сезонных, местных условий, а также результатов осмотров, наблюдений и обследований сооружений.
14. Прокладка или переустройство кабелей автоматики и связи в земляном полотне на перегонах, станциях и искусственных сооружениях должны производиться в соответствии с Правилами прокладки кабелей в земляном полотне железных дорог.
15. Проектируемые мероприятия по стабилизации земляного полотна должны рассчитываться на полное устранение деформаций.
К выполнению работ по ремонту или усилению земляного полотна и его обустройств могут привлекаться подрядные организации, имеющие соответствующие лицензии на право ведения таких работ на эксплуатируемых линиях.
Технический контроль за качеством работ, выполняемых подрядными организациями, осуществляет мастер по земляному полотну, дорожный мастер или другие работники, специально назначенные начальником дистанции пути или службы пути.
16. Дистанция пути должна иметь утвержденный в установленном порядке перечень видов деятельности по содержанию земляного полотна, отражающий местные условия и режим эксплуатации сооружений (приложение 2).
17. Земляное полотно строят по типовым поперечным профилям (приложение 3) или по индивидуальным проектам. Перечень объектов земляного полотна, подлежащих индивидуальному проектированию, приведен в Строительно-технических нормах Министерства путей сообщения Российской Федерации. Железные дороги колеи 1520 мм (далее СТН Ц-01-95).
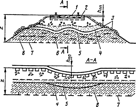
18. В течение длительного срока службы земляное полотно претерпевает различные видоизменения, которые приводят к превращению типовых поперечных профилей в эксплуатационные (типичные). Наиболее характерные эксплуатационные (типичные) поперечные профили земляного полотна приведены в приложении 4.
19. Главный элемент земляного полотна - основная площадка воспринимает наибольшие воздействия от подвижного состава и подвержена влиянию погодно-климатических факторов.
Строительные нормы ширины основной площадки (ширины земляного полотна поверху), очертание поперечных профилей основной площадки, зависящие от категорий железнодорожных линий и числа путей, ширина обочин приведены в СТН Ц-01-95.
На длительно эксплуатируемых линиях за основную площадку принимается условная граница, проходящая по подошве балластной призмы типовых размеров.
Наиболее распространенные конструкции эксплуатируемого земляного полотна в зоне основной площадки с указанием построечной (строительной) и новой (эксплуатационной) основной площадки приведены в приложении 5.
20. Земляное полотно и его сооружения должны обеспечивать безопасность движения поездов с заданными нагрузками, скоростями движения при установленной грузонапряженности. Земляное полотно, его элементы и сооружения должны отвечать требованиям прочности, устойчивости на весь период службы при соблюдении периодичности их ремонта (приложение 6).
21. Устройства для отведения поверхностных и грунтовых вод должны обеспечивать водоотведение от земляного полотна во все сезоны года.
Поперечное сечение кюветов и канав должно обеспечивать пропуск паводковых и ливневых вод. Не допускается засорение кюветов и канав. Бровка канавы (лотка) должна возвышаться не менее чем на 0,2 м над уровнем воды в периоды ливневых дождей и паводков.
Откосы и дно водоотводных устройств не должны иметь трещин и промоин.
Опоры контактной сети не должны стеснять живого сечения водоотводных сооружений (кюветов, лотков, дренажей). В случаях когда опоры контактной сети установлены с нарушением указанного требования, при производстве ремонтных работ по верхнему строению пути и земляному полотну должны осуществляться мероприятия по обеспечению беспрепятственного пропуска воды в путевых водоотводных сооружениях.
22. Обочина земляного полотна должна располагаться не ниже 60 см от верха балластной призмы.
Ширина обочины должна быть не менее 0,40 м на путях IV - VII категорий и не менее 0,50 м на путях I - III категорий и скоростных железнодорожных линиях.
Крутизна откосов земляного полотна (балластных шлейфов) должна соответствовать нормативным значениям, приведенным в СТН Ц-01-95, и типовым поперечным профилям (см. приложение 3).
При соответствии геометрических параметров земляного полотна типовым поперечным профилям расчетный коэффициент устойчивости откосов земляного полотна должен быть не менее 1,2. В случае если крутизна откосов насыпи выше норм, приведенных в СТН Ц-01-95, но не превышает 1:1,35, должны быть проведены расчеты устойчивости откосов и балластных шлейфов, в том числе с предположением прохождения возможной поверхности смещения по контакту глинистого грунта тела земляного полотна и балластного шлейфа. Коэффициент устойчивости должен быть не менее 1,5.
Выполнение расчетов устойчивости шлейфов осуществляется работниками инженерно-геологических баз, путеобследовательских станций по земляному полотну с привлечением в необходимых случаях проектных и научно-исследовательских организаций.
23. Земляное полотно - инженерное сооружение, рассчитанное на длительный срок службы. В нем могут возникать и накапливаться дефекты и деформации.
Дефекты являются следствием недоработок при проектировании земляного полотна, его защитных и укрепительных сооружений, нарушении технологии строительного процесса и временной эксплуатации железнодорожных линий, неудовлетворительного текущего содержания и ремонтов железнодорожного пути.
Деформации земляного полотна возникают в следующих случаях: при недостаточной несущей способности грунтов, из которых оно возведено; несоответствии мощности верхнего строения пути нагрузкам от обращающегося подвижного состава; при недостаточной защите грунтов земляного полотна от неблагоприятных воздействий климатических и инженерно-геологических факторов (оползней, селей, наводнений). Низкое качество содержания земляного полотна, когда не обеспечивается отвод поверхностных и грунтовых вод, несвоевременно устраняются мелкие повреждения защитных и укрепительных устройств, не ликвидируются причины снижения несущей способности грунтов, и другие нарушения приводят к перерастанию мелких повреждений в опасные деформации, угрожающие безопасности движения поездов.
24. Дефекты и деформации земляного полотна подлежат устранению в процессе текущего содержания пути, при планово-предупредительных ремонтах верхнего строения пути, а также при ремонтах и усилении земляного полотна по индивидуальным проектам.
25. Классификация наиболее распространенных дефектов и деформаций земляного полотна приведена в приложении 7, а Каталог деформаций и дефектов с кратким описанием опознавательных признаков, причин возникновения, неотложных мер и указаниями по эксплуатационным наблюдениям - в приложении 8.
26. Текущее содержание земляного полотна состоит из надзора за его состоянием, изучения причин появления неисправностей и их ликвидации, а также выполнения необходимых работ, обеспечивающих исправное состояние земляного полотна и его сооружений, что устанавливается на основе его осмотров и обследований.
27. За земляным полотном и его сооружениями должен быть организован надзор, включающий: систематический надзор; текущие осмотры; периодические осмотры; специальные обследования и наблюдения; режимные наблюдения; постоянные наблюдения (посты наблюдения).
28. Систематический надзор за земляным полотном, его укрепительными, защитными и водоотводными устройствами осуществляется обходчиками железнодорожных путей и искусственных сооружений, бригадирами пути, бригадирами специализированных бригад по земляному полотну в сроки, указанные в приложении 1.
29. Для неустойчивых мест земляного полотна начальник дистанции пути устанавливает более частые сроки осмотра, вплоть до непрерывного наблюдения.
Порядок осмотра и наблюдений за неустойчивыми участками земляного полотна, подверженными обвалам, оползням, размывам и другим деформациям, угрожающим бесперебойному и безопасному движению поездов, должен устанавливаться для каждого участка специальной местной инструкцией, разрабатываемой начальником дистанции пути и утверждаемой начальником отделения железной дороги, а при безотделенческой структуре управления - начальником службы пути (приложение 9).
30. Лица, осуществляющие систематический надзор, обязаны следить за исправным состоянием земляного полотна, укрепительных, защитных и водоотводных сооружений, выявлять все дефекты, своевременно организуя выполнение необходимых работ по поддержанию сооружений в исправности.
31. Осмотру подвергаются все элементы земляного полотна, укрепительные, защитные и водоотводные сооружения. Особое внимание должно быть уделено специальным сооружениям: дренажам, штольням, водобойным колодцам, перепадам, быстротокам, улавливающим и подпорным стенам, берегоукрепительным сооружениям.
32. Текущие осмотры земляного полотна и его сооружений производятся дорожными мастерами, мастерами по земляному полотну и старшими дорожными мастерами с привлечением бригадиров пути и специализированных бригад по земляному полотну.
При проведении текущих осмотров выявляются места с нарушениями водоотводных сооружений, повреждениями укрепительных и защитных устройств, трещины и разрывы на обочинах, откосах, а также другие дефекты и деформации. Осмотры, проводимые в периоды подготовки к пропуску весенних и ливневых вод, должны выявлять наличие выпусков из дренажей, канав и русел водопропускных труб, своевременность вскрытий их от снега, а также выполнение планов мероприятий по водоборьбе.
Сроки проведения текущих осмотров и состав участников осмотра увязываются со сроками проверок пути согласно Инструкции по текущему содержанию железнодорожного пути, руководствуясь приложением 1.
К текущему осмотру относятся также наблюдения за работой дренажных сооружений и обеспечение пропуска ливневых и паводковых вод.
33. Периодические осмотры земляного полотна, его укрепительных, защитных и водоотводных сооружений проводятся начальником дистанции пути, его заместителем по инженерным сооружениям или главным инженером дистанции пути совместно с дорожными мастерами и мастерами по земляному полотну в сроки, устанавливаемые начальником службы пути в зависимости от состояния земляного полотна, не реже двух раз в год: весной - после таяния снега и осенью - до начала периода дождей.
Неустойчивые места земляного полотна, а также сложные дренажные, укрепительные и защитные сооружения осматриваются с участием начальника отдела пути отделения железной дороги, а наиболее крупные и ответственные из них - с участием начальника службы пути (заместителя начальника железной дороги). Перечень таких сооружений утверждает руководство железной дороги.
Наиболее сложные участки железных дорог, проходящие по оползневым косогорам, а также расположенные в местах, подверженных интенсивным обвалам, подмывам и размывам, осматриваются комиссией под председательством начальника или заместителя начальника железной дороги не реже одного раза в год (по перечню, утвержденному МПС России).
34. При периодическом осмотре производится детальная проверка общего состояния земляного полотна, укрепительных, защитных и водоотводных сооружений с осуществлением в случаях необходимости инструментальных и других измерений. При этом выявляются дефекты, устанавливаются причины возникающих расстройств, составляется перечень необходимых профилактических и ремонтных работ с указанием сроков их выполнения, проверяется полнота и качество ранее выполненных работ, осуществляемого надзора, даются указания о порядке дальнейшего надзора и установления наблюдений.
35. При периодических осмотрах необходимо обследовать участки прилегающей к полосе отвода местности, где имеются возведенные или возводимые постройки, автомобильные дороги, плотины, пруды, отстойники промышленных вод, открытые котлованы, траншеи и другие сооружения, которые могут нарушить нормальный сток весенних и ливневых вод, вызвать подпор воды у искусственных сооружений и размыв земляного полотна.
36. При проведении осмотров руководящим составом управлений и отделений железных дорог наряду с оценкой состояния земляного полотна и его сооружений, выявлением дефектов и разработкой мер по их устранению проверяется организация надзора за состоянием и содержанием сооружений, ведение установленной технической документации, своевременность устранения недостатков, выявленных в результате предыдущих осмотров, качество выполненных ремонтных работ, определяется порядок эксплуатации участка (скорость движения поездов и надзор).
В случае обнаружения неисправности или возникновения деформаций земляного полотна, угрожающих безопасности движения поездов, должны быть немедленно приняты меры, обеспечивающие безопасность движения, - ограничение скорости движения поездов, ведение непрерывного наблюдения за развитием деформаций с одновременной организацией необходимых работ по стабилизации земляного полотна до проведения полного комплекса работ по его ремонту или усилению.
Опасное место ограждается сигналами в соответствии с Инструкцией по сигнализации на железных дорогах Российской Федерации.
37. Результаты весеннего осмотра земляного полотна и его сооружений, необходимые меры по улучшению их содержания и ремонта рассматриваются по каждой дистанции пути начальником отделения железной дороги, а по отделениям железной дороги, и при безотделенческой структуре управления - начальником службы пути или заместителем начальника железной дороги, ведающим путевым хозяйством.
Результаты осеннего осмотра земляного полотна и его сооружений, необходимые меры по улучшению их содержания и ремонта, а также меры по подготовке пропуска весенних вод рассматриваются начальником службы пути с последующим утверждением необходимых мероприятий начальником железной дороги.
38. За неустойчивыми местами земляного полотна в сложных инженерно-геологических условиях, а также участками железных дорог, имеющими на значительном протяжении оползни, обвалы, размывы, карсты и другие дефекты, постоянные наблюдения должны осуществлять инженерно-геологические базы и путеобследовательские станции по земляному полотну при службах пути. Однако эти наблюдения не заменяют систематического текущего надзора и систематических осмотров.
39. На неустойчивых местах земляного полотна, где возможно нарушение его целостности, начальник дистанции и службы пути должны организовать наблюдение за деформациями земляного полотна, состоянием пути на нем, режимом грунтовых вод, изменением влажности грунта и другие наблюдения, целью которых является предупреждение деформации земляного полотна и его сооружений, угрожающих безопасности движения поездов; уточнение причин появления неисправностей. В случае резкой активизации деформаций земляного полотна, сопровождающихся значительными расстройствами верхнего строения пути, появлением трещин отрыва масс грунта и другими дефектами, по указанию начальника дистанции пути должно быть установлено непрерывное наблюдение за такими местами с проведением соответствующих работ по стабилизации. В этих случаях устанавливается специальный пост обходчика железнодорожных путей и искусственных сооружений. Объем, характер наблюдений и условия обеспечения безопасности движения поездов регламентируются местной инструкцией, составляемой и утверждаемой начальником дистанции пути.
40. Специальные обследования и наблюдения за земляным полотном и его сооружениями осуществляются инженерно-геологическими базами и путеобследовательскими станциями по земляному полотну по графику, утверждаемому начальником службы пути, или внеплановые - на участках, где возникли деформации.
Для проведения специальных наблюдений должны быть привлечены центры диагностики железных дорог, а при необходимости научно-исследовательские, проектные и другие организации, оснащенные необходимыми техническими средствами диагностики.
41. Организации, привлекаемые для проведения специальных обследований земляного полотна и его сооружений, в том числе указанных в п. 40 настоящей Инструкции, должны:
производить систематизированный детальный осмотр всех укрепительных, защитных и водоотводных сооружений с проведением необходимых инструментальных съемок и проверки земляного полотна и его основания при помощи бурения, шурфования, расчисток и зондировок;
выполнять анализ изменения состояния сооружений;
устанавливать возможные неисправности и недостатки в них;
проверять качество содержания земляного полотна, правильность ведения технической документации и качество выполненных работ.
Сроки осмотров, проверок, измерений и порядок их выполнения утверждает начальник службы пути.
По результатам специального обследования составляется отчет с предложениями, а на месте выдается письменное указание дистанции пути о проведении неотложных мероприятий по обеспечению безопасности движения поездов.
42. На основании осмотров, инженерно-геологических обследований, инструментальных наблюдений в техническом паспорте дистанции пути, уточняемом ежегодно по состоянию на 1 января, учитываются места, имеющие отступления от установленных норм по ширине полотна и крутизне откосов, а также места, подверженные пучению, сплывам, размывам, обвалам и другим деформациям.
43. На дистанциях и в службах пути должны постоянно храниться все акты осмотров, материалы инженерно-геологических обследований земляного полотна и наблюдений за ним, а также акты осмотров укрепительных, защитных, водоотводных сооружений земляного полотна, особенно подземных и скрытых в теле земляного полотна. Все скрытые сооружения должны иметь наземные знаки.
44. В целях обеспечения исправного состояния земляного полотна, укрепительных и водоотводных сооружений, а также защитных устройств при текущем содержании выполняются работы по предупреждению и ликвидации неисправностей, которые могут привести к деформациям земляного полотна и его сооружений.
45. Для обеспечения нормальной эксплуатации земляного полотна бригадами по текущему содержанию пути должны выполняться следующие работы:
срезка и планировка отдельных неровностей и застойных мест на обочинах земляного полотна;
устранение мелких неисправностей в виде трещин, впадин на откосах выемок и насыпей, могущих привести к деформации откосов земляного полотна;
исправление отдельных нарушений одерновок, крепления дна и откосов водоотводных сооружений;
обеспечение пропуска весенних и ливневых вод согласно Инструкции по подготовке сооружений путевого хозяйства и объектов водоснабжения к ледоходу и пропуску весенних и ливневых вод;
ликвидация наледей в водоотводных сооружениях;
очистка кюветов, нагорных и водоотводных канав в объемах, необходимых для обеспечения беспрепятственного стока воды;
вырубка кустарника и деревьев в водоотводах;
очистка труб, лотков, водобойных колодцев, русел от наносов и зарослей;
подготовка малых искусственных сооружений к зиме.
46. Для обеспечения нормальной эксплуатации земляного полотна и его сооружений специализированными бригадами по текущему содержанию земляного полотна должны выполняться следующие работы:
устранение трещин, размывов, сплывов, впадин на откосах с восстановлением принятой конструкции крепления;
своевременное исправление одерновки, других видов укрепления откосов насыпей и выемок, дна и откосов водоотводных сооружений;
очистка от снега откосов малоустойчивых насыпей и выемок до начала таяния снега или устройство в снегу прорезей для организованного стока воды с откосов выемок и насыпей в кюветы и водоотводные канавы (в составе работ по снего-, водоборьбе);
прочистка выходов дренажных прорезей;
планировка загрязненного балласта, попавшего на откос насыпи или выемки, с таким расчетом, чтобы он не препятствовал стоку воды;
очистка лотков, кюветов, нагорных, водоотводных, забанкетных канав с целью обеспечения беспрепятственного стока воды, с вырубкой кустарника и деревьев;
содержание резервов, лотков, перепадов, быстротоков в состоянии, обеспечивающем отвод воды от земляного полотна и исключающем застой воды на пути и в водоотводах, включая уборку хвороста, сена, шпал и других плавучих предметов;
своевременная подготовка земляного полотна и его сооружений к проходу весенних и паводковых вод;
ликвидация наледей в водоотводных сооружениях, у выпусков дренажных сооружений;
предупреждение развития оврагов, расположенных вблизи пути, прекращение их роста в сторону земляного полотна;
наблюдение за участками, где возможно переполнение кюветов и канав при таянии снега, с обеспечением на месте в необходимом количестве материалов (кули, мешки, доски, камень и др.) для предупреждения выходов воды на путь (в составе работ по водоборьбе);
осуществление постоянного наблюдения за состоянием и работой дренажных сооружений со своевременной очисткой отстойников смотровых колодцев, устьев и выпусков дренажей и прорезей, ливневой канализации и отводных канав;
утепление на зиму смотровых колодцев и выпусков дренажей, штолен, а летом замена глухих крышек решетчатыми для вентиляции;
планировка поверхности контрбанкетов и берм с заделкой размывов, промоин и западин с восстановлением укреплений;
периодическое исправление цементной стяжки контрфорсов на выступающей над поверхностью земли верхней их части и заделка трещин между гранями контрфорса и поверхностью откоса земляного полотна;
у морских, защитных, подпорных стен и других железобетонных сооружений - выполнение работ по предотвращению разрушения и выкрашивания кладки или бетонитов, устранению трещин и раковин в бетоне или в бетонитах сборных стен, предупреждению засорения выпускных окон застенного дренажа, расчистке температурных швов от засорителей, восстановлению облицовки. Порядок содержания земляного полотна в сложных инженерно-геологических и природно-климатических условиях для конкретных участков пути определяется местной инструкцией, разрабатываемой инженерно-геологической базой или путеобследовательской станцией по земляному полотну и утверждаемой начальником дистанции пути.
В зависимости от характера работ специализированные бригады должны быть укомплектованы рабочими соответствующих специальностей: бетонщиками, плотниками, обборщиками (верхолазами).
47. Работы по текущему содержанию земляного полотна выполняются бригадами по текущему содержанию железнодорожного пути, а при наличии специализированных бригад - бригадами по земляному полотну.
Работы по текущему содержанию земляного полотна (при отсутствии специализированных бригад) выполняются бригадами по текущему содержанию пути по месячным планам, составляемым дорожными мастерами.
При наличии специализированных бригад по земляному полотну работы по текущему содержанию земляного полотна планируются дорожным мастером линейного участка совместно с мастером (бригадиром) по земляному полотну под руководством старшего дорожного мастера (заместителя начальника дистанции пути) на основе утвержденных начальником дистанции пути сезонных планов работ с учетом результатов всех систематических, текущих, периодических осмотров сооружений.
48. Все объекты земляного полотна, находящиеся в плановых или неотложных ремонтах, а также затрагиваемые при производстве других работ по балластному слою, переустройству мостов, труб, регуляционных сооружений, установке (перестановке) опор контактной сети, устройств сигнализации, прокладке кабелей, трубопроводов и других коммуникаций различного назначения, должны находиться под техническим контролем эксплуатационного персонала независимо от подчиненности организации, производящей работы.
49. В процессе ремонта земляного полотна и его сооружений должна быть сохранена их прочность и устойчивость, обеспечен своевременный и тщательный отвод поверхностных вод, соблюдены технические условия и правила производства работ, особенно на участках железнодорожного пути с неустойчивыми откосами, на косогорах, прижимах и других участках. Не допускается загромождение различными материалами водоотводов, неустойчивых откосов, склонов, косогоров и др.
50. Работы по строительству вновь возводимых защитных и укрепительных сооружений не должны ухудшать условия безопасности движения поездов по существующему пути на всех стадиях производства работ вплоть до сдачи их в постоянную эксплуатацию.
Должностные лица, уполномоченные в установленном порядке осуществлять надзор за соблюдением требований по безопасности движения поездов, обязаны контролировать точность и полноту выполнения проектных решений и правил производства работ.
51. При выполнении работ по устройству пересечений земляного полотна трубопроводами различного назначения дистанция пути должна осуществлять постоянный технический контроль за неуклонным соблюдением проектов устройства пересечения и организации производства работ.
52. Капитальный ремонт земляного полотна включает в себя работы:
входящие в состав планово-предупредительных ремонтов железнодорожного пути, т. е. усиленного капитального, усиленного среднего, среднего, планово-предупредительной выправки пути;
по ремонту земляного полотна и его сооружений, выполняемые по индивидуальным проектам по отдельному плану;
по усилению, восстановлению и замене отдельных элементов земляного полотна и его обустройств или устройству дополнительных укрепительных, защитных и других сооружений.
53. В составе усиленного капитального ремонта и усиленного среднего ремонта пути выполняются следующие виды работ по земляному полотну:
ремонт, восстановление или переустройство кюветов, всех видов канав, дренажей, лотков для отведения поверхностных и грунтовых вод;
ликвидация пучинных мест и сверхнормативного пучения с помощью пенополистирольных покрытий либо путем укладки защитных слоев из дренирующих материалов, в том числе с применением полимерных покрытий (геотекстиля);
повышение несущей способности основной площадки заменой слабого грунта, ликвидацией балластных углублений (корыт, лож, мешков и др.), увеличением толщины защитного слоя, укладкой гидроизоляционных покрытий;
срезка завышенных обочин, сложенных загрязненными балластными материалами и препятствующих стоку воды с основной площадки и из балластной призмы;
обеспечение устойчивости откосов насыпей и балластных шлейфов путем уположения откосов, а при необходимости отсыпкой контрбанкетов;
устранение зауженности основной площадки с обеспечением поверхностного водоотвода в выемках и на нулевых местах и обеспечением устойчивости грунта на откосах насыпей;
расчистка русел малых и средних искусственных сооружений.
54. Работы по капитальному ремонту земляного полотна на участках плановых ремонтов железнодорожного пути должны осуществлять специализированные колонны при путевых машинных станциях, колонны или укрупненные бригады дистанций пути.
55. При капитальном ремонте земляного полотна и его обустройств, выполняемом как самостоятельная работа, осуществляются:
стабилизация земляного полотна на участках с деформациями основной площадки (просадки, корыта, пучины), откосов и основания (оползни, сплывы);
восстановление и ремонт водоотводных и дренажных устройств (кюветы, канавы, лотки, быстротоки, перепады, дренажи, прорези, штольни " др.);
приведение в правильное очертание земляного полотна, имеющего недостаточную ширину поверху и завышенную крутизну откосов;
восстановление и ремонт защитных и укрепительных сооружений земляного полотна (морские, подпорные, улавливающие, одевающие стены, контрфорсы, контрбанкеты, буны, волноломы);
восстановление и ремонт регуляционных сооружений.
Указанные работы, как правило, должны осуществляться в соответствии с планами железных дорог специализированными путевыми машинными станциями или колоннами и укрупненными бригадами дистанций пути по калькуляции и сметам, составленным на основании дефектных ведомостей по материалам натурного обследования или по проектам.
56. Работы по усилению, восстановлению и замене элементов земляного полотна и его обустройств состоят из восстановления или замены отдельных конструктивных элементов противодеформационных сооружений (в объеме 25 % и более) при сохранении их конструкций, а также устройства дополнительных сооружений, обеспечивающих устойчивость и защиту земляного полотна в сложных инженерно-геологических условиях (водоотводные, дренажные, укрепительные, защитные, регуляционные и другие сооружения).
57. Планирование капитального ремонта земляного полотна и его обустройств осуществляется на основании данных технического паспорта дистанции пути, результатов периодических осмотров, а также накопленных предыдущими осмотрами и обследованиями материалов о состоянии земляного полотна и предусматривает наиболее рациональное использование финансовых средств и материалов.
58. При составлении технической документации на ремонт земляного полотна в ее составе разрабатывают проект организации работ.
59. Работы по оздоровлению основной площадки земляного полотна, требующие снятия верхнего строения пути, должны выполняться, как правило, в комплексе с капитальным ремонтом железнодорожного пути. В составе работ по усиленному капитальному ремонту и усиленному среднему ремонту с глубокой очисткой балластного слоя, при необходимости устройства разделительного слоя, производится укладка покрытий из пенополистирола и геотекстиля в целях повышения несущей способности основной площадки, устранения пучин, сокращения засоряемости балластного слоя, продления сроков службы всех элементов верхнего строения железнодорожного пути.
Работы по ремонту земляного полотна, выполнение которых не предусмотрено в составе усиленного капитального и усиленного среднего ремонтов пути, и для их выполнения не запланированы "окна" в графике движения поездов, следует производить в период наименее интенсивного движения в "окна", предоставляемые в оперативном порядке.
60. Отремонтированные и вновь построенные объекты по укреплению земляного полотна принимает в эксплуатацию комиссия, назначаемая руководителем организации, утвердившей проектно-сметную документацию. Приемка в эксплуатацию производится по окончании всего комплекса работ на объекте согласно проекту и смете с передачей дистанции пути и службе пути следующей исполнительной документации: исполнительных чертежей, актов на скрытые работы, объемных ведомостей, паспортов сооружений и конструктивных деталей сооружений, журналов производства работ. Скрытые работы следует проверять по актам на эти работы. Приемку отремонтированных объектов земляного полотна и его сооружений необходимо оформлять актами установленной формы (форма № 2).
При длительном выполнении ремонта допускается производить приемку при этапном выполнении ремонтных работ по мере готовности конструктивных элементов сооружений с оформлением акта (по форме № 2), который подписывается: при производстве работ строительной организацией - представителем строительной организации и начальником дистанции пути или его заместителем, а при выполнении работ хозяйственным способом - мастером по земляному полотну и начальником дистанции пути или его заместителем.
Приемка выполненных работ производится в соответствии с Правилами приемки в эксплуатацию законченных объектов (строек) железнодорожного транспорта.
61. Объекты земляного полотна, где происходили деформации и которые в результате выполнения противоаварийных мероприятий приведены в состояние, обеспечивающее движение поездов без ограничения скоростей, продолжают числиться неустойчивыми в течение пяти лет.
Участки железнодорожного пути, подверженные периодическим деформациям в виде пучин, наледей, весенних просадок, снежных лавин, обвалов и других деформаций, должны учитываться как неустойчивые с определением режима эксплуатации пути в период активизации этих деформаций с разработкой в необходимых случаях местных инструкций, утверждаемых начальниками дистанций пути.
62. В ходе восстановительных работ следует обеспечивать отведение воды из пониженных мест и поврежденных канав, кюветов, дренажей, а также не допускать загромождения подмостовых отверстий и оголовков труб.
63. Независимо от того, каким предприятием выполняются восстановительные и плановые работы капитального характера, бригады по текущему содержанию пути выполняют самостоятельно или с использованием дополнительных сил и средств все работы по содержанию рельсовой колеи.
64. После окончания восстановительных работ необходимо провести инженерно-геологическое обследование с целью определения достаточности выполненных мероприятий или необходимости разработки проекта капитального ремонта или усиления примененных противодеформационных конструкций.
65. К участкам земляного полотна, находящимся в сложных инженерно-геологических условиях, относятся такие, где обычные типовые конструкции насыпей, выемок, способы защиты и укреплений оказываются недостаточными и для обеспечения эксплуатационной надежности пути необходимы дополнительные мероприятия, разрабатываемые при индивидуальном проектировании.
66. К сложным инженерно-геологическим условиям относятся:
участки, находящиеся на насыпях, отсыпанных на болотах и других слабых основаниях;
участки подтопления и размыва земляного полотна в местах возможных выходов воды от снеготаяния или осадков на путь, а также участки воздействия временных и постоянных водотоков, морей, водохранилищ и озер;
участки, расположенные в зоне оврагообразования;
участки, расположенные на оползнях;
скально-обвальные участки 1;
места шахтных подработок;
селеопасные места 2;
участки пути на вечномерзлых грунтах;
места с наличием наледей;
участки, проходящие в сейсмических районах;
места с наличием пучин и весенних пучинных просадок;
карстовые участки 3,
другие места земляного полотна, на которых наблюдаются повышенные темпы накопления просадок верхнего строения пути и видимых отклонений в плане пути.
____________________
1Инструкция по содержанию земляного полотна и технике безопасности при производстве работ на скально-обвальных участках железных дорог.
2Инструкция по содержанию земляного полотна и технике безопасности на селеопасных участках.
3Инструкция по содержанию железнодорожного пути в карстоопасных районах.
67. Неустойчивые участки с возможными деформациями земляного полотна, особенности содержания верхнего строения пути и земляного полотна на отдельных объектах должны объявляться ежегодно приказом начальника дистанции пути с указанием лиц, ответственных за принятие мер для обеспечения безопасности движения поездов.
68. За участками земляного полотна железнодорожного пути, находящегося в сложных инженерно-геологических условиях, а также подвергающихся деформациям, инженерно-геологические базы и путеобследовательские станции по земляному полотну должны осуществлять постоянное наблюдение. Однако это наблюдение не заменяет систематического, текущего надзора и периодических осмотров.
Указанные организации на основании утвержденных положений (уставов) должны: производить систематизированный осмотр всех укрепительных, защитных, дренажных, водоотводных сооружений с необходимыми инструментальными съемками; проверять состояние земляного полотна и его основания при помощи бурения, шурфования и других способов с использованием современных средств диагностирования, указанных в приложении 10; проверять качество содержания земляного полотна, правильность ведения технической документации.
По результатам наблюдений и обследований земляного полотна и его сооружений составляется отчет с предложениями, а на местах выдаются письменные указания организациями, указанными в п. 40 настоящей Инструкции, дистанциям пути о проведении неотложных мероприятий по обеспечению безопасности движения поездов.
69. Требования для оценки состояния и диагностики сложных объектов и виды работ по текущему содержанию земляного полотна и его сооружений приведены в приложении 11.
70. Извлечения из "Правил прокладки кабелей в земляном полотне железных дорог" приведены в приложении 12.
ВИДЫ, ПОРЯДОК И СРОКИ ТЕКУЩИХ И
ПЕРИОДИЧЕСКИХ
(ПЛАНОВЫХ) ОСМОТРОВ ЗЕМЛЯНОГО ПОЛОТНА,
ЕГО СООРУЖЕНИЙ И ФОРМЫ ИХ УЧЕТА
|
Должности участников осмотра |
Виды осмотров |
Сроки осмотров и записи результатов в журналы учетных форм |
Примечание |
|
Обходчики железнодорожных путей, искусственных сооружений, обходчики обвальных мест, бригадиры линейных отделений, бригадиры специализированных бригад по земляному полотну |
Систематический надзор за земляным полотном, его укрепительными, защитными и водоотводными сооружениями и устройствами |
По графикам, разрабатываемым начальником дистанции пути и утверждаемым начальником отделения железной дороги, а при безотделенческой структуре управления - разрабатываемым и утверждаемым начальником дистанции пути (форма ПУ-35 заполняется обходчиками, ПУ-28 и ПУ-29 - бригадирами) |
|
|
Бригадир пути линейного отделения |
1. Текущие осмотры земляного полотна, водоотводных, защитных и укрепительных сооружений |
На путях I - III категорий - не реже 2 раз в месяц; на путях IV - VII категорий - не реже 1 раза в месяц (формы ПУ-28; ПУ-29) |
Одна проверка проводится совместно с дорожным мастером при плановых осмотрах и проверках пути согласно Инструкции по текущему содержанию железнодорожного пути |
|
2. Текущие осмотры земляного полотна, водоотводных, защитных и укрепительных сооружений в периоды ливневых дождей, пропуска паводковых вод, роста и спада пучин |
По графику, устанавливаемому приказом начальника дистанции пути (формы ПУ-28; ПУ-29) |
|
|
|
Дорожный мастер линейного участка |
1. Текущие осмотры водоотводов от электроприводов на стрелках |
Не реже 2 раз в год - весной и осенью (журнал осмотра путей, стрелочных переводов, устройств СЦБ) |
Совместно с электромехаником СЦБ (сигнализации, централизации, блокировки и связи, далее СЦБ) |
|
2. Проверка состояния дренажей по уровню воды в смотровых колодцах и состояния дренажных выпусков |
Не реже 2 раз в год - весной и осенью (форма ПУ-28) |
|
|
|
3. Наблюдения за ростом и спадом пучин по визиркам, шаблону; определение плавности хода при проезде в поезде |
Не реже 2 раз в год - весной и осенью по приказу начальника дистанции пути (форма ПУ-28) |
|
|
|
4. Осмотр земляного полотна, водоотводных, защитных и укрепительных сооружений в периоды ливневых дождей, пропуска паводковых вод, роста и спада пучин |
По графику, устанавливаемому приказом начальника дистанции пути (форма ПУ-28) |
|
|
|
5. Периодические (плановые) осмотры земляного полотна, водоотводных, защитных и укрепительных сооружений совместно с бригадиром пути при плановых осмотрах и проверках пути; визуальное или с применением простейшего инструмента определение искажения плана и профиля пути |
На путях I - V категорий - не реже 1 раза в месяц; на путях VI - VII категорий - не реже 1 раза в два месяца (форма ПУ-28) |
Не реже 1 раза в квартал осмотр проводится под руководством старшего дорожного мастера |
|
|
Мастер (бригадир) по земляному полотну |
1. Текущие осмотры земляного полотна, водоотводных, защитных и укрепительных сооружений с применением простейшего инструмента |
По графику, устанавливаемому приказом начальника дистанции пути не реже одного раза в два месяца (журнал произвольной формы, книга противодеформационных сооружений (форма ПУ-14), паспорт неустойчивого или деформирующегося земляного полотна (форма ПУ-9) |
|
|
2. Периодические (плановые) осмотры неустойчивых и деформирующихся участков земляного полотна, противодеформационных сооружений, водоотводных, защитных и укрепительных сооружений в периоды ливневых дождей, пропуска паводковых вод |
Весной и осенью не реже 1 раза в месяц по приказу начальника дистанции пути (журнал произвольной формы, книга противодеформационных сооружений формы ПУ-14, паспорт неустойчивого или деформирующегося земляного полотна формы ПУ-9) |
|
|
|
3. Текущие осмотры земляного полотна, водоотводных, защитных и укрепительных сооружений, водопропускных труб и малых мостов в периоды ливневых дождей, пропуска паводковых вод, роста и спада пучин |
По графику, устанавливаемому приказом начальника дистанции пути (журнал произвольной формы) |
Совместно с мостовым (тоннельным) мастером |
|
|
4. Осмотр укрепительных и защитных сооружений и земляного полотна вблизи искусственных сооружений |
По графику, устанавливаемому приказом начальника дистанции пути (оформляется актом) |
Совместно с мостовым (тоннельным) мастером |
|
|
5. Периодические (плановые) осмотры земляного полотна, водоотводных, защитных и укрепительных сооружений в границах обслуживаемого участка |
На путях I - V категорий - не реже 1 раза в квартал; на путях VI - VII категорий - не реже 2 раз в год - весной и осенью (оформляется актом) |
Совместно с дорожным мастером каждого линейного участка |
|
|
6. Осмотр земляного полотна, водоотводных, защитных и укрепительных сооружений |
Не реже 2 раз в год - весной и осенью под руководством начальника дистанции пути (оформляется актом и приказом) |
Весенний и осенний комиссионные осмотры земляного полотна и его сооружений при плановых комиссионных осмотрах и проверках пути |
|
|
7. Осмотры неустойчивых и деформирующихся участков земляного полотна, противодеформационных сооружений |
Не реже 1 раза в квартал (оформляется актом) |
Под руководством начальника дистанции пути |
|
|
8. Принимает участие в обследовании инженерно-геологическими базами неустойчивых мест земляного полотна и противодеформационных сооружений |
По графику, утвержденному начальником службы пути |
|
|
|
Начальник дистанции пути и его заместители |
1. Текущие осмотры мест земляного полотна и сооружений, периодически деформирующихся, в том числе на участках с постоянными наблюдениями |
По лично составленному графику (форма ПУ-28) |
|
|
2. Осмотры неустойчивых и деформирующихся участков земляного полотна, противодеформа-|^нпины1С сооружений |
Не реже 1 раза в квартал; по графику (форма ПУ-28) |
Совместно со старшим дорожным мастером каждого участка |
|
|
3. Периодические (плановые) осмотры земляного полотна, водоотводных, защитных и укрепительных сооружений на участках, находящихся в ведении дистанции пути, совместно с дорожным мастером каждого линейного участка |
По лично разработанному графику, утвержденному начальником железной дороги (заместителем начальника дороги). График должен быть составлен таким образом, чтобы в течение года осматривалась вся дистанция пути: лично начальником дистанции пути - не реже 1 раза; заместителем начальника - не реже двух раз; главным инженером - не реже 1 раза (оформляется актом} |
|
|
|
4. Весенний и осенний комиссионные сплошные осмотры земляного полотна и его сооружений при плановых осмотрах железнодорожного пути |
Не реже двух раз в год - весной и осенью (оформляется актом) |
С участием старших дорожных мастеров, дорожных мастеров, мастеров (бригада- ров) по земляному полотну |
|
|
Начальник отдела пути отделения железной дороги (регионального предприятия путевого хозяйства) |
Периодические (плановые) осмотры неустойчивых и деформирующихся участков земляного полотна, сложных защитных и укрепительных сооружений, в пределах отделения дороги (регионального предприятия путевого хозяйства) |
По лично разработанному графику, утвержденному начальником отделения железной дороги или заместителем начальника дороги (форма ПУ-28) |
Совместно с начальником каждой дистанции пути |
|
Заместитель начальника железной дороги, начальники служб пути, начальники отделений дорог (региональных предприятий путевого хозяйства) |
Периодические (плановые) осмотры наиболее сложных объектов земляного полотна, противоде-формационных сооружений по перечню, разрабатываемому Службой пути дороги |
По лично составленному графику в сроки, устанавливаемые МПС Российской Федерации (оформляется актом) |
|
|
Инженерно-геологические базы (пугеобследовательские станции по земляному полотну) |
Периодические осмотры, инструментальные и визуальные наблюдения на сложных и деформирующихся объектах, специальные обследования земляного полотна. Обследования сложных объектов земляного полотна и его сооружений; режимные наблюдения на деформирующихся объектах, участие в осенних и весенних осмотрах пути и земляного полотна, проверка качества содержания земляного полотна и его сооружений, а также правильности ведения технической документации |
По планам, утверждаемым начальником службы пути (или главным инженером службы); по специальным распоряжениям службы пути на деформирующихся объектах (отчет о проведенном обследовании; письменное указание дистанции пути о проведении неотложных мероприятий) |
Участие в комиссионных периодических осмотрах |
ПЕРЕЧЕНЬ ВИДОВ ДЕЯТЕЛЬНОСТИ ДИСТАНЦИИ ПУТИ
ПО СОДЕРЖАНИЮ ЗЕМЛЯНОГО ПОЛОТНА
1. Периодичность, сроки проведения и исполнители надзора за состоянием всех сооружений земляного полотна, включая защитные, укрепительные и другие устройства.
2. Планирование и организация работ по текущему содержанию сооружений для отведения поверхностных и грунтовых вод.
3. Содержание особо ответственных объектов земляного полотна (размывных, оползневых, обвальных, лавинных) с четким распределением обязанностей между путевыми бригадами и специализированными бригадами по земляному полотну.
4. Выполнение неотложных работ для обеспечения безопасности движения поездов при обнаружении деформаций земляного полотна и его сооружений.
5. Организация планового обследования, усиления и капитального ремонта объектов земляного полотна, на которых имеется повышенная интенсивность накопления отступлений в содержании рельсовой колеи в профиле, плане и по уровню.
6. Проведение инструментальных наблюдений и обследований состояния земляного полотна, укрепительных и защитных сооружений на участках со сложными инженерно-геологическими условиями и на объектах, подверженных деформациям.
7. Ведение учетно-отчетной документации по земляному полотну (формы ПУ-9; ПУ-10; ПУ-14), актов обследований и осмотров.
8. Изучение причин и опознавательных признаков возникающих деформаций земляного полотна и заблаговременное выполнение противоаварийных мероприятий с целью предупреждения внезапных нарушений прочности и устойчивости сооружений.
ТИПОВЫЕ ПОПЕРЕЧНЫЕ ПРОФИЛИ
ЗЕМЛЯНОГО ПОЛОТНА ИЗ ГЛИНИСТЫХ ГРУНТОВ
Выемки
Рис. П.3.1. Выемки глубиной до 12 м
Рис. П.3.2. Выемки на косогорах
Размеры основной площадки земляного полотна (рис. П.3.1, П.3.2) принимаются для линий I - II категорий - 7,6 м; III категории - 7,3 м; IV категории - 7,1 м.
Насыпи
Рис. П.3.3. Насыпи высотой до 2 м
При строительстве земляного полотна грунты верхнего слоя, насыпей толщиной 1 м, основания насыпей (рис. П.3.3 - П.3.6) высотой до 0,5 м и основной площадки выемок подлежат уплотнению до величин коэффициента уплотнения 0,95 - 0,98 для дорог I - II категорий и до 0,92 - 0,95 для дорог III - IV категорий (см. СТН Ц-01-95).
Рис. П.3.4. Насыпи высотой до 12 м
Рис. П.3.5. Насыпи на косогорах
Рис. П.3.6. Поперечные профили земляного
полотна из глинистых грунтов по нормам СТН Ц-01-95:
а
- выемки; б - насыпи; 1 - двухслойная балластная призма;
2 - зашитый слой из дренирующего грунта
ЭКСПЛУАТАЦИОННЫЕ (ТИПИЧНЫЕ) ПОПЕРЕЧНЫЕ
ПРОФИЛИ
ДЛИТЕЛЬНО ЭКСПЛУАТИРУЕМОГО ЗЕМЛЯНОГО
ПОЛОТНА
ИЗ ГЛИНИСТЫХ ГРУНТОВ

Рис. П.4.1. Глубокая выемка:
1
- типовая балластная призма; 2 - неочищенный балластный материал; 3 -
современное очертание откоса выемки;
4 - построечное положение откоса выемки; 5 - слой, компенсирующий оседание
построечной основной площадки;
Hк - толщина слоя старых
балластных материалов; D Н - вертикальное смещение бровки земляного полотна;
Вэ - фактическая ширина
основной площадки; Вп -
первоначальная (построечная) ширина основной площадки;
Носн - величина осадки
основной площадки

Рис. П.4.2. Высокая насыпь:
Но - величина оседания бровки вследствие длительного
уплотнения грунтов насыпи;
D А - величина смещения оси верхнего строения пути
относительно оси земляного полотна;
dэ - современная
нормативная ширина обочины; Нэ
- уровень современной бровки насыпи;
Нп - уровень построечной
бровки насыпи; (Нэ - Нп) - наращивание отметки
бровки насыпи от Нп до Нэ;
НS - суммарное
наращивание уровня бровки насыпи от построечного до современного состояния НS = Но + (Нэ - Нп) + Носн;
Носн - величина осадки
основания насыпи; D Вэ - величина уширения откосной части насыпи от
построечной бровки;
Бш - материал балластного
шлейфа

Рис. П.4.3. Нулевое место, преобразованное в насыпь:
Вп - первоначальная (построечная) ширина основной
площадки; Вэ - современная
нормативная ширина основной площадки;
dп - первоначальная
(построечная) ширина обочины; dэ - современная нормативная ширина обочины;
D А - величина смещения оси верхнего строения пути
относительно оси земляного полотна;
D Н - величина поднятия бровки земляного полотна
относительно первоначального (построечного) положения;
Но - величина оседания
построечной бровки земляного полотна; По
- величина оседания основной площадки

Рис. П.4.4. Нулевое место - полунасыпь, преобразованная в выемку:
Вп - первоначальная (построечная) ширина основной
площадки; Вэ - современная
нормативная ширина основной площадки;
D А - величина смещения оси верхнего строения пути
относительно оси земляного полотна;
D Н - величина поднятия бровки земляного полотна
относительно первоначального (построечного) положения;
Но - величина оседания
построечной бровки земляного полотна; По
- величина оседания основной площадки

Рис. П.4.5. Нулевое место - полунасыпь-полувыемка:
D А - размер
смещения оси верхнего строения пути относительно оси земляного полотна;
D Н - величина поднятия бровки земляного полотна
относительно первоначального (построечного) положения;
По - величина оседания
основной площадки
ТИПИЧНЫЕ КОНСТРУКЦИИ ЗЕМЛЯНОГО ПОЛОТНА
В ЗОНЕ ОСНОВНОЙ ПЛОЩАДКИ

Рис. П.5.1. Типовое (построечное) очертание
основной площадки
однопутного земляного полотна из глинистых грунтов с шириной Вп,
расположением бровки на отметке Н и
высотой сливной призмы hсп:
1 - откос насыпи; 2 - откос кювета в выемке

Рис. П.5.2. Типовое (построечное) очертание
основной площадки
однопутного земляного полотна из глинистых грунтов:
Вп - начальная ширина основной площадки;
Н + hсп - положение, в которое переместилась отметка бровки
вследствие покрытия обочины балластными материалами;
Вп - Вэ - величина, на которую фактически уменьшилась ширина
основной площадки;
1 - откос насыпи; 2 - откос кювета в выемке

Рис. П.5.3. Построечное и эксплуатационное
очертания основной площадки
земляного полотна из глинистых грунтов после проведенной подъемки пути на
величину
D Н
для компенсации оседания земляного полотна, при неизменном типе верхнего
строения
пути или после подъемки пути на балластные материалы (против построечного
положения):
А В - условная граница между существующей балластной призмой и старыми
балластными материалами, относящимися к земляному полотну;
Вэ - ширина условной
поверхности (основной площадки), разделяющей балластную призму и земляное
полотно

Рис. П.5.4. Конструкция основной площадки земляного полотна из глинистых грунтов:
1
- балластный слой; 2 - защитный слой из накопленных балластных материалов в
процессе эксплуатации;
3 - глинистые грунты; 4 - очертание построечного профиля; 5 - очертание
типового поперечного профиля;
А В - основная площадка (фактическая,
создаваемая при строительстве, или условная, образующаяся в процессе
эксплуатации)

Рис. П.5.5. Очертание и местоположение
основной площадки земляного полотна из глинистых грунтов,
создаваемой при подготовке линии для организации скоростного движения
пассажирских поездов:
1
- балластная призма из щебня после глубокой очистки и пополнения: 2 - покрытие
(пенополистирол, геотекстиль); 3 - создаваемая основная площадка;
4 - неочищенный щебень; 5 - старый песчано-гравийный балластный материал; 6 -
построечная основная площадка;
7 - материал балластного шлейфа или отложений балластных материалов в зоне
водоотводных сооружений выемок

Рис. П.5.6. Типовое очертание основной
площадки изначально
двухпутного земляного полотна из глинистых грунтов:
1 - щебеночный балласт, 2 - песчано-гравийный балласт (песчаная подушка); 3 - основная площадка

Рис. П.5.7. Типовое строение основной
площадки двухпутного земляного полотна из глинистых
грунтов в случае, когда второй путь построен после длительной эксплуатации
первого пути:
1
- щебеночный балласт; 2 - песчано-гравийный балласт (песчаная подушка); 3 -
местный грунт;
4 - основная площадка земляного полотна по второму пути; 5 - то же по первому
пути
НОРМЫ ПЕРИОДИЧНОСТИ КАПИТАЛЬНОГО РЕМОНТА
ЗЕМЛЯНОГО ПОЛОТНА И ЕГО СООРУЖЕНИЙ
|
№ п/п |
Наименование
объектов земляного |
Средняя
периодичность |
|
1 |
Неустойчивые места земляного полотна (балластные корыта, пучины, оползни, размывы, обвалы, карст, термокарст и др.) |
Устанавливается индивидуально на основании данных инструментальных и визуальных наблюдений, натурных и инженерно-геологических (геофизических) обследований и расчетов прочности, устойчивости и эксплуатационной надежности объектов |
|
2 |
Лотки деревянные, быстротоки, перепады, колодцы дренажные деревянные, каменные и бетонные; одерновка, мостовая каменная, каменная наброска; улавливающие рвы и траншеи |
2 - 4 |
|
3 |
Кюветы, водоотводные и нагорные канавы в скальных грунтах, лотки и быстротоки железобетонные; дренажи, траверсы, дамбы, ряжи и плотины деревянные |
5 - 7 |
|
4 |
Кюветы, водоотводные и нагорные канавы в скальных грунтах; дренажи закрытые с трубами; штольни и галереи деревянные; плиты укрепительные железобетонные; стены подпорные, одевающие, улавливающие с каменной сухой кладкой |
8 - 10 |
|
5 |
Дренажи и прорези поперечные с песчаной и гравелистой засыпкой; стены бетонные, железобетонные и каменные на растворе, подпорные, одевающие, улавливающие; буны, волноломы, дамбы, плотины из монолитного бетона; подушки шлаковые, песчаные, асбестовые, защитные покрытия на основной площадке из пенополистирола, геотекстиля |
10 - 15 |
|
6 |
Траверсы, дамбы, плотины из железобетонных плит; фильтрующие насыпи |
15 - 20 |
НАИБОЛЕЕ РАСПРОСТРАНЕННЫЕ ДЕФЕКТЫ
И ДЕФОРМАЦИИ ЗЕМЛЯНОГО ПОЛОТНА
|
Наименование элемента земляного полотна |
Номер рисунка в приложении 8 |
|
1. Основная площадка земляного полотна |
|
|
а) дефекты |
|
|
1.1. Балластные корыта |
|
|
1.2. Балластные ложа |
|
|
1.3. Балластный мешок |
|
|
1.4. Балластные гнезда |
|
|
б) деформации |
|
|
1.5. Термокарстовые понижения и провалы на мари и земляном полотне |
|
|
1.6. Весенние пучинные просадки |
|
|
1.7. Пучины |
|
|
1.8. Пучинные горбы над "холодным" трубопроводом |
|
|
2. Откосы |
|
|
а) дефекты |
|
|
2.1. Смывы |
|
|
2.2. Обрушения крутых откосов выемок в лессовых грунтах |
|
|
б) деформации |
|
|
2.3. Размывы откосов контрбанкетов и берм |
|
|
2.4. Сплывы откосов выемок |
|
|
2.5. Сплывы откосов насыпей |
|
|
2.6. Оползание откосов насыпей |
|
|
2.7. Сплывы откосных частей насыпей над пересекающими их теплотрассами |
|
|
2.8. Оползание рыхлых отложений по контакту со скальными породами |
|
|
2.9. Осыпи |
|
|
2.10. Вывалы |
|
|
2.11. Обвалы |
|
|
3. Тело и основание земляного полотна |
|
|
а) дефекты |
|
|
3.1. Расползание насыпи |
|
|
3.2. Оседание насыпи вследствие уплотнения слагающих ее грунтов |
|
|
3.3. Осадки и расползание насыпей на оттаивающих вечномерзлых грунтах |
|
|
б) деформации |
|
|
3.4. Сдвиг (сползание) насыпи или ее низовой части по наклонному основанию |
|
|
3.5. Оползни |
|
|
3.6. Смещение насыпи, расположенной на куруме |
|
|
4. Слабые основания |
|
|
а) дефекты |
|
|
4.1. Суффозионное разрушение откосных частей земляного полотна |
|
|
б) деформации |
|
|
4.2. Оседание насыпи вследствие выпирания грунтов основания |
|
|
4.3. Оседание насыпи вследствие уплотнения грунтов основания |
|
|
4.4. Выпирание грунтов в выемке |
|
|
4.5. Провалы насыпей на торфяных болотах (илистых отложениях) |
|
|
4.6. Провалы земляного полотна на закарстованных территориях |
|
|
5. Повреждения земляного полотна в
местах |
|
|
а) дефекты |
|
|
5.1. Осадки основной площадки земляного полотна над трубопроводными пересечениями |
|
|
5.2. Нарушение отвода поверхностных вод у пассажирских платформ и погрузочно-выгрузочных площадок |
|
|
5.3. Повреждения приоткосных частей земляного полотна в местах прокладки кабелей |
|
|
б) деформации |
|
|
5.4. Оседание земляного полотна над шахтными подработками |
|
|
5.5. Длительное оседание насыпей на подходах к мостам и водопропускным трубам |
|
|
6. Повреждения и разрушения земляного
полотна, |
|
|
а) дефекты |
|
|
6.1. Песчаные заносы |
|
|
6.2. Развевание песчаных откосов (бровок) в пустынях и полупустынях |
|
|
б) деформации |
|
|
6.3. Размывы подтопляемых откосов земляного полотна |
|
|
6.4. Размывы открытых водоотводов (канав, кюветов) |
|
|
6.5. Понижения и заплывания водоотводов земляного полотна на вечномерзлых грунтах |
|
|
6.6. Заиливание кюветов и канав |
|
|
6.7. Подмыв берега моря (озера, водохранилища), вблизи земляного полотна, защитных и укрепительных сооружений |
|
|
6.8. Подмыв основания земляного полотна водными потоками |
|
|
6.9. Оврагообразование |
|
|
6.10. Завал земляного полотна снежными лавинами |
|
|
6.11. Завалы пути селевыми отложениями |
|
|
6.12. Загромождение пути и подмостовых отверстий наледями |
|
|
6.13. Повреждения земляного полотна при наводнениях |
|
|
6.14. Повреждения земляного полотна при землетрясениях |
|
|
7. Дефекты земляного полотна при |
|
|
7.1. Пучение на одном из путей на двухпутном участке |
|
|
7.2. Оседание насыпи дополнительного (нового) пути, построенной на слабом основании |
|
|
7.3. Переувлажнение грунта в откосах старой и вновь построенной насыпей вследствие неорганизованного водоотвода из уширенного междупутья |
|
|
7.4. Деформации насыпи второго пути в результате увлажнения грунта из балластного шлейфа, защемленного при строительстве второго пути |
|
|
8. Конструктивные дефекты земляного полотна длительно эксплуатируемых линий |
|
|
8.1. Недостаточность ширины обочин: |
|
|
двусторонняя |
|
|
односторонняя |
|
|
односторонняя недостаточность ширины обочин при сдвижке оси пути |
|
|
8.2. Балластный шлейф с завышенной крутизной откоса |
|
|
8.3. Повреждения земляного полотна при недостаточной длине водопропускной трубы |
|
|
8.4. Уменьшение сечения построечных кюветов |
|
|
8.5. Смещение уровня и положения в плане кюветов |
|
КАТАЛОГ ДЕФЕКТОВ И ДЕФОРМАЦИЙ ЗЕМЛЯНОГО ПОЛОТНА
Балластные корыта - отдельно расположенные под шпалами углубления в глинистых грунтах, слагающих основную площадку, заполненные балластными материалами. Углубления могут быть односторонними (под одной рельсовой нитью) и двусторонними (под обеими нитями) и достигают глубины 5 - 30 см.
Рис. П.8.1. Балластные корыта:
1
- балластное корыто; 2 - балластный слой;
3 - глинистые грунты; 4 - контакт балласта и глинистых грунтов
Опознавательные признаки: просадки пути, толчки, перекосы, разжижение и выплески балласта, трещины на поверхности балластного слоя.
Причины возникновения: понижение несущей способности грунтов вследствие их переувлажнения; неудовлетворительное состояние балластной призмы земляного полотна и водоотводных устройств; наличие слабых или недостаточно уплотненных грунтов основной площадки; наличие пучин и весенних пучинных просадок.
Неотложные меры: осушение разжиженной зоны балластной призмы; устранение неисправностей верхнего строения пути (просадок, толчков, перекосов, сбитая рихтовки); восстановление водоотведения по кюветам, лоткам, канавам, дренажам.
Эксплуатационные наблюдения: определение участка с балластными корытами; надзор за состоянием пути в периоды возникновения просадок, перекосов (весна, осень, при ливнях); определение надежности выполненных неотложных мер; регулярные замеры состояния пути по шаблону, уровню, наличию толчков при проходе поездов.
Балластное ложе - общее (под несколькими шпалами) углубление в глинистых грунтах, слагающих основную площадку. Вытянутое вдоль пути балластное ложе, иногда имеющее продольный уклон, заполнено балластными материалами. Достигает глубины 40 - 50 см и чаще возникает на насыпях и нулевых местах.
Опознавательные признаки: просадки пути, толчки, перекосы, разжижение и выплески балласта, трещины на поверхности балластного слоя, трещины на откосах и обочинах; выпирание грунтов на междупутья, в кюветы.
Причины возникновения: понижение несущей способности грунтов вследствие их переувлажнения при неудовлетворительном состоянии балластной призмы, земляного полотна и водоотводных устройств; поступление воды в насыпь или на нулевое место со стороны выемки; наличие слабых или недостаточно уплотненных грунтов в зоне основной площадки; недостаточная толщина балластного слоя; применение непригодных грунтов, неправильное расположение грунтовых слоев при возведении насыпи или оставление слабых грунтов под балластной призмой в выемках и на нулевых местах; наличие пучин и весенних пучинных просадок.
Рис. П.8.2. Балластное ложе:
1
- балластное ложе; 2 - балластный слой;
3 - глинистые грунты; 4 - контакт балласта и глинистых грунтов
Неотложные меры: отвод воды от балластной призмы; устранение неисправностей верхнего строения пути; осушение грунтов основной площадки односторонними или двусторонними прорезями со срезкой глинистых бортов ниже дна ложа с заменой дренирующим грунтом. При наличии грунтовых вод, поступления воды из выемки по балластному ложу - каптаж ключей, устройство прорезей-преградителей, восстановление дренажей, лотков, канав.
Эксплуатационные наблюдения: тщательный осмотр неустойчивых участков в периоды оттаивания грунта, при выпадении ливней, прохождении паводков с определением места расположения неустойчивого участка; периодический осмотр противодеформационных и водоотводных сооружений; проведение замеров уровней воды в дренажных колодцах в периоды дождей, пропуска весенних и ливневых вод, с замерами количества воды, вытекающей из дренажей, выпусков лотков, водоотводов.
Балластный мешок - изолированное значительное углубление в глинистых грунтах, слагающих основную площадку и тело земляного полотна, заполненное песчаными, в том числе балластными материалами.
Рис. П.8.3. Балластный мешок:
1
- балластный мешок; 2 - построечный поперечный профиль;
3 - выпор грунта вследствие образования балластного мешка;
4 - глинистые грунты; 5 - контакт балласта и глинистых грунтов
Опознавательные признаки: частое возникновение коротких просадок пути на одном и том же коротком участке (зимой - пучинная впадина, весной - выплески и разжижения); трещины на откосах земляного полотна и на водоотводах; различная растительность на участке балластного мешка и на прилегающих к нему устойчивых участках.
Причины возникновения: неправильное расположение разнородных грунтов при сооружении земляного полотна или устранении возникавших повреждений и разрушений; нарушение технических требований проектов при заполнении траншей и котлованов при прокладке трубопроводов, линий связи, водопропускных сооружений в теле земляного полотна; многократные исправления резких коротких просадок пути посредством подъемок на балласт при устранении деформаций земляного полотна на слабых основаниях интенсивного пучения и весенних пучинных просадок.
Неотложные меры: незамедлительное устранение неисправностей пути (иногда с созданием дежурной бригады); отведение воды от места неисправности пути с устранением застоев в канавах; заделка трещин на поверхности откосов, в канавах и кюветах.
Эксплуатационные наблюдения: определение границы неустойчивых участков земляного полотна, осмотр противодеформационных и водоотводных сооружений; выявление характерных неисправностей верхнего строения пути и приуроченность их к определенным сезонам года.
Балластные гнезда - балластные мешки и ложа, имеющие один или несколько отростков - карманов, заполненных балластными материалами.
Опознавательные признаки: просадки пути, толчки, перекосы, разжижение и выплески балласта; трещины на поверхности балластного слоя; трещины на откосах и обочинах; выпирание грунтов на междупутья, в кюветы; образование на откосах потеков грунта, смешанного с песком; выпучивание откосов насыпей.
Рис. П.8.4. Балластные гнезда:
1
- балластные гнезда; 2 - построечный поперечный профиль;
3 - выпор грунта вследствие образования балластного гнезда;
4 - глинистые грунты; 5 - контакт балласта и глинистых грунтов
Причины возникновения: неправильное расположение грунтов различной водопроницаемости при строительстве дороги, при постройке вторых (дополнительных) путей; укладка глинистых грунтов поверх песчаных (в том числе шлейфа); оставление непереустроенных канав, заполненных балластными материалами при развитии станций, уширении междупутий, укладке стрелочных съездов; неправильное восстановление земляного полотна после разрушений с использованием непригодных грунтов; неудовлетворительное текущее содержание пути в течение длительного времени на участках с пучинами, весенними пучинными просадками, сезонными разжижениями грунтов.
Неотложные меры: устранение разжижения балластного слоя, выправка пути, устранение застоев воды на поверхности основной площадки, в балластных мешках, гнездах; выпуск воды из мест наружного и внутреннего застоя (засыпанных шлейфов и др.); подъемка пути на балласт или замена слабых грунтов основной площадки; приведение верхнего строения пути к типу, соответствующему условиям эксплуатации линии.
Эксплуатационные наблюдения: определение границ неустойчивого участка; тщательный осмотр состояния земляного полотна, противодеформационных и водоотводных сооружений.
Термокарстовые понижения и провалы на мари и земляном полотне - искажения очертания поверхности за счет вытаивания ледяных включений при оттаивании вечномерзлых грунтов.
Опознавательные признаки: понижения и провалы на мари и различных элементах земляного полотна - обочинах, откосах, кюветах, нагорных и водоотводных канавах в пределах насыпей, нулевых мест и выемок, застои воды в водоотводах, у подошвы откосов насыпей, в подмостовом пространстве, перед трубами.
Рис. П.8.5. Термокарстовые понижения и
провалы
на мари и земляном полотне:
1
- водоотводная канава; 2 - термокарстовое понижение у подошвы откоса насыпи;
3 - термокарстовый провал; 4 - верхняя граница вечной мерзлоты
Причины возникновения: оттаивание вечной мерзлоты и осадка грунта вследствие вытаивания ледяных включений как следствие возведения земляного полотна, нарушений естественного растительного покрова и его засыпки минеральным грунтом, а также изменения сложившегося стока воды на местности.
Неотложные меры: рекультивация мари путем заполнения термокарстовых понижений и провалов торфом, заторфованным суглинком или древесными отходами (опилки, корье, сучья), использование минерального грунта (песок, песчано-гравийная смесь, горная масса, суглинок) для заполнения запрещается; отвод воды путем укладки дрен на глубине 0,2 м из свернутого в рулон нетканого материала шириной полосы 1 м вдоль подошвы откоса насыпи, поперек пути в подмостовом пространстве и с низовой стороны моста на протяжении 200 м, устройство из камня фильтрующих поперечных прорезей, обернутых нетканым материалом; заполнение понижений и провалов в теле земляного полотна торфо-грунтовой смесью.
Эксплуатационные наблюдения: визуальное определение местоположения (№, км, ПК +), размеров в плане и глубине понижений, провалов, застоев воды с отражением в формах ПУ-9, при необходимости инструментальная съемка для назначения мероприятий по организации стока воды.
Весенние пучинные просадки - интенсивное нарастание местных искажений рельсовой колеи в продольном и поперечном профилях в результате осадок оттаивающих грунтов земляного полотна под поездными нагрузками на участках с пучинными горбами или большим равномерным пучением (как правило, более 40 - 50 мм).
Опознавательные признаки: просадки рельсовых нитей в период оттаивания грунтов; частые нарушения состояния пути по уровню и в профиле (толчки, перекосы); выжимание воды, а затем разжиженного грунта у граней шпал, в некоторых случаях - появление бугров выпирания разжиженного грунта на обочинах и в междупутьях; смещение откосов и другие повреждения кюветов.
Рис. П.8.6. Весенние пучинные просадки:
1,
2 - верх шпалы соответственно в конце зимы и весной после оттаивания грунтов;
3 - выпор грунта; 4 - основная площадка энной; 5 - основная площадка после
просадки;
6 - линзы льда; 7 - граница промерзания; 8 - глинистые грунты;
Z - глубина промерзания; hпп - высота пучинной
просадки
Причины возникновения: резкое снижение несущей способности оттаивающих грунтов на участках с интенсивным неравномерным и равномерным пучением; неудовлетворительный отвод грунтовых и поверхностных вод; неравномерное оттаивание грунта вдоль пути и под разными рельсовыми нитями; интенсивные атмосферные осадки, усиливающие деформацию пути.
Неотложные меры: тщательный отвод воды от балластного слоя и с обочин; регулярная очистка кюветов и канав от загрязнителей, льда, снега с недопущением застоев воды; устранение отступлений пути по уровню и в профиле; при интенсивных расстройствах пути - ограничение скоростей движения. Для предупреждения просадок необходимо полное устранение зимнего пучения грунтов и повышение их несущей способности по специальным проектам.
Эксплуатационные наблюдения: определение местоположения участка с весенними пучинными просадками; учет количества и видов работ, выполняемых при содержании пути; надзор за состоянием земляного полотна и его обустройств, особенно в период таяния снега, оттаивания грунта, прохождения паводков, выпадения атмосферных осадков.
Пучины - искажения положения рельсовых нитей в продольном и поперечном профилях в виде пучинных горбов, пучинных впадин, пучинных перепадов, требующие исправления пути и возникающие вследствие неравномерного вспучивания грунтов при промерзании. При оттаивании грунтов возможны весенние пучинные просадки.
Опознавательные признаки: деформации, возникающие в периоды промерзания и оттаивания грунтов; отступления в пути по уровню и в продольном профиле, вызывающие неспокойный ход поезда при движении по пучинному участку, зависание рельсов над шпалами вблизи пучинных неровностей; продольные трещины в снежном покрове, на поверхности откосной части балластной призмы, у концов шпал; при оттаивании грунта возникают просадки, перекосы, выплески, выпирание грунта при проходе поездов с выпучиванием обочин, откосов кюветов и канав, сдавливание лотков.
Рис. П.8.7. Пучины:
1,
2 - верх шпалы соответственно осенью и в конце зимы;
3, 4 - основная площадка соответственно осенью и в конце зимы;
5 - построечное очертание основной площадки; 6 - линзы льда;
7 - граница промерзания; 8 - глинистые грунты;
Z - глубина промерзания; hп - высота пучинного горба
Причины возникновения: наличие неоднородных или неодинаково увлажненных грунтов основной площадки; увлажнение глинистых грунтов, слагающих основную площадку, вследствие наличия бессточных неровностей; промерзания при наличии грунтовых вод и при запущенном состоянии водоотводов; неодинаковая глубина промерзания земляного полотна; неравномерное загрязнение и увлажнение балластного слоя.
Неотложные меры: усиленный надзор за состоянием пути в периоды роста пучин зимой и особенно при их спаде весной (вплоть до ежедневных осмотров); своевременное устранение отступлений от норм содержания рельсовой колеи с применением пучинных подкладок или подрельсовых прокладок (выправка пути на балласт применяется после оттаивания грунта); тщательное содержание водоотводных устройств (кюветов, канав, лотков, дренажей) с заблаговременной подготовкой к отводу воды в периоды длительных оттепелей и весеннего снеготаяния; в периоды быстрой осадки пучин при высокой температуре наружного воздуха и интенсивных атмосферных осадках возможно ограничение скорости движения поездов. После оседания пучин и прекращения просадок необходима выправка пути на балласт с изъятием пучинных подкладок.
Эксплуатационные наблюдения (визуальные и инструментальные): при визуальных зимних наблюдениях дорожный мастер и бригадир пути с помощью шаблона замеряют высоту поднятия головок рельсов за период между датами проведения наблюдений. Весной измеряют величины оседания рельсовой колеи. Результаты наблюдений записывают в книжках проверки пути. По визуальным наблюдениям определяют местоположение пучины (или пучинного участка), величины пучинных горбов (или впадин), скорости нарастания и оседания пучинных неровностей, измеряют толщины пучинных подкладок на каждой шпале. Итоги наблюдений за зимне-весенний период заносят в паспорта неустойчивых участков земляного полотна (форма ПУ-9) и ведомость учета пучин (форма ПУ-10).
Пучинные горбы над "холодными" трубопроводами - искажения рельсовой колеи в продольном профиле над газопроводами с отрицательной температурой газа вблизи мест понижения давления.
Опознавательные признаки: возникновение пучинного горба с недопустимыми по нормам содержания пути продольными уклонами над газопроводом.
Причины возникновения: замерзание грунта вокруг газопровода с отрицательной температурой газа и дополнительные пучения по сравнению с равномерным на прилежащих участках за счет увеличения объема мерзлого грунта.
Неотложные меры: исправление пути на пучинные подкладки. Выполнение противодеформационных мероприятий по индивидуальному проекту.
Эксплуатационные наблюдения: осмотры и измерения при этих осмотрах, а также инструментальные измерения как на участках с пучинами, определение температуры газопровода и размеров (диаметра) массива мерзлого грунта вокруг него.
Рис. П.8.8. Пучинные горбы над холодными трубопроводами:
1
- пучинные подкладки; 2 - уровень головки рельсов зимой;
3 - то же летом; 4 - положение границы промерзания: 5 - холодный газопровод
Смывы - поверхностные нарушения откосов атмосферными водами. При смывах, связанных с оттаиванием грунта, разжиженная масса стекает по подстилающему мерзлому слою к основанию откоса, на закюветную полку, в кюветы.
Опознавательные признаки: потеки и мелкорусловые размывы на откосах; отложения высохшего затвердевшего грунта у основания откосов.
Причины возникновения: грубая планировка, недостаточное укрепление откосов и их бровок; местное переувлажнение грунтов из-за нарушения нормальной работы водоотводных устройств или повреждений защитного слоя, а также разжижение грунта при оттаивании до текучего состояния. Атмосферные осадки усиливают смыв откоса земляного полотна.
Неотложные меры: уменьшение поступления поверхностной воды на откос; устранение застоев воды в водоотводных устройствах; заделка начинающихся размывов, трещин в грунте, восстановление крепления откосов; при необходимости - уборка снега с откосов.
Эксплуатационные наблюдения: надзор за состоянием и работоспособностью водоотводных устройств в периоды снеготаяния, выпадения ливневых и затяжных дождей; осмотр состояния поверхности откосов, укрепительных устройств; выпусков воды из кюветов, водоотводных канав, смотровых колодцев, выходов из дренажей.
Рис. П.8.9. Смывы:
а
- выемки; б - насыпи; 1 - смытый грунт,
2 - место повреждения; 3 - поврежденный откос;
4 - поверхность откоса до повреждения
Опознавательные признаки: появление и постепенное увеличение раскрытия продольных трещин на заоткосной площадке с образованием уступов; возникновение столбчатых отдельностей на поверхности откоса, ограниченных вертикальными трещинами; появление поверхностного соляного налета на поверхностях откосов у трещин в грунте и других неоднородностей; потемнение и выкрашивание лёссовой породы вблизи основания откоса; падение на закюветные полки и в кюветы целых и раздробленных комьев грунта; обрушение крупных (до 3 - 5 м3) массивов грунта.
Причины возникновения: дробление лёссовой породы в откосах и прилегающих массивах вследствие попеременного увлажнения, высушивания, промерзания, оттаивания, сопровождающихся набуханием и усадкой грунта; отколы грунтовых отдельностей различной крупности с накоплением их у основания откоса, приводящие к ухудшению поверхностного стока и к увлажнению накопившегося грунта, и естественного массива в нижней части откоса; застои воды в кюветах и увлажнение подошвы откоса с выкрашиванием и ослаблением просадочного лёссового грунта, образование ниши у подошвы откоса. Крупные блоки грунта, отделившиеся трещинами от массивов пород, потерявшие опору вследствие образования ниши и продолжающегося увлажнения и ослабления грунта, оседают, запрокидываются и постепенно дробятся, загромождая закюветные полки, кюветы, а иногда и верхнее строение пути.
Неотложные меры: устранение застоев воды в кюветах, на закюветных полках, на надоткосных площадках; уборка обрушившегося грунта с вывозом его за пределы выемки; зачистка откоса, поврежденного обрушением грунта; заделка трещин на заоткосной площадке, у канав, на откосах перемятым лёссовым грунтом; искусственное обрушение массивов, угрожающих падением.
Эксплуатационные наблюдения: регулярные осмотры состояния поверхности откосов с выявлением развития трещин, визуальным определением сомнительных массивов, угрожающих обрушением, контроль за состоянием кюветов, нагорных канав, забанкетных канав и имеющихся банкетов; определение мест возможного поступления воды к бровкам откосов; при обрушениях откосов - определение возможности эксплуатации пути с установленными или ограниченными скоростями движения поездов.
Рис. П.8.10. Обрушение крутых откосов
выемок
в лёссовых грунтах:
1
- трещины усадки лёсса при подсыхании, по которым откалываются его отдельности;
2 - отдельности лёсса, упавшие с откоса на закюветную полку;
3 - ниша выкрашивания капиллярно увлажняемого лёсса в подошве откоса;
4 - кайма капиллярно увлажняемого лесса в связи с подъемом уровня
грунтовых вод при наполнении вновь образованного водохранилища;
5 - уровень грунтовых вод; 6 - проектируемый подкюветный дренаж;
7 - депрессионная воронка грунтовых вод; 8 - сниженный при дренировании
грунтовых
вод уровень каймы капиллярного поднятия влаги в лёссе (глубина заложения
дренажной трубы и ее диаметр принимаются по расчету)
Опознавательные признаки: неровности на берме и откосе; оврагообразные размывы бермы, бровки откоса; заколы с образованием трещин на берме и откосе; отложение размытого грунта у основания откоса контрбанкета.
Причины возникновения: недостаточное уплотнение грунта при возведении контрбанкета; некачественная планировка поверхностей бермы и откоса; отсутствие укрепления откоса; низкое качество содержания контрбанкета.
Неотложные меры: восстановление проектных очертаний бермы, бровки, откоса контрбанкета; ликвидация промоин засыпкой грунтом с нормируемым уплотнением; укрепление поверхности бермы и откоса травосеянием, покрытие полки и откосов защитным слоем из щебня (гравия).
Эксплуатационные наблюдения: визуальный осмотр контрбанкета с устранением промоин и трещин в грунте, а также восстановлением крепления.
Рис. П.8.11. Размывы откосов контрбанкетов и берм:
1
- откос усиляемой насыпи; 2 - промоины на берме и откосе контрбанкета;
3 - откос контрбанкета; 4 - берма контрбанкета; 5 - бровка контрбанкета
Сплывы откосов выемок - смещение верхнего слоя грунта толщиной до 1 - 2 м с сохранением общей устойчивости откоса. Сплывы следует отличать от оползаний откосов, связанных с нарушением их общей устойчивости.
Опознавательные признаки: от смывов сплывы отличаются сплошным смещением поверхностных слоев грунта, а от оползней откосов - малой глубиной захвата. На ранних стадиях возникают короткие трещины на поверхности и у бровок откосов, а у основания откосов - выпоры; появляется влаголюбивая растительность, происходит вздутие поверхности откосов. Для сплывов, связанных с промерзанием и оттаиванием грунта, вначале характерно появление потеков разжиженной массы, а затем смещение верхних слоев грунта толщиной 0,3 - 0,6 м до 1 - 2 м. Кюветы и канавы деформируются со смещением их откосов внутрь сечения. На пути часто наблюдаются пучинные просадки (в том числе весенние).
Причины возникновения: снижение прочности грунтов вследствие происходящих в них физико-химических процессов, связанных с промерзанием и оттаиванием, усадкой и набуханием, попеременным высушиванием и увлажнением, нарушением сплошности при выветривании Сплывам способствуют выходы грунтовых вод на поверхность откосов, неупорядоченный поверхностным сток, нарушение целостности укреплений.
Неотложные меры: расчистка поврежденных или загроможденных канав, кюветов, лотков; пропуск застойных вод от земляного полотна; уборка сплывших масс грунта с устранением трещин, бессточных впадин, планировкой откосов. Усиленный контроль за состоянием пути и устранение неисправностей.
Эксплуатационные наблюдения: определение границ участка развития сплывов с определением глубины захвата (толщины смещающегося слоя), установка створов вешек для измерения величин подвижек грунта и проведение этих измерений; наблюдение за исправностью постоянных водоотводных устройств и временных (противоаварийных) сооружений; проверка состояния пути и устранение неисправностей земляного полотна и верхнего строения пути.
Рис. П.8.12. Сплывы откосов выемок:
1
- откос выемки до сплыва; 2 - сплывший грунт,
3 - поверхность скольжения
Сплывы откосов насыпей - смещение поверхностного слоя грунта (в том числе балластного шлейфа) с захватом обочины и части балластной призмы без нарушения общей устойчивости насыпи.
Опознавательные признаки: продольные трещины на обочинах, прибровочных частях откоса; местное понижение обочины; местное выпучивание поверхности откоса; влаголюбивая растительность на откосе; выходы воды; неустойчивость откоса балластной призмы; односторонние просадки пути, иногда с поперечными сдвижками.
Причины возникновения: рыхлое сложение верхнего слоя грунта; местное смачивание контакта глинистого грунта откоса и балластного слоя; перегрузка верхней части откоса навалами грунта, старого балласта, другими материалами; неправильная прокладка в насыпях различных кабелей; выгрузка снега на откос; плохой водоотвод.
Неотложные меры: исправление рельсовой колеи в плане и профиле; при интенсивных осадках - ограничение скоростей движения, а при необходимости организация дежурных бригад; ликвидация застоев воды; уборка излишних материалов с обочин и верхних частей откоса; создание упора у основания откоса из камня, габионов, местного грунта с отводом воды от земляного полотна.
Эксплуатационные наблюдения: проверка состояния пути в плане и профиле; осмотр поверхности обочин, откосов насыпи, поверхности балластной призмы; при необходимости - выставление створа вешек для наблюдений за горизонтальными сдвигами. Недопущение выгрузки снега на откос, а при необходимости - устройство прорезей в снегу для ускорения стока воды.
Рис. П.8.13. Сплывы откосов насыпей:
1
- поверхность смещения; 2 - сместившийся грунт;
3 - нарушенная часть откоса; 4 - поврежденная часть балластной призмы;
5 - балластный шлейф
Оползание откосов насыпи - отслоение откосной части насыпи с захватом основной площадки чаще всего до концов шпал или до оси пути и смещение ее к подошве откоса, иногда с захватом основания насыпи.
Опознавательные признаки: появление продольных трещин на обочинах, откосах балластной призмы, вдоль торцов шпал, под рельсошпальной решеткой, бугров на откосе и увлажненных складок в нижней части откоса; относительно большие просадки рельсовых нитей, требующие выправки пути; искажение очертаний откосов и поверхности земли рядом с основанием откоса. При оползании вначале происходит вертикальное смещение грунта с образованием стенки отрыва, затем смещение грунта в полевую сторону. Как правило, другая часть насыпи остается устойчивой. Этим отличается оползание откосов от общего смешения всей насыпи.
Причины возникновения: недостаточная плотность грунтов насыпи и откосных частей; наличие балластных шлейфов на откосах насыпей; завышенная крутизна откосов; сооружение насыпи из слабых грунтов, не пригодных для строительства; разница в плотности и влажности грунтов ядра и откосной части; наличие продольных балластных лож, мешков и особенно балластных гнезд; наличие балластного шлейфа с завышенной крутизной его откоса и смачиванием контакта глинистых и дренирующих грунтов; наличие слабых грунтов в основании откосной части насыпи; плохое текущее содержание земляного полотна; переувлажнение грунта обильными атмосферными осадками, талыми водами.
Неотложные меры: планировка обочин, заделка трещин, уборка снега в конце зимы; осушение балластных лож, мешков и гнезд; предотвращение поступления воды в тело насыпи (гидроизоляция или перехват воды и отвод ее за пределы насыпи); срезка оползающих грунтов откосов; нарезка уступов на глиняном ядре и восстановление качественным грунтом с нормируемым уплотнением; присыпка берм или контрбанкетов для усиления откоса. При восстановлении насыпи дренирующими грунтами, подаваемыми поездной возкой, недопустимо перегружать верхнюю часть откоса, а от контакта глинистых и дренирующих грунтов необходимо обеспечивать отвод впитывающейся воды.
Эксплуатационные наблюдения: систематический надзор за состоянием насыпи по опознавательным признакам с установлением при необходимости створов вешек; выявление на поверхностях откосов мест выхода грунтовой воды или, наоборот, поглощения стекающей воды при снеготаянии и обильных дождях; тщательный осмотр мест, где проводились неотложные мероприятия.
Рис. П.8.14. Оползание откосов насыпи:
1
- первоначальный (построечный) профиль; 2 - поверхность скольжения;
3 - сползший грунт
Опознавательные признаки: смещение массивов грунта или оплывание его с неровностями и западинами на откосах над теплотрассой, располагающейся на переходе в теле насыпи, повышенное увлажнение грунта в этом месте.
Причины возникновения: нарушения температурного режима грунта насыпи за счет дополнительного потока тепла от трубопровода, приводящие к увеличению влажности и снижению прочности грунта, находящегося в талом состоянии, в том числе в зимний период, вследствие поступления влаги из подогретых слоев, препятствующей инфильтрации талых атмосферных осадков в глубину.
Неотложные меры: устранение западин планировкой, засыпкой однородным грунтом, одерновка поверхности, переустройство подземного перехода в надземный или с укладкой теплотрассы в защитной трубе ниже подошвы насыпи с расчетными параметрами по глубине заложения и температуре трубопровода в соответствии с требованиями норм пересечений железных дорог трубопроводами.
Эксплуатационные наблюдения: осмотры деформирующегося участка насыпи с повышенной частотой, определение положения и размеров деформаций откосных частей с записью результатов в Журнал формы ПУ-28 и ПУ-9.
Рис. П.8.15. Сплывы откосных частей насыпи
над
пересекающей ее теплотрассой:
1 - теплотрасса; 2 - сплыв откоса насыпи
Рис. П.8.16. Оползание рыхлых отложений по
контакту
со скальными породами:
1
- естественный склон до устройства выемки;
2 - контакт рыхлых отложений со скальными породами; 3 - неустойчивый массив;
4 - трещины разрыва рыхлых отложений; 1:mв - крутизна естественного
склона;
1:mп - крутизна откоса полувыемки в скальных породах;
1:mро - крутизна откоса полувыемки в рыхлых отложениях
Опознавательные признаки: взбугривание естественной поверхности склона с образованием продольных трещин в грунтовой толще, расположенной выше бровки откоса и наклоном стволов деревьев в низовую сторону; выходы грунтовых вод в смеси с мелкоземом в понижениях рельефа и отложениями песчано-глинистого материала у основания скального откоса; накопление на закюветной полке продуктов выветривания пород, слагающих косогор.
Причины возникновения: подрезка косогоров при сооружении выемок (полувыемок) без принятия мер по закреплению неустойчивых массивов; неудовлетворительная организация поверхностного стока и отвода грунтовых вод с контакта рыхлых отложений с подстиние или завышенная крутизна откосов в рыхлых толшах.
Неотложные меры: освобождение закюветных полок и водоотводных устройств, загроможденных сплывшими породами; устранение застоев воды в неровностях неустойчивых массивов и обеспечение безопасного их стока; закрепление на косогоре массивов, угрожающих обрушением и заблаговременное обрушение неустойчивых массивов. Работы на неустойчивых крутых косогорах могут производить только специально подготовленные рабочие (верхолазы).
Эксплуатационные наблюдения: все участки на косогорах с подрезкой неустойчивых слоев горных пород должны находиться под надзором дорожного мастера, бригадира пути, а при необходимости мастера по земляному полотну и обходчиков обвальных мест, руководствующихся местной инструкцией, утвержденной начальником дистанции пути.
Осыпи - перемещение под действием силы тяжести дресвяно-щебенистых продуктов выветривания горных пород с поверхности откосов или склонов к их подошве. Материал осыпи - смесь щебеночного материала и мелкозема.
Опознавательные признаки: наличие у основания склона или откоса конуса скопления мелких обломков; появление на откосах трещин, незначительная растительность на поверхности осыпи. При наклоне поверхности осыпного конуса, близком к углу естественного откоса, возможны значительные смещения (осовы) от переувлажнения или динамических воздействий. Массивы горных пород, с которых скатываются скальные обломки, имеют слоистое строение с перемещающимися слабыми и крепкими породами, а нередко с нависающими карнизами.
Причины возникновения: выветривание поверхностных слоев слабых пород, большая крутизна склона или его части, превышающая угол естественного откоса материала осыпи; неудовлетворительное содержание водоотводных устройств.
Неотложные меры: своевременная уборка осыпавшегося материала; недопущение частичной уборки осыпи, приводящей к образованию поверхности с наклонами больше угла естественного откоса; содержание в исправности водоотводных, защитных и укрепительных сооружений; уборка осыпных мае с из пазух подпорных и одевающих стен, с днищ улавливающих полок - траншей; наращивание или устройство вновь улавливающих валов или стен из сухой кладки, предотвращающих загромождение верхнего строения пути. Работы по защите пути от повреждений осыпями должны производиться под руководством опытных бригадиров пути, дорожных мастеров, мастеров (бригадиров) по земляному полотну.
Эксплуатационные наблюдения: надзор за состоянием имеющихся осыпей и защитных сооружений; систематический осмотр скальных откосов или естественных склонов с выявлением зон, из которых могут поступать на путь скальные обломки; регулярный осмотр водоотводных сооружений.
Рис. П.8.17. Осыпи:
1 - откос выемки; 2 - материал осыпи
Вывалы - выпадение отдельных скальных обломков (глыб) из откосов выемок (полувыемок) или с поверхностей склонов при сравнительно устойчивых скальных массивах.
Опознавательные признаки: наличие накопления щебенистых и каменных обломков у основания откоса выемки, обычно предшествующих падению крупных глыб до 0,5-1,0 м3, наличие на откосах нависающих карнизов из крепких пород, подстилаемых слабыми легковыветривающимися породами; появление новых раскрывающихся трещин, отделяющих глыбы от скального массива.
Причины возникновения: недостаточно тщательная зачистка (оборка) откосов выемок при строительстве земляного полотна; интенсивное выветривание слоев слабых скальных пород, вызывающее шелушение их и образование нависающих карнизов; нарушение стабильности отдельных глыб в результате проведения взрывных работ, возникновения землетрясений.
Неотложные меры: устранение загромождений верхнего строения пути, пазух улавливающих сооружений; обследование состояния откоса (склона) и при необходимости профилактическое обрушение неустойчивых глыб, впредь до преднамеренного обрушения неустойчивых массивов, принятие мер по закреплению их на месте с помощью сухой каменной кладки, забивных анкеров и др. Во всех случаях для проведения работ на откосах или крутых склонах необходимо привлекать подготовленных специалистов и принимать меры по обеспечению безопасности движения поездов.
Эксплуатационные наблюдения: регулярный осмотр скальных откосов (склонов) с фиксированием признаков неустойчивости массивов (карнизов, останцев и др.); в сомнительных случаях привлекать для обследования откосов специалистов - верхолазов; обследование с привлечением верхолазов обычно совмещают с работами по закреплению неустойчивых массивов или их профилактическому обрушению. В дистанции пути должны быть заведены паспорта формы ПУ-9 или специальные дела на сомнительные участки.
Рис. П.8.18. Вывалы:
1
- место вывала; 2 - траектория падения камня;
3 - место накопления осыпавшихся и обвалившихся камней
Обвалы - обрушения раздробленных скальных пород с естественных склонов, откосов выемок или полувыемок.
Опознавательные признаки: накопление масс скальных пород у основания откоса или у защитных валов, стен, траншей, иногда с загромождением верхнего строения пути. На скально-обвальных участках - нависшие карнизы, малоустойчивые глыбы скальных пород, угрожающие падением; неблагоприятное по отношению к пути направление напластований (трещин, слоистости).
Причины возникновения: интенсивное выветривание скальных пород, приводящее к дроблению их трещинами, к возникновению ослабленных зон; необоснованное проведение массовых взрывов при строительстве земляного полотна; нарушение местной устойчивости массивов в результате развития осыпей, вывалов отдельных скальных останцев, неправильной организации профилактической зачистки откосов. В массивах сильно раздробленных пород, когда ослабевают связи между блоками, возможно нарушение общей устойчивости откоса или склона, приводящее к катастрофическому обрушению пород, загромождающих верхнее строение пути и всю выемку.
Рис. П.8.19. Обвалы:
1 - траектория падения скальных пород; 2 - отложение скальных пород
Неотложные мери: устранение завалов из обрушившихся пород, восстановление поврежденных конструкций земляного полотна, защитных и укрепительных сооружений, верхнего строения пути; ограничение скоростей движения поездов, вплоть до пропуска их с проводником, впредь до получения заключения специалистов о надежности и безопасности откоса (склона); профилактическое обрушение неустойчивых массивов скальных пород. Все работы на откосах или склонах по обеспечению устойчивости скально-обвальных участков должны производиться под надзором опытных специалистов с привлечением в необходимых случаях верхолазов.
Эксплуатационные наблюдения: регулярные осмотры состояния поверхности откосов (склонов), при необходимости с применением биноклей, с целью выявления новых трещин, подвижек отдельных глыб и нависающих карнизов; контроль за состоянием противообвальных и защитных сооружений (подпорных и одевающих стен, анкерных и защитных устройств заполненностью улавливающих траншей и др.); при выявлении начала подвижек и падения скальных обломков необходимо оценить степень опасности этих явлений и принять необходимые меры предупреждения аварийных ситуаций (вплоть до закрытия движения).
Расползание насыпи - медленное оседание насыпи с изменением первоначальных очертаний как основной площадки, так и откосов.
Рис. П.8.20. Расползание насыпи:
1
- построечный поперечный профиль насыпи;
2 - поперечный профиль насыпи после деформации: 3 - основание насыпи
Опознавательные признаки: неравномерные просадки рельсовых нитей с возникновением перекосов и толчков; искажение очертаний откосов с их выпучиванием и образованием трещин на поверхности; оседание обочин; постепенное оседание верхнего строения пути, более интенсивное в высокой части, у водопропускных труб.
Причины возникновения: сооружение насыпи из переувлажненных глинистых или пылеватых грунтов; отсыпка насыпи в зимнее время с повышенным содержанием мерзлых комьев, попадание в тело насыпи льда, снега; недостаточное уплотнение грунта при строительстве; разжижение плывунных грунтов тела насыпи при воздействии на нее поездной нагрузки; переувлажнение поверхностными водами тела насыпи, сооруженной из пересушенных недоуплотненных грунтов; накопление влаги в балластных ложах, мешках, гнездах.
Неотложные меры: ликвидация застоев воды; выправка пути на балласте, при необходимости - очистка откосов от снега до начала таяния. По проекту проводится комплексное усиление насыпи с обеспечением осушения грунта, отсыпкой контрбанкетов, уположением откосов, уширением основной площадки.
Эксплуатационные наблюдения: определение величин оседания насыпи по просадкам верхнего строения пути; контроль за состоянием и работоспособностью имеющихся сооружений, отводящих грунтовые и поверхностные воды; визуальный контроль за очертанием откосов, а при необходимости проведение инструментальных наблюдений.
Опознавательные признаки: заметное на глаз понижение продольного профиля пути особенно вблизи водопропускной трубы; балластные шлейфы и продольные трещины на откосах насыпи; частые просадки пути; нарушения положения рельсовой колеи по уровню; повышенная вибрация пути при проходе поездов; интенсивный рост балластных лож, мешков, гнезд.
Рис. П.8.21. Оседание насыпи вследствие уплотнения слагающих ее грунтов:
1
- поперечный профиль насыпи до оседания;
2 - очертание насыпи после ее деформации; 3 - основание насыпи
Причины возникновения: использование гумуссированных, засоленных и других подобных грунтов для возведения насыпей; нарушение технологии строительства земляного полотна; недостаточное уплотнение грунтов, укладываемых в насыпи; низкое качество содержания земляного полотна, ухудшающее прочностные свойства грунтов насыпей и состояние пути в целом.
Неотложные меры: исправление пути по уровню и в продольном профиле; обеспечение стока поверхностных вод из углублений на основной площадке; расчистка трещин в грунте откосов насыпи и заполнение их местным грунтом; обнаружение возможного высачивания воды на откосах и предупреждение переувлажнения грунта откоса.
Эксплуатационные наблюдения: усиленный надзор за возможными просадками пути; визуальный осмотр поверхностей откосов насыпи и откосных частей балластной призмы; осмотр мест, где наблюдались трещины в грунте. При наличии в насыпи дренажей, контрбанкетов и других конструкций - осмотр их состояния и обеспечение их работоспособности.
Осадки и расползание насыпей на оттаивающих веяно-мерзлых грунтах - неравномерные осадки насыпи, сопровождающиеся расползанием откосных частей, на мари за счет пластических деформаций (выдавливания) слоя талых глинистых грунтов основания толщиной 10 - 30 см, находящихся в текучем - текучепластичном состоянии под подошвой насыпи при оттаивании сезонно-промерзающего слоя.
Опознавательные признаки: местные понижения продольного профиля с недопустимыми уклонами, особенно на участках примыкания к мостам (трубам), неравномерное оседание обочин, увеличение высоты балластной призмы и недостаточная ширина насыпи поверху для ее размещения; трещины на обочинах и откосах; выпирание разжиженного грунта у подошвы откосов; погружение берм в основание; термокарстовые понижения, заполненные водой, и термокарстовые озера у подошвы откосов, застои воды в канавах.
Причины возникновения: оттаивание грунта на 4 - 6 м от верха насыпи; первоначальная (3 - 4 года) осадка за счет вытаивания ледяных включений в результате оттаивания и последующая длительная (в течение десятилетий) осадка за счет выдавливания из-под подошвы насыпи слоя глинистого грунта, находящегося в текучем - текучепластичном состоянии; пластические деформации песчаных и крупнообломочных с глинистым заполнителем грунтов насыпи под вибродинамическим воздействием поездов.
Неотложные меры: подъемки пути на балласт или выправка на деревянные подкладки (в зимний период) в местах осадок, заполнение термокарстовых понижений, в том числе в канавах, торфом, заторфованным суглинком, древесными отходами (опилки, корье, сучья), тепловая изоляция, охлаждающие устройства и удерживающие от расползания конструкции в соответствии с требованиями Технических указаний по стабилизации деформирующихся насыпей железных дорог, расположенных на протаивающих основаниях на вечномерзлых грунтах, 1993 г. (далее ТУ, 1993 г.).
Эксплуатационные наблюдения: надзор и осмотр в местах осадок, определение повреждений земляного полотна и понижений на мари, инструментальные измерения в соответствии с ТУ, 1993 г. с занесением результатов и формы ПУ-9 с указанием местоположения (км, ПК+) и размеров неисправностей.
Рис. П.8.22. Осадки и расползание насыпи на
оттаивающих
вечномерзлых грунтах:
1
- построечное положение земляного полотна и балластной призмы;
2 - то же после осадки; 3 - то же после исправления пути его подъемкой;
4 - подошва насыпи в построечном состоянии; 5 - то же после осадки;
6 - направление перемещений центральной части насыпи;
7 - то же боковых; 8 - бермы; 9 - верхняя граница вечной мерзлоты;
10 – дренирующий грунт насыпи; 11 - глинистые грунты основания в талом
состоянии;
12 - то же в мерзлом; 13 - понижения, заполненные водой
Опознавательные признаки: смещение рельсовой колеи в направлении передвижения насыпи (вниз по косогору); просадки пути; возникновение продольных трещин в насыпи (по бровкам, на откосах); появление бугров выпирания грунтов у основания откосов с низовой стороны.
Рис. П.8.23. Сдвиг (сползание) насыпи или
ее низовой части
по наклонному основанию:
1
- поперечный профиль сместившейся насыпи; 2 - ось сместившейся насыпи;
3 - построечное положение оси насыпи; 4 - построечный поперечный профиль
насыпи;
5 - уширение насыпи, необходимое для обеспечения устойчивости балластной
призмы;
6 - наклонное основание насыпи
Причины возникновения: неправильная подготовка косогорного основания насыпи во время строительства; неудовлетворительный отвод поверхностных и грунтовых вод от основания насыпи; наличие наклонно расположенных и разжиженных верхних слоев грунта в основании насыпи; наклон минерального дна болота, на которое опирается насыпь.
Неотложные меры: исправление пути по уровню и в профиле; устранение зауженности основной площадки земляного полотна; устранение застоев воды на обочинах, на поверхности балластного слоя; заделка трещин на откосах, обочинах, бермах, в водоотводных сооружениях.
Эксплуатационные наблюдения: определение границ неустойчивого участка; проверка состояния пути по сбитию рихтовки, по уровню, в продольном профиле (наличие просадок); контроль за раскрытием имеющихся трещин и за возникновением новых; надзор за имеющимися поддерживающими сооружениями (контрбанкетами, свайными кустами, подпорными стенами); обеспечение стока воды по канавам, выпускам дренажей, устранение застоев.
Оползни - деформации земляного полотна, расположенного на оползне. Различают случаи расположения насыпей на теле оползня и устройство выемок (полувыемок) на оползневых косогорах.
Опознавательные признаки: частые нарушения состояния рельсовой колеи в плане (нарушение рихтовки) по уровню и в профиле; нарушение целостности канав, кюветов и других водоотводных сооружений со сдавливанием сечений, нарушением продольных уклонов, разрушение креплений и т. п.; нарушение целостности грунтового массива и расположенного на нем земляного полотна трещинами, ориентированными поперек и вдоль направления смещения; образование почти вертикальной стенки отрыва в голове оползня и уступов на смещающемся массиве; наклоны и расщепления деревьев, растущих на оползне.
Причины возникновения: оползни выявляют при инженерно-геологическом обследовании. Как правило, имеет место комплекс причин, связанных с изменением физико-механических свойств грунтов, воздействием поверхностных и грунтовых вод, подрезкой неустойчивых косогоров, речной или морской абразией. К активизации оползней приводит неправильное использование земель и полосе отвода и охранных зонах: вырубка леса и кустарников на косогорах, неправильное ведение санитарных рубок леса, неорганизованное ведение земляных работ, запущенность водоотводных сооружений у земляного полотна и на поверхности оползневого массива.
Рис. П.8.24. Оползни:
1
- бровка срыва; 2 - оползневой массив;
3 - трещины в оползне; 4 - поверхность скольжения оползня
Неотложные меры: для защиты земляного полотна от разрушительного воздействия оползней проводят меры - неотложные при активных деформациях, усиленный текущий ремонт защитных сооружений, капитальное укрепление оползневого косогора. Проведение неотложных мероприятий нацелено на обеспечение безопасности движения поездов посредством выправки пути рихтовкой, устранением просадок, перекосов и др.; восстановление существующих устройств для отвода поверхностных и грунтовых вод, устранение заболоченности и иных застоев воды, заделка трещин на поверхности оползня.
Усиленное текущее содержание с устранением возникающих повреждений земляного полотна и его обустройств требуется как в период активных подвижек оползня, так и при проведении капитальных работ, особенно во время технологических перерывов.
Капитальное укрепление оползневого косогора проводят с помощью специализированных ремонтно-строительных предприятий по проектам, разработанным на основе результатов инженерно-геологических обследований.
Эксплуатационные наблюдения: результаты эксплуатационных наблюдений служат основой для последующих инженерно-геологических обследований и установления причин возникновения и активизации оползня. В состав эксплуатационных наблюдений входит: периодическое нивелирование по рельсовым нитям; измерение горизонтальных смещений оползневого массива и земляного полотна; выявление застойных мест и выходов грунтовых вод.
Опознавательные признаки: нарушение рельсовой колеи в плане из-за смещений насыпи в направлении движения глыбового развала или курума вниз по склону, просадки пути. Развал состоит из глыб (с острыми углами и ребрами) прочных пород, лежащих рыхло. В голове развала выше по склону могут присутствовать разрушающиеся скальные утесы, Курумы нередко окаймляют глыбовые развалы, но существуют и отдельно, сложены глыбами с примесью щебня, лежащими относительно плотно; ребра и углы глыб затуплены, грани, как правило, покрыты лишайниками; под глыбами залегает слой щебня с дресвой, песком или супесью, иногда с линзами суглинка.
Рис. П.8.25. Смешение насыпи, расположенной на куруме:
1
- курум; 2 - первоначальное положение оси насыпи;
3 - ось насыпи после смещения
Причины возникновения: большая крутизна склона; неплотное залегание скальных обломков; смачивание контакта тела курума с подстилающими породами, способствующее движению курума, служащего основанием насыпи.
Неотложные меры: повышение устойчивости склона поддерживающими сооружениями, отводом воды, переносом трассы на новое устойчивое полотно; уширение расположенной на куруме насыпи с верховой стороны (по расчету обычно на 1 - 2 м), позволяющее выправлять путь в плане и вертикальной плоскости по мере смещения насыпи.
Эксплуатационные наблюдения: наблюдения за состоянием земляного полотна; своевременная выправка пути в плане и в профиле; тщательное наблюдение за содержанием водоотводных сооружений; при необходимости, ограничение скорости движения поездов для обеспечения безопасности движения.
Опознавательные признаки: отложение мелкопесчаных и пылеватых частиц вблизи выходов грунтовых вод на поверхность; мочажины у основания откоса со своеобразной влаголюбивой растительностью - кустарниками, крупностебельными травами; топкие поверхностные заболоченности с железистыми и солеобразующими налетами на относительно сухих возвышениях (в том числе кочках); концентрические трещины в откосных частях земляного полотна, у водоотводных канав с откосными и циркообразными оплывинами. При запущенном состоянии земляного полотна возникает заболоченность территории.
Рис. П.8.26. Суффозионное разрушение
откосных частей земляного полотна
Причины возникновения: наличие водоносного слоя вблизи поверхности земли, где были разработаны откосы выемок или сооружены насыпи с плохо организованным сбором и отведением изливающихся на поверхность грунтовых вод (ключей, родников, трещинных вод); усиление выноса потоком изливающихся грунтовых вод, мелких частиц грунта вследствие изменения режима подземных потоков при проведении строительных или других земляных работ вблизи земляного полотна,
Неотложные меры: перехват и отвод грунтовых вод с помощью дренажей, каптажных устройств, поверхностных канав: в случаях рассеянных выходов воды на поверхность - устройство присыпного дренажа, выполненного по принципу обратного фильтра, или отсыпка пригрузочной бермы из песчано-гравийного материала, мелкого щебня, каменных материалов; недопущение устройства прудов, отстойников воды в зонах их влияния на земляное полотно.
Эксплуатационные наблюдения: обнаружение и учет всех мест выхода грунтовых вод в зоне возможного их влияния на состояние земляного полотна; своевременное исправление повреждений водоотводящих устройств для обеспечения беспрепятственного стока; выявление сезонов года с наиболее интенсивными проявлениями отрицательных последствий для земляного полотна (застои воды, размывы, наледи).
Опознавательные признаки: просадки и сдвижки пути; зауженный верх земляного полотна, неровные обочины с продольными косыми трещинами; разрывы крепления откосов с их выпучиванием; балластные шлейфы на откосах; продольные валы выпирания у основания откосов; искривления продольных канав; выпучивание дна канав и застои воды в них; наклоны опор контактной сети; проседание и отрывы оголовков водопропускных труб и выпусков дренажей.
Рис. П.8.27. Оседание насыпи вследствие
выпирания грунтов основания:
1
- построечный поперечный профиль насыпи; 2 - фактическое очертание насыпи;
3, 4 - основание насыпи до и после оседания; 5 - бугры выпирания основания
Причины возникновения: залегание в основании насыпей слабых грунтов (переувлажненных глин и суглинков, илов, заторфованных покровных грунтов); сооружение насыпи на торфах неустойчивой консистенции, выдавливающихся под нагрузкой; сооружение насыпи под вторые (дополнительные) пути без достаточной подготовки основания; устройство котлованов, траншей вблизи основания откосов.
Неотложные меры: устранение неисправностей верхнего строения пути; обеспечение отвода воды с устранением застоев ее в канавах и понижениях рельефа; восстановление повреждений крепления откосов, заделка трещин, планировка поверхностей откосов; недопущение выполнения несанкционированных земляных работ вблизи земляного полотна.
Эксплуатационные наблюдения: определение границ неустойчивого участка; осмотр состояния поверхности откосов, обочин земляного полотна после весеннего оттаивания грунта, при выпадении обильных атмосферных осадков; определение стабильности имеющихся укрепительных и защитных сооружений и обустройств.
Опознавательные признаки: частые просадки пути, толчки, перекосы, сбитое направление пути; зауженное земляное полотно, толстые "шапки" балласта, шлейфы на откосах; трещины на откосах насыпей; понижения поверхности земли у основания откосов, иногда заполненные водой; оседания звеньев и трещины водопропускных труб.
Причины возникновения: медленное уплотнение слабых переувлажненных глинистых грунтов, илов, торфа, оседание слабого основания, вызванное осушением территории; оседание льдонасыщенных мерзлых грунтов в процессе длительного протаивания; прогрессирующее уплотнение рыхлых грунтов в зонах влияния оросительных систем, вследствие утечек воды из сетей водоснабжения, канализации и др.
Рис. П.8.28. Оседание насыпи вследствие
уплотнения грунтов основания:
1
- поперечный профиль насыпи до оседания; 2 - очертание насыпи после ее
деформации;
3 - основание насыпи до оседания; 4 - деформированное основание насыпи
Неотложные меры: устранение отступлений по состоянию верхнего строения пути, по ширине обочин; расчистка и затрамбовывание трещин на обочинах, в откосах; устранение застоев воды вблизи насыпей, в продольных канавах у подводящих и отводящих русел у водопропускных сооружений; устранение повреждений откосов земляного полотна, креплений водоотводов, расчистка выпусков дренажей, лотков, канав.
Эксплуатационные наблюдения: определение протяженности участка деформаций, контроль за состоянием пути и имеющимися укрепительными сооружениями; обеспечение водоотвода от основания земляного полотна.
Опознавательные признаки: искривление кюветов или других водоотводных сооружений в плане и профиле; застои воды; искажение очертаний откосов с отколами крупных массивов, возникновением циркообразных трещин; частые нарушения в состоянии верхнего строения пути по уровню, в плане и профиле с поднятием рельсовых нитей.
Рис. П.8.29. Выпирание грунтов в выемке:
1
- построечное положение пути; 2 - положение пути после выпирания грунтов основной
площадки и оседания откосов выемки; 3 - слой слабого грунта; 4 - прочный грунт
Причины возникновения: наличие на уровне основной площадки и ниже ее слабых глинистых грунтов, выдавливающихся под тяжестью масс грунта высоких откосов выемок с образованием зоны неравномерного поднятия грунтов в подбалластном основании. Свойства интенсивной усадки и набухания грунтов в условиях периодического обводнения усиливают пластические деформации.
Неотложные меры: поддержание работоспособности водоотводов, дренажей, каптажных устройств и других водосбросов; заделка трещин местным грунтом; эффективное уплотнение или террасирование откосов.
Эксплуатационные наблюдения: надзор за состоянием обочин земляного полотна, за очертаниями откосов выемки, наличием уклонов в водоотводах.
Опознавательные признаки: провалы насыпей обычно протекают скоротечно (в течение нескольких часов) вначале в форме медленного неравномерного оседания, а затем внезапно образуются прорывы по основанию насыпи с выпорами на расстоянии 5 - 15 м от земляного полотна и быстрым опусканием частей тела насыпи в прорывы покровной толщи болота. На стадиях, предшествующих скоротечному провалу, образуются изолированные, вытянутые вдоль насыпи понижения поверхности болота, заполненные водой; на поверхности болота вдоль основания откоса и за понижениями (в сторону поля) заметны поднятия с продольными разрывами сплавины. Состояние пути на участках возможных провалов резко ухудшается; продольные канавы и торфо-приемники деформируются с искажениями продольного профиля дна канав и смешением их откосов.
Рис. П.8.30. Провалы насыпей на торфяных
болотах (илистых отложениях):
1
- торфяная корка; 2 - илы; 3 - плотные грунты; 4 - провал с разрывом торфяной
корки;
5, 6 - путь соответственно до и после провала
Причины возникновения: залегание в основании насыпей неразложившихся торфяных толщ, деформирующихся, в основном, с выдавливанием болотных отложений из-под насыпей; для низменных территорий, - с преобладанием озерных лагунных отложений, для побережий пресных водоемов характерно залегание неуплотненных илов с мощностью толщ 5 - 10 м, на которых находится относительно прочная корка 1,5 - 2,5 м. Прорывы таких корок и разжижение илов может приводить к внезапным деформациям насыпей. Увеличение поездных нагрузок и вибраций от подвижного состава увеличивают вероятность провалов.
Неотложные меры: при проявлении неспокойного хода поездов, возникновении валов, выпирания и местных понижений на поверхности болота - своевременное устранение неисправности верхнего строения пути, усиленный надзор за его состоянием, а при интенсивном нарастании отступлений по уровню и в продольном профиле - ограничение скоростей движения поездов.
Эксплуатационные наблюдения: надзор за состоянием земляного полотна и его обустройствами на прилегающей территории; определение сомнительных мест, на которых часто возникают неисправности пути, наблюдается неспокойный ход поездов; организация инженерно-геологического обследования.
Опознавательные признаки: на земной поверхности появляются провалы, местные оседания с образованием трещин на поверхности, а иногда обширные оседания на площади в несколько сотен квадратных метров или даже гектаров; неисправности верхнего строения пути в форме зависания рельсошпальной решетки, возникновения просадок, отступлений в плане и профиле, нарушения очертаний балластной призмы; нарушение уклонов канав, кюветов, очертания откосов, берм; в периоды выпадения атмосферных осадков - застои воды или ее утечка сквозь трещины. На закарстованной территории вдоль дороги имеются воронки от свежих или прошлых провалов. Карст распространен на Горьковской, Куйбышевской, Свердловской, Восточно-Сибирской. Московской, Юго-Восточной железных дорогах.
Причины возникновения: образование специфических подземных и поверхностных форм рельефа (пещеры, полости, естественные колодцы, воронки) вследствие растворения природными водами горных пород (гипс, известняки, доломиты, каменная соль). Скорость растворения горных пород различна в зависимости от их состава и колеблется от тысячных долей миллиметра в год до больших скоростей, когда карстовые полости опасных размеров могут развиться в течение нескольких десятков лет.
Рис. П.8.31. Провалы земляного полотна
на закарстовых территориях:
1,
2 - положения пути соответственно после провала и восстановления;
3 - грунты сползшей части насыпи; 4 - карстовая воронка;
5, 6 - соответственно карстовая полость и ее кровля после обрушения
Карст проявляется в виде следующих деформаций земной поверхности: провалы вследствие обрушения толщи грунтов над единичными полостями, вызывающие образование карстовых воронок; локальные оседания пород, расположенных над группой полостей, приводящие к образованию пониженных форм рельефа (блюдец) с размерами в поперечном сечении до 1 - 2 км; оседание обширных территорий (более 1 - 2 км), вызываемое прогибами грунтовых толщ над системами карстовых пещер, полостей, коридоров и т. п. пустот, являющихся следствием как интенсивного растворения карстующихся пород, так и суффозионным выносом частиц песчаных грунтов в карстовые полости.
Неотложные меры: неотложные меры принимаются в соответствии с Инструкцией по текущему содержанию железнодорожного пути в карстоопасных районах.
Эксплуатационные наблюдения: карстоопасные участки должны быть ограждены постоянными сигнальными знаками "Начало карстоопасного участка" и "Конец карстоопасного участка", устанавливаемыми в 500 м от границ опасных мест с обнаруженными карстовыми деформациями (края воронки, мульды оседания интенсивных осадок). В соответствии с Инструкцией по текущему содержанию железнодорожного пути в карстоопасных районах, закарстовакные территории делятся на б категорий по интенсивности провалообразования и на 4 категории по диаметрам провалов. К карстоопасным следует относить также участки с оседаниями пути более 10 мм/год, определяемыми по результатам нивелирования. На карстоопасных участках устанавливается тщательный надзор за верхним строением пути, междупутьями, откосами земляного полотна, водоотводными сооружениями, опорами постов и путевпроводов, водопропускными трубами, за полосой отвода и имеющимися на участке противокарстовыми защитами.
На карстоопасных участках должны осуществляться путевые обходы в соответствии с местной инструкцией. Результаты осмотров и проверок пути, объемы необходимых работ по ликвидации обнаруженных неровностей или своевременному их предупреждению заносятся в Книгу записи результатов проверок пути, сооружений и путевых устройств формы ПУ-28. В Паспорте карстоопасного участка дополнительно ведется учет выполненных подъемок и рихтовок пути.
Опознавательные признаки: просадки пути на коротких (до 5 - 8 шпал) участках вследствие оседания грунта земляного полотна; повреждение креплений и очертаний откосов или дна водоотводов (кюветов, канав и др.) в зоне влияния траншеи, пройденной открытым способом; неравномерное пучение грунтов над трубопроводом и на соседних участках пути.
Рис. П.8.32. Осадки основной площадки
земляного полотна
над трубопроводными пересечениями:
1
- первоначальный уровень головок рельсов; 2 - уровень головок рельсов после
оседания пути;
3 - первоначальное положение основной площадки; 4 - то же после уплотнения
грунта;
5 - граница разнородных грунтов; 6 - защитный кожух трубопровода; 7 -
трубопровод
Причины возникновения: прокладка трубопроводов с открытой разработкой траншей и обратным заполнением их грунтом, неоднородным с грунтом земляного полотна без достаточного уплотнения; нарушение естественного теплового режима пучинистых грунтов в зоне влияния источника тепла.
Неотложные меры: устранение неисправностей верхнего строения пути (просадок, неравномерного пучения и других дефектов); отведение воды от неустойчивого участка; устранение неисправностей в системе отвода тепла от трубопроводного пересечения.
Эксплуатационные наблюдения: определение границ участка с длительным протеканием осадок верхнего строения пути; измерение величин просадок за сезон года (летний, весенний, осенний) и запись результатов в Книге проверок пути и сооружений; при длительных оседаниях с величиной более 10 мм в год - нивелирование просадочного места и прилегающих участков по 50 м.
Опознавательные признаки: наличие засорителей на поверхности балластной призмы; загромождение кюветов (канав) бытовым мусором; выплески сквозь балластный слой; нарушение состояния пути по уровню и в профиле.
Причины возникновения: несанкционированный сброс засорителей на путь с платформ, переходов, пешеходных мостов, грузовых сооружений; неудовлетворительное содержание верхнего строения пути и водоотводных сооружений; ошибки в проектировании и выполнении работ по строительству опор, платформ, площадок и т. п.
Неотложные меры: отведение воды от балластной призмы, земляного полотна, из поврежденных водоотводов; восстановление ранее имевшейся системы сбора и отвода воды; устранение отступлений в состоянии пути.
Эксплуатационные наблюдения: надзор за имеющимися постоянными и временными водоотводами; устранение застоев воды на поверхности балластной призмы, обочинах в водоотводах.
Рис. П.8.33. Нарушение отвода поверхностных
вод
у пассажирских платформ и погрузочно-выгрузочных площадок:
1
- первоначальное очертание основной площадки; 2 - то же кювета;
3 - подземная часть сооружения; 4 - бессточная канава;
5 - наслоения загрязнителей; 6 - платформа
Опознавательные признаки: проседание поверхности обочин над кабелями, идущими вдоль пути; застои воды в продольных углублениях на обочинах; навалы грунта, изъятого из кабельной траншеи и неиспользованного для обратной засыпки вдоль бровки земляного полотна в местах обхода препятствий, поперечных пересечений земляного полотна, при стыковках кабелей; продольные трещины в балластной призме, прибровочных частях на откосах и обочинах; местное оголение кабелей или слабая их присыпка с поверхности; повреждение наземных устройств кабельной линии.
Причины возникновения: ошибки при разработке проектов укладки кабелей; низкое качество производства работ, в частности обратная засыпка без нормируемого уплотнения; нарушение креплений откосов, а также поверхности обочин и оставление траншеи без восстановления имевшегося крепления; неудовлетворительное содержание кабельных линий и несвоевременное устранение мелких промоин, осыпаний грунта.
Неотложные меры: безотлагательное извещение линейного механика дистанции связи об обнаруженных повреждениях; совместное с линейными работниками связи (далее ЩЧ) устранение местных повреждений земляного полотна и уложенных кабелей (промоин, трещин, оголения кабелей); при необходимости - разработка плановых мероприятий для сохранности земляного полотна и кабельных линий.
Эксплуатационные наблюдения: проверка сохранности наземных знаков и устройств кабельных линий с информацией ответственных работников ЩЧ о замеченных повреждениях; контроль сохранности откосов и обочин (крепления поверхности, наличие размывов) в местах прокладки кабелей, при работах с балластным слоем, грунтами земляного полотна, защитными и укрепительными устройствами.
Рис. П.8.34. Повреждения приоткосных частей
земляного полотна
в местах прокладки электрических кабелей (связь, СЦБ, энергоснабжение и др.):
1
- трещина в балластной призме и основной площадке земляного полотна:
2 - навалы грунта, изъятого из кабельной траншеи:
3 - поверхность возможного сплыва откоса
Опознавательные признаки: непрерывное прогрессирующее искажение очертаний насыпей и выемок вследствие неравномерного оседания территории в местах ведения шахтной добычи полезных ископаемых; в зависимости от глубины расположения полезного ископаемого, видов и состояния пород над вырабатываемым пространством, от взаимного расположения железнодорожной линии и фронта подземных выработок; оседания земляного полотна могут быть неравномерными вдоль пути и приводить к искажению продольного профиля; просадки различных величин с неодинаковыми скоростями протекания вызывают односторонние или двусторонние оседания рельсовой колеи по уровню; в периоды активных сдвижений горных пород возникают нарушения балластной призмы с образованием толчков, отрясенных шпал, перекосов; трещины на поверхности земли, откосах земляного полотна, на балластной призме, нарушающие работу водоотводных сооружений и разрушающие укрепительные и защитные сооружения.
Причины возникновения: пустоты, образуемые при выемке полезного ископаемого (угля, руды), вызывают смещение горных пород и расположенных на них сооружений. В толще горных пород нарушается имевшееся равновесие, что приводит к сдвижению горных пород, начинающемуся со слоев, прилегающих к разрабатываемому пласту, с последующим развитием сдвижения до земной поверхности; на земной поверхности образуется мульда оседания. Деформации могут приводить к провалам или аварийным оседаниям земляного полотна, требующим непрерывного надзора и исправления пути. В особо опасных случаях может потребоваться закрытие движения или перекладка пути на новую трассу.
Закладка выработанного пространства, параллельная с добычей полезного ископаемого уменьшает степень неблагоприятного влияния шахтных подработок на земляное полотно.
Неотложные меры: надзор за состоянием пути и исправление возникающих отступлений вплоть до установления непрерывного наблюдения и дежурства ремонтной бригады; принятие мер для уменьшения интенсивности подработки территории и закладки выработанного пространства; при активизации деформации пути - ограничение скоростей движения поездов, а при необходимости - пропуск их с проводником или полное прекращение движения.
Эксплуатационные наблюдения: за участком развития оседания железнодорожного пути устанавливают усиленный надзор с проведением инструментальных наблюдений (нивелировки, наблюдения по створам вешек, согласно местной инструкции). При необходимости следует ввести путевой обход.
Рис. П.8.35. Оседание земляного полотна над
шахтными подработками:
1
- дневная поверхность; 2 - провальная воронка; 3 - наносные породы;
4 - коренные породы; 5 - полезные ископаемые;
6 - выработанное пространство, заполненное просевшими породами
Опознавательные признаки: частые нарушения состояния верхнего строения пути в виде отрясенных шпал, предмостовых просадок рельсовых нитей, ослабление затяжки болтов в скреплениях; зауженность основной площадки земляного полотна, наличие балластных шлейфов с крутыми откосами в верхней части, нарушение ровности поверхности откосов, креплений конусов с ухудшением стока поверхностных вод, загромождение сечений малых мостов и труб, подводящих и отводящих русл.
Причины возникновения: недостаточное уплотнение грунта насыпи при строительстве или восстановлении; ошибочно заниженная величина запаса на осадку, компенсирующего оседания слабого основания подходной насыпи; неправильные способы уширения насыпи в процессе длительной эксплуатации дороги, обусловленные доведением ширины земляного полотна до новых нормативов, изменением размеров междупутий, применением более мощных конструкций верхнего строения пути.
Неотложные меры: безотлагательное исправление нсрхнего строения пути, устройство временных подпорных стенок из старых шпал, конструкций и т. п. для сохранения материалов балластной призмы, рассчитанных на срок службы, достаточный для капитального усиления насыпи. Обеспечение отведения воды от основания насыпи, своевременный ремонт имеющихся сооружений для сбора и организованного отвода поверхностных или грунтовых вод. Забивка местным грунтом трещин на обочинах, откосах, разделительных бермах.
Эксплуатационные наблюдения: определение границ участка, на котором происходят более частые нарушения состояния пути, учет объемов работ по выправкам пути; нивелирование пути по головкам рельсов и обочинам земляного полотна 2 раза в год.
Рис. П.8.36. Длительное оседание насыпей на
подходах
к мостам и водопропускным трубам:
1
- балластный шлейф; 2 - построечное очертание откоса насыпи;
3 - эксплуатационное очертание откоса насыпи; 4 - устой моста;
5 - шкафная стенка; 6 - пролетное строение; Нп, Нэ - построечный и
эксплуатационный уровни основной площадки соответственно;
Вп, Вэ - построечная и эксплуатационная ширина основной площадки соответственно
Опознавательные признаки: постепенное накопление сыпучего песка на поверхности балластного слоя, обочинах, откосах; просыпание песка в поры щебеночного балласта, вызывающее "сухие выплески" и снижение несущей способности пути; отложение песчаных гребней вдоль рельсов; в местах высоких гребней — накопление молотого песка, цементирующегося после увлажнения; отложение слоев песка в виде кос на верхнем строении пути и откосах земляного полотна, иногда выше головок рельсов.
Причины возникновения: наличие незакрепленных (переносимых ветром) мелкозернистых песков на территориях, прилегающих к земляному полотну; повреждения заросшей поверхности проходами автомобилей, сельскохозяйственных или иных машин, выпас скота на закрепленных песках; некомплексное ведение строительных земляных работ на трубопроводах, автодорогах; повреждение существующих пескозащитных насаждений или малая эффективность новых посадок; несвоевременный ремонт пескозащитных устройств.
Неотложные меры: расчистка пути от песчаных отложений; при необходимости - выправка пути по уровню; восстановление пескозащитных устройств; устранение нарушений пескозакрепительных устройств; ремонт посадок; покрытие развеваемых очагов щебнем, глиной и т. п.
Эксплуатационные наблюдения: надзор за состоянием пескозащитных и пескозакрепительных устройств на откосах земляного полотна, обочинах, в полосе отвода; тщательный осмотр мест с незакрепленной поверхностью в полосе отвода, на прилегающих барханах, притрассовых дорогах после периодов песчаных бурь, бураков, при наступлении весны, а также после схода снежного покрова; выявление участков, где необходимо пронести ремонт защитных устройств и закрепления естественных закрепителей.
Рис. П.8.37. Песчаные заносы:
а - насыпи; б - выемки; 1 - песчаные отложения; 2 - путь
Опознавательные признаки: земляное полотно построено из мелкозернистых пылеватых песков; растительность на откосах отсутствует или развита слабо; аридный климат района прохождения дороги; выполаживание (скругление) выпуклых переломов поверхностей земляного полотна и заполнение песком вогнутых переломов; унос песка с обочин земляного полотна с искажением линий бровок и местными сужениями обочин; неровные очертания откосов земляного полотна с чередованием впадин и выпуклостей.
Причины возникновения: нарушение работоспособности укрепительных устройств ремонтными и транспортными машинами; несвоевременный ремонт защитных устройств; повреждение их выгружаемыми материалами; некомплексное ведение строительных работ вблизи земляного полотна с разрывами по времени выполнения основных и отделочных работ.
Неотложные меры: восстановление поврежденных защитных и укрепительных устройств (явных или неявных защит, защитных покрытий из щебня или глинистого грунта, сплошных или ленточных, в том числе "в клетку", устилочных защит); укрепление откосов земляного полотна вслед за окончанием земляных работ; восстановление и усиление нарушенных кустарниковых и травяных защитных полос.
Эксплуатационные наблюдения: обследование состояния земляного полотна в периоды шквальных ветров и после их окончания с выявлением всех мест, где произошли повреждения земляного полотна; определение объемов унесенного ветром песка с целью подвоза необходимого количества восстановительных материалов, машин, механизмов; выявление потенциально опасных мест, где возможны повреждения при последующих буранах.
Рис. П.8.38. Развевание песчаных откосов
(бровок)
в пустынях и полупустынях:
а
- выемки; б - насыпи; 1, 2 - построечный и поврежденный откосы;
3 - отложения песков
Опознавательные признаки: быстрое течение воды на участках временного или постоянного подтопления; наличие в водном потоке поваленных деревьев, пней, бревен, посторонних предметов; прохождение ледохода на высоких горизонтах подтопления с ударами льдинами, ледяными полями в откосы насыпей или по конструкциям регуляционных и защитных сооружений; появление трещин в швах и конструкциях креплений в откосах земляного полотна; взбугривание укрепленной поверхности откосов; в аварийных случаях - изломы плит крепления и местные размывы грунта под плитами.
Причины возникновения: недостаточные меры защиты от повреждений земляного полотна текущей водой, влекомыми предметами (например, бревнами) на горизонтах подтопления; плохое текущее содержание земляного полотна и его обустройств при несвоевременном устранении повреждений; резкое непредсказуемое изменение режима водотока (например, быстрое снеготаяние, катастрофические ливни, возникновение заторов и т. п.), приводящее к росту скоростей течения, уровней подтопления и увеличению площади поверхности отдельных плесов больше расчетных значений.
Неотложные меры: безотлагательное устранение возникающих повреждений земляного полотна и его обустройств; предотвращение увеличения размеров повреждений закладкой промоин и переливов подручными материалами (досками, мешками с песком, бетонными блоками, камнем); укрепление защитных конструкций с целью предотвращения их обрушения и размыва грунта земляного полотна; устранение ледяных заторов, угрожающих целостности укрепительных и защитных устройств или поднятием уровня подтопления.
Для участков, где подмывы появляются относительно часто, разрабатывают местные инструкции по предотвращению подмывов берегов и повреждений железнодорожного пути, утверждаемые начальником дистанции пути, а также планы водоборьбы, утверждаемые в установленном порядке.
Эксплуатационные наблюдения: учет всех участков пути, на которых возможны подмывы берегов и повреждения земляного полотна; для объектов, где подмывы уже наблюдались, заводятся паспорта формы ПУ-9; комиссионное обследование состояния земляного полотна и его обустройств после пропуска каждого весеннего или ливневого паводка с выявлением мест, характера повреждений и необходимых мер по устранению повреждений; в период пропуска высоких вод - надзор за опасными участками вплоть до организации постов наблюдений; определение наличия и сохранности запасов материалов, необходимых для защиты от подмыва.
Рис. П.8.39. Размывы подтопляемых откосов
земляного полотна:
1 - построечный откос насыпи; 2 - место размыва; 3 - основание насыпи
Опознавательные признаки: местные разрушения откосов и дна продольных канав, кюветов, отводных русел от дренажей, в местах соединения (слияния) канав, выпусков воды из канав на поверхность земли с образованием промоин, русел, накоплений размытого грунта, деталей креплений дна, откосов, перепадов, гасителей энергии водного потока.
Причины возникновения: чрезмерно большая скорость потока; низкая сопротивляемость грунтов размыву; слабые конструкции креплений дна, откосов, перепадов, быстротоков, выходов из канав; низкое качество подготовки поверхности земли для монтирования сборных креплений; неудовлетворительная заделка швов; неправильное расположение перепадов, быстротоков, выходов канав и их поворотов, недостаточное их укрепление; неудовлетворительное текущее содержание и несвоевременное устранение повреждений.
Неотложные меры: безотлагательная заделка повреждений креплений; устранение начинающихся размывов местными материалами и средствами водоборьбы (камнем, мешками с песком); осмотр сооружений после прохода весенних и летних (ливневых) паводков и устранение всех повреждений.
Эксплуатационные наблюдения: учет всех водоотводящих сооружений; осмотр их состояния после пропуска весеннего паводка и схода снежного покрова; описание возникающих неисправностей (наличие трещин, ширина их раскрытия); установка маяков на крупных бетонных сооружениях; определение наиболее высоких отметок, до которых поднимался уровень воды при паводках.
Рис. П.8.40. Размывы открытых водоотводов (канав, кюветов и др.):
1 - построечный поперечный профиль канавы; 2 - очертание размываемой канавы
Опознавательные признаки: прекращение стока воды и ее застои в водоотводах.
Причины возникновения: понижения вследствие оттаивания вечной мерзлоты под слоем воды или минерального грунта, отсыпанного при повторной нарезке водоотводных канав на мари; заплывание за счет суффозии (выноса мелких частиц грунта водой) и эрозии (размыва) откосных частей.
Неотложные меры: заполнение понижений водоотводов торфом, заторфованным суглинком или древесными отходами и уборка грунта с заплывших мест до необходимого уровня; укладка полос нетканого материала для предотвращения суффозии и эрозии по откосам и дну водоотводов с пришпиливанием их к грунту.
Эксплуатационные наблюдения: определение местоположения понижений и заплывания водоотводов (км, ПК,+) при осмотрах и выполнение инструментальной съемки с целью их восстановления.
Рис. П.8.41. Понижения и заплывания
водоотводов земляного
полотна на вечномерзлых грунтах:
1 - заплывший грунт, 2 - вода
Опознавательные признаки: отложение глинистых и субпесчаных грунтов на дне кюветов и канав, в первую очередь в местах уменьшения их продольных уклонов; уменьшение глубины водоотводов с уширением их дна; зарастание канав кустарником, крупностебельными травами, кочкарником.
В случаях значительного уменьшения сечения канав возможно их переполнение и изливание воды на защищаемую территорию и конструкции пути.
Причины возникновения: малые скорости течения воды из-за недостаточных продольных уклонов; интенсивный размыв грунтов на откосах земляного полотна и прилегающих территориях; неправильно запроектирован продольный профиль канавы (с постепенным уменьшением уклонов к ее концу).
Неотложные меры: повышение скорости течения воды за счет увеличения продольного уклона; защита от размыва прилегающих откосов земляного полотна, закюветных полок или берм; уменьшение размывов до прилегающих территориях, с которых сток идет в канавы (изменение направления потоков, защита травосеянием).
Эксплуатационные наблюдения: учет всех кюветов и водоотводных канав с указанием мест, где возможны Заиливание, переполнение и переливы воды из водоотводных сооружений; проверка наличия материалов, необходимых для защиты от размыва земляного полотна и его обустройств; составление календарных графиков устранения неисправностей канав и контроль за его исполнением.
Рис. П.8.42. Заиливание кюветов и канав:
1 - отложения засорителей; 2 - очертание кювета до заиливания
Опознавательные признаки: образование ниш на уровне горизонта воды с нависанием грунтовых массивов; большая крутизна берегового склона; наличие обрушенных крупных массивов грунта, валунов, поваленных стволов деревьев в зоне прибоя; продольные трещины в береговом массиве, по которым происходит отслоение и обрушения подмытых массивов; искажение первоначальных форм и состояния конструкций крепления берегов, Подпорных стен, волноломов, ряжевых и габионных стенок, скальных отсыпок (горной массы).
Причины возникновения: ширина естественного пляжа недостаточна для гашения энергии волн и предотвращения размыва (абразии); различают случаи размывов при постоянном уровне воды в водоеме и при переменных уровнях; имеющиеся крепления берега или волногасящие сооружения недостаточны для защиты от расчетного режима волнения; повреждения или разрушения защитных сооружений.
Неотложные меры: защита берегов от размыва с помощью скальных пород; восстановление разрушенных креплений; усиленный надзор за состоянием пути, земляного полотна и его обустройств; устранение неисправностей пути; при угрозе безопасности и бесперебойности движения поездов - ограничение скоростей или закрытие движения.
Эксплуатационные наблюдения: учет участков пути, находящихся в угрожаемой зоне; обследование опасных мест после штормов, освобождения водоема от зимнего ледостава с фиксированием замеченных изменений; выявление участков, на которых появляются признаки подмыва или сомнительных по устойчивости мест земляного полотна.
Рис. П.8.43. Подмыв берега моря (озера,
водохранилища),
угрожающий целостности земляного полотна:
1
- уровень воды в водоеме; 2 - пляжные отложения:
3 - ниша подмыва берегового склока; 4 - продольная трещина закола
Опознавательные признаки: размыв берега у основания откоса земляного полотна с отложениями наносов в излучинах и подмывами нижних частей откосов; загромождение русла карчами, валунами, мелким камнем и песком с образованием местных подпоров воды и поднятием ее до верха земляного полотна; при обильных атмосферных осадках, таянии ледников вероятно полное затопление пути с размывами балластного слоя, повреждениями и разрушениями регуляционных сооружений, опор мостов, водопропускных труб; при катастрофических паводках возникает угроза безопасности движения поездов.
Причины возникновения: несвоевременное устранение повреждений и дефектов в конструкциях защитных и укрепительных устройств и сооружений; неудовлетворительное содержание регуляционных, струенаправляющих сооружений и их креплений; недостаточная сопротивляемость грунтов и защитных конструкций волновым, ледовым воздействиям и течению воды; изменение режима водотока (водоема), связанное со спрямлением русел, устройством плотин.
Неотложные меры: выполнение защитных работ в соответствии с планами водоборьбы, местными инструкциями, указаниями оперативного штаба, создаваемого на опасный период начальником дистанции пути, а при необходимости, начальником отделения или начальником дороги; наращивание имеющихся регуляционных сооружений или возведение их вновь на участках угрозы размыва (отсыпка горной массы, обвалование и другие мероприятия); устранение местных завалов русла, создающих подпор воды; надзор за состоянием участка пути и устранение возникающих неисправностей.
Эксплуатационные наблюдения: учет мест, где возможны подмыв и повреждение земляного полотна; надзор за исправным состоянием земляного полотна и его обустройств с устранением обнаруженных повреждений собственными силами бригады или с привлечением дополнительных средств; обследование опасного участка при проверке пути, комиссионных осмотрах, после пропуска весенних паводков и после ливневых осадков; в опасные периоды могут назначаться путевые обходы или посты наблюдений.
Рис. П.8.44. Подмыв основания земляного
полотна водными потоками:
1
- место подмыва; 2 - насыпь;
3 - основание насыпи; 4 - подмытый откос
Опознавательные признаки: одиночные или разветвленные, вытянутые вдоль промоины с крутыми бортами (откосами) и интенсивно размываемым дном; крутые борта обнажены и на них не успевает приживаться травяная или кустарниковая растительность; поверхности бортов покрыты трещинами, создающими системы столбчатых отдельностей (характерно для вершин оврагов); профиль дна оврага, крутой у вершины, постепенно выполаживается к его устью, где овраг имеет широкое, распластанное дно и более пологие борта, иногда покрытые травой и кустарниками. В периоды снеготаяния и выпадения ливней размывается дно оврага и обрушаются откосы, что сопровождается возникновением подпруженных застоев воды.
Причины возникновения: неблагоприятное сочетание легко размываемых грунтов, всхолмленного рельефа местности, бурных паводков и сезонных ливней, вызывающее появление поверхностных размывов, перерастающих в крупные овраги. Недостаточное укрепление дна и откосов канав, кюветов, выпусков дренажей вызывает местные повреждения, при несвоевременном ремонте может вызвать рост оврага в непосредственной близости к земляному полотну. Неправильная распашка земель, вырубка леса, способствующие образованию мелких русел, объединяющихся в крупные русла при плохом содержании канав или обвалований, ограждающих овраг, ведут к возникновению или дальнейшему росту отвершков (притоков), превращающих одинокие овраги в разветвленные овражные системы.
Неотложные меры: незамедлительное устранение повреждений водоотводящих систем; при активизации размыва грунта - отвод воды в безопасные места; уменьшение размыва дна и бортов оврага средствами водоборьбы. На участках с угрожающим развитием оврагов - создание запасов материалов для защиты от размыва (камень, бетонные плиты, кули с песком).
Эксплуатационные наблюдения: осмотр участка пути вблизи оврага после пропуска паводка и выпадения ливней; определение мест повреждений имеющихся креплений, водоотводов и оценка состояния дна и бортов оврага; подготовка к работам по устранению повреждений защитных устройств; пополнение запаса противоаварийных материалов; ведение паспорта формы ПУ-9.
Рис. П.8.45. Оврагообразование:
1 - поперечный профиль водоотводной канавы до размыва; 2 - овраг
Опознавательные признаки: лавиноопасные участки, как правило, известны, и за ними ведутся наблюдения согласно местным инструкциям. Лавинные лога (желоба) по поверхности склона опознаются по отсутствию деревьев; крутизна склона превышает 15 ° и достигает 35 – 45 °, накопление снежных массивов при снегопадах и метелях; приток талых или ливневых вод.
Причины возникновения: потеря устойчивости снежного массива вследствие возникновения в его основании слоя разрыхления, образующегося в процессе перекристаллизации снега; подвижка снежного покрова на косогоре вследствие ползучести снега; выпадение обильных осадков в виде перемежающихся снегопадов, дождей, сопровождающихся ветром; землетрясения, взрывы и другие импульсные воздействия.
Неотложные меры: оповещение местных предприятий и населения о начале схода лавин; обеспечение быстрой эвакуации людей, машин и другого имущества, которое может оказаться в опасной зоне, уборка сошедших лавин, загромоздивших земляное полотно с соблюдением мер безопасности движения поездов и обслуживающего персонала. При резком потеплении и интенсивном снеготаянии - предупреждение застоя воды и размывов сооружений. В необходимых случаях, устанавливаемых специалистами, производится искусственное обрушение лавин с помощью взрывов и артобстрела.
Эксплуатационные наблюдения: определение состояния противолавинных устройств и сооружений; организация службы надзора и предупреждения о наступлении периода лавинной опасности; ведение паспорта формы ПУ-9 и надзор за лавиноопасным участком в соответствии с местной инструкцией, утвержденной начальником дистанции пути.
Рис. П.8.46. Завал земляного полотна
снежными лавинами:
1 - обрушившаяся снежная масса; 2 - путь, заваленный лавиной
Опознавательные признаки: наличие селеопасных логов, имеющих неустойчивые борты; отложения селевых масс в руслах, на подходах к мостам (валунов, стволов деревьев), при резких поворотах русла селеопасного лога; наступление периодов массового таяния ледников и ливневых осадков, активизирующих размывы, осыпи, сплывы, оползни; образование подпертых водоемов, угрожающих прорывами и прохождениями шквальных потоков. Интенсивное снеготаяние в сочетании с выпадением теплых ливней.
Причины возникновения: воздействие интенсивного стока (ливневого, при сезонном снеготаянии, вследствие таяния ледников) на раздробленные горные породы, находящиеся на склонах или в руслах горных бассейнов; возникновению селей способствуют: уничтожение растительности на горных склонах и в руслах; выпас скота на горных склонах, ведущий к вытаптыванию и разрушению почвенного покрова и к образованию дополнительных путей эрозионного стока; продольная распашка склонов (по вертикали), приводящая к возникновению новых руслообразований. Неисправные селезащитные и селенаправляющие сооружения могут быть причиной повреждений и завалов пути.
Неотложные меры: установление поста наблюдений за состоянием земляного полотна, верхнего строения пути и защитных сооружений; обеспечение безопасности движения поездов на селеопасном участке; уборка с пути селевых отложений и принятие мер по недопущению попадания их на путь; обеспечение безопасного пропуска селевого потока сквозь искусственные сооружения (мост, селеспуск и другие сооружения); устранение повреждений барражных устройств, запруд, быстротоков, перепадов.
Эксплуатационные наблюдения: надзор за состоянием земляного полотна, подводящих и отводящих русел у искусственных сооружений, регуляционных и защитных устройств; периодический осмотр прилегающей территории, откуда могут поступать селевые выносы при вырубке леса, неправильной распашке земель, нарушении системы перехвата и отвода паводковых вод; определение необходимого объема работ по ремонту или усилению защитных устройств, выполняемых собственными силами или с помощью подрядных организаций; ведение паспорта формы ПУ-9.
Рис. П.8.47. Завалы пути селевыми отложениями:
1 - селевые отложения; 2 - путь.
Опознавательные признаки: нарастание слоев льда в местах выхода на поверхность грунтовых вод, перемерзания постоянного водотока на перекатах; накопление льда у искусственных сооружений (малых мостов, труб); заполнение льдом мелких ложбин, русел временных или постоянных ручьев с постепенным приближением к пути распластанных ледяных полей; периодическое весеннее дневное таяние снега и льда с ночным замерзанием талой воды в кюветах, канавах, лотках, временных отводных канавах.
Наледи, выходящие на путь, загромождают рельсовую колею, могут вызывать наледные пучины, переувлажняют грунт земляного полотна, могут создавать аварийные ситуации.
Причины возникновения: замерзание поверхностной воды ручьев, малых рек или грунтовой воды, излившейся на поверхность при низких температурах воздуха. Наледи грунтовых вод возникают на косогорах, в откосах выемок, в местах закладки канав и резервов, вскрывающих водоносные слои или способствующих их частичному либо полному промерзанию; в поверхностных водопроницаемых породах могут образовываться внутри-грунтовые пучины и поверхностные наледи; на участках открытых канав и лотков, используемых для пропуска ручьев и родников подземных вод наледи заполняют отводы и изливаются на поверхность у верхнего строения пути; образуются в местах стеснения водоносных слоев фундаментами сооружений, а также высокими насыпями, возводимыми из глинистых грунтов и уменьшающими проницаемость подстилающих пород, на участках водотоков с перекатами, порогами, конусами выноса, островами. Наледи распространены в районах с суровым климатом и вечной мерзлотой.
Неотложные меры: приведение в исправное состояние противоналедных устройств (дренажей, открытых канав, лотков, заборов); недопущение на путь излившейся воды, а если она продолжает поступать – скорейший отвод ее с помощью канав, лотков; уборка льда; своевременная очистка от льда и снега отверстий водопропускных сооружений; открытие отверстий мостов и труб, а также подводящих и отводящих русел водотоков; расчистка от снега мерзлотных поясов; утепление лотков, выпусков дренажей.
Эксплуатационные наблюдения: надзор за наледными участками с периодическим осмотром мест выхода воды, определением скорости нарастания наледи, угрозы выхода ее на путь и загромождение отверстий мостов, труб, водоотводных сооружений.
Рис. П.8.48. Загромождение пути и
подмостовых отверстий наледями:
1 - место выхода наледных вод; 2 - накопление льда; 3 - путь
Опознавательные признаки: прогноз опасных метеорологических явлении (ливней, бурного снеготаяния, разливов рек); интенсивное и продолжительное поднятие уровня воды в близкорасположенных водотоках, водоемах, суходолах, на низменных территориях; переполнение водоотводных сооружений (канав, лотков, кюветов); затопление регуляционных и защитных сооружений у мостов, на прижимных участках; размывы откосов подтопленного земляного полотна; размывы и другие разрушения укрепительных сооружений (дамб, креплений откосов и берм, поперечных бун и других конструкций); выход воды на путь.
Причины возникновения: внезапное выпадение обильных атмосферных осадков, вызывающее разлив водотоков и переполнение водоемов; недостаточная защита железной дороги от периодического подтопления; возникновение местных заторов и подпоров воды на попутных реках, ручьях, ущельях; плохое содержание систем отведения воды (запущенность канав и лотков, повреждения их креплений, поврежденность регуляционных сооружений); несвоевременное принятие мер по защите сооружений от размывов.
Неотложные меры: устранение местных размывов земляного полотна и его обустройств; защита верхнего строения пути от подмывов, затопления, повреждений; принятие возможных мер по обеспечению безопасности движения поездов, вплоть до закрытия движения; опове-144
шение должностных лиц о стихийных явлениях (дорожного мастера, начальника дистанции пути, поездного диспетчера); выполнение работ в соответствии с местным планом водоборьбы.
Эксплуатационные наблюдения (профилактические и аварийные): надзор за состоянием укрепительных и защитных сооружений и принятие неотложных мер по устранению повреждений при угрозе ливня, паводка, при резком изменении погоды (потепление, начало ледостава на реках); внеочередной осмотр опасного участка; ведение паспорта формы ПУ-9. Включение опасных участков в состав комиссионного осмотра в весенние и предзимние периоды.
Рис. П.8.49. Повреждения земляного полотна при наводнениях
Опознавательные признаки: глухие, громоподобные удары в недрах земли, приводящие к специфическим ощущениям людей в зонах землетрясений различной интенсивности в баллах:
7 баллов: возникают трещины на дорогах, в скальных породах, иногда происходят оползни у берегов рек. Люди в испуге выбегают из помещений;
8 баллов: возникают оползания откосов выемок и насыпей; трещины на поверхности земли достигают нескольких сантиметров; в зданиях образуются трещины, обрушиваются перекрытия, рушатся трубы. Люди пребывают в панике;
9 - 10 баллов: массовые повреждения и разрушения зданий; разрушения мостов, насыпей и др.; разрывы поверхности земли с вертикальными сбросами до 1,0 - 1,5 м. Оползни, снежные лавины приходят в движение. Железнодорожные пути повреждаются вплоть до невозможности их эксплуатации.
Причины возникновения: особые физические процессы, протекающие в недрах земли, приводящие к повреждениям и разрушениям сооружений. Массовые взрывы в карьерах и в других случаях их применения вызывают аналогичные явления.
Эксплуатационные наблюдения: визуальные обследования участков пути ответственными руководителями дистанции и служб пути с привлечением инженерно-геологических баз, путеобследовательских станций.
Опознавательные признаки: поднятие рельсовых нитей на двухпутном участке на различные величины; участок пути первоначально однопутный перестроен в двухпутный.
Причины возникновения: различная интенсивность пучения грунтов может появиться вследствие разных причин, а также при наличии в зоне промерзания под вторым путем разнородных грунтов, как следствия ошибок проектирования и строительства.
Неотложные меры: исправление пути с помощью пучинных подкладок и карточек; отвод воды, особенно тщательный в предзимний и весенний периоды.
Эксплуатационные наблюдения: при проверках пути по шаблону и уровню в периоды роста и спада пучин; контроль за изменениями положения головок рельсов в продольном профиле; определение наличия явлений, сопутствующих пучинам (весенних пучинных просадок, выплесков и выпоров разжиженного грунта).
Рис. П.8.50. Пучение на одном из путей
на двухпутном участке
1
- ось первого пути; 2 - ось второго пути;
3 - присылаемая под второй путь часть насыпи (стрелками показано пучение)
Опознавательные признаки: постепенно увеличивающиеся оседания рельсовой колеи, со временем затухающие; образование продольного понижения у основания откоса вновь возведенной насыпи; неровность обочины земляного полотна и нарушение прямолинейности бровки; заметное вибродинамическое ощущение при проходе поезда, особенно под локомотивом и гружеными вагонами; возникновение продольных трещин у границы старой и вновь отсыпанной насыпей.
Причины возникновения: осадка слабого основания ниже границы замены слабого грунта; уплотнение и оседание грунта в откосной части старой насыпи, оказавшейся под нагрузкой новой части насыпи и от проходящих поездов; оседание основной площадки новой части насыпи вследствие уплотнения грунта насыпи и в слое замены слабого основания, уложенных без достаточного уплотнения.
Неотложные меры: устранение неисправностей верхнего строения пути; пополнение балластных материалов, расходуемых на отсыпку заниженных обочин и использованных при выправке пути; расчистка и затрамбовка трещин в земляном полотне; устранение застоев воды у основания откоса вновь построенной части насыпи.
Эксплуатационные наблюдения: усиленный надзор за состоянием верхнего строения пути (по уровню, за затяжкой стыковых, клеммных, закладных болтов; по состоянию рихтовки); контроль достаточности ширины обочин, за отсутствием потерь балласта (осыпанием его на откос насыпи); визуальное наблюдение за характером колебаний вагонов в проходящих поездах.
Рис. П.8.51. Оседание насыпи
дополнительного (нового) пути,
построенной на слабом основании:
1
- ось первого пут; 2 - ось второго пути;
3 - существующая насыпь; 4 - присыпаемая насыпь;
5 - очертание основания насыпи после отсыпки второго пути
Опознавательные признаки: застои воды в междупутных заглубленных пазухах; невыдержанные продольные уклоны и глубины водоотводов, удаляющих воду из широких междупутий, пазух, случайных понижений местности; в особо опасных случаях - высачивание воды на откосе вновь построенной насыпи.
Причины возникновения: ошибки при проектировании и выполнении работ по строительству насыпи дополнительного пути; запущенность имеющихся водоотводов из широких междупутий, пазух.
Неотложные меры: обеспечение стока воды из мест застоев и осушение переувлажненного грунта; при заполнении местным грунтом бессточных пазух — обеспечение быстрого стока воды за пределы земляного полотна.
Эксплуатационные наблюдения: осмотры земляного полотна в периоды паводков, после выпадения обильных атмосферных осадков, перед началом зимы с целью определения необходимости неотложных мер; в теплые сезоны года — проверка отсутствия застоев воды в понижениях поверхности, где были бессточные пазухи, а также состояния откосов (мочажины, влаголюбивая и другая растительность).
Рис. П.8.52. Переувлажнение грунта в
откосах старой
и вновь построенной насыпей вследствие неорганизованного
водоотвода из уширенного междупутья:
1
- земляное полотно первого пути; 2 - земляное полотно второго пути;
3 - балластный шлейф; 4 - водоотвод в пазухе между существующим и новым
земляным полотном (стрелками показано направление проникновения
поверхностных вод в тело земляного полотна)
Опознавательные признаки: длительное оседание рельсовой колеи, иногда со смещением ее в сторону откоса: продольные трещины на междупутье, обочинах, на откосах; высачивание воды на откосе присыпанной насыпи; в критических случаях - оползание откоса.
Причины возникновения: ошибки в проекте или при производстве работ по подготовке существующего откоса перед возведением земляного полотна под второй путь; наличие продольного балластного ложа с уклоном в пониженное место; неудовлетворительное содержание водоотводных и дренажных сооружений, выпусков воды из защемленных шлейфов.
Неотложные меры: устранение неисправностей верхнего строения пути (сбитие рихтовки, "потайных толчков", просадок, перекосов); расчистка и затрамбовывание трещин на обочинах, откосах; тщательное водоотведение от мест поглощения воды из канав, дренажей; организация инженерно-геологического обследования объекта и разработка проекта его стабилизации.
Эксплуатационные наблюдения: определение мест активного проявления деформаций пути; ведение паспорта формы ПУ-9; при обнаружении растущих просадок и подвижек пути - организация инструментальных наблюдений с помощью створов вех и нивелирования; ведение учета выполненных работ по устранению неисправностей верхнего строения пути.
Рис. П.8.53. Деформации насыпи второго пути
в результате
увлажнения грунта из балластного шлейфа, защемленного
при строительстве второго пути:
1
- насыпь первого пути; 2 - присыпаемая под второй путь часть насыпи;
3 - балластный шлейф старого земляного полотна
Опознавательные признаки: переменная вдоль пути ширина обочин от близкой к нормативной до полного отсутствия, когда откосы насыпи или откос кювета выемки становится продолжением откоса балластной призмы; рыхлое сложение балластного материала на обочине; непрямолинейное очертание бровки земляного полотна.
Причины возникновения: оседание насыпи и подъемка пути на балласт для компенсации осадки; наращивание толщины балластного слоя до нормативных величин; первоначальная ширина основной площадки земляного полотна недостаточна для размещения балластной призмы с современными размерами; повреждение обочин вследствие недостаточного укрепления ее, деформация грунта и балластного слоя в местах неорганизованного движения пешеходов, складирования материалов верхнего строения пути.
Неотложные меры: исправление очертаний обочин с досыпкой балластного материала для предотвращения повреждений балластной призмы; уборка с обочин материалов и посторонних конструкций; устройство временных поддерживающих конструкций из рельсовых рубок, старых железобетонных шпал, материалов в качестве противоаварийных мероприятий, рассчитываемых на срок службы, достаточный дяя реализации запроектированных мероприятий. Расчистка кюветов от осыпаний балластных материалов, препятствующих стоку поверхностных вод.
Эксплуатационные наблюдения: надзор за целостностью обочин, за появлением продольных трещин на обо-
чинах и откосах насыпей; выявление мест с загромождениями (запрудами) в кюветах и расчистка их по мере обнаружения.
Рис. П.8.54. Недостаточность ширины обочин:
а
- двусторонняя недостаточность ширины обочин;
б - односторонняя недостаточность ширины обочин;
в - односторонняя недостаточность ширины обочин при сдвижке оси пути;
1 - положение оси пути существующего пути; 2 - ось пути после сдвижки;
D - величина сдвижки пути;
0,40 - ширина обочины, м
Опознавательные признаки: непрямолинейное очертание откосов насыпей, с крутизной возрастающей к верху насыпи; рыхлое сложение грунта (обычно песка и щебня) в верхних частях откосов; продольные трещины на бровках и откосах; во многих случаях на таких насыпях обочины также заужены, что вызывает пониженную стабильность рельсовой колеи. При большой крутизне откосов и перегрузке их материалами, используемыми для устранения дефектов земляного полотна, возможны сплывы шлейфов, угрожающие безопасности движения поездов.
Причины возникновения: сооружение насыпей по облегченным требованиям с зауженной основной площадкой без достаточного уплотнения грунтов, без замены слабых грунтов в основании; наращивание толщины балластного слоя при постановках пути на тяжелые виды балласта, при смягчении продольного профиля, постановке вертикальных сопрягающих кривых или увеличении их радиуса.
Неотложные меры: своевременное устранение неисправностей рельсовой колеи (просадок, толчков, отрясенных шпал); уширение земляного полотна с обеспечением требуемой ширины обочин с обеих сторон насыпи; недопущение излишних нагрузок на обочины и откосы насыпей, отведение воды от контакта глинистых грунтов и балластного шлейфа; комплексное усиление насыпи и имеющегося в ней водопропускного сооружения выполняют по индивидуальному проекту.
Эксплуатационные наблюдения: надзор за состоянием верхнего строения пути по уровню, положению в плане, за появлением толчков, отрясенных шпал; визуальный осмотр откосов насыпей с замером трещин, определением крутизны откосов; ведение паспорта формы ПУ-9.
Рис. П.8.55. Балластный шлейф
с завышенной крутизной откосов:
а
- с тух сторон; б - с одной стороны при сдвижке оси пути или подъемке пути;
1 - положение существующей оси пути; 2 - ось пути после сдвижки;
D - величина сдвижки оси
пути; 1:n - крутизна построечного откоса;
1:m - завышенная крутизна откоса, образовавшаяся в результате подъемок и
рихтовок пути
Опознавательные признаки: зауженность обочин насыпей или их полное отсутствие; отложения балластных материалов на откосах насыпей в виде клинообразных наслоений, нависающих над водопропускными трубами; продольные трещины на откосах; нависание дернин над трещинами; загромождение подводящих и отводящих русел старыми балластными материалами, деталями конструкций искусственных сооружений, посторонними предметами; застои воды у оснований откосов и размывы укрепленных и неукрепленных откосов; прохождение паводков на отметках выше расчетных вследствие уменьшения сечений труб и живого сечения подмостовых отверстий.
Причины возникновения: длительное оседание насыпей на подходах к малым мостам и над водопропускными трубами, крутой откос насыпи (шлейфа); местная неустойчивость грунта над оголовком; нарушение крепления откосов; несвоевременное принятие мер по уширению насыпей; неудовлетворительное содержание насыпей, защитных и укрепительных сооружений; запущенность состояния подводящих и отводящих русел.
Неотложные меры: обеспечение беспрепятственного стока по водотоку; устранение зауженности обочин и нарушений целостности балластной призмы; ремонт укрепительных и защитных устройств и сооружений; устранение размывов и оплывин на откосах, переустройство трубы по проекту.
Эксплуатационные наблюдения: надзор за состоянием подходных насыпей, искусственных сооружений, защитных и укрепительных устройств; обследование всего комплекса сооружений после пропуска паводков; при необходимости - организация инструментального обследования объекта.
Рис. П.8.56. Повреждения земляного полотна
при
недостаточной длине водопропускной трубы:
1
- балластный шлейф; 2 - трещины на откосе;
3 - сползшие массы грунта, стесняющие русло; 4 - урез воды в водотоке
Опознавательные признаки: расположение современных кюветов в материалах, заполняющих построечные кюветы; отсутствие воды в современных кюветах и застои ее на уровне дна построечных кюветов и основной площадки в выемках и на нулевых местах; снижение стабильности пути из-за просадок, пучин и других деформаций.
Причины возникновения: накопление засорителей балласта и старых балластных материалов в кюветах, над построечными обочинами, у оснований откосов земляного полотна; подъемка на дополнительные слои балласта с целью повышения стабильности пути, смягчения профиля; устранение зауженности основной площадки, уположение откоса кювета со стороны пути.
Неотложные меры: обеспечение стока воды из "погребенных" кюветов с помощью лотков, дренажей мелкого заложения, в обоснованных случаях - раскрытие выемок и нулевых мест; устранение неисправностей верхнего строения пути.
Эксплуатационные наблюдения: определение участков пути с затрудненным стоком воды по кюветам в выемках и на нулевых местах; контроль за глубиной нахождения воды в переходные сезоны года (весной и осенью).
Рис. П.8.57. Уменьшение сечения построечных кюветов:
1
- построечное положение кювета;
2 - положение кювета после подъемки пути
Опознавательные признаки: размещение современных кюветов в старых балластных материалах; наличие валов из этих же материалов у основания откосов выемок, на нулевых местах; размеры этих валов не одинаковы у одной и другой сторон пути; после выпадения дождей в кюветах обычно нет воды (она впиталась в старые балластные материалы).
Причины возникновения: сверхнормативная подъемка пути на балластные материалы при смягчении продольного профиля, постановке пути на тяжелые виды балласта; внедрение на линии тяжелого и особо тяжелого типов верхнего строения пути; усиление пути с целью устранения просадок, пучин и других деформаций без соответствующего переустройства земляного полотна; проектирование земляного полотна по облегченным нормам.
Неотложные меры: обеспечение отвода воды из "погребенных" кюветов и углублений на построечной основной площадке посредством лотков, дренажей, глубоких открытых канав (по проекту); устранение неисправностей верхнего строения пути.
Эксплуатационные наблюдения: определение участков пути, на которых нарушен поверхностный водоотвод; определение эффективности ранее построенных сооружений для отведения поверхностных и грунтовых вод; установление зависимости нарушений состояния пути от сезонов года (весна, осень, дождливые периоды).
Рис. П.8.58. Смещение уровня и положения в плане кюветов:
1
- построечное положение кюветов; 2 - положение кювета после
подъемки пути; 3 - застои воды в кюветах
ОСНОВНЫЕ ТРЕБОВАНИЯ МЕСТНОЙ ИНСТРУКЦИИ ПО
СОДЕРЖАНИЮ ЗЕМЛЯНОГО ПОЛОТНА И ЕГО СООРУЖЕНИЙ
НА НЕУСТОЙЧИВЫХ УЧАСТКАХ И ОБЕСПЕЧЕНИЮ
БЕЗОПАСНОСТИ ДВИЖЕНИЯ ПОЕЗДОВ
Для наблюдения за неустойчивыми местами земляного полотна железнодорожного пути, где возможно нарушение его целостности, объем, характер наблюдений и условия обеспечения безопасности движения поездов регламентируются местной инструкцией, составляемой и утверждаемой начальником дистанции пути и включающей в себя следующие основные требования:
1. Общие положения, регламентирующие порядок содержания неустойчивого участка, обязанности исполнителей и должностных лиц, порядок действий по обеспечению безопасности движения поездов и техники безопасности при аварийных ситуациях.
2. Краткую инженерно-геологическую и гидрогеологическую характеристику неустойчивого участка с указанием границ, причин и признаков, схемы деформируемого участка и точек наблюдения.
3. Особенности и способы проведения надзора, текущих осмотров, периодических осмотров, эксплуатационных и специальных обследований и наблюдений, регистрируемые в журналах результатов осмотра.
4. Схемы и сроки проведения наблюдений за неустойчивыми участками железнодорожного пути с указанием ответственных исполнителей; порядок ведения учетной и отчетной документации.
5. Наименование и объемы работ, подлежащих выполнению специализированными и путевыми бригадами по содержанию и ремонту земляного полотна и его обустройств на неустойчивом участке.
6. Порядок надзора, осмотров и наблюдений, план проведения восстановительных работ в случаях активизации деформаций; порядок информирования начальников дистанций пути, поездных диспетчеров о возможной угрозе деформаций, сигнального ограждения опасного участка.
7. Порядок пропуска поездов по неустойчивому участку при активизации деформаций (ограничение скорости, предупреждение машинистов поездов о бдительности); перечень должностных лиц, которым предоставлено право вводить особые условия движения поездов.
8. Основные требования по обеспечению безопасности движения поездов и техники безопасности персонала при выполнении надзора, наблюдений, обследований и выполнении ремонтных работ.
ДИАГНОСТИЧЕСКИЕ МЕТОДЫ КОНТРОЛЯ
И ОБСЛЕДОВАНИЯ СОСТОЯНИЯ ЗЕМЛЯНОГО ПОЛОТНА
В таблице приняты следующие сокращения:
ВК - визуальный контроль; УО - метод измерения упругих осадок; СМ - сейсмический метод; ИГМ - инженерно-геодезический метод; ИГБ - метод инженерно-геологического бурения; ЭДЗ (ДЗ) - метод электродинамического зондирования (динамического зондирования); ЛИГО - метод оценки качества основания пути с помощью нагрузочного комплекса ЛИГО СМ-460; ВП - метод оценки состояния пути по лентам вагона путеизмерителя; ГРЛ - гео-радиолокационный метод.
|
Метод диагностики земляного полотна |
Дефекты и деформации земляного полотна |
Признаки и параметры, определяющие дефекты или деформации земляного полотна |
|
ВП |
Балластные корыта |
Повышенная влажность и низкий коэффициент уплотнения грунтов (Ку < 0,91) |
|
Балластное ложе |
||
|
Балластный мешок |
||
|
ГРЛ |
Балластные гнезда |
Наличие неровных геологических границ |
|
ИГМ |
Весенние пучинные просадки |
Увеличенные дополнительные уклоны рельсовой колеи |
|
ВП |
Пучины |
Отсутствие защитного слоя |
|
Смывы |
Переувлажнение грунтов |
|
|
ВК |
Сплывы откосов выемок |
Выход грунтовых вод на поверхность откосов. Короткие трещины у бровок откосов и выпоры у основания откосов |
|
ВП |
Оползания откосов насыпи |
Появление продольных трещин на поверхности пути |
|
ВК, СМ, ЭДЗ |
|
Наличие разуплотненных зон грунта с повышенной влажностью |
|
ИГБ |
|
Наличие линии скольжения в теле насыпи |
|
ЭДЗ |
Оползание рыхлых отложений по контакту со скальными породами |
Пониженная плотность, повышенная влажность грунтов насыпи и ее основания |
|
ВК |
Осыпи |
Нарушение стабильности - выпадение отдельных глыб и материалов выветривания с откосов скальных выемок. Наличие карнизов |
|
Вывалы |
||
|
Обвалы |
||
|
ВК, ЭДЗ |
Обрушение крутых откосов выемок в лёссовых грунтах |
Продольные трещины на заоткосных площадках. Наличие переувлажненных и ослабленных по прочности грунтов откосов выемок |
|
СМ, ИГБ |
Оползни |
Резкое различие в плотностях грунтов. Наличие границы скольжения |
|
ИГБ |
Смещение насыпи, расположенной на куруме |
Наличие воды в подошве курума |
|
ВК |
Расползание насыпи |
Наличие трещин на поверхности насыпи |
|
ЭДЗ |
|
Переувлажненные и разуплотненные грунты тела насыпи |
|
ЭДЗ, ГРЛ |
Сдвиг (оползание) насыпи или ее низовой части по наклонному основанию |
Наклон минерального дна болота (1 > 1:10). Наличие разуплотненных и увлажненных грунтов косогорного основания насыпи |
|
ЛИГО, ЭДз |
Оседание насыпи вследствие: |
Пониженная плотность, низкие прочностные свойства грунтов насыпи. Слабые по плотности или переувлажненные грунты основания насыпи |
|
уплотнения слагающих ее грунтов; |
||
|
уплотнения или протаивания грунтов основания; |
||
|
выпирания грунтов основания |
||
|
ЭДЗ |
Выпирание грунтов в выемке |
Наличие разуплотненных зон в глинистых грунтах выемок |
|
СМ |
Суффозионное разрушение откосных частей земляного полотна |
Наличие водоносного горизонта в основании насыпи |
|
ЭДЗ, ЛИГО |
Провалы насыпей на торфяных болотах (илистых отложениях) |
Низкая степень уплотнения торфяных отложений (Кс < 50 %) |
|
ВП, ИГБ |
Провалы земляного полотна на закарстованных территориях |
Наличие карстовых полостей, залегающих под основанием земляного полотна на разных глубинах |
|
СМ, ИГМ |
|
Оседание пути более 10 мм в год |
|
СМ |
Оседание земляного полотна под шахтными подработками |
Наличие пустот под основанием земляного полотна |
|
ИГМ, ВП |
|
Медленное оседание пути |
|
ИГМ, ВП, ЛИГО |
Осадки основной площадки земляного полотна над трубопроводными пересечениями |
Просадки пути над зоной трубопроводов |
|
ЭДЗ, УО, ЛИГО |
Длительное оседание насыпей на подходах к мостам и водопропускным трубам |
Низкий коэффициент уплотнения грунтов насыпи в подходной зоне моста (Ку < 0,91). Наличие слабых по плотности грунтов в основании насыпи на подходах к мостам |
ТРЕБОВАНИЯ К СОДЕРЖАНИЮ ЗЕМЛЯНОГО ПОЛОТНА В СЛОЖНЫХ ИНЖЕНЕРНО-ГЕОЛОГИЧЕСКИХ УСЛОВИЯХ
|
Объект надзора |
Показатель оценки состоят» объектов |
Состав работ по текущему содержанию |
|
1. Участки пути, находящиеся на
насыпях, |
||
|
Верхнее строение пути |
Инструментально и визуально наблюдаемые искажения плана и профиля (местные сдвижки и просадки) |
Выправка плана и профиля пути согласно п. 2.1, 3.3 Инструкции по текущему содержанию железнодорожного пути |
|
Бровка и откосы насыпей |
Сохранность очертания и укрепления, возникновение или развитие осадок, сплывов, боковых смешений, трещин, разрыва дернового слоя; застой воды у основания откоса |
Отвод воды от основания откоса с нарезкой дополнительных канав, планировка обочин и откосов, восстановление укрепления |
|
Водоотводные канавы |
Размывы, застои воды, сохранность укрепления |
Планировка дна и откосов канав со срезкой бугров торфа, восстановление очертаний и укрепления в местах повреждений |
|
Прилегающая местность |
Разрыв торфяной корки, появление бугров выпирания, сохранность защитных покрытий из минерального грунта на участках обсыхающих торфяных болот |
Установление инструментальных наблюдений за развитием бугров выпирания и трещин разрыва, восстановление минерального покрытия на сухом торфе, немедленная ликвидация очагов его возгорания с последующим восстановлением покрытия |
|
Примечание. В период паводков, затяжных и ливневых дождей, а также при проведении осушительных работ или природном изменении водного режима частоту осмотров увеличивают вплоть до установления постоянных инструментальных наблюдений. |
||
|
II. Участки подтопления и размыва
земляного полотна в местах возможных выходов воды |
||
|
Подтопляемые насыпи и конусы насыпей у мостов |
Сохранность откосов, состояние укрепительных одежд, подводящих русел и отверстий искусственных сооружений, уровни стояния воды по обеим сторонам насыпи, характер прохождения ледохода, карчехода |
Ликвидация промоин, ремонт укрепительных одежд, замена разрушенных плит, пополнение камня, уборка с площади водосбора плавучих материалов для предупреждения забивки отверстий искусственных сооружений; обеспечение запаса материалов для ликвидации возможных размывов. Ликвидация заторов и застоев воды у искусственных сооружений, перепуск воды при одностороннем подпоре, устройство продольных прорубей для предотвращения повреждений бетонных одежд и мощения откосов |
|
Регуляционные и противоразмывные сооружения |
Состояние дамб, бун, отбойников, волноотбойных стен, включая положение и целостность конструкции, сохранность укрепления или облицовки, укрепительных одежд основания, сохранность ряжей, каменнохворостяных и сипайных, габионных сооружений, защитной древесно-кустарниковой растительности |
Заделка трещин в кладке стен, нагнетание раствора в пустоты и трещины, замена облицовочных камней с расшивкой швов цементным раствором, ликвидация промоин за стенами, подмывов фундаментов, ремонт и восстановление фашин, каменно-хворостяных, сипайных и габионных сооружений, пополнение ряжей, фашин, габионов камнем, заделка разрывов в металлической габионной сетке, устройство продольных прорубей для предотвращения повреждений облицовки и защитных одежд |
|
Выемки (в районах с большой интенсивностью снеготаяния или дождевых осадков) |
Состояние водоотводов у подошвы откоса и на заоткосных площадках (нагорных канав, кюветов, лотков, быстротоков, перепадов и других водоотводов), сохранность очертания и укрепления откосов, оценка опасности и водоразмывов при снеготаянии по запасам снега и его распределения по местности, обеспечение пропуска вод по вскрытым весной водоотводам |
Прочистка водоотводов, ремонт укрепления, ликвидация на откосах неровностей и следов траншей, проложенных для кабелей подземных коммуникаций, периодическая очистка и вскрытие водоотводов до начала и во время снеготаяния, обеспечение беспрепятственного течения воды при таянии снега и ливнях, перепуск воды деревянными желобами в шпальных ящиках при одностороннем переполнении кюветов |
|
III. Участки расположенные в зоне оврагообразования |
||
|
Земляное полотно железнодорожного пути |
Состояние водоотводных устройств, поверхностного укрепления, отложение материалов выноса из оврагов с верховой стороны пути, в руслах водоотводов и малых искусственных сооружений |
Заделка промоин, рытвин, устранение повреждений укрепления водоотводных канав, резервов, водосбросов и других обустройств, устройство новых водоотводов на склонах для перехвата поверхностных вод, гашение скорости течения воды |
|
Полоса отвода, охранная зона, прилегающая местность (зона возможного оврагообразования) |
Состояние защитного дернового слоя, отсутствие размывов русел, состояние древесно-кустарниковых насаждений, прохождение поверхностного стока, режим землепользования в охранной зоне |
Ликвидация размывов русел, посадка и восстановление древесной и кустарниковой растительности и дернового укрепления поверхности. В пределах охранных зон не допускается распашка земель |
|
Существующая овражная сеть, отдельные овраги |
Развитие оврагов (подвижка бортов, вершины, увеличение глубины, появление ответвлений); состояние защитных устройств, приближение оврагов к пути |
Регулирование поверхностного стока системой водоотводных канав, укрепленных перепадов, быстротоков, запруд, укрепление русел на дне оврагов, планировка, уположение и террасирование бортов, посев трав, посадка кустарников, деревьев на склонах, террасах и прилегающей территории, устройство барражей, плетневых клеток, укладка габионных ковров, гибких железобетонных покрытий, каменной наброски |
|
Примечание. При близком расположении оврагов к железнодорожному пути устанавливают инструментальные наблюдения за их ростом. Периодичность наблюдений устанавливаю в зависимости от прохождения ливней и паводков от снеготаяния. |
||
|
IV. Участки, расположенные на оползнях |
||
|
Железнодорожный путь| |
Положение рельсовой колеи в плане и профиле, сохранность очертания откосов земляного полотна, состояние поверхностных водоотводов, положение и вертикальность опор контактной сети, километровых знаков, сохранность смотровых и поглощающих колодцев дренажных сооружений |
Выправка плана и профиля пути в соответствии с п. 3.3 Инструкции по текущему содержанию железнодорожного пути, восстановление и укрепление водоотводов (нагорных и водоотводных канав, кюветов, лотков, быстротоков, перепадов), каптаж появившихся источников с устройством новых водоотводов, забивка местным грунтом или глиной трещин оползневых и усыхания, западин, оплывин |
|
Оползневый массив и охранная зона |
Изменение рельефа местности, положение деревьев, сохранность зданий, состояние поверхностного водоотвода, появление выходов грунтовых вод, сохранность колодцев дренажных сооружений, соблюдение установленного режима землепользования в охранной зоне |
Каптаж появившихся источников с устройством водоотводов, засыпка западин, заделка трещин в оползневом массиве, недопущение в пределах охранной зоны выпаса скота, распашки поверхности, строительства сооружений, складирования камня, гравия, грунта и других материалов, подрезки склонов, укладки кабелей и трубопроводов, производство взрывных работ |
|
Противооползневые сооружения |
Стабильность положения подпорных стен, контрбанкетов, состояние кладки, бетонных блоков, облицовки, поверхностного укрепления, работоспособность и дебит дренажных сооружений на выходе |
Мелкий ремонт подпорных стен, дренажей, контрбанкетов, берегоукрепительных и противооползневых сооружений |
|
Примечания. 1. Порядок периодических осмотров, стационарных инструментальных наблюдений и инженерно-геологического обследования пути устанавливают местными Инструкциями в зависимости от активности оползневых подвижек и инженерно-геологических условий, руководствуясь Техническими указаниями по контролю стабилизации пути на оползневых косогорах. 2. Наблюдения за оползнем, профилактические и срочные меры по его стабилизации проводятся, как правило, специализированными бригадами. |
||
|
V. Скально-обвалъные участки |
||
|
Железнодорожный путь |
Сохранность пути, сигнализации, водоотводных сооружений и других обустройств, степень заполнения улавливающих рвов и траншей |
Уборка обломков горной породы, выполнение неотложных работ по срезке и уборке угрожающих падением массивов горных пород, очистка улавливающих рвов, траншей, застенных пазух, восстановление водоотводов, ремонт улавливающих стен |
|
Откосы и склоны |
Состояние откосов, развитие трещин, появление неустойчивых камней и массивов, состояние защитных слоев, кустарников и деревьев |
Профилактическая уборка неустойчивых камней и массивов, планировка откосов с ликвидацией застойных мест, вырубка деревьев и кустарников в расщелинах скал |
|
Примечание. Наблюдения и работы на скально-обвальных участках выполняют в соответствии с Инструкцией по содержанию земляного полотна и технике безопасности при производстве работ на скально-обвальных участках железных дорог. |
||
|
VI. Места шахтных подработок |
||
|
Железнодорожный путь, земляное полотно, полоса отвода |
Состояние плана и профиля железнодорожного пути, водоотводов, поверхностного укрепления |
Выправка пути при осадках основания, ликвидация мест застоев воды в водоотводах и ликвидация местных впадин, уширение земляного полотна, ремонт дренажей, стенок, контрфорсов и других сооружений |
|
Примечание. Подработка железных дорог может производиться только при условии разрешения управления железной дороги и в соответствии с Правилами охраны сооружений и природных объектов от вредного влияния подземных разработок. На участках шахтных подработок горное предприятие закладывает наблюдательные станции по схеме, согласованной с дистанцией пути. Горным предприятием не менее чем за 2 мес до начала влияния подработки на земляное полотно должен быть снят продольный профиль по реперам наблюдательной станции и головкам рельсов подрабатываемых путей. Составленный продольный профиль со схемой размещения наблюдательных станций передается горным предприятием дистанции пути. В период влияния подработки горное предприятие проводит инструментальные наблюдения за сдвижением железнодорожного пути и земной поверхности на подрабатываемом участке с начала подработки и до окончания периода опасных деформаций — через каждые 2 мес. Результаты наблюдений передаются дистанции пути не позже, чем через 2 дня после проведения каждого очередного наблюдения. |
||
|
Железнодорожный путь |
Состояние пути, водоотводов, искусственных сооружений после прохода селевого потока |
Расчистка пути от наносов, ликвидация размывов и подмывов откосов, очистка и ремонт водоотводов |
|
Селезащитные устройства |
Наличие повреждений и разрушений на селезадерживающих, селенаправляющих сооружениях |
Ремонт селезащитных устройств, устройство дополнительных сооружений |
|
Селевые лога |
Обследование селевого лога и прилегающей территории с выявлением состояния дна и склонов, наличие переносимых предметов, угрожающих созданием заторов на селепропускных сооружениях |
Ликвидация условий, создающих опасность образования затора |
|
Охранная зона |
Наблюдение за режимом землепользования в охранной зоне |
Недопущение повреждения растительного покрова и лесных насаждений, выпаса скота, распашки крутых склонов для возделывания однолетних сельскохозяйственных культур |
|
Примечание. Состав наблюдений за селеопасными участками, меры по защите сооружений от деформаций и разрушений разрабатывают согласно Инструкции по содержанию земляного полотна и технике безопасности работ на селеоласных участках. |
||
|
VIII. Участки пути на вечномерзлых грунтах |
||
|
Железнодорожный путь |
Сохранность очертаний откосов, появление пазух у подошвы откосов, исправность теплоизоляционных покрытий и водоотводных устройств |
Ликвидация западин и мест застоев воды в основании откосов и водоотводов, восстановление поверхностного укрепления, устранение в аварийном порядке повреждений теплоизоляционного слоя |
|
Полоса отвода и охранная зона |
Обеспечение установленного режима землепользования в охранной зоне |
Обеспечение условий, исключающих повреждения торфо-мохового покрова (движением транспорта, разведением костров, выпасом скота, сенокошением, рубкой леса, корчевкой пней, выполнением земляных и других видов работ) |
|
IX. Места с наличием наледей |
||
|
Железнодорожный путь |
Состояние водоотводных сооружений, характер роста наледей, появление пучинных бугров, исправная работа дренажных сооружений |
Предотвращение выхода наледей на путь, уборка наледного льда, пропуск весенних вод, содержание русел на подходах к искусственным сооружениям |
|
Противоналедные сооружения |
Состояние противоналедных сооружений |
Ремонт и подготовка к зиме противоналедных сооружений |
|
X. Участки пути, проходящие в сейсмических районах |
||
|
Земляное полотно |
Состояние всех элементов земляного полотна после землетрясения |
Ликвидация повреждений и обеспечение безопасности движения поездов |
|
Горные склоны |
Состояние горных склонов, косогорных участков, селе- и лавиноопасных мест и защитных сооружений |
Определение опасности обвалов, осыпей, оползней, возникновения селей и лавин. Уборка неустойчивых массивов и камней, ремонт защитных сооружений |
|
Примечание. Внеочередные осмотры проводятся сразу же после землетрясения бригадирами пути, бригадиром обвального участка и дорожным мастером. |
||
|
XI. Места с наличием пучин и весенних пучинных просадок |
||
|
Железнодорожный путь |
Профиль рельсовой колеи, состояние обочин |
Нивелирование пучинных участков, срезка и планировка обочин и берм, наблюдение за ростом пучин с привязкой к пикетажу, устранение местных источников увлажнения |
|
Водоотводные сооружения |
Состояние водоотводных сооружений |
Прочистка и ремонт поверхностных водоотводов, дренажных устройств, подготовка лотков, прорезей, отводов от противопучинных подушек к пропуску паводков, ремонт укреплений откосов для предупреждения сплыва грунта и заиливания кюветов |
|
XII. Карстоопасные участки |
||
|
Железнодорожный путь |
Состояние земляного полотна, сохранность очертания откосов и поверхностного укрепления водоотводов, гидроизоляционных покрытий, противокарстовых защит |
Ремонт водоотводов, повреждений укреплений и гидроизоляционных покрытий |
|
Полоса отвода |
Появление новых и рост старых воронок, трещин, образование местных бессточных понижений, обеспечение режима землепользования в охранной зоне согласно Инструкции по текущему содержанию железнодорожного пути в карстоопасных районах |
Засыпка карстовых воронок, отвод воды из местных понижений, заделка трещин глинистым грунтом с уплотнением, недопущение повреждения дернового покрова, устройство противокарстовых защит |
ИЗВЛЕЧЕНИЯ ИЗ «ПРАВИЛ ПРОКЛАДКИ КАБЕЛЕЙ
В ЗЕМЛЯНОМ ПОЛОТНЕ ЖЕЛЕЗНЫХ ДОРОГ»
1 (п. 1.2). Правила предназначены для проектирования, строительства линейных сооружений кабельных линий автоматики и связи (дальней связи и устройств СЦБ) в земляном полотне, исключительно в районах с трудными топографическими и инженерно-геологическими условиями, а также в других технически и экономически обоснованных случаях по решению Управления дороги - заказчика.
Примечание. В скобках указаны номера пунктов, соответствующие номерам правил прокладки кабелей в земляном полотне железных дорог.
2 (п. 2.1.2). Участки прокладки кабелей в земляном полотне и сторонность прохождения трассы должна определять комиссия с участием представителей проектной организации, дистанции сигнализации и связи, дистанции пути, дистанции электроснабжения.
Акт, составленный комиссией, должен быть согласован соответствующими службами управления дороги и утвержден главным инженером дороги.
3 (п. 2.3.1). Выбор места и способа прокладки кабелей в земляном полотне должен обеспечивать сохранность земляного полотна и верхнего строения пути при прокладке и монтаже кабелей и их нормальную эксплуатацию.
4 (п. 2.3.3 и 2.3.4). Трасса прокладки кабельной линии в земляном полотне должна проходить, как правило, на середине обочины на расстоянии не менее 0,2 - 0,25 м от подошвы балластной призмы.
Укладка кабелей в балластную призму и под нее не допускается.
Число переходов трассы кабельной линии через железнодорожные пути должно быть минимальным. В пределах одного перегона трасса, как правило, должна проходить с одной стороны пути.
5 (п. 2.3.6). Глубина прокладки кабелей в обочине земляного полотна должна быть не менее 0,5 м и не более 1 м на перегонах; не менее 0,7 м на станциях и переездах.
Во всех случаях расстояние от кабеля до внешней поверхности откоса насыпи по горизонтали должно быть не менее глубины прокладки кабеля.
В случаях применения геотекстиля в конструкции земляного полотна, расстояние от кабеля до покрытия из геотекстиля должно быть не менее 0,25 м, глубина от обочины до кабеля не менее 0,5 м.
6 (п. 2.3.10). Ширина обочины должна быть не менее 0,4м.
7 (п. 2.3.11). При невозможности прокладки кабелей в обочине земляного полотна трасса кабельной линии для насыпей должна проходить по бермам (при их наличии), а для выемок - по закюветным полкам глубина прокладки кабелей 0,5 м.
8 (п. 2.3.14). Запрещается прокладка кабеля в земляном полотне на участках:
с шириной обочины земляного полотна менее 0,4 м;
с деформациями пути (пучины, просадки, сдвижки, сплывы откосов, неустойчивые балластные шлейфы и т. п.), возникшими из-за слабых грунтов основания насыпи, балластных мешков и лож, переувлажнения грунтов и т. п.;
с насыпями из дренирующих грунтов с верхним слоем балластных материалов и других дренирующих грунтов суммарной мощностью менее глубины прокладки кабеля;
в скальных грунтах по дну улавливающих траншей;
на действующих участках с неполной стабилизацией земляного полотна.
9 (п. 2.5.1). Прокладка кабелей под железнодорожными путями должна производиться, как правило, в асбестоцементных трубах. При этом расстояние от поверхности балластной призмы до поверхности трубы с кабелем должно быть не менее 1 м.
На пересечении с кюветами кабели следует прокладывать на расстоянии не менее 0,5 м ниже дна кювета с устройством защиты асбестоцементными трубами, железобетонными плитами или кирпичом. При пересечении кабелей с водоотводными лотками в зависимости от конструкции они должны прокладываться в асбестоцементных или металлических трубах, либо в железобетонном желобе, как правило, ниже дна водоотводного лотка на 0,25 м.
10 (п. 2.5.3). При выборе места сооружения кабельного перехода через железнодорожные пути необходимо соблюдать следующие требования:
длина перехода, располагаемого преимущественно на прямых участках пути, должна быть минимальной и учитывать перспективу строительства новых путей;
переход следует сооружать преимущественно в местах расположения невысоких насыпей и нулевых отметок земляного полотна;
устройство переходов в выемках допускается в исключительных случаях;
пересечение должно выполняться, как правило, перпендикулярно железнодорожным путям не ближе 10 м от мест присоединения отсасывающих фидеров;
возможность размещения рабочего и приемного котлованов с учетом технических характеристик применяемых механизмов для устройства переходов скрытым способом.
11 (п. 2.5.4). Скрытый кабельный переход под железнодорожными путями должен выполняться способом прокола, продавливания или горизонтального бурения, определяемого проектом, с закладкой труб непосредственно в грунт.
Для прокладки более шести труб должно предусматриваться устройство стального футляра.
Подземный трубопровод должен иметь уклон не менее 3—4 мм на 1 м длины в любую из сторон.
12 (п. 2.12.2). Трасса прокладки кабелей в земляном полотне по его обочине согласовывается с дистанциями пути сигнализации и связи и дистанцией электроснабжения с соответствующими службами управления дороги, со всеми организациями, имеющими подземные коммуникации в районе трассы, независимо от их фактического наличия, а в местах нулевых отметок земляного полотна и при высоте насыпи до 1 м - с владельцами трубопроводов различного назначения.
При выборочной прокладке кабелей в теле земляного полотна трасса должна быть согласована со всеми организациями, перечисленными в Ведомственных нормах технологического проектирования электросвязи на железнодорожном транспорте.
13 (п. 3.3.2). Бестраншейная и траншейная прокладки кабелей с применением машин и механизмов должны производиться только после полного оттаивания грунтов земляного полотна. Запрещается прокладка кабелей в период ливневых или продолжительных дождей.
14 (п. 3.4.1 и 3.4.2). После прокладки кабелей, в земляном полотне во избежание попадания влаги, щель или траншея должны быть в тот же день засыпаны с применением механизмов или вручную однородным с земляным полотном грунтом при послойном трамбовании с коэффициентом уплотнения 0,98 для дорог I категории и вторых путей, 0,95 для дорог II и III категорий и 0,90 для дорог IV категории.
Восстановление проектных очертаний элементов земляного полотна, станков покилометрового запаса рельсов, установка путевых и сигнальных знаков в первоначальное положение должны быть произведены под контролем представителя дистанции пути не позже 3 дней после прокладки кабеля.
15 (п. 3.7.1 и 3.7.2). Участок кабельной линии автоматики и связи в земляном полотне железной дороги должен предъявляться к сдаче в эксплуатацию после полного окончания работ по монтажу и симметрированию кабелей и постановки их под скоростное избыточное давление.
В состав исполнительной документации, выполненной строительной организацией для каждого усилительного участка, кабельной линии, сооружаемой в земляном полотне железной дороги, кроме документации, предусматриваемой действующими нормативными материалами, должны входить:
проектные и исполнительские планы трасс прокладки кабелей с привязкой их к оси железной дороги, существующим пикетам, другим постоянным сооружениям (опоры контактной сети, служебно-технические здания и др.):
поперечные разрезы земляного полотна с указанием фактического расположения кабеля в характерных местах;
акты на скрытые работы.
На планах трасс прокладки кабелей должны быть указаны: привязка соединительных и разветвительных муфт, мест установки контрольно-измерительных пунктов и устройства линейно-защитных заземлений; привязка мест пересечения кабельной линии с подземными коммуникациями и инженерными сооружениями с указанием способов защиты кабелей от механических повреждений в местах пересечений; привязка мест выхода кабелей из земляного полотна в полосу отвода железной дороги; длина переходов кабелей по искусственным сооружениям с указанием типа конструкции (желоб, труба и их число); расстояние от кабеля до передней грани фундаментов опор контактной сети, опор линии электропередачи, установленных в габарите опор контактной сети, светофоров и т.п., способы защиты кабелей от механических повреждений; глубина прокладки кабелей.
16 (п. 3.7.6). Акты на скрытые работы должны составляться с участием представителей дистанций сигнализации и связи, пути, а на электрифицированных участках также дистанции электроснабжения.
17 (п. 3.7.7). После ввода в эксплуатацию дистанция сигнализации и связи должна передать в месячный срок один экземпляр трассы прокладки кабелей в земляном полотне дистанции пути, а на электрифицированных участках при прокладке кабелей вблизи опор контактной сети также дистанции электроснабжения.
18 (п. 4.1.1). Все работы на кабелях, проложенных в земляном полотне на перегонах в непосредственной близости от действующего железнодорожного пути и контактной сети на электрифицированных участках, в процессе эксплуатации кабеля должны производиться с соблюдением Правил техники безопасности и производственной санитарии при сооружении устройств СЦБ и связи и Правил безопасности для работников железнодорожного транспорта на электрифицированных линиях.
19 (п. 4.1.2). С трассой кабелей, проложенных в земляном полотне, и глубиной их заложения должны быть ознакомлены работники дистанции пути - дорожные мастера и через них путевые обходчики, обслуживающие участок, а на электрифицированных участках также работники дистанции электроснабжения.
20 (п. 4.1.3). При производстве путевых работ на участках прокладки кабелей в земляном полотне в зависимости от их характера должна быть оповещена дистанция сигнализации и связи.
21 (п. 4.1.4). Путевые работы по ремонту верхнего строения пути и земляного полотна, при которых возможно повреждение кабеля или изменение его положения по отношению к балластной призме в результате выполнения этих работ (подъемки пути, смены балласта, рихтовки пути и т. п.) должны осуществляться в присутствии представителя дистанции сигнализации и связи. При производстве работ по реконструкции и ремонту верхнего строения пути, ремонту земляного полотна кабель должен сохранять свое положение вне балластной призмы на расстоянии не менее 0,2 м от ее основания.
22 (п. 5.1.1). На участках с проложенным в земляном полотне кабелем для выполнения работ по текущему содержанию пути, за исключением работ по нарезке обочин и очистке кюветов путевым стругом, дополнительных мер по защите кабелей от механических повреждений не требуется.
Нарезку обочин и очистку кюветов на глубину, меньшую на 0,2 м фактической отметки проложенного кабеля в месте его прокладки, следует выполнять вручную.
23 (п. 5.1.2). Работы, связанные с нарушением целостности земляного полотна (устройство дренажных прорезей, лотков, дренажей, канав и т. п.) в районе проложенного кабеля, должны производиться с предварительной раскопкой кабеля в присутствии представителя дистанции сигнализации и связи.
24 (п. 5.1.3). В проектах ремонтов верхнего строения пути для производства работ по земляному полотну в зоне прокладки кабеля (выправка плана и профиля пути, укладка дренажей, ремонт и замена элементов искусственных сооружений, прокладка коммуникаций и т. п.) должны предусматриваться меры по защите кабеля от повреждений, а в необходимых случаях, при выправке плана и профиля пути - вынос кабеля из зоны работ по согласованию с дистанцией и службой сигнализации и связи.
25 (п. 5.2.2). При восстановительных работах по ликвидации повреждений и разрушений земляного полотна (сплывах откосов, размывах, обвалах, авариях и т. п.) в первую очередь необходимо вызвать представителя дистанции сигнализации и связи и принять меры по недопущению обрыва или повреждения кабеля.
26 (п. 5.2.3). Открытые участки кабеля в местах повреждения земляного полотна защищаются досками, деревянными коробами, железобетонными лотками и т. п. После этого производятся работы по восстановлению земляного полотна.
27 (п. 5.2.4). Во время производства работ по восстановлению земляного полотна при необходимости допускается вынос кабеля за пределы зоны восстановительных работ.
28 (п. 5.2.5). В случае деформации земляного полотна и повреждения кабеля последний восстанавливается силами и средствами владельцев указанных кабелей.
29 (п. 6.1.9). Если работы по прокладке или монтажу кабелей связаны с нарушением целостности земляного полотна и сооружений на перегонах, а также с нарушением габаритов приближения строений, но не требуют закрытия перегонов, руководитель работ должен получить разрешение на производство работ от начальника дистанции пути, который лично или через уполномоченного им дорожного мастера дает заявку на выдачу или отмену предупреждения.
ОГЛАВЛЕНИЕ