| Обозначение: | СТО 1.1.1.02.011.0821-2013 |
| Название рус.: | Системы и оборудование внутренней оперативной связи атомных станций. Общие технические требования |
| Статус: | действует |
| Заменяет собой: | РД ЭО 1.1.2.28.0821-2010 «Системы и оборудование внутренней оперативной связи атомных станций. Общие технические требования» |
| Дата актуализации текста: | 05.05.2017 |
| Дата добавления в базу: | 01.02.2017 |
| Дата введения в действие: | 01.03.2014 |
| Утвержден: | 13.12.2013 ОАО Концерн Росэнергоатом (9/1210-П) |
Приказ
ОАО "Концерн Росэнергоатом" от 13 декабря 2013 г. № 9/1210-П
"О введении в действие СТО 1.1.1.02.011.0821-2013"
В целях установления основных требований к системам и оборудованию внутренней оперативной связи атомных станций приказываю:
1. Ввести в действие с 01.03.2014 СТО 1.1.1.02.011.0821-2013 "Системы и оборудование внутренней оперативной связи атомных станций" (далее - СТО 1.1.1.02.011.0821-2013, приложение).
2. Руководителям структурных подразделений центрального аппарата, директорам филиалов ОАО "Концерн Росэнергоатом" принять к руководству и исполнению СТО 1.1.1.02.011.0821-2013.
3. Департаменту планирования производства, модернизации и продления срока эксплуатации (Дементьев А.А.) внести в установленном порядке СТО 1.1.1.02.011.0821-2013 в подраздел 2.1 части I Указателя технических документов, регламентирующих обеспечение безопасной эксплуатации энергоблоков АС (обязательных и рекомендуемых к использованию).
4. Признать утратившим силу РД ЭО 1.1.2.28.0821-2010 "Системы и оборудование внутренней оперативной связи атомных станций. Общие технические требования", введенный в действие приказом ОАО "Концерн Росэнергоатом" от 29.04.2010 № 533 "О введении в действие РД ЭО 1.1.2.28.0821-2010".
4. Контроль за исполнением настоящего приказа возложить на первого заместителя Генерального директора Асмолова В.Г.
|
Генеральный директор |
Е.В. Романов |
Приложение
к приказу ОАО "Концерн Росэнергоатом"
от 13 декабря 2013 г. № 9/1210-П
Стандарт организации
СТО 1.1.1.02.011.0821-2013
"Системы и оборудование внутренней оперативной
связи атомных
станций. Общие технические
требования"
Дата введения - 1 марта 2014 г.
Взамен РД ЭО 1.1.2.28.0821-2010
Настоящий стандарт организации (далее - СТО) разработан на основе Руководящего документа ОАО "Концерн Росэнергоатом" "Системы и оборудование внутренней оперативной связи атомных станций. Общие технические требования (РД ЭО 1.1.2.28.0821-2010)" с учетом введённых за период 2008 - 2013 годов федеральных нормативных документов, нормативных документов ОАО "Концерн Росэнергоатом", а также технических решений, разработанных и утвержденных при разработке проектной и рабочей документации атомных электрических станций (далее - АЭС) в рамках проекта АЭС-2006 (Ленинградская АЭС-2, Нововоронежская АЭС-2, Балтийская АЭС), а также Белоярская АЭС-2 и комплексов по переработке радиоактивных отходов.
Основные изменения и дополнения выполнены в части, касающейся:
- дополнения требованиями по системе видеорегистрации действий оперативного персонала, а также уточнения отдельных требований по организации других систем внутренней оперативной связи;
- уточнения требований по классификации оборудования внутренней оперативной связи по безопасности, обеспечению качества и сейсмостойкости;
- детализации требований по электромагнитной совместимости (ЭМС);
- уточнения требований по обеспечению надежности электроснабжения технических средств внутренней оперативной связи;
- актуализации перечня нормативных документов и библиографии.
1.1 Настоящий СТО устанавливает основные требования к системам и оборудованию внутренней оперативной связи атомных станций эксплуатирующей организации ОАО "Концерн Росэнергоатом" и имеет целью:
- формирование единой технической политики в области методологии организации внутренней оперативной связи атомных станций (далее - АС) на основе использования современных цифровых технологий;
- обеспечение оперативного прохождения Государственной экспертизы раздела "Сети связи" проектов вновь сооружаемых атомных станций.
1.2 Настоящий СТО определяет требования к системам и оборудованию внутренней оперативной связи АС в части, касающейся:
- значения и роли системы внутренней оперативной связи в составе комплекса технических средств связи (средств диспетчерско-технологического управления, СДТУ) АС;
- состава системы внутренней оперативной связи, реализуемых видов и услуг связи;
- общей организации внутренней оперативной связи на АС, а также принципов структурного построения системы оперативной связи с учетом обеспечения надежности и резервирования каналов (линий) связи и оконечного оборудования;
- взаимодействия технических средств системы внутренней оперативной связи с техническими средствами внутренней общестанционной и внешней связи АС;
- состава узлов связи АС и размещения основного оборудования оперативной связи;
- оснащения рабочих мест персонала и помещений абонентскими (терминальными) устройствами оперативной связи;
- обеспечения нормального функционирования системы оперативной связи в части, касающейся обеспечения качества, конструкции оборудования, организации электропитания, обеспечения электромагнитной совместимости (ЭМС); организации технического обслуживания и ремонта оборудования.
- основных характеристик оборудования;
- классификации оборудования внутренней оперативной связи по безопасности, сейсмостойкости и обеспечению качества.
1.3 Требования настоящего СТО являются обязательными для организаций, разрабатывающих проектную и рабочую документацию для АС с реакторами различного типа (как вновь проектируемых, так и реконструируемых), а также филиалов открытого акционерного общества "Российский концерн по производству электрической и тепловой энергии на атомных станциях ОАО "Концерн Росэнергоатом" (далее - ОАО "Концерн Росэнергоатом") - атомных электростанций.
2.1 В настоящем СТО использованы ссылки на следующие нормативные документы:
ГОСТ 14254-96 (МЭК 529-89) Степени защиты, обеспечиваемые оболочками (КОД IP)
ГОСТ 15150-69 Машины, приборы и другие технические изделия. Исполнения для различных климатических районов. Категории, условия эксплуатации, хранения и транспортирования в части воздействия климатических факторов внешней среды
ГОСТ 25804.1-83 - ГОСТ 25804.8-83 Аппаратура, приборы, устройства и оборудование систем управления технологическими процессами атомных электростанций. Общие положения
ГОСТ 27.002-89 Надежность в технике. Основные понятия. Термины и определения
ГОСТ Р 50746-2000 Совместимость технических средств электромагнитная. Технические средства для атомных станций. Технические требования и методы испытаний
ГОСТ Р 51317.2.5-2000 Совместимость технических средств электромагнитная. Электромагнитная обстановка. Классификация электромагнитных помех в местах размещения технических средств
НП 001-97 (ПНАЭ Г-01-011-97) Общие положения обеспечения безопасности атомных станций ОПБ-88/97
НП 005-98 Положение о порядке объявления аварийной обстановки, оперативной передачи информации и организации экстренной помощи атомным станциям в случае радиационно опасных ситуаций
НП 006-98 Требования к содержанию отчета по обоснованию безопасности АС с реакторами ВВЭР
НП 090-11 Требования к программе обеспечения качества для объектов использования атомной энергии
НП 018-05 Требования к содержанию отчета по обоснованию безопасности АС с реакторами на быстрых нейтронах
НП 026-04 Требования к управляющим системам, важным для безопасности атомных станций
НП 031-01 Нормы проектирования сейсмостойких атомных станций
НП 082-07 Правила ядерной безопасности реакторных установок атомных станций
НП 087-11 Требования к системам аварийного электроснабжения атомных станций
РД-210.006-90 Правила технологического проектирования атомных станций (с реакторами ВВЭР)
РД-210.019-92 Правила технологического проектирования АЭС (с реакторами БН)
РД ЭО 1.1.2.25.0329-2013 Организация технического обслуживания, эксплуатации и строительства средств диспетчерского и технологического управления на объектах атомной энергетики. Общие технические требования
СТО 1.1.1.01.0678-2007 Основные правила обеспечения эксплуатации атомных станций
СТО 1.1.1.01.0069-2013 Правила организации технического обслуживания и ремонта систем и оборудования атомных станций
В настоящем СТО использованы следующие термины с соответствующими определениями:
3.1 дублирование: Резервирование с кратностью резерва один к одному (ГОСТ 27.002).
3.2 дублирующая связь: Средства связи в составе СДТУ, позволяющие в случае отсутствия оперативной связи обеспечить руководству и сменному персоналу ведение технологической выработки продукции.
3.3 исправное состояние: Состояние объекта, при котором он соответствует всем требованиям нормативно-технической и (или) конструкторской (проектной) документации (ГОСТ 27.002).
3.4 канал связи: Комплекс технических устройств и линий связи, обеспечивающий при подключении к его окончаниям абонентских устройств передачу информации от передатчика к приёмнику; различают каналы связи телефонные, телевизионные, звукового вещания, передачи цифровой информации и др. (обобщенный термин).
3.5 линия связи: Совокупность технических устройств и физической среды, обеспечивающая распространение сигналов от передатчика к приёмнику (является составной частью канала связи); различают линии связи кабельные, радио, радиорелейные, спутниковые и др. (обобщенный термин).
3.6 неисправное состояние: Состояние объекта, при котором он не соответствует хотя бы одному из требований нормативно-технической и (или) конструкторской (проектной) документации (ГОСТ 27.002).
3.7 неработоспособное состояние: Состояние объекта, при котором значение хотя бы одного параметра, характеризующего способность выполнять заданные функции, не соответствует требованиям нормативно-технической и (или) конструкторской (проектной) документации (по ГОСТ 27.002).
3.8 оперативная связь: Комплекс технических средств, предназначенный для обеспечения связи руководству и сменному персоналу при ведении технологического процесса выработки продукции.
3.9 отказ: Событие, заключающееся в нарушении работоспособного состояния объекта (ГОСТ 27.002).
3.10 резервирование: Способ обеспечения надежности объекта за счет использования дополнительных средств и (или) возможностей, избыточных по отношению к минимально необходимым для выполнения требуемых функций (ГОСТ 27.002).
3.11 работоспособное состояние: Состояние объекта, при котором значения всех параметров, характеризующих способность выполнять заданные функции, соответствуют требованиям нормативно-технической и (или) конструкторской (проектной) документации (ГОСТ 27.002).
3.12 резервные каналы связи: Каналы связи, предусмотренные к выделению при возникновении нештатных ситуаций на АС или на время проведения учений (тренировок).
3.13 центральное оборудование связи: Коммутационное, каналообразующее, усилительное, приемопередающее и прочее системообразующее оборудование связи и оповещения, устанавливаемое, как правило, в специально оборудованных помещениях связи и на пунктах управления АС (обобщенный термин).
3.14 внеплощадочные сооружения: сооружения атомной станции, расположенные за пределами промплощадки АС, включая ЗПУПД Г и ЗПУПД РЭ.
4.1 В настоящем НД использованы следующие сокращения:
|
АВЦ |
- Аварийный внутренний центр |
|
АЛ |
- Абонентская линия |
|
АПУ-Ц |
- Автоматизированный пульт управления цифровой |
|
АРМ |
- Автоматизированное рабочее место |
|
АРМ СО |
- АРМ системы оповещения |
|
АРМ КО |
- АРМ коммутационного оборудования телефонной связи |
|
АС |
- Атомные станции |
|
АСУ П |
- Автоматизированная система управления производством |
|
АТС |
- Автоматическая телефонная станция |
|
АУ |
- Абонентское устройство |
|
АЦ |
- Аварийный центр |
|
АЭ |
- Атомная энергетика |
|
АЭС |
- Атомная электрическая станция |
|
БОУ |
- Блок оповещения универсальный |
|
БПУ |
- Блочный пункт управления |
|
БН |
- Реактор на быстрых нейтронах |
|
БСР |
- Базовая станция транкинговой радиосвязи |
|
БЩРК |
- Блочный щит радиационного контроля |
|
ВВЭР |
- Водо-водяной энергетический реактор |
|
ВДОП |
- Видеорегистрация действий оперативного персонала |
|
ГО |
- Гражданская оборона |
|
ДОП |
- Документирование оперативных переговоров |
|
ЕСЭ |
- Единая сеть электросвязи |
|
ЗИП |
- Запасное имущество и приборы |
|
ЗПА |
- Запроектная авария |
|
ЗПУПД |
- Защищенный пункт управления противоаварийными действиями |
|
ЗПУПД АС |
- ЗПУПД на промплощадке АС |
|
ЗПУПД Г |
- ЗПУПД в городе при АС |
|
ЗПУПД РЭ |
- ЗПУПД в районе эвакуации |
|
ИБП |
- Источник бесперебойного питания |
|
КБС |
- Контроллер базовой станции |
|
ЛВС |
- Локальная вычислительная сеть |
|
ЛСО |
- Локальная система оповещения |
|
МДЦМ |
- Модем цифровой модернизированный |
|
MP |
- Методические рекомендации |
|
МРЗ |
- Максимальное расчетное землетрясение |
|
МЧС |
- Министерство РФ по делам гражданской обороны, чрезвычайным ситуациям и ликвидации последствий стихийных бедствий |
|
НД |
- Нормативный документ |
|
НП |
- Нормы и правила |
|
НСС |
- Начальник смены станции |
|
ОГТС |
- Оперативная громкоговорящая и телефонная связь |
|
ОАО |
- Открытое акционерное общество |
|
ОПАС |
- Оказание экстренной помощи атомной станции |
|
ОПРК |
- Общестанционный пункт радиационного контроля |
|
ОПП |
- Оповещение и поиск персонала |
|
ПА |
- Проектная авария |
|
ПЗ |
- Проектное землетрясение |
|
ПДС |
- Пульт диспетчерской связи |
|
ПКФ |
- Проектно-конструкторский филиал |
|
ПРП |
- Помещения руководящего персонала |
|
ПУ |
- Пульт управления |
|
ПУ-О |
- Пульт управления с функциями оповещения и поиска персонала |
|
ПУ-П |
- Пульт управления с функцией поиска персонала |
|
ПУ-Р |
- Пульт управления РАС |
|
ПУГС |
- Переговорное устройство громкоговорящей связи |
|
ПУС |
- Подвижный узел связи |
|
ПЧ |
- Первичные часы |
|
РАА |
- Радиостанция абонентская автомобильная |
|
РАН |
- Радиостанция абонентская носимая |
|
РАР |
- Руководитель аварийных работ |
|
РАС |
- Радиостанция абонентская стационарная |
|
РВР |
- Резервная внутриобъектная радиосвязь |
|
РД |
- Руководящий документ |
|
РПУ |
- Резервный пункт управления |
|
PC |
- Радиосвязь |
|
РСЦО |
- Региональная система централизованного оповещения |
|
РТС |
- Радиотрансляционная сеть |
|
РТУ |
- Радиотрансляционный узел |
|
САЭ |
- Система аварийного электроснабжения |
|
СВ |
- Станция видеорегистрации |
|
СДТУ |
- Средства диспетчерского и технологического управления |
|
СЗ |
- Станция записи |
|
СК |
- Сетевой коммутатор |
|
СЛ |
- Соединительная линия |
|
СМК |
- Система менеджмента качества |
|
СНиП |
- Строительные нормы и правила |
|
СОДС |
- Сеть оперативно-диспетчерской связи |
|
ССОП |
- Сеть связи общего пользования |
|
СОУЭ |
- Система оповещения и управления эвакуацией персонала при пожарах в зданиях и сооружениях |
|
СУДВ |
- Световые устройства дублирования вызова |
|
ТА |
- Телефонный аппарат |
|
УКБ |
- Усилительно-коммутационный блок |
|
УС |
- Узел связи |
|
УСС |
- Устройство световой сигнализации |
|
УТП |
- Устройство телевизионное передающее |
|
УЭС |
- Узел электросвязи |
|
ЦК |
- Цифровой коммутатор |
|
ЦПУ |
- Центральный пункт управления |
|
ЦТП |
- Центр технической поддержки |
|
ЦУОС |
- Центральный узел общестанционной связи |
|
ЧС |
- Чрезвычайная ситуация |
|
ЩВП |
- Щит водоподготовки |
|
ЭМС |
- Электромагнитная совместимость |
|
ЭО |
- Эксплуатирующая организация |
|
DECT |
- Digital European Cordless Telephone (стандарт микросотовой связи) |
|
IP |
- International Protection (стандарт международной защиты) |
|
KKS |
- Kraftwerk Kennzeichen System (система кодирования энергетических установок) |
|
TETRA |
- Trans-European Trunked Radio (стандарт цифровой транкинговой связи). |
4.2 В настоящем СТО использованы обозначения оборудования системы внутренней оперативной связи и взаимодействующих систем в соответствии с [1].
4.2.1 Обозначения оборудования системы внутренней оперативной связи
4.2.2 Обозначения оборудования взаимодействующих систем
|
Эфирный полосовой репитер |
|
|
Сетевой коммутатор |
|
|
Станция записи |
|
|
Станция видеорегистрации |
|
|
Телефонный аппарат |
|
|
Усилительно-коммутационный блок |
|
|
Устройство телевизионное передающее |
|
|
Цифровой коммутатор |
|
|
Автоматическая телефонная станция |
|
|
Контроллер базовых станций |
|
|
Первичные часы |
|
|
Радиотрансляционный узел |
|
|
Аккумуляторная батарея |
|
|
Дизель-генератор |
|
|
Инвертор |
|
|
Распределительное устройство |
|
|
АРМ коммутационного оборудования телефонной связи |
|
|
Базовая станция транкинговой радиосвязи |
|
|
Громкоговоритель |
|
|
Источник бесперебойного питания |
|
|
Микрофон |
|
|
Переговорное устройство громкоговорящей связи |
|
|
Пульт диспетчерской связи |
|
|
Пульт управления радиостанции |
|
|
Пульт управления с функциями оповещения и поиска персонала |
|
|
Пульт управления с функцией поиска персонала |
|
|
Радиостанция абонентская автомобильная |
|
|
Радиостанция абонентская носимая |
|
|
Радиостанция абонентская стационарная |
|
5.1.1 Настоящий НД разработан с учетом того, что АС включает в свой состав как здания и сооружения промплощадки АС, так и внеплощадочные сооружения.
5.1.2 На площадке АС располагаются здания и сооружения, как правило, практически идентичных энергоблоков, а также общестанционные здания и сооружения, включая защищенный пункт управления противоаварийными действиями на площадке АС (ЗПУПД АС).
5.1.3 Внеплощадочные сооружения включают защищенные пункты управления противоаварийными действиями в городе при АС и в районе эвакуации.
5.1.3 Внеплощадочные сооружения включают защищенные пункты управления противоаварийными действиями в городе при АС и в районе эвакуации (ЗПУПД Г и ЗПУПД РЭ соответственно), а также отдельные вспомогательные сооружения.
Управление энергоблоком осуществляется оперативным персоналом блочного и резервного пунктов управления (БПУ и РПУ соответственно).
5.1.4 Обеспечивается также взаимодействие персонала вышеупомянутых пунктов управления с персоналом других пунктов и щитов управления: центрального (ЦПУ), общестанционного и блочных радиационного контроля (ОПРК и БЩРК), водоподготовки (ЩВП) энергоблоков, местных щитов (пунктов) управления различных технологических и функциональных систем АС, с персоналом, проводящим работы по месту в помещениях зданий и сооружений АС, а также с персоналом привлекаемых подразделений.
5.1.5 Оперативный и эксплуатационный персонал, организующий эксплуатацию АС в целом, а также руководящий и административный персонал размещается на общестанционной территории (в зданиях административного назначения).
5.1.6 Противоаварийное управление действиями сил и средств по локализации и ликвидации чрезвычайных ситуаций (ЧС) на АС в зависимости от складывающейся обстановки осуществляется из аварийного внутреннего центра (АВЦ) (ЗПУ ПД АС), из аварийного внешнего центра (ЗПУПД Г) или из информационно-управляющего пункта (ЗПУПД РЭ) и (или) из подвижного пункта управления (ППУ) АС с узлом связи или из подвижного узла связи (ПУС), оснащенного рабочим местом руководителя аварийных работ (РАР). Оснащение этих узлов связи средствами связи в настоящем СТО не рассматривается.
5.2.1 В соответствии с требованиями СТО 1.1.1.01.0678 комплекс технических средств связи и оповещения атомной станции является частью Комплексной системы связи управления эксплуатацией и противоаварийными действиями.
5.2.2 Комплекс технических средств связи и оповещения АС предназначен для обеспечения надежного и устойчивого управления эксплуатацией АС в повседневной деятельности и в чрезвычайных ситуациях, связи с внешними по отношению к АС объектами, а также своевременного оповещения персонала АС, города при АС, предприятий и населенных пунктов, расположенных в пятикилометровой зоне.
5.2.3 Комплекс технических средств связи и оповещения является неотъемлемой частью системы диспетчерско-технологического и противоаварийного управления, обеспечивающей безопасную эксплуатацию АС, оперативное обслуживание, оперативный контроль за ведением заданного режима энергоблоков и управление противоаварийными действиями в случае возникновения чрезвычайных ситуаций.
5.2.4 Комплекс технических средств связи и оповещения должен обеспечивать своевременную и надежную передачу оперативной информации о работе АС на все уровни управления эксплуатирующей организации (ЭО) и находиться в состоянии постоянной готовности для выполнения задач, возложенных на него в соответствии с НП 005-98.
5.2.5 Комплекс технических средств связи и оповещения АС в целом включает два взаимосвязанных комплекса: комплекс средств внутренней связи и комплекс средств внешней связи.
5.2.6 Комплекс технических средств внутренней (внутриобъектной) связи предназначен для обеспечения диспетчерско-технологического, противоаварийного и административно-хозяйственного управления в пределах как промплощадки (технологической зоны) АС, так и всех внеплощадочных сооружений, включая ЗПУПД Г и ЗПУПД РЭ.
5.2.7 Комплекс технических средств внешней связи предназначен для организации каналов и сетей связи, обеспечивающих обмен информацией между техническими средствами внутренней связи промплощадки и ее внеплощадочных сооружений, взаимодействия со всеми структурами и уровнями управления ЭО, с внешними по отношению к АС объектами, государственными органами, ведомствами и организациями, а также оповещение населения и предприятий, расположенных в зоне действия локальной системы оповещения (ЛСО).
5.2.8 Для реализации требуемых функций комплекс технических средств внутренней связи подразделяется на оперативную и общестанционную составляющие, каждая из которых включает необходимый объем видов и систем связи.
5.2.9 Общестанционная связь предназначена для административно-хозяйственного руководства и обеспечения связи между персоналом различных служб (цехов) станции, а также доведения до персонала информации радиотрансляционного и телевизионного вещания, информации о точном времени, а также осуществления дистанционного видеонаблюдения за основным технологическим оборудованием АС и выполняемыми на нем работами.
Оперативная связь предназначена для обеспечения устойчивого диспетчерско-технологического и противоаварийного управления на АС и должна обеспечивать передачу команд оперативного персонала основных пунктов управления, начальника смены станции (НСС) и руководящего персонала АС подчиненному персоналу, ведение переговоров между ними, оповещение и поиск персонала, а также автоматическую регистрацию (контрольную аудио- и видеозапись) информации, как передаваемой по каналам связи, так и о действиях оперативного персонала БПУ и РПУ.
5.3.1 Для обеспечения административно-хозяйственного руководства на АС предусматриваются следующие виды внутренней общестанционной связи:
- общестанционная (административно-хозяйственная) телефонная связь;
- беспроводная микросотовая связь;
- часофикация рабочих мест персонала;
- проводное радиотрансляционное вещание (радиофикация);
- телевизионное вещание;
- технологическое видеонаблюдение (промышленное телевидение).
5.3.2 Для обеспечения диспетчерско-технологического и противоаварийного управления на АС должны предусматриваться следующие виды внутренней оперативной связи:
а) оперативная телефонная (в том числе, прямая) связь;
б) прямая двухсторонняя громкоговорящая связь;
в) радиотелефонная (транкинговая) связь;
г) резервная внутриобъектная радиосвязь (РВР) основных пунктов управления, отвечающая требованиям [2], [3], [4], [6];
д) односторонняя громкоговорящая командно-поисковая связь;
е) звуковое и речевое оповещение персонала по сетям громкоговорящей связи, отвечающее требованиям [4], [5], [8];
ж) речевое оповещение и передача команд персоналу по сетям телефонной связи;
и) автоматическая регистрация переговоров оперативного персонала и передаваемых сигналов оповещения (контрольная звукозапись), отвечающая требованиям НП 082-07, [4], [7];
к) автоматическая регистрация аудио- и видеоинформации о действиях оперативного персонала БПУ и РПУ, отвечающая требованиям НП 082-07, [8].
5.3.3 С целью реализации вышеперечисленных видов связи в составе комплекса технических средств внутренней связи АС должен быть организован ряд независимых систем связи: оперативной и общестанционной.
Каждая из систем должна представлять собой совокупность программно-технических средств, выполняющих определенные для нее функции в принятой для АС структуре диспетчерско-технологического, противоаварийного и административно-хозяйственного управления.
5.3.4 Внутренняя общестанционная связь АС организуется, как правило, на базе следующих систем:
- системы общестанционной телефонной связи;
- системы часофикации;
- системы проводного радиотрансляционного вещания;
- системы технологического видеонаблюдения (промышленное телевидение);
- системы телевизионного вещания;
- системы эксплуатационных радиотелефонов (обеспечивает беспроводную телефонную связь технологии DECT (Digital European Cordless Telephone) и может быть организована как самостоятельная независимая система или как подсистема в составе системы общестанционной телефонной связи и (или) системы оперативной громкоговорящей и телефонной связи).
5.3.5 С учетом требований [10] по решению Заказчика внутренний и внешний аварийные центры (ЗПУПД АС и ЗПУПД Г соответственно) могут быть оснащены дополнительно средствами сотовой связи и средствами беспроводного доступа к ресурсам локальной вычислительной сети (ЛВС). При этом решения, касающиеся ЛВС, должны быть отражены в соответствующих решениях по назначению, организации и структурному построению автоматизированной системы управления производством (АСУ П).
Конкретные требования по обеспечению персонала АЦ сотовой связью и беспроводным доступом к ЛВС должны быть отражены в Задании на проектирование или в Техническом решении, утвержденном Заказчиком.
Кроме того, с учетом требований [10] по решению Заказчика в состав внутреннего и внешнего аварийных центров (ЗПУПД АС и ЗПУПД Г соответственно) могут быть включены АРМ системы видеонаблюдения (промышленного телевидения) (CYP).
В этом случае требования к назначению и функциям АРМ системы CYP, a также к его интерфейсам с оборудованием сетей данной системы, включая соответствующие изменения структуры сетей системы энергоблоков, должны быть отражены в Задании на проектирование или в Техническом решении, утвержденном Заказчиком.
5.3.6 Требования к системам и оборудованию общестанционной связи в настоящем СТО не рассматриваются, а приведены в качестве справки для общего понимания организации требуемых интерфейсов с системами оперативной связи и резервирования каналов и средств оперативной связи отдельными техническими средствами общестанционной связи.
5.3.7 Внутренняя оперативная связь АС должна быть организована на базе следующих независимых систем (подсистем) оперативной связи:
1) оперативной громкоговорящей и телефонной связи (ОГТС);
2) оповещения и поиска персонала (ОПП);
3) радиосвязи (PC);
4) документирования оперативных переговоров (ДОП);
5) видеорегистрации действий оперативного персонала (ВДОП).
5.3.8 Общие требования к организации внутренней оперативной связи АС, а также требования к построению систем оперативной связи и их оборудованию приведены ниже.
5.3.9 Для идентификации систем внутренней связи и их оборудования каждой из них должен быть присвоен индивидуальный код, назначенный в соответствии с принятой в проекте АС системой кодирования.
Кодирование систем и оборудования внутренней связи для всех вновь сооружаемых АС должно осуществляться в соответствии с системой кодирования энергетических установок по KKS (Kraftwerk Kennzeichen System).
Рекомендуемые коды систем внутренней связи по KKS приведены в приложении А.
6.1.1 Оперативная связь АС должна удовлетворять следующим основным требованиям:
- постоянная готовность к применению;
- оперативность установления связи и достоверность передачи информации;
- надежность и устойчивость;
- комплексное использование, дублирование и резервирование средств и каналов связи;
- помехоустойчивость и ЭМС с электронными средствами технологических систем АС и другими радиоэлектронными средствами, находящимися в районе расположения АС.
Оперативная связь должна обеспечивать эффективное, надежное и устойчивое управление оперативным персоналом, а также своевременное оповещение персонала АС в режимах нормальной эксплуатации, при проектных и запроектных авариях (ПА и ЗПА соответственно).
6.1.2 Структура системы оперативной связи должна основываться на структуре диспетчерско-технологического и противоаварийного управления АС, удовлетворять требованиям по оперативному оповещению персонала в чрезвычайных ситуациях, а также учитывать решения по генеральному плану.
6.2.1 Типовой состав системы оперативной связи АС и реализуемые ими основные виды и услуги связи должны соответствовать таблице 1, а организация внутренней оперативной связи многоблочной АС - типовой схеме в соответствии с приложением Б.
Таблица 1 - Типовой состав системы оперативной связи АС и реализуемые ими основные виды и услуги связи
|
Наименование системы |
Основные виды и услуги связи, реализуемые системой |
|
Система оперативной громкоговорящей и телефонной связи (ОГТС) |
Прямая телефонная связь между оперативным (дежурным) персоналом |
|
Прямая двухсторонняя громкоговорящая связь между оперативным (дежурным) персоналом |
|
|
Автоматическая телефонная связь с любыми телефонными и радиотелефонными абонентами АС, а также с внешними абонентами |
|
|
Селекторная и аудио-конференц-связь руководящего оперативного персонала с подчиненными |
|
|
Автоматическое циркулярное оповещение (автодозвон) до персонала по сетям оперативной телефонной связи |
|
|
Речевое оповещение и передача команд персоналу по сетям двухсторонней громкоговорящей связи |
|
|
Передача с абонентских устройств (АУ) данной системы команд и распоряжений по сетям системы оповещения и поиска персонала (с использованием технических средств системы общестанционной телефонной связи) |
|
|
Система оповещения и поиска персонала (ОПП) |
Избирательная передача в отдельные здания или группы зданий сигналов звукового и речевого оповещения о ЧС на территории АС |
|
Избирательная передача в отдельные здания или группы зданий распоряжений и указаний оперативного персонала и руководства подчиненному персоналу |
|
|
Трансляция по сетям системы команд и распоряжений, передаваемых персоналом с использованием абонентских устройств систем телефонной связи |
|
|
Прием и трансляция по сетям системы сигналов централизованного оповещения гражданской обороны (ГО), передаваемых по региональной системе централизованного оповещения |
|
|
Задействование ЛСО (передача сигналов оповещения и речевых команд по сетям ЛСО) |
|
|
Система радиосвязи (PC) |
Радиотелефонная (транкинговая) связь на территории АС и в прилегающей зоне |
|
РВР основных пунктов управления |
|
|
Радиосвязь взаимодействия с внешними подразделениями и формированиями, привлекаемыми для ликвидации ЧС на АС |
|
|
Система документирования оперативных переговоров (ДОП) |
Автоматическая регистрация сигналов оповещения, команд, распоряжений, а также переговоров оперативного и эксплуатационного персонала, передаваемых по каналам связи |
|
Архивирование и сохранение регистрируемой информации |
|
|
Последующее воспроизведение информации |
|
|
Система видеорегистрации действий оперативного персонала (ВДОП) |
Автоматическая видео- и аудиорегистрация действий оперативного персонала БПУ и РПУ энергоблоков |
|
Архивирование и сохранение регистрируемой информации |
|
|
Последующее воспроизведение информации |
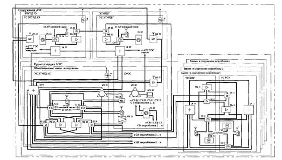
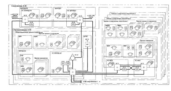
6.2.2 Основной принцип построения сетей оперативной связи - применение радиально-кольцевой топологии (типа "кольцо-звезда"). Рекомендуемое распределение основного оборудования связи по узлам связи АС в соответствии с принятой организацией оперативной связи указано на рисунке 1, решения по организации интерфейсов системы оперативной связи с взаимодействующими системами связи - на рисунке 2.
6.2.3 Перечень, технические данные, а также необходимое количество основного оборудования систем оперативной связи для АС в составе двух энергоблоков приведены в приложении В.
6.2.4 Требования к структуре и функционированию систем оперативной связи АС приведены ниже. Допускается в части построения систем оперативной связи АС применять при соответствующем обосновании решения, отличные от требуемых настоящим СТО. При этом необходимым условием отступления от требований настоящего СТО является Техническое решение Заказчика, согласованное Генпроектировщиком АС.
7.1.1 Система ОГТС предназначена для обеспечения оперативной прямой громкоговорящей и телефонной связи оперативного, эксплуатационного и руководящего состава АС.
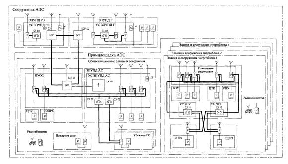
Общая структура системы оперативной громкоговорящей и телефонной связи должна отвечать типовой структурной схеме в соответствии с приложением Г.
7.1.2 Система ОГТС представляет собой комплекс технических средств диспетчерско-технологического и противоаварийного управления АС, который объединяет в единую систему технические средства промплощадки АС и ее внеплощадочных сооружений.
7.1.3 В соответствии с иерархией диспетчерско-технологического и противоаварийного управления система оперативной громкоговорящей и телефонной связи должна включать сети и технические средства:
- станционного уровня управления, охватывающие как здания и сооружения промплощадки АС, так и ее внеплощадочные сооружения;
- блочного уровня управления, охватывающие здания и сооружения энергоблоков АС.
Основные виды и услуги связи, реализуемые системой ОГТС, приведены в таблице 1, а её общая структура - на рисунке 3.
Рисунок 1 - Распределение основного оборудования
системы оперативной связи по узлам связи АС
Рисунок 2 - Организация интерфейсов систем оперативной связи
с взаимодействующими системами связи
7.1.4 Построением системы ОГТС должно быть предусмотрено:
- единая для всех уровней диспетчерско-технологического и противоаварийного управления АС система цифровой оперативной связи, включающая взаимодействующие между собой три территориально разнесенные подсистемы оперативной громкоговорящей и телефонной связи: промплощадки АС, ЗПУПД Г и ЗПУПД РЭ;
- использование взаимно резервируемых каналов внешней связи для обеспечения взаимодействия подсистем промплощадки АС, ЗПУПД Г и ЗПУПД РЭ;
- иерархическая двухуровневая структура системы оперативной связи в пределах промплощадки АС (собственные технические средства связи для блочного и станционного уровней управления);
- использование единых (построенных на единой платформе) цифровых коммутационных средств для организации каналов оперативной телефонной и двухсторонней громкоговорящей связи на всех уровнях управления АС;
- независимость цифровых коммутационных средств и образуемых ими сетей оперативной связи промплощадки АС, ЗПУПД Г и ЗПУПД РЭ;
- взаимодействие сетей связи станционного и блочного уровней управления по соединительным линиям между независимыми цифровыми коммутационными средствами этих сетей;
- резервирование каналов оперативной связи энергоблоков за счет организации двух независимых сетей для энергоблоков: сеть связи БПУ и сеть связи РПУ;
- частичное дублирование технических средств и кабельных линий;
- возможность расширения системы без нарушения ее функционирования при дальнейшем увеличении количества энергоблоков АС.
Рисунок 3 - Общая структура системы оперативной
громкоговорящей
и телефонной связи АС
7.1.5 Техническую основу системы ОГТС должны составлять цифровые коммутаторы, в качестве которых могут использоваться специализированное коммутационное оборудование производственно-технологической связи или учрежденческо-производственные АТС, обеспечивающие возможность организации на единой платформе как телефонной, так и двухсторонней громкоговорящей связи.
7.1.6 Возможно построение системы ОГТС с применением отдельного коммутационного оборудования для сетей громкоговорящей и для сетей телефонной связи (например во вспомогательных зданиях и сооружениях, строящихся после ввода АС в эксплуатацию, а также на действующих АС, при проведении модернизации и продлении срока эксплуатации блоков с целью сохранения существующей структуры построения систем связи).
Применение отдельного коммутационного оборудования для сетей громкоговорящей и телефонной связи также возможно в проектной документации, вновь проектируемых АС, при соответствующем обосновании, отраженном в Техническом решении Заказчика, согласованном Генпроектировщиком.
7.1.7 На всех сетях системы должна, по возможности, использоваться единая система нумерации (как составная часть единой системы нумерации телефонных абонентов АС).
Управление всеми ЦК системы должно осуществляться с помощью как их собственных (встроенных) технических средств, так и с АРМ КО телефонной связи, которое может быть общим, как для АТС системы общестанционной телефонной связи, так и для цифровых коммутаторов системы ОГТС.
7.1.8 В подсистеме ОГТС промплощадки АС должны быть предусмотрены независимые, но взаимодействующие между собой сети связи станционного и блочного уровней управления.
7.1.9 Сеть оперативной громкоговорящей и телефонной связи станционного (верхнего) уровня управления должна включать:
- сеть оперативной связи руководства;
- сеть оперативной связи ЗПУПД АС;
- сеть оперативной связи ЗПУПД Г;
- сеть оперативной связи ЗПУПД РЭ.
7.1.10 Сеть оперативной связи руководства должна обеспечивать решение задач диспетчерско-технологического управления АС, как в повседневной деятельности, так и в чрезвычайных ситуациях. Абонентские устройства этой сети должны охватывать персонал ЦПУ, ОПРК, руководство станции, начальников служб и цехов АС, начальников смен цехов.
7.1.11 Сети оперативной связи ЗПУПД должны обеспечивать решение задач противоаварийного управления как в пределах промплощадки, так и за ее пределами и охватывать рабочие места персонала внутреннего и соответствующих внешних ЗПУПД.
При этом сети оперативной связи внешних ЗПУПД должны быть построены на базе отдельных ЦК (ЦК 02 и ЦК 03), размещаемых на узлах связи этих сооружений, а сети оперативной связи руководства и внутреннего ЗПУПД, как правило, на базе единого для всей промплощадки ЦК 01, размещаемого на узле связи ЗПУПД АС (в зависимости от конкретных решений по генплану возможна организация этих сетей на базе двух отдельных, но взаимодействующих между собой ЦК).
7.1.12 Вне зависимости от того, в каком режиме предусматривается работа ЗПУПД АС и ЗПУПД Г (автономное функционирование без постоянного присутствия персонала в условиях нормальной эксплуатации АС или с постоянным и (или) периодическим присутствием персонала), для оборудования оперативной громкоговорящей и телефонной связи, размещаемого в ЗПУПД АС и ЗПУПД Г должно быть обеспечено:
1) непрерывное и бесперебойное функционирование ЦК в автономном режиме;
2) дистанционный контроль технического состояния и управление дежурным персоналом связи режимами работы ЦК;
3) постоянная готовность абонентских устройств к использованию по назначению.
7.1.13 Сети оперативной связи энергоблоков являются технической основой нижнего (блочного) уровня диспетчерско-технологического и противоаварийного управления и должны быть идентичными для идентичных энергоблоков АС.
7.1.14 Для повышения надежности управления на блочном уровне в каждом энергоблоке должны использоваться две независимые сети ОГТС: основная (сеть связи БПУ) и резервная (сеть связи РПУ), построенные на основе собственных технических средств - ЦК и оборудования их распределительных и абонентских сетей.
7.1.15 Основная сеть оперативной связи энергоблока предназначена для организации прямой громкоговорящей и телефонной связи оперативного персонала пунктов, щитов и постов управления и контроля энергоблока с подчиненным персоналом, а также связи между оперативным и эксплуатационным персоналом энергоблока в режиме нормального функционирования БПУ и его узла связи.
7.1.16 Основные сети оперативной связи каждого энергоблока должны строиться на базе своих собственных ЦК: ЦК 11 (для энергоблока 1), ЦК 21 (для энергоблока 2), ЦК 31 (для энергоблока 3), ЦК № 1 (для энергоблока n).
7.1.17 Резервная сеть оперативной связи энергоблока должна выполнять в аварийном режиме эксплуатации (нарушение нормального функционирования БПУ и (или) узла связи БПУ) те же функции, что и основная сеть в режиме нормальной эксплуатации АС. Резервные сети оперативной связи каждого энергоблока также должны строиться на базе своих собственных ЦК: ЦК 12 (для энергоблока 1), ЦК 22 (для энергоблока 2), ЦК 32 (для энергоблока 3), ЦК № 2 (для энергоблока n) аналогично основным сетям.
7.1.18 В составе системы ОГТС должно быть предусмотрено использование абонентских устройств следующих видов:
- пульты диспетчерской связи (ПДС) - системные цифровые многофункциональные устройства, обеспечивающие прямой вызов абонентов, организацию конференц-связи и селекторных совещаний, а также другие разнообразные диспетчерские функции оперативной связи. Пульты диспетчерской связи должны устанавливаться на рабочих местах персонала в ЗПУПД АС, ЗПУПД Г, ЗПУПД РЭ, в помещениях ЦПУ и ОПРК, на рабочих местах оперативного персонала энергоблоков (БПУ, РПУ, БЩРК, ЩВП);
- телефонные аппараты многофункциональные с кнопочным номеронабирателем, офисного исполнения (настольные и настенные);
- телефонные аппараты специальные промышленного исполнения, с номеронабирателем, с повышенным уровнем вызывного сигнала, с обеспечением возможности подключения светового устройства дублирования вызова;
- переговорные устройства громкоговорящей связи (ПУГС), имеющие не менее трех рычагов (клавиш) вызова прямых абонентов, микрофон, встроенный усилитель, световое устройство сигнализации вызова (проблесковый маячок), и обеспечивающие возможность подключения дополнительных внешних громкоговорителей и световых устройств дублирования вызова (СУДВ), используемых в случае установки в помещениях с повышенным уровнем шума.
В составе системы возможно также применение телефонных аппаратов без номеронабирателя (офисного или промышленного, настольного или настенного исполнения).
7.1.19 В системе ОГТС должна быть обеспечена возможность организации сети оперативно-диспетчерской связи (СОДС), включающей абонентов, имеющих в качестве абонентских устройств ПДС, а также специально выделенные ПУГС или ТА.
7.1.20 Основные требования к организации СОДС:
- СОДС должна создаваться путем закрепления за каждым ПДС и выделенными ПУГС и ТА определенной группы прямых абонентов системы;
- СОДС должна быть "прозрачной" для любых прямых абонентов, закрепленных за данными ПДС или ПУГС;
- для любого абонента СОДС должна быть предусмотрена возможность определения его в качестве прямого абонента для нескольких ПДС, ПУГС и ТА;
- выделение абонентских устройств, создание групп абонентов, установка набора требуемых функций для каждого ПДС и ПУГС должны выполняться программными средствами соответствующих ЦК (с возможностью оперативного перепрограммирования).
7.1.21 Требования по "прозрачности" СОДС означают возможность предоставления абонентам ПДС, как минимум, следующих услуг:
а) функции прямого вызова и оперативного установления связи с любым прямым абонентом СОДС (время коммутации канала связи между устройствами не должно превышать 800 мс);
б) отображения (световой и звуковой индикации) вызовов, поступающих от прямых абонентов СОДС;
в) принудительного вызова занятого прямого абонента;
г) одновременного вызова и установления соединений с несколькими абонентами (конференц-связь, селекторные совещания) - только для абонентов ПДС;
д) отображения состояния абонентских устройств прямых абонентов.
7.1.22 Для абонентов сети ОГТС станционного уровня управления должна быть предусмотрена возможность непосредственного установления двусторонней связи с любыми абонентами этой системы, а также с абонентами системы общестанционной телефонной связи и системы PC.
7.1.23 С использованием абонентских устройств оперативной связи, устанавливаемых на основных пунктах управления и на рабочих местах руководства, начальников цехов, отделов, служб, должен быть обеспечен выход на каналы сети связи общего пользования (ССОП) единой сети электросвязи (ЕСЭ) Российской Федерации через АТС соответствующих узлов электросвязи (УЭС); для указанных абонентов также должна быть обеспечена (с использованием АТС 01 системы общестанционной телефонной связи) возможность передачи речевых сообщений по сетям системы ОПП и связь с абонентами системы эксплуатационных радиотелефонов (смотрите 5.3.3).
7.1.24 Для абонентов сети оперативной связи энергоблоков должна быть предусмотрена возможность установления двусторонней связи с любыми абонентами данной системы, а также (с использованием ЦК 01) с абонентами системы радиосвязи, системы общестанционной телефонной связи и системы эксплуатационных радиотелефонов.
7.1.25 Сети оперативной связи энергоблока должны охватывать все основные пункты (щиты) управления (БПУ, РПУ, БЩРК, ЩВП), местные щиты управления, помещения с постоянным присутствием персонала, отдельные периодически обслуживаемые помещения, а также коридоры и другие места на основных путях эвакуации персонала; сети оперативной связи энергоблоков должны обязательно охватывать транспортные шлюзы и шлюзы для прохода персонала в гермозону.
7.1.26 При этом в шлюзах, помещениях технических средств системы контроля и управления, местных щитов управления каналов безопасности и в других помещениях, содержащих оборудование важное для безопасности, должны устанавливаться абонентские устройства как основной, так и резервной сетей оперативной связи энергоблоков.
Телефонные аппараты, размещаемые в помещениях с повышенным уровнем шума, должны быть помещены в шумозащищающие кабины и дополнительно оснащены световыми устройствами дублирования вызовов, установленными вне кабины.
7.1.27 Для реализации функций, выполняемых системой ОГТС, между ЦК и взаимодействующим оборудованием других систем связи должны быть предусмотрены цифровые СЛ в соответствии с приложением Г.
7.1.28 СЛ между ЦК основных и резервных сетей энергоблоков (ЦК 11 - ЦК 12 и ЦК 21 - ЦК 22) должны обеспечивать резервирование сетей оперативной связи энергоблока за счет обеспечения возможности оперативного перехода на резервные сети связи при отказах коммутационного оборудования или абонентских линий (АЛ) основных сетей.
7.1.29 СЛ от ЦК 01 в направлении к ЦК 11, ЦК 12, ЦК 21, ЦК 22 должны обеспечивать возможность установления связи между должностными лицами станционного и блочного уровней управления, персоналом ЗПУПД, создания обходных маршрутов установления соединений, обеспечения выхода персонала энергоблоков на сети связи системы общестанционной телефонной связи, системы PC, и системы эксплуатационных радиотелефонов, а также (при необходимости) на внешние сети связи.
7.1.30 СЛ между ЦК всех ЗПУПД и СЛ, организуемые от соответствующих ЦК системы ОГТС к АТС общестанционной телефонной связи и АТС УЭС ЕСЭ Российской Федерации должны обеспечивать включение абонентов внешних ЗПУПД в единую сеть оперативной связи АС, установление связи абонентов оперативной связи с абонентами общестанционной телефонной связи и с внешними абонентами, а также создание обходных маршрутов установления соединений.
Кроме того, СЛ между ЦК 01 и АТС 01 должны обеспечивать для абонентов системы ОГТС возможности организации двусторонней телефонной связи с абонентами системы эксплуатационных радиотелефонов и передачи речевых сообщений по сетям системы ОПП (обеспечивается с учетом соответствующих СЛ предусматриваемых от АТС 01).
7.1.31 СЛ, прокладываемые к базовой станции транкинговой радиосвязи БСР 01, организуются с целью обеспечения связи абонентов оперативной связи с подвижными и стационарными радиоабонентами системы PC.
СЛ между ЦК и станциями записи (СЗ) системы ДОП организуются с целью обеспечения контрольной звукозаписи переговоров персонала, ведущихся по каналам системы ОТГС. Характеристики ЦК и интерфейсы СЛ между ними и СЗ должны быть определены с учетом необходимости оперативного определения программными средствами группы абонентов, переговоры которых подлежат звукозаписи, формирования служебной информации, позволяющей идентифицировать вызывающего и вызываемого абонентов и передачи ее на СЗ в одном цифровом потоке вместе с записываемыми переговорами.
7.1.32 С целью своевременного и оперативного контроля работоспособности коммутационного оборудования системы ОТГС должна быть предусмотрена возможность автоматизированного диагностирования работоспособности ЦК и передачи диагностической информации от них на АРМ КО. Одновременно АРМ КО должно обеспечивать возможность конфигурирования системы и дистанционного управления ЦК.
АРМ КО может быть единым для системы ОГТС и системы общестанционной телефонной связи и входить в состав одной из этих систем.
7.1.33 Функции диагностирования прочего оборудования системы (в зависимости от ее глубины и назначения) должны быть реализованы встроенными средствами диагностирования технических средств системы или на базе дополнительных программно-аппаратных средств.
Автоматизированное диагностирование работоспособности оборудования должно осуществляться без перерывов в работе оборудования.
7.2.1 Система ОПП предназначена для передачи аварийных сигналов и команд речевого оповещения, поиска персонала и передачи ему распоряжений и указаний в экстремальных ситуациях, для автоматического приема и трансляции сигналов оповещения ГО, передаваемых по региональной системе централизованного оповещения (РСЦО), а также для задействования ЛСО (передачи сигналов оповещения и речевых команд по сетям ЛСО).
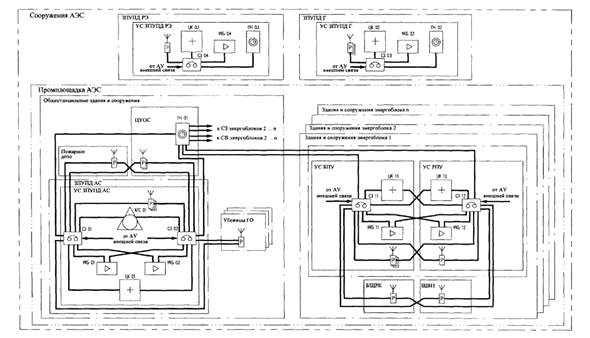
Структура и организация оповещения и поиска персонала должны соответствовать типовым схемам, указанным на рисунках Д.1 и Д.2 (приложение Д).
Основные виды и услуги, реализуемые в системе ОПП, приведены в таблице 1.
7.2.2 Построением системы ОПП должна быть обеспечена единая для всех уровней диспетчерско-технологического и противоаварийного управления АС система, включающая взаимодействующие между собой три основные независимые подсистемы оповещения и поиска персонала: промплощадки АС, ЗПУПД Г и ЗПУПД РЭ. Кроме того, возможна организация подсистем, построенных на своих собственных средствах (УКБ, СК, ПУ, линии управления и сети звукового вещания) в отдельных внеплощадочных сооружениях.
7.2.3 Взаимодействие этих территориально разнесенных подсистем должно осуществляться по каналам внешней связи;
- иерархическая двухуровневая структура оповещения и поиска персонала в пределах промплощадки АС: собственные технические средства связи для блочного и станционного уровней диспетчерско-технологического и противоаварийного управления;
- использование единых сетевых и усилительно-коммутационных средств для организации линий оповещения и поиска персонала на всех уровнях управления;
- взаимодействие сетей связи станционного и блочного уровней управления по линиям связи, прокладываемым между независимыми сетевыми и усилительно-коммутационными средствами этих сетей;
- резервирование сетей оповещения и поиска персонала за счет организации двух независимых сетей (основной и дублирующей) для каждого энергоблока и промплощадки АС, независимых усилительно-коммутационных средств, устанавливаемых на узлах связи БПУ, РПУ, и ЗПУПД АС, а также дублирования технических средств (распределительное и оконечное оборудование) и кабельных линий сетей оповещения;
- многоуровневая система приоритетов инициализации и передачи сигналов оповещения и речевых сообщений по сетям системы;
- разделение территории энергоблоков и общестанционных зданий и сооружений на отдельные зоны оповещения и поиска персонала с выделением для каждого уровня управления зон оповещения (индивидуальных, групповых, общих);
- закрепление за каждым усилительно-коммутационным блоком (УКБ) определенного набора зон оповещения, охватываемых его сетями звукового вещания;
- закрепление за каждым пультом управления (ПУ) определенного набора зон оповещения (в соответствии с принадлежностью данного ПУ к определенному уровню управления);
- возможность перехвата линий управления ПУ верхнего (станционного) уровня управления (в соответствии с назначенным приоритетом) для передачи сигналов оповещения и (или) речевых сообщений в зоны, закрепленные за УКБ нижнего (блочного) уровня управления;
- возможность одновременной передачи в различные зоны оповещения, закрепленные за одним УКБ, сигналов оповещения и (или) речевых сообщений, инициируемых не менее чем тремя различными пультами управления или абонентскими устройствами систем телефонной связи;
- инициализация набора звуковых сигналов, применяемых для оповещения при различных аварийных и нештатных ситуациях и отличающихся по своим характеристикам;
- исключение возможности несанкционированного задействования ПУ для передачи аварийных сигналов оповещения путем его механической или бесконтактной электромагнитной блокировки с помощью специального ключа доступа;
- использование для речевого оповещения заранее подготовленных и записанных в оперативную память технических средств системы текстов сообщений, а также непосредственная передача речевых сообщений оператором с помощью микрофона;
- инициализация и трансляция по сетям системы непосредственно перед передачей речевого сообщения специального звукового сигнала для привлечения внимания персонала, отличающегося по своим характеристикам от аварийных сигналов оповещения;
- организация проводного радиотрансляционного вещания в ЗПУПД Г и ЗПУПД РЭ с использованием установленных в них усилительно-коммутационных блоков. При этом прием информации радиотрансляционного вещания УКБ в ЗПУПД Г должен осуществляться от местной радиотрансляционной сети (РТС) города при АС, а в ЗПУПД РЭ передаваться по цифровым каналам внешней связи с использованием оборудования аналого-цифрового преобразования. Возможны также варианты приема программ радиовещания в ЗПУПД РЭ от РТС района эвакуации или применения на всех площадках радиоприемных устройств;
- использование технических средств системы - ОПП в качестве оповещения и управления эвакуацией персонала при пожарах в зданиях и сооружениях АС;
- возможность приема и трансляции по сетям оповещения зданий и сооружений АС, а также по сетям ЛСО сигналов оповещения ГО, передаваемых по РСЦО;
- использование технических средств системы для обеспечения запуска и задействования ЛСО;
- возможность расширения системы без нарушения ее функционирования при дальнейшем увеличении количества энергоблоков АС.
7.2.4 Основу системы должны составлять УКБ, предназначенные для усиления сигналов до необходимой мощности и распределение ее по линиям звукового вещания, а также обеспечивающие формирование сигналов оповещения и передачу их и речевых сообщений от пультов управления, устанавливаемых на рабочих местах персонала АС. Функции формирования сигналов оповещения могут быть реализованы также и на пультах управления.
7.2.5 УКБ основной сети оповещения и поиска персонала должны находиться в постоянной готовности к работе (рабочий режим), дублирующей сети - в дежурном режиме (в горячем резерве). Перевод управления с основного на дублирующий УКБ должен осуществляться как вручную с любого (основного или дублирующего) пульта управления системы, так и автоматически при отказе элементов основной сети.
7.2.6 С целью реализации системы приоритетов в системе должна быть организована собственная локальная сеть линий управления, построенная на основе сетевых коммутаторов (СК) (основных и дублирующих) по радиально-кольцевой структуре (с применением волоконно-оптических кабелей). Подключение выходов ПУ и входов УКБ к основным и дублирующим СК должно обеспечивать возможность оперативной коммутации между ними вне зависимости от принадлежности ПУ или УКБ к основной или дублирующей сетям, позволяющей передавать сигналы с любого ПУ как в основные, так и дублирующие сети оповещения и поиска персонала.
7.2.7 В системе должно быть предусмотрено два вида пультов управления:
- обеспечивающие возможность передачи только речевых сообщений (ПУ-П);
- обеспечивающие возможность передачи, как речевых сообщений, так и аварийных сигналов оповещения (ПУ-О); в системе должно быть предусмотрено дублирование ПУ данного вида.
Рекомендуемые варианты организации локальной сети линий управления системы ОПП для АС с различным количеством энергоблоков приведены на рисунках 4 - 6.
7.2.8 В системе должно быть предусмотрено три вида зон передачи аварийных сигналов оповещения и команд поиска персонала АС:
- индивидуальные - охватывают здание целиком, часть здания или несколько небольших зданий одного и того же функционального назначения или с одинаковыми технологическими производственными процессами;
- групповые - охватывают одновременно группу зданий, объединенных однотипными технологическими производственными процессами;
- общие - охватывают энергоблок в целом, общестанционную часть или всю территорию АС.
7.2.9 Количество зон оповещения, их группирование и закрепление зданий и сооружений за определенными зонами должно определяться индивидуально для каждой АС в соответствии с конкретными решениями по генплану и принятой структурой диспетчерско-технологического и противоаварийного управления.
Рисунок 4 - Организация локальной сети линий управления для
АС в составе двух энергоблоков
Рисунок 5 - Организация локальной сети линий управления для
АС в составе трех энергоблоков
Рисунок 6 - Организация локальной сети линий управления для
АС в составе четырех энергоблоков
7.2.10 Для АС в составе двух энергоблоков типовым вариантом построения системы рекомендуется организация следующих зон оповещения:
- на блочном уровне управления в каждом энергоблоке - 22 индивидуальные зоны (охватывают различные здания и сооружения энергоблока и прилегающую к ним внутриплощадочную территорию блока), одна общая зона (охватывает все здания и сооружения энергоблока) и три групповые зоны, охватывающие:
1) комплекс зданий и сооружений, обеспечивающих преобразование ядерной энергии в тепловую ("ядерный остров");
2) комплекс зданий и сооружений, обеспечивающих преобразование тепловой энергии в электрическую ("турбинный остров");
3) все вспомогательные здания энергоблока;
- на станционном уровне управления - 32 индивидуальные зоны (охватывают различные общестанционные здания и сооружения и прилегающую к ним внутриплощадочную территорию АС), одна общая зона (охватывает все здания и сооружения АС) и шесть групповых зон, охватывающих:
а) все общестанционные здания и сооружения промплощадки АС;
б) все здания и сооружения энергоблока 1;
в) все здания и сооружения энергоблока 2;
г) промплощадку АС (объединяет три вышеперечисленные зоны);
д) ЗПУПД Г;
е) ЗПУПД РЭ.
7.2.11 Количество индивидуальных зон оповещения определяется решениями по генеральному плану АС и может несколько отличаться от решений, приведенных выше.
В соответствии с организацией зон (индивидуальные, групповые, общие) в системе на каждом уровне управления должна быть обеспечена возможность инициализации соответствующих групп сигналов: индивидуальных, групповых, общих.
7.2.12 Выбор зон оповещения, доступных для данного уровня, формирование и посылка в них соответствующих сигналов должны осуществляться с помощью ПУ; закрепление зон оповещения за каждым ПУ должно обеспечиваться программными средствами.
7.2.13 В системе должно быть обеспечено формирование сигналов следующих видов:
- звуковых - аварийные сигналы оповещения;
- речевых - команды поиска персонала и передачи ему указаний;
- световых - сигналы дублирования звуковых сигналов и речевых сообщений (для помещений с повышенным уровнем шума), формируемых устройствами световой сигнализации (УСС) автоматически при поступлении сигналов на громкоговорители.
7.2.14 С целью обеспечения бесконфликтного управления сетями в системе должна быть организована многоуровневая система приоритетов, отображающая принятую для АС структуру диспетчерско-технологического и противоаварийного управления, с возможностью назначения каждому ПУ (рабочему месту) соответствующего приоритета. Назначение приоритетов и их перераспределение (по заранее предусмотренным алгоритмам) должно обеспечиваться программными средствами с АРМ системы оповещения и поиска персонала (АРМ СО).
7.2.15 Системой приоритетов должны предусматриваться три группы пультов управления, которым назначаются следующие приоритеты:
- первый (высший) - для ПУ-О, устанавливаемых на ЦПУ и на отдельных рабочих местах оперативного персонала ЗПУПД;
- второй - для ПУ-О, устанавливаемых на БПУ и РПУ;
- третий - для всех ПУ-П.
При этом должна быть предусмотрена возможность назначения индивидуальных приоритетов внутри каждой группы ПУ.
7.2.16 При поступлении на технические средства системы сигналов оповещения ГО, передаваемых по РСЦО, а также сигналов оповещения, передаваемых по ЛСО, имеющих более высокий приоритет по сравнению с сигналами, формируемыми пультами управления системы, передача всех других видов сигналов и сообщений должна автоматически прекращаться.
7.2.17 Выходная мощность и количество выходных линий каждого УКБ должны определяться расчетом с учетом размеров территории, охватываемой сетями звукового вещания, подключенными к этому УКБ, количеством индивидуальных зон оповещения и поиска персонала, закрепленных за УКБ, а также уровнем постороннего акустического шума от технологического оборудования в обслуживаемых системой помещениях.
7.2.18 Оборудование системы ОПП должно непосредственно взаимодействовать с оборудованием систем общестанционной телефонной связи, проводного радиотрансляционного вещания и ДОП.
7.2.19 Организация соединительных линий между оборудованием системы и другим взаимодействующим оборудованием указана на рисунке Д.1 (приложение Д).
Организация СЛ между СК 02 и АТС 01 системы общестанционной телефонной связи должна обеспечивать возможность речевого оповещения персонала и передачу ему команд и указаний по сетям системы ОПП с использованием абонентских устройств систем телефонной связи.
Организация СЛ между СК 01 и РТУ 01 системы проводного радиотрансляционного вещания должна обеспечивать возможность автоматического блокирования передач программ радиотрансляционного вещания в те зоны, которые задействуются для передачи сигналов оповещения и речевых сообщений.
Организация СЛ между УКБ и СЗ (основными и дублирующими) системы ДОП должна обеспечивать регистрацию (контрольную звукозапись) сигналов оповещения и речевых команд, распоряжений и указаний оперативного персонала, передаваемых по сетям системы ОПП.
7.2.20 Регистрация сигналов оповещения и команд, передаваемых по сетям системы ОПП, возможна также путем организации СЛ между СЗ и сетевыми коммутаторами системы ОПП, однако при организации СЛ непосредственно от УКБ (приложение Ж) информация о регистрации более достоверна.
Прием сигналов централизованного оповещения, передаваемых по РСЦО от органа управления по делам ГОЧС субъекта РФ, должен осуществляться с помощью оборудования приема сигналов централизованного оповещения, устанавливаемого на узле связи либо ЗПУПД Г, либо ЗПУПД АС.
7.2.21 В зависимости от варианта построения РСЦО, в качестве этого оборудования может использоваться:
- автоматизированный пульт управления П-166 АПУ-Ц - в случае подключения к РСЦО, построенной на базе цифровой аппаратуры оповещения П-166 Ц;
- автоматизированный пульт управления П-166 АПУ-Ц совместно с оборудованием П-166 БОУ (блок оповещения универсальный) и П-166 МДЦМ (модем цифровой модернизированный) - в случае подключения к РСЦО, построенной на базе аналоговой аппаратуры оповещения П-166;
- блок сопряжения с аппаратурой П-160, П-164 совместно с ПУ системы ОПП - в случае подключения к РСЦО, построенной на базе аналоговой аппаратуры оповещения П-160 или П-164.
7.2.22 Дальнейшее доведение сигналов централизованного оповещения до громкоговорителей системы ОПП должно осуществляться ее техническими средствами. Кроме того, технические средства системы должны обеспечивать трансляцию принимаемых сигналов централизованного оповещения на оборудование ЛСО и обеспечивать выполнение требований, изложенных в [6].
7.2.23 Задействование ЛСО для оповещения объектов и населенных пунктов в зоне ее действия при этом может осуществляться как с помощью ПУ системы ОПП, так и с помощью автоматизированного пульта управления П-166 АПУ-Ц по каналам связи, организованным между оборудованием системы ОПП, расположенным на узле связи ЗПУПД АС, и оборудованием ЛСО.
7.2.24 Контроль технического состояния основного оборудования системы ОПП должен обеспечиваться встроенными аппаратными средствами и программным обеспечением этого оборудования. Кроме того, на аппаратные и программные средства этого оборудования возлагаются функции передачи информации о техническом состоянии на АРМ СО. Автоматизированное диагностирование работоспособности оборудования должно осуществляться без перерывов в работе оборудования.
7.3.1 Система PC предназначена для организации двухсторонней радиотелефонной связи персонала на территории АС и в прилегающей зоне (включая ЗПУПД Г и район размещения ЗПУПД РЭ), а также пунктов управления и руководящего персонала АС в чрезвычайных ситуациях, при нарушениях в работе проводных каналов, недостатке наземных каналов, а также при отсутствии других средств связи в местах производства работ.
7.3.2 Система PC должна представлять собой транкинговую систему цифровой радиосвязи с автоматическим перераспределением каналов в соответствии со стандартом TETRA, обеспечивающую эффективную и конфиденциальную связь большому количеству радиоабонентов и удаленных групп, доступ всех радиоабонентов к выделенному числу радиоканалов, а также выход на сети систем телефонной и беспроводной телефонной связи АС.
7.3.3 Система PC должна быть построена по принципу трехзоновой (или, как минимум, двухзоновой) системы, основу которой должны составлять взаиморезервирующие базовые станции радиосвязи: БСР 01 (промплощадка АС), БСР 02 (ЗПУПД Г) и БСР 03 (ЗГТУПД РЭ), взаимодействующие по многоканальным цифровым СЛ, образуемым оборудованием комплекса средств внешней связи.
Структура трехзоновой системы PC показана на типовой структурной схеме в соответствии с приложением Е.
7.3.4 Построением системы PC должны быть предусмотрены следующие основные функции:
- речевые соединения (индивидуальные и групповые вызовы);
- цифровой сервис (передача статусных сообщений, коротких блоков данных, пакетов данных);
- всеобщий вызов (вызов и сообщение для всех радиоабонентов системы передается из какого-либо пункта управления);
- аварийный вызов (обслуживание вне очереди);
- выделение отдельного радиоканала высшего приоритета доступа для организации связи в экстренных случаях;
- обеспечение передачи в эфир специального сигнала, по которому базовая станция переводит все абонентские радиостанции в режим групповой связи (для радиостанции высшего приоритета);
- диспетчерская связь (диспетчерская рабочая станция - радиоабонент);
- установка приоритетов определенной категории абонентов;
- передача текстовых сообщений (на русском языке) с уведомлением;
- определение статуса радиоабонента (вкл./выкл./занят);
- определение номера вызывающего радиоабонента;
- DTMF донабор;
- роуминг радиоабонентов;
- аутентификация радиоабонентов (защита от двойников);
- шифрование информации, передаваемой по радиоканалам;
- организация радиоканалов между радиоабонентами, как с использованием базовых станций, так и без их использования;
- режим мобильного ретранслятора. Режим "прямой" связи через мобильный ретранслятор позволяет расширить зону действия радиостанций как в режиме транкинговой радиосвязи, так и без использования базовой станции. Роль мобильного ретранслятора для абонентов, находящихся на значительном удалении от базовых станций (за пределами зон радиопокрытия), может выполнять одна из абонентских радиостанций, которая для этих целей переводится в режим ретранслятора, либо специальный дополнительный переносной ретранслятор;
- обеспечение выхода на сети транкинговой связи ОАО "Концерн Росэнергоатом".
Построением системы должна быть предусмотрена возможность ее расширения без нарушения функционирования при дальнейшем увеличении количества энергоблоков АС.
7.3.5 Количество несущих частот для базовых станций ЗПУПД АС и ЗПУПД Г должно выбираться с таким расчетом, чтобы они обеспечивали обслуживание с допустимым качеством обслуживания не менее 300 радиоабонентов для двухблочной АС и не менее 560 радиоабонентов для четырехблочной АС.
В ЗПУПД РЭ, как правило, должна использоваться базовая станция с одной, двумя несущими частотами.
Диапазон рабочих частот определяется для каждой АС индивидуально.
7.3.6 В состав системы должны входить радиостанции абонентские: стационарные (РАС), носимые (РАН) и автомобильные (РАА), предназначенные, в том числе, для оснащения ППУ АС, а также (с целью радиоохвата помещений подземных ЗПУПД АС, ЗПУПД Г и ЗПУПД РЭ) эфирные полосовые репитеры (Рп) с собственными наружными антеннами. Для этой цели могут также применяться оптические полосовые репитеры (на схемах не показаны); при применении сети оптических полосовых репитеров используются антенны базовых станций.
7.3.7 Радиостанциями абонентскими стационарными должны оснащаться все основные пункты (щиты) управления (БПУ, РПУ, БЩРК, ЩВП и пр.) и центры технической поддержки (ЦТП) энергоблоков, общестанционные пункты управления (ЦПУ, ОПРК), внутренний и внешние ЗПУПД, убежища ГО, пожарное депо и другие необходимые помещения и рабочие места персонала в соответствии с принятой на АС структурой диспетчерско-технологического и противоаварийного управления.
7.3.8 Для обеспечения ЭМС с радиоэлектронными средствами других технологических систем АС радиостанции абонентские стационарные (имеющие в своем составе высокочастотные блоки) должны быть вынесены за пределы помещений тех пунктов управления (рабочих мест), для которых они обеспечивают радиосвязь, а на рабочих местах должны устанавливаться низкочастотные пульты управления радиостанций (ПУ-Р).
7.3.9 Антенны стационарных радиостанций, обслуживающих помещения пунктов и щитов управления, а также помещения оперативного персонала, должны монтироваться, как правило, на крышах зданий с использованием радиомачт, а антенны радиостанций, обслуживающих ЗПУПД - на специальных мачтовых опорах, устанавливаемых вне границ возможных завалов, которые могут быть созданы ближайшими к ним сооружениями.
7.3.10 Антенны базовых станций должны монтироваться на специальных, отдельно стоящих мачтовых опорах или на крышах зданий с использованием, при необходимости, радиомачт. В состав антенно-фидерных трактов базовых станций и РАС должны быть включены грозоразрядники.
7.3.11 Для обеспечения ЭМС с техническими средствами других технологических систем АС до начала использования радиосредств на атомной станции должны быть определены зоны (здания, помещения и (или) места), в которых использование РАН не допускается.
7.3.12 Должна быть обеспечена ЭМС радиосредств АС и группы оказания экстренной помощи атомным станциям (ОПАС), а также обеспечена возможность совместной работы этих радиосредств в единой системе радиосвязи (в соответствии с принятой концепцией эксплуатирующей организации средства радиосвязи группы ОПАС должны входить в единую систему радиосвязи).
7.3.13 Для обеспечения эффективного управления персоналом АС в системе PC должна быть предусмотрена организация ряда групп (НСС, начальников смен энергоблоков, персонала других пунктов и щитов управления, персонала ЗПУПД).
7.3.14 Должно быть обеспечено назначение приоритетов радиоабонентов в соответствии с принятой для АС структурой диспетчерско-технологического и противоаварийного управления.
7.3.15 При организации группового вызова должно быть обеспечено формирование определенной радиосети из требуемой группы абонентов с возможностью ведения радиообмена между любыми абонентами данной группы.
Оборудование системы PC должно непосредственно взаимодействовать с оборудованием систем ОГТС и ДОП.
7.3.16 Организация соединительных линий между оборудованием системы PC и оборудованием взаимодействующих систем связи должна соответствовать схеме, представленной в приложении Е.
Коммутационное оборудование транкинговой радиосвязи, входящее в состав системы, на схеме не показано.
7.3.17 Использование СЛ, организуемой между БСР 01 и ЦК 01, должно обеспечивать установление двусторонней связи между абонентами этих систем. С использованием этой СЛ, а также СЛ, организуемых от АТС 01 общестанционной телефонной связи в направлениях к ЦК 01 системы ОГТС и к контроллеру базовых станций (КБС) беспроводной микросотовой связи КБС 01 системы эксплуатационных радиотелефонов (приложение Б), должно обеспечиваться установление соединений радиоабонентов системы PC с абонентами систем общестанционной телефонной связи и эксплуатационных радиотелефонов.
7.3.18 Соединительные линии между радиостанциями абонентскими стационарными и станциями записи системы ДОП должны обеспечивать регистрацию (контрольную звукозапись) переговоров персонала, ведущихся по сетям радиосвязи.
7.3.19 Диспетчеризация системы PC должна обеспечивать высокую информативность контроля работоспособности базовой станции и сетевых соединений, управление радиоабонентами посредством прикладных программ, присвоение подвижным пользователям и группам различных уровней доступа в систему, разрешение или запрет возможности установления соединений с абонентами систем телефонной связи.
7.3.20 Управление системой должно обеспечивать программную конфигурацию оборудования системы и ее функций. Встроенная система диагностирования оборудования должна обеспечить предоставление детальной информации эксплуатационного статуса по всем элементам системы и телефонной загрузке, а также по состоянию и неисправности отдельных элементов системы.
Проектирование и применение средств транкинговой радиосвязи должно осуществляться с учетом [6]; применение абонентских радиостанций должно соответствовать требованиям [3].
7.4.1 Система ДОП предназначена для автоматического документирования (регистрации) на магнитном или электронном носителе сигналов оповещения, команд, распоряжений, передаваемых по каналам связи, а также переговоров оперативного персонала, ведущихся по каналам связи.
В соответствии с НП 082-07 система ДОП на всех уровнях управления должна сохранять работоспособность и обеспечивать сохранение регистрируемой информации в условиях нарушений в энергосистеме, нарушений в работе АС, при ПА и ЗПА.
Организация документирования оперативных переговоров показана на типовой схеме в соответствии с приложением Ж.
7.4.2 Построением системы ДОП должно быть предусмотрено:
- единая для всех уровней диспетчерско-технологического и противоаварийного управления система, включающая независимые подсистемы, обеспечивающие документирование переговоров оперативного персонала энергоблоков, общестанционных зданий промплощадки АС, ЗПУПД Г и ЗПУПД РЭ;
- круглосуточное автоматическое документирование следующих видов информации:
1) переговоров оперативного персонала, по каналам системы ОГТС;
2) сигналов оповещения и речевых команд, распоряжений и указаний оперативного персонала, передаваемых по сетям системы ОПП;
3) переговоров оперативного персонала по каналам системы PC;
4) переговоров оперативного и отдельного эксплуатационного персонала по каналам системы общестанционной телефонной связи;
5) переговоров оперативного и эксплуатационного персонала, осуществляемых с использованием абонентских устройств внешней связи (включая каналы диспетчерской связи с диспетчерскими управлениями и объектами энергосистемы);
6) переговоров оперативного персонала, осуществляемых по каналам системы эксплуатационных радиотелефонов;
- резервирование каналов записи регистрируемой информации, передаваемой с использованием технических средств промплощадки АС, за счет ее одновременной записи на основные и дублирующие (взаимно резервирующие) станции записи;
- возможность перезаписи информации на внешний носитель;
- синхронизация по времени всех СЗ, осуществляемая от первичных часов (ПЧ) системы часофикации;
- архивирование информации и ее надежное сохранение в течение не менее одного месяца (СТО 1.1.1.01.0678-2007, 11.1.8.8);
- последующее воспроизведение информации; с указанием идентификационных признаков (7.4.4);
- исключение возможности несанкционированного доступа к архивам и программному обеспечению системы (должно обеспечиваться программными средствами).
Хранение регистрируемой станциями записи информации осуществляется непосредственно в памяти СЗ; передача регистрируемой информации в систему регистрации параметров важных для эксплуатации ("Черный ящик") построением системы не предусматривается.
7.4.3 В составе системы ДОП должны быть предусмотрены следующие автономные станции записи:
- по две независимые СЗ (основная и дублирующая) в каждом энергоблоке; устанавливаются на узлах связи БПУ и РПУ;
- две независимые СЗ (основная и дублирующая) на общестанционной территории промплощадки АС; устанавливаются на узле связи ЗПУПД АС;
- одна СЗ, устанавливаемая в ЗПУПД Г;
- одна СЗ, устанавливаемая в ЗПУПД РЭ.
В системе должна обеспечиваться контрольная запись сигналов оповещения, команд и оперативно-диспетчерских переговоров, как минимум, персонала следующих пунктов (щитов) управления: БПУ, РПУ, ЦТП, БЩРК и ЩВП энергоблоков, а также НСС и другого оперативного персонала ЦПУ (ЦЩУ), персонала ОПРК, а также основного персонала внутреннего и внешних ЗПУПД.
7.4.4 СЗ должны обеспечить регистрацию и последующее воспроизведение служебной информации о времени начала и окончания переговоров (передачи сигналов), а также идентификационных признаков:
- вызывающего и вызываемого абонентов - для переговоров, осуществляемых по регистрируемым каналам систем ОГТС и общестанционной телефонной связи;
- пульта управления и зоны, в которую передается сигнал или речевое сообщение - для звуковых сигналов и речевой информации, передаваемых по сетям системы ОПП;
- радиостанции абонентской стационарной системы PC, с использованием которой ведутся радиопереговоры;
- абонентского устройства внешней связи и абонентских устройств беспроводной телефонной связи, с использованием которых ведутся переговоры персоналом АС.
7.4.5 С целью обеспечения регистрации сигналов оповещения и переговоров персонала от СЗ должны быть предусмотрены СЛ, прокладываемые в направлении к следующему оборудованию связи (Приложение Ж):
- цифровые:
1) к АТС 01 системы общестанционной телефонной связи;
2) к ЦК системы ОГТС;
3) к УКБ системы ОПП;
4) к абонентским устройствам внешней связи (в случае использования цифровых АУ);
5) к контроллеру (контроллерам) базовых станций системы эксплуатационных радиотелефонов;
- аналоговые:
1) к радиостанциям абонентским стационарным системы PC;
2) к абонентским устройствам внешней связи (в случае использования аналоговых АУ).
Регистрация сигналов оповещения и команд, передаваемых по сетям системы ОПП, возможна также путем организации соединительных линий между СЗ и сетевыми коммутаторами.
Характеристики оборудования (СЗ, ЦК, АТС общестанционной телефонной связи и контроллера базовых станций системы эксплуатационных радиотелефонов), а также интерфейсов соединительных линий, прокладываемых между ними, должны обеспечивать передачу регистрируемой информации в цифровом потоке (например, в потоке Е1) с возможностью последующего выделения из этих цифровых потоков информации о переговорах определенных абонентов.
Кроме того, с целью автоматической коррекции текущего времени внутренних часов СЗ по сигналам единого времени построением системы должны быть предусмотрены СЛ от ПЧ системы часофикации ко всем основным и дублирующим станциям записи.
В процессе эксплуатации системы ДОП должна быть обеспечена возможность расширения перечня абонентов, переговоры которых подлежат контрольной звукозаписи, без нарушения нормального функционирования системы.
7.4.6 В системе должно быть предусмотрено проведение автоматизированного диагностирования работоспособности СЗ без перерывов в их работе, осуществляемое программно-аппаратными средствами.
7.5.1 Система ВДОП предназначена для видео- и аудиорегистрации действий и переговоров оперативного состава БПУ и РПУ энергоблоков АС.
В соответствии с НП 082-07 система ВДОП на всех уровнях управления должна сохранять работоспособность и обеспечивать сохранение регистрируемой информации в условиях нарушений в энергосистеме, нарушений в работе АС, ПА и ЗПА.
Организация видеорегистрации действий оперативного персонала показана на типовой схеме в соответствии с приложением И.
По структурному построению система ВДОП представляет собой совокупность двух автономных идентичных подсистем видео- и аудиорегистрации действий оперативного персонала каждого энергоблока.
7.5.2 Технической основой каждой подсистемы системы ВДОП является оборудование передающей и приемной сторон.
К оборудованию передающей стороны относятся устройства телевизионные передающие (УТП) и микрофоны. Оборудование передающей стороны, должно обеспечить формирование и передачу аудио- и видеоинформации от объектов наблюдения.
К оборудованию приемной стороны относятся станции видеорегистрации (СВ), включающие в себя оборудование управления, питания и регистрации (записи) видеоизображений и аудиоинформации.
7.5.3 В каждом энергоблоке должно быть предусмотрено по две независимые СВ (основная и дублирующая), устанавливаемые на узлах связи БПУ и РПУ.
7.5.4 Оборудование приемной стороны должно обеспечивать:
- передачу сигналов управления на оборудование передающей стороны (выбор УТП, настройка изображения посредством управления объективом камеры и т.п.); данные операции по настройке должны производиться в процессе пусконаладочных работ, после ввода системы в эксплуатацию перестройка ее параметров не допускается (она может производиться единовременно только с целью улучшения качества регистрируемой информации, при корректировке зон обзора за объектами наблюдения и пр.)
- электропитание УТП;
- автоматический прием видеоинформации, формируемой УТП, ее обработку, запись в архив и надежное хранение в архиве в течение установленного времени;
- автоматический прием аудиоинформации, поступающей от микрофонов, ее обработку, запись в архив и надежное хранение в архиве в течение установленного времени;
- воспроизведение принимаемых от УТП и записанных в архив видеоизображений на экранах мониторов СВ с одновременным воспроизведением записанной в архив аудиоинформации, сформированной соответствующими микрофонами;
- копирование и архивация видео- и аудиоинформации на съемные носители.
7.5.5 Построением системы ВДОП должно быть предусмотрено:
- круглосуточная автоматическая запись каждой СВ не менее десяти каналов информации от устройств, размещаемых в помещениях БПУ и РПУ:
1) видео - от устройств телевизионных передающих (телевизионных камер);
2) аудио - от микрофонов;
- резервирование каналов записи регистрируемой информации за счет ее одновременной записи на основные и дублирующие (взаимно резервирующие) СВ;
- просмотр и прослушивание ранее записанной в архив видеоинформации и аудиоинформации (без перерыва записи текущей видеоинформации);
- надежное хранение в архиве СВ записанной видеоинформации и аудиоинформации в течение не менее одного месяца с момента ее записи (СТО 1.1.1.01.0678-2007, 11.1.8.8);
- возможность перезаписи информации на внешний носитель;
- синхронизация времени всех СВ от первичных часов системы часофикации;
- предоставление администратору системы возможности управлять УТП, просматривать видеоизображения, поступающие с любого УТП, и прослушивать аудиоинформацию поступающую с любого микрофона, просматривать и прослушивать видео- и аудиоинформацию из архива записей, контролировать работу системы и производить работы по конфигурированию и диагностированию системы;
- исключение возможности несанкционированного доступа к видеоархивам и программному обеспечению системы (должно обеспечиваться программными средствами).
7.5.6 С целью автоматической коррекции текущего времени внутренних часов СВ по сигналам единого времени построением системы должны быть предусмотрены соединительные линии от первичных часов системы часофикации ко всем СВ.
В процессе эксплуатации системы должна быть обеспечена возможность увеличения количества каналов регистрации видео- и аудиоинформации без нарушения нормального функционирования системы.
7.5.7 В системе должно быть предусмотрено проведение автоматизированного диагностирования работоспособности СВ без перерывов в их работе, осуществляемое программно-аппаратными средствами.
8.1.1 Для размещения центрального оборудования систем связи (как оперативной, так и общестанционной) должны предусматриваться специальные помещения связи, состав и размещение которых определяется с учетом структуры диспетчерско-технологического управления и требований к организации управления персоналом АС и его оперативному оповещению в аварийных ситуациях.
8.1.2 Для организации надежного и устойчивого оперативного управления энергоблоком в непосредственной близости от БПУ и РПУ каждого энергоблока должны быть предусмотрены отдельные узлы связи (УС).
Узел связи БПУ является основным узлом оперативной связи энергоблока и предназначен для размещения оборудования оперативной связи основных сетей оперативной связи; оборудование дублирующих сетей должно размещаться на узле связи РПУ.
При выборе помещений для узлов связи БПУ и РПУ должно учитываться требование обеспечения их независимости (исключения отказа оборудования основных и дублирующих сетей связи по общей причине).
Узлы связи должны быть также предусмотрены:
- в одном из административных зданий - центральный узел общестанционной связи (ЦУОС);
- в каждом ЗПУПД: ЗПУПД АС, ЗПУПД Г и ЗПУПД РЭ. При этом узел связи ЗПУПД АС является основным защищенным узлом связи АС.
8.1.3 В составе каждого узла связи должно быть предусмотрено несколько помещений для размещения оборудования внутренней связи, помещения дежурного персонала связи, помещения технической документации и запасного имущества (ЗИП).
Для размещения оборудования регистрации (станции записи системы ДОП и станции видеорегистрации системы ВДОП) в составе узлов связи должны предусматриваться отдельные помещения: в составе узла связи БПУ единое помещение для основных СЗ и СВ, в составе узла связи РПУ единое помещение для дублирующих СЗ и СВ.
8.2.1 Необходимое размещение основного оборудования оперативной связи на узлах связи АС показано на схемах, представленных на рисунке 1 и в приложениях Б, Г - И.
Для размещения малогабаритного распределительного, усилительного и другого оборудования связи в отдельных зданиях АС (включая здания энергоблоков) должны предусматриваться специальные помещения связи (кроссовые).
8.2.2 Основным принципом размещения абонентских (терминальных) устройств внутренней оперативной связи на пунктах управления и рабочих местах персонала должно являться удовлетворение требований к системе оперативной связи как системе, обеспечивающей функции оперативного управления на АС.
8.2.3 Принципы размещения абонентских устройств систем оперативной связи определяются ролью и местом пункта управления в составе системы оперативного управления АС, назначением рабочего места, требованиями по надежности и бесперебойности управления подчиненным (вахтенным) персоналом.
8.2.4 На постоянных рабочих местах оперативного (дежурного) персонала основных пунктов управления (БПУ, РПУ, ЦПУ, пунктов (щитов) радиационного контроля и других) должны устанавливаться пульты диспетчерской связи и (или) многофункциональные телефонные аппараты системы ОГТС, а также пульты управления систем - PC и ОПП. Различные абонентские устройства систем оперативной связи должны устанавливаться также в помещениях руководящего персонала (ПРП).
Носимыми радиостанциями должен обеспечиваться оперативный (вахтенный) и эксплуатационный персонал АС, выполняющий работы по месту.
8.2.5 Во всех помещениях с постоянным присутствием оперативного персонала, а также в некоторых периодически обслуживаемых помещениях и в местах возможного пребывания эксплуатационного персонала должны устанавливаться специальные телефонные аппараты промышленного исполнения. Для обеспечения прямой связи с вышестоящим оперативным (дежурным) персоналом в основных производственных помещениях должны устанавливаться переговорные устройства громкоговорящей связи. С целью обеспечения командно-поисковой связи, передачи речевых сообщений, а также оповещения персонала АС при чрезвычайных ситуациях во всех помещениях с возможным присутствием персонала, а также на наружной территории должны устанавливаться громкоговорители системы ОПП.
8.2.6 В помещениях с повышенным уровнем шума телефонные аппараты и переговорные устройства громкоговорящей связи системы ОГТС должны комплектоваться дополнительными внешними световыми устройствами дублирования вызова, а ПУГС (при необходимости) - дополнительными внешними громкоговорителями. Для таких помещений должны предусматриваться также устройства световой сигнализации системы ОПП.
Абонентские устройства системы ОГТС, размещаемые в помещениях с повышенным уровнем шума, должны быть помещены в шумозащищающие кабины (полукабины) и дополнительно оснащены световыми устройствами дублирования вызовов, установленными вне кабины.
8.2.7 Аварийные внутренний и внешний центры атомной станции, а также информационно-управляющий пункт, входящие в состав ЗПУПД АС, ЗПУПД Г и ЗПУПД РЭ соответственно, должны быть оснащены техническими средствами оперативной связи, достаточными для обеспечения руководства силами и средствами наблюдения и контроля, предупреждения и ликвидации чрезвычайной ситуации на АС.
8.2.8 Требования по оснащению аварийных центров ЗПУПД АС и ЗПУПД Г средствами связи приведены в [10]. Функции и состав оборудования систем оперативной связи, а также интерфейсы с другим оборудованием связи должны определяться в каждом конкретном случае, поэтому в настоящем РД дополнительные требования к оборудованию систем оперативной связи аварийных центров не отражены.
С учетом требований [10] по решению Заказчика в состав внутреннего (ЗПУПД АС) и внешнего (ЗПУПД Г) аварийных центров могут быть включены АРМ системы видеорегистрации действий оперативного персонала (CYH) и АРМ системы документирования оперативных переговоров (CYZ).
В этом случае требования к назначению и функциям АРМ систем CYH и CYZ, а также к их интерфейсам с оборудованием сетей связи соответствующих систем, включая соответствующие изменения структуры сетей связи энергоблоков, должны быть отражены в Задании на проектирование или в Техническом решении, утвержденном Заказчиком
9.1.1 В составе системы оперативной связи должно применяться, как правило, оборудование проверенной конструкции, имеющее положительный опыт эксплуатации в подобных условиях.
Примерный перечень и технические данные основного оборудования систем оперативной связи приведены в приложении В.
Конструкция оборудования, применяемого в составе системы оперативной связи, должна отвечать специальным требованиям по исполнению, надежности, пожаробезопасности (в соответствии с требованиями ГОСТ 25804.1 - ГОСТ 25804.8, ГОСТ 14254, ГОСТ 15150 и других стандартов), а также требованиям по электромагнитной совместимости (9.3).
9.1.2 Конструкцией оборудования должна быть обеспечена возможность непрерывной круглосуточной работы; в процессе нормальной эксплуатации перерывы для проведения технического обслуживания, как правило, допускаться не должны.
9.1.3 Использование по назначению абонентского оборудования в режиме нормальной эксплуатации систем оперативной связи должно осуществляться оперативным (дежурным) персоналом АС без привлечения персонала службы связи (цеха СДТУ).
При приеме-сдаче смены оперативный (дежурный) персонал должен проверять наличие и работоспособность технических средств оперативной связи, имеющихся на рабочих местах.
В соответствии с требованиями РД ЭО 1.1.2.25.0329-2013 в целях обеспечения бесперебойной работы средств связи на АС должно быть организовано круглосуточное дежурство персонала СДТУ.
9.2.1 Все оборудование оперативной связи АС должно быть классифицировано по безопасности и сейсмостойкости в соответствии с требованиями НП 001-97 и НП 031-01 соответственно.
При этом требования к оборудованию оперативной связи должны определяться дифференцированно с учетом его роли в системе связи и функций, выполняемых в системе управления эксплуатацией АС: центральное (системообразующее) или абонентское (терминальное), размещается на промплощадке АС или во внеплощадочных зданиях и сооружениях.
Кроме того, при назначении класса безопасности должны учитываться требования других документов, касающихся обеспечения безопасности АС, в частности НП 006-98, НП 018-2005, НП 026-04, НП 082-07.
Рекомендуемые классы безопасности и категория сейсмостойкости оборудования оперативной связи АС указаны в таблице К.1 (приложение К).
9.2.2 В соответствии с классификацией по НП 001-97 все подсистемы оперативной связи АС (ОГТС, ОПП, PC, ДОП, ВДОП) по назначению являются системами нормальной эксплуатации важными для безопасности, так как включают технические средства класса безопасности 3Н по НП 001-97.
К оборудованию, отнесенному к классу безопасности 4, предъявляются требования общепромышленных нормативных документов.
9.2.3 Всему оборудованию связи, устанавливаемому во вспомогательных зданиях и сооружениях, строящихся после ввода АС в эксплуатацию, допускается назначение класса безопасности 4 и категории сейсмостойкости II.
9.2.3 Оборудование, отнесенное к категории сейсмостойкости I по НП 001-97, должно сохранять способность выполнять функции, связанные с обеспечением безопасности АС, во время и после прохождения землетрясения интенсивностью до МРЗ включительно, а также при землетрясении интенсивностью до ПЗ включительно и после его прохождения.
Оборудование, отнесенное к категории сейсмостойкости II должно сохранять работоспособность после прохождения землетрясения интенсивностью до ПЗ включительно.
К носимым и автомобильным радиостанциям требования по сейсмостойкости не предъявляются.
9.3.1 Оборудование, применяемое в составе системы внутренней оперативной связи, должно отвечать специальным требованиям по ЭМС с техническими средствами как систем связи, так и других технологических систем АС.
9.3.2 Места размещения технических средств системы относятся в соответствии с ГОСТ Р 51317.2.5 к классу 5 - для оборудования, размещаемого на территории промплощадки, и к классу 2 - для оборудования, размещаемого во внеплощадочных сооружениях, включая ЗПУПД Г и ЗПУПД РЭ.
9.3.3 Составные части системы должны быть рассчитаны на функционирование в условиях электромагнитной обстановки средней жесткости в соответствии с ГОСТ Р 50746.
Другие требования к оборудованию внутренней оперативной связи по ЭМС в соответствии с ГОСТ Р 50746 приведены в таблице 2.
9.3.4 По критерию качества функционирования при испытаниях на помехоустойчивость соответствие группе А означает нормальное функционирование в соответствии с техническими условиями на оборудование; соответствие группе В - воздействие помехи вызывает кратковременное нарушение функционирования с последующим восстановлением нормального функционирования без вмешательства оператора после прекращения помехи.
Таблица 2 - Требования к оборудованию внутренней оперативной связи по ЭМС в соответствии с ГОСТ Р 50746
|
Наименование |
Класс безопасности по НП 001-97 |
Группа исполнения технических средств по устойчивости к помехам |
Критерий качества функционирования при испытаниях на помехоустойчивость |
|
Цифровые коммутаторы, усилительно-коммутационные блоки, сетевые коммутаторы, станции записи, станции видеорегистрации, устройства телевизионные передающие |
3Н |
III |
А |
|
Пульты диспетчерской связи, переговорные устройства громкоговорящей связи, пульты управления (ПУ-П, ПУ-О), эфирные полосовые репитеры, радиостанции абонентские стационарные с пультами управления, радиостанции носимые и автомобильные* |
3Н |
III |
А |
|
4 |
II |
А |
|
|
Базовые станции радиосвязи |
4 |
III |
А |
|
Телефонные аппараты, световые устройства дублирования вызовов, громкоговорители, устройства световой сигнализации, микрофоны, кроссовое и прочее оборудование связи |
4 |
II |
В |
|
___________ * - Возможный перечень оборудования класса 4 - смотрите 9.4.2 |
|||
9.4.1 Оборудование оперативной связи АС должно быть классифицировано по обеспечению качества; при этом каждой единице оборудования присваивается определенная категория обеспечения качества.
В ходе разработки и изготовления программно-технических средств систем оперативной связи должны выполняться требования по менеджменту качества, объем которых основывается на дифференцированном подходе к обеспечению качества в соответствии с классификацией оборудования по категориям обеспечения качества.
Для позиций, отнесенных к элементам важным для безопасности класса 3Н по НП 001-97, в соответствии с требованиями НП 011-99 должны быть разработаны и внедрены программы обеспечения качества.
Рекомендуемые категории обеспечения качества оборудования оперативной связи по [9] приведены в таблице К.1 (приложение К).
9.4.2 Отдельному ответственному абонентскому оборудованию внутренней оперативной связи возможно взамен класса 3Н назначение класса 4 (общепромышленное исполнение) при выполнении следующих условий:
1) разработки Заказчиком специальных дополнительных требований к этому оборудованию с целью обеспечения его качества и эксплуатационной надежности (по выбору изготовителя и поставщика, наличию необходимых лицензий и сертификатов, обеспечению контроля качества и пр.).
Для импортного оборудования, кроме того, структура Технических требований должна (в части, касающейся) соответствовать структуре, приведенной в Приложении 3 к РД 03-36-2002 "Условия поставки импортного оборудования, изделий, материалов и комплектующих для ядерных установок, радиационных источников и пунктов хранения Российской Федерации";
2) обеспечения при эксплуатации дополнительного оборудования, а также соответствующей организации хранения этого оборудования, позволяющего осуществить в случае необходимости его оперативную замену.
9.4.3 Категория обеспечения качества 2 для станций записи и станций видеорегистрации назначена с учетом [7].
9.4.4 Разработчики, изготовители и поставщики систем оперативной связи должны получить необходимые разрешения и лицензии в соответствии с требованиями законодательства, а также применяемых правил, норм и стандартов. Все применяемое в составе оперативной связи оборудование должно быть сертифицировано в соответствии с требованиями действующего законодательства.
9.5.1 Решения по электроснабжению оборудования связи должны разрабатываться с учетом требований РД ЭО 1.1.2.25.0329-2013.
9.5.2 Средства оперативной связи и оповещения персонала, должны быть отнесены к потребителям первой группы (РД 210.006 и РД 210.019) по надежности электроснабжения.
В связи с тем, что системы связи не являются элементами безопасности (по НП 001-97), и системы и средства связи построены по одноканальному принципу, средства связи не относятся к потребителям систем аварийного электроснабжения (САЭ) по НП 087-11.
9.5.3 Электроснабжение центрального оборудования оперативной связи должно осуществляться в соответствии с типовой схемой, приведенной на рисунке 7.
С целью удовлетворения требованиям по надежности электроснабжения для центрального оборудования оперативной связи узлов связи промплощадки АС должен быть предусмотрен подвод двух фидеров электропитания от распределительных устройств источников электроснабжения, в том числе не менее одного - от системы надежного электроснабжения нормальной эксплуатации.
Кроме того для этих технических средств должны быть предусмотрены устройства автоматического ввода резерва (АВР).
9.5.4 Резервирование электропитания оборудования оперативной связи внеплощадочных ЗПУПД Г и ЗПУПД РЭ должно быть предусмотрено от дизельгенераторных установок ЗПУПД Г и ЗПУПД РЭ соответственно. Средства связи и оповещения аварийных центров должны обеспечиваться надежным бесперебойным электропитанием в соответствии с требованиями РД ЭО 1.1.2.25.0329.
9.5.5 С целью обеспечения надежного и бесперебойного электропитания оборудования оперативных сетей связи блочного уровня в течение всего периода времени, необходимого для ликвидации возможных аварийных ситуаций для выделенных технических средств систем оперативной связи должна быть предусмотрена возможность подключения их (вручную или с использованием АВР) к передвижным аварийным дизель-генераторным установкам, используемым при ЗПА при полном обесточении АС, в том числе, при отказе стационарных блочных дизельгенераторных установок.
9.5.6 В составе технических средств оперативной связи должны предусматриваться собственные источники бесперебойного питания (ИБП) с аккумуляторными батареями, обеспечивающими в случае пропадания внешнего электропитания нормальное функционирование технических средств в течение не менее трех часов.
Для питания центральных устройств оперативной связи должны предусматриваться, как правило, отдельные, специально для них предназначенные, распределительные устройства переменного тока напряжением 380/220 В.
Рисунок 7 - Типовая схема организации электроснабжения
центрального оборудования внутренней оперативной связи
9.5.7 Должно быть обеспечено исключение сбоев в работе программно-аппаратных средств оборудования связи при возможных переключениях в системе электроснабжения.
9.5.8 Надежность электроснабжения абонентского оборудования оперативной связи, устанавливаемого на рабочих местах персонала, должна быть обеспечена путем организации его электропитания от соответствующего центрального оборудования по линиям связи:
- переговорных устройств громкоговорящей связи и световых устройств дублирования вызовов системы ОГТС от соответствующих цифровых коммутаторов;
- пультов управления (ПУ-П, ПУ-О) и устройств световой сигнализации системы ОПП от соответствующих усилительно-коммутационных блоков;
- устройств телевизионных передающих системы ВДОП - от соответствующих станций видеорегистрации.
Электропитание носимых радиостанций должно осуществляться от встроенных аккумуляторных батарей.
9.6.1 Техническая эксплуатация оборудования оперативной связи должна обеспечить его постоянное функционирование и готовность к действию при установленном качестве передачи информации в нормальных и аварийных режимах.
9.6.2 Организации технического обслуживания и ремонта оборудования оперативной связи должны соответствовать требованиям РД ЭО 1.1.2.25.0329, СТО 1.1.1.01.0678, РД ЭО 0069 и других действующих нормативных документов.
Коды систем внутренней связи АС по KKS
Таблица А.1 - Коды систем внутренней связи АС по KKS
|
Наименование |
Код по KKS |
Принятое обозначение |
|
Системы внутренней оперативной связи |
||
|
Система оперативной громкоговорящей и телефонной связи |
CYB |
ОГТС |
|
Система оповещения и поиска персонала |
CYC |
ОПП |
|
Система радиосвязи |
CYS |
СР |
|
Система документирования оперативных переговоров |
CYZ |
ДОП |
|
Система видеорегистрации действий оперативного персонала |
CYH |
ВДОП |
|
Системы внутренней общестанционной связи |
||
|
Система общестанционной телефонной связи |
CYA |
- |
|
Система часофикации |
CYF |
- |
|
Система проводного радиотрансляционного вещания |
CYN |
- |
|
Система технологического видеонаблюдения (промышленное телевидение) |
CYP |
- |
|
Система телевизионного вещания |
CYV |
- |
|
Система эксплуатационных радиотелефонов |
CYY |
- |
Типовая схема организационно-технического построения системы оперативной связи АС

Рисунок
Б.1 - Типовая схема организационно-технического построения
системы оперативной связи АС
Перечень и технические характеристики основного оборудования систем оперативной связи
В.1 В Таблице В.1 приведены ориентировочные данные по перечню и техническим характеристикам основного оборудования систем оперативной связи для АЭС в составе двух энергоблоков, разработанные на основе опыта проектирования сетей связи, строящихся, проектируемых и введенных в эксплуатацию АЭС: Ленинградская АЭС-2, Белоярская АЭС-2, Балтийская АЭС, Белорусская АЭС, Тяньваньская АЭС в Китае (первая и вторая очереди).
Таблица В.1 - Перечень и технические характеристики основного оборудования систем оперативной связи для АЭС в составе двух энергоблоков (ориентировочно)
|
Обозначение |
Наименование оборудования |
Основные характеристики оборудования |
Количество |
Место установки |
|
1 |
2 |
3 |
4 |
5 |
|
Система оперативной громкоговорящей и телефонной связи (ОГТС) |
||||
|
ЦК11, ЦК12 |
Цифровой коммутатор |
Аналоговые порты для подключения 160 ТА, 180 ПУГС, цифровые порты для подключения 12 ПДС, 4 многоканальных цифровых порта СЛ (поток Е1), ИБП с устройством АВР |
2 |
Энергоблоки |
|
|
|
|
|
|
|
ЦК21, ЦК22 |
Цифровой коммутатор |
Аналоговые порты для подключения 80 ТА, 120 ПУГС, цифровые порты для подключения 4 ПДС, 4 многоканальных цифровых порта СЛ (поток Е1), ИБП с устройством АВР |
2 |
Энергоблоки |
|
ЦК01 |
Цифровой коммутатор |
Аналоговые порты для подключения 160 ТА, 40 ПУГС, цифровые порты для подключения 12 ПДС, 12 многоканальных цифровых портов СЛ (поток Е1), ИБП с устройством АВР |
1 |
ЗПУПД АС |
|
ЦК02 |
Цифровой коммутатор |
Аналоговые порты для подключения 60 ТА, цифровые порты для подключения 12 ПДС, 10 многоканальных цифровых портов СЛ (поток Е1), ИБП |
1 |
ЗПУПД Г |
|
ЦК03 |
Цифровой коммутатор |
Аналоговые порты для подключения 60 ТА, цифровые порты для подключения 4 ПДС, 5 многоканальных цифровых портов СЛ (поток Е1), ИБП |
1 |
ЗПУПД РЭ |
|
- |
Кроссы кабельные |
1 - 4 секции, с плинтами и устройствами защиты от импульсных перенапряжений |
7 |
|
|
ПДС |
Пульты диспетчерской связи |
Системные, цифровые, многофункциональные, от 28 до 60 клавиш вызова прямых абонентов |
60 |
Энергоблоки, ЗПУПД АС, ЗПУПД Г |
|
ТА |
Телефонный аппарат многофункциональный |
Аналоговый, с кнопочным номеронабирателем, настольное исполнение |
300 |
|
|
ПУГС |
Переговорное устройство громкоговорящей связи |
6 направлений прямой связи, в том числе в комплекте с проблесковым маячком, IP55 |
600 |
|
|
ТА |
Специальный телефонный аппарат промышленно го исполнения |
Всепогодный, аналоговый с номеронабирателем и повышенным уровнем вызывного сигнала, настенное исполнение, IP65 |
300 |
|
|
СУДВ |
Световое устройство дублирования вызова |
Строб-вспышка для светового дублирования вызова, поступающего на телефонный аппарат, IP54 |
120 |
|
|
Система оповещения и поиска персонала (ОПП) |
||||
|
УКБ11, УКБ12 |
Усилительно-коммутационный блок |
Выходная мощность 5000 Вт, 28 выходных линий звукового вещания, с органами световой индикации режимов работы, ИБП с устройством АВР, IP30 |
2 |
Энергоблоки |
|
УКБ21, УКБ22 |
Усилительно-коммутационный блок |
Выходная мощность 3000 Вт, 20 выходных линий звукового вещания, с органами световой индикации режимов работы, ИБП с устройством АВР, IP30 |
2 |
Энергоблоки |
|
УКБ01 |
Усилительно-коммутационный блок |
Выходная мощность 5000 Вт, 44 выходные линии звукового вещания, с органами световой индикации режимов работы, ИБП с устройством АВР, IP30 |
1 |
ЗПУПД АС |
|
УКБ02 |
Усилительно-коммутационный блок |
Выходная мощность 3000 Вт, 16 выходных линий звукового вещания, с органами световой индикации режимов работы, ИБП с устройством АВР, IP30 |
1 |
ЗПУПД АС |
|
УКБ03, УКБ04 |
Усилительно-коммутационный блок |
Выходная мощность 250 (500) Вт, 4 выходные линии звукового вещания, с органами световой индикации режимов работы, ИБП с устройством АВР, IP30 |
1 |
ЗПУПД Г, ЗПУПД РЭ |
|
ПУ-О |
Пульт управления |
Функции оповещения и поиска персонала, 32 программируемые клавиши выбора зон оповещения, 4 клавиши запуска аварийных сигналов оповещения и 4 клавиши запуска заранее подготовленных речевых сообщений, микрофон на гибком держателе, световая индикация режимов работы, блокировка клавиш запуска сигналов оповещения с помощью специального ключа доступа, IP40 |
4 |
Энергоблоки |
|
ПУ-П |
Пульт управления |
Функции поиска персонала, 32 программируемые клавиши выбора зон оповещения, 4 клавиши запуска заранее подготовленных речевых сообщений, микрофон на гибком держателе, световая индикация режимов работы, IP40 |
10 |
Энергоблоки |
|
ПУ-О |
Пульт управления |
Функции оповещения и поиска персонала, 48 программируемых клавиш выбора зон оповещения, 4 клавиши запуска аварийных сигналов оповещения и 4 клавиши запуска заранее подготовленных речевых сообщений, микрофон на гибком держателе, световая индикация режимов работы, блокировка клавиш запуска сигналов оповещения с помощью специального ключа доступа, IP40 |
2 |
Общестанционные здания, ЗПУПД АС |
|
ПУ-П |
Пульт управления |
Функции поиска персонала, 32 (48) программируемых клавиш выбора зон оповещения, 4 клавиши запуска заранее подготовленных речевых сообщений, микрофон на гибком держателе, световая индикация режимов работы, IР40 |
7 |
Общестанционные здания, ЗПУПД АС |
|
ПУ-О |
Пульт управления |
Функции оповещения и поиска персонала, 16 программируемых клавиш выбора зон оповещения, 4 клавиши запуска аварийных сигналов оповещения и 4 клавиши запуска заранее подготовленных речевых сообщений, микрофон на гибком держателе, световая индикация режимов работы, блокировка клавиш запуска сигналов оповещения с помощью специального ключа доступа, IP40 |
1 |
ЗПУПД Г |
|
ПУ-П |
Пульт управления |
Функции поиска персонала 16 программируемых клавиш выбора зон оповещения, 4 клавиши запуска заранее подготовленных речевых сообщений, микрофон на гибком держателе, световая индикация режимов работы, IP40 |
1 |
ЗПУПД РЭ |
|
СК |
Сетевой коммутатор |
5 - 18 портов для подключения ПУ, УКБ и других устройств, световая индикация режимов работы, ИБП с устройством АВР, IP30 |
8 |
Энергоблоки, общестанционные здания и все ЗПУПД |
|
- |
Громкоговорители настенные, потолочные, рупорные |
Для внутренней и наружной установки, мощностью 0,5 - 50 Вт, дискретное переключение мощности, IP54, IP55 или IP67 |
9500 |
|
|
УСС |
Устройство световой сигнализации |
Для настенной установки, индикационный цвет - желтый, видимость излучаемого сигнала на расстоянии не менее 20 м, автоматический запуск светового сигнала при поступлении звукового сигнала, мощность вспышки 5 Дж, частота мигания светового сигнала от 0,5 до 2 Гц, IP55 |
550 |
|
|
Система радиосвязи (PC) |
||||
|
БСР01, БСР02 |
Базовая станция |
4 приемопередатчика (на 4 несущие частоты), разнесенный прием, выходная мощность передатчиков 25 - 40 Вт, коммутационная станция, ИБП с устройством АВР (для БСР01), рабочая станция администратора системы, диспетчерская рабочая станция, антенно-мачтовое и фидерные устройства с грозозащитой, IP20/IP65 |
2 |
ЗПУПД АС, ЗПУПД Г |
|
- |
Коммутационное оборудование радиосвязи |
Обеспечивает обслуживание до 30 частотных каналов. Потребляемая мощность 1600 ВА, ИБП с аккумуляторными батареями обеспечивающими автономную работу не менее 3 час., IP20 |
2 |
ЗПУПД АС, ЗПУПД Г |
|
БСР03 |
Базовая станция |
1 - 2 приемопередатчика (на 1 - 2 несущие частоты), разнесенный прием, выходная мощность передатчиков 25 - 40 Вт, ИБП, антенно-мачтовое и фидерные устройства с грозозащитой, IP20/IR65 |
1 |
ЗПУПД РЭ |
|
РАС |
Радиостанция абонентская стационарная |
Выходная мощность передатчика 3 Вт, ИБП, IP44, с пультом управления, с антенной и грозозащитой |
26 |
|
|
РАН |
Радиостанция абонентская носимая |
Выходная мощность передатчика 1 Вт, IP54 |
200 |
|
|
РАА |
Радиостанция абонентская автомобильная |
Выходная мощность передатчика 3 Вт, с автомобильной антенной, IP44 |
3 |
|
|
Рп |
Эфирный полосовой репитер |
Наружная и комнатная антенны, ИБП, грозозащита, IP20/IP65 |
3 |
ЗПУПД АС, ЗПУПД Г, ЗПУПД РЭ |
|
Система документирования оперативных переговоров (ДОП) |
||||
|
C311, C312, С321, С322 |
Станция записи |
Регистрация и архивирование звуковой информации на 16 аналоговых и 12 цифровых входов, в комплекте с ИБП с устройством АВР и АРМ на основе персонального компьютера, IP20 |
4 |
Энергоблоки |
|
С301, С302 |
Станция записи |
Регистрация и архивирование звуковой информации на 16 аналоговых и 12 цифровых входов, в комплекте с ИБП с устройством АВР и АРМ на основе персонального компьютера, IP20 |
2 |
ЗПУПД АС |
|
С303 |
Станция записи |
Регистрация и архивирование звуковой информации на 8 аналоговых и 6 цифровых входах, в комплекте с ИБП и АРМ на основе персонального компьютера, IP20 |
1 |
ЗПУПД Г |
|
С304 |
Станция записи |
Регистрация и архивирование звуковой информации на 8 аналоговых и 4 цифровых входах, в комплекте с ИБП и АРМ на основе персонального компьютера, IP20 |
1 |
ЗПУПД РЭ |
|
Система видеорегистрации действий оперативного персонала (ВДОП) |
||||
|
СВ11, СВ12, СВ21, СВ22 |
Станция видеорегистрации |
Сетевой регистратор на 10 каналов видео- и аудиозаписи, встроенное АРМ администратора системы, блоки питания камер, сетевой коммутатор, панели коммутации, блок коммутации и защиты, ИБП с устройством АВР, IP30 |
4 |
Энергоблоки |
|
УТП |
Устройство телевизионное передающее |
ПЗС-камера цветного изображения, объектив-трансфокатор, двухкоординатное устройство наведения, кронштейн, IP44 |
20 |
БПУ, РПУ |
|
- |
Микрофон |
Микрофон с кронштейном, обеспечивающим его крепление к рабочему столу оператора. Полоса частот 100 - 10000 Гц |
20 |
БПУ, РПУ |
Типовая структурная схема системы оперативной громкоговорящей и телефонной связи

Рисунок Г.1 - Типовая структурная схема системы оперативной
громкоговорящей и телефонной связи
Типовые схемы организации оповещения и поиска персонала
Рисунок Д.1 - Типовая структурная схема системы оповещения и поиска персонала
Рисунок Д.2 - Типовая схема организации оповещения и поиска персонала
Типовая структурная схема системы радиосвязи

Рисунок Е.1 - Типовая структурная схема трехзоновой системы радиосвязи
Типовая схема организации документирования оперативных переговоров

Рисунок Ж.1 - Типовая схема организации документирования
оперативных переговоров
Типовая схема организации видеорегистрации действий оперативного персонала

Рисунок И.1 - Типовая схема организации видеорегистрации
действий оперативного персонала
Классификация оборудования внутренней оперативной связи АС
К.1 Классификация оборудования внутренней оперативной связи по безопасности, обеспечению качества и сейсмостойкости приведена в таблице К.1.
Таблица К.1 - Классификация оборудования внутренней оперативной связи по безопасности, обеспечению качества и сейсмостойкости
|
Класс безопасности |
Категория обеспечения качества |
Категория сейсмостойкости |
Обозначение |
Назначение (вид) |
Места установки |
|
3Н |
2 |
I |
Станции видеорегистрации |
Центральное |
Узлы связи БПУ, РПУ |
|
Станции записи |
Узлы связи БПУ, РПУ и всех ЗПУПД |
||||
|
3 |
Цифровые коммутаторы, усилительнокоммутационные блоки, сетевые коммутаторы |
||||
|
Пульты диспетчерской связи, пульты управления (ПУ-П, ПУ-О), эфирные полосовые репитеры, радиостанции абонентские стационарные с пультами управления, радиостанции носимые и автомобильные* |
Абонентское и терминальное (ответственное) |
Помещения руководящего персонала, персонала ЦПУ, ОПРК, БПУ, РПУ, БЩРК, ЩВП, ЗПУПД |
|||
|
Переговорные устройства громкоговорящей связи |
Помещения зданий промплощадки |
||||
|
|
|
|
Устройства телевизионные передающие |
Помещения БПУ, РПУ |
|
|
4 |
4 |
II |
Базовые станции радиосвязи |
Центральное |
ЦУОС, узел связи ЗПУПД Г |
|
Пульты диспетчерской связи, переговорные устройства громкоговорящей связи |
Абонентское |
Помещения внеплощадочных зданий и сооружений (исключая ЗПУПД) |
|||
|
Телефонные аппараты, световые устройства дублирования вызовов, громкоговорители, устройства световой сигнализации, микрофоны, кроссовое и прочее оборудование связи |
Абонентское, терминальное, кроссовое |
Помещения всех зданий |
|||
|
Примечания: 1. Класс безопасности приведен по НП 001-97, категория обеспечения качества - по [9], категория сейсмостойкости - по НП 031-01. 2. * - для радиостанций носимых и автомобильных возможно при соответствующих условиях применение класса безопасности 4 (9.4.2). 3. * - к радиостанциям носимым и автомобильным требования по сейсмостойкости не предъявляются. |
|||||
|
[1] Методические рекомендации ОАО "Концерн Росэнергоатом" (Приложение к приказу ОАО "Концерн Росэнергоатом" от 21.03.2013 № 9/251-П) |
Методические рекомендации для проектных организаций по графическому отображению условных обозначений раздела проектной документации "Сети связи" |
|
[2] Приложение № 1 к приказу Министра АЭ от 22.07.99 № 479 |
Положение о порядке создания и эксплуатации систем радиосвязи на предприятиях Министерства РФ по атомной энергии |
|
[3] Приказ Министерства информационных технологий и связи от 22.08.2006 г. № 107 |
Правила применения абонентских радиостанций сетей подвижной радиосвязи стандарта "TETRA" |
|
[4] Приказ Росатома от 15.02.2006 № 60 |
Организация работы с персоналом на атомных станциях |
|
[5] Приложение к совместному приказу МЧС России, Мининформсвязи России и Минкультуры России от 25.07.2006 № 422/90/376 |
Положение о системах оповещения населения |
|
[6] Методические рекомендации ОАО "Концерн Росэнергоатом" MP 1.4.1.06.011.008-2011 |
Системы радиосвязи атомных станций |
|
[7] Техническое решение ОАО "Концерн Росэнергоатом" № АЭС Р-50УК (07.06) 2011 |
По обеспечению автоматической регистрации и хранения информации о действиях оперативного персонала и его переговорах по каналам связи вновь строящихся и проектируемых АЭС |
|
[8] Техническое решение ОАО "Концерн Росэнергоатом" № АЭС Р-39К/05-01/2012 |
О корректировке проектной документации, в части системы оповещения и управления эвакуацией (СОУЭ) людей при пожарах в зданиях и сооружениях строящихся АЭС |
|
[9] СМК-ПКФ-015-06 |
Система менеджмента качества. Управление разработкой проекта. Применение категорий обеспечения качества в проектах АС |
|
[10] Типовое положение ОАО "Концерн Росэнергоатом" ТП 1.3.2.01.002.0080-2012 (Приложение к приказу ОАО "Концерн Росэнергоатом" от 21.06.2012 № 9/579-П) |
Типовое положение о внутреннем и внешнем аварийных центрах атомной станции |
|
Первый заместитель Генерального директора |
В.Г. Асмолов |
СОДЕРЖАНИЕ