Меню
Навигация
Novatika
Novatika
Первая линия

Типовая инструкция по эксплуатации и ремонту комплектных распределительных устройств 6 - 10 кВ

Обозначение: РД 34.20.506
Название рус.: Типовая инструкция по эксплуатации и ремонту комплектных распределительных устройств 6 - 10 кВ
Статус: действует
Дата актуализации текста: 05.05.2017
Дата добавления в базу: 01.09.2013
Дата введения в действие: 01.01.1984
Утвержден: 30.12.1983 Минэнерго СССР (USSR Minenergo )
Опубликован: СПО Союзтехэнерго (1984 г. )

МИНИСТЕРСТВО ЭНЕРГЕТИКИ И ЭЛЕКТРИФИКАЦИИ СССР

ГЛАВНОЕ ТЕХНИЧЕСКОЕ УПРАВЛЕНИЕ ПО ЭКСПЛУАТАЦИИ ЭНЕРГОСИСТЕМ

ТИПОВАЯ ИНСТРУКЦИЯ ПО ЭКСПЛУАТАЦИИ И РЕМОНТУ
КОМПЛЕКТНЫХ РАСПРЕДЕЛИТЕЛЬНЫХ УСТРОЙСТВ 6 - 10 КВ

ТИ 34-70-025-84

РД 34.20.506

Срок действия установлен с 01.01.84

до 01.01.89

РАЗРАБОТАНО РЭУ "Брестэнерго"

СОСТАВИТЕЛЬ И.С. Млынчик

УТВЕРЖДЕНО Главным техническим управлением по эксплуатации энергосистем 30.12.83

Заместитель начальника К.М. Антипов

Настоящая Типовая инструкция по эксплуатации и ремонту комплектных распределительных устройств 6 - 10 кВ предназначена для персонала, обслуживающего комплектные распределительные устройства на напряжение 6 - 10 кВ.

В Типовой инструкции приведены данные по обслуживанию и ремонту комплектных распределительных устройств.

1. ОБЩИЕ ТРЕБОВАНИЯ

1.1. Указания настоящей Типовой инструкции предназначены для персонала, обслуживающего электроустановки с комплектными распределительными устройствами (КРУ) на напряжение 6 - 10 кВ с воздушной, полимерной (в том числе эпоксидной) и фарфоровой изоляцией.

1.2. Комплектные распределительные устройства должны быть изготовлены в соответствии с техническими условиями на КРУ и требованиями ГОСТ 14693-77, испытаны в соответствии с ГОСТ 14694-76. Изоляция КРУ должна быть испытана в соответствии с ГОСТ 1516.1-76, а изоляция КРУ, работающая в условиях конденсации влаги, - дополнительно по ГОСТ 20248-74.

1.3. Комплектные распределительные устройства на объекте должны быть смонтированы согласно заводским инструкциям и проекту и приняты в эксплуатацию в соответствии с требованиями СНиП III-3-81 "Электрические устройства. Правила организации и производства работ. Приемка в эксплуатацию" и местными инструктивными материалами на приемку оборудования.

1.4. Эксплуатация шкафов КРУ должна вестись в соответствии с требованиями действующих руководящих документов (Правил технической эксплуатации электрических станций и сетей, Правил техники безопасности при эксплуатации электроустановок, Норм испытания электрооборудования, директивных документов Минэнерго СССР и др.) и указаниями настоящей Типовой инструкции. Основные неисправности КРУ и способы их устранения приведены в приложении 1.

1.5. Для обеспечения надежной работы КРУ должны удовлетворять следующим дополнительным требованиям:

1.5.1. Каждый шкаф КРУ должен иметь на корпусе порядковый номер, назначение присоединения и единое диспетчерское наименование. Шкафы КРУ двустороннего обслуживания должны иметь указанные надписи с двух сторон. При наличии возможного питания шкафа от второго источника рекомендуется нанести на него отличительную метку (например, красную полосу).

1.5.2. При наличии в электроустановке нескольких секций КРУ между ними на крышках с обеих сторон межсекционных ячеек на высоте около 0,5 м должны быть надписи с обозначением секций.

1.5.3. На все низковольтные аппараты (автоматы, переключатели, реле и т.п.) и розетки должны быть нанесены надписи, указывающие их функциональное назначение и, при необходимости, номинальные или предельные данные (ток, напряжение). Вторичные цепи должны маркироваться влагостойкой краской в соответствии с исполнительными монтажными схемами. Шкалы приборов должны иметь отметки, соответствующие номинальным данным присоединений.

1.5.4. Для обеспечения нормальных условий работы аппаратов в релейном отсеке (отсеке управления) и отсеке масляного выключателя КРУ наружной установки (КРУН) должны быть установлены нагревательные устройства, управляемые, по возможности автоматически (от датчиков, температуры, влажности). Мощность нагревательных устройств должна быть выбрана исходя из условий экономичности, а при автоматизации их включения - из условия минимального количества срабатываний включающей аппаратуры.

1.5.5. Температура воздуха в КРУ не должна превышать предельных значений, определяемых ГОСТ 14693-77 для данной категории размещения или встраиваемой комплектующей аппаратуры.

Для уменьшения нагрева КРУН в летнее время рекомендуется их наружную поверхность окрашивать белой краской (например, эмалью ПФ-115 ГОСТ 6465-76). При установке шкафов КРУН в южных районах страны рекомендуется выполнять защиту их поверхности от перегрева специальными экранами, устанавливаемыми над крышей.

1.5.6. С целью предотвращения затекания воды в КРУН их крыша и стены должны быть уплотнены. Сварные швы, крепящие патрубки для крепления проходных изоляторов наружной установки должны быть сплошными, без щелей и покрашены. Токоведущие шины этих изоляторов не должны иметь нарушения уплотнений.

Стыки шкафов, двери, крышки должны иметь надежное уплотнение. Щели в днищах шкафов, проходы кабелей должны быть уплотнены и залиты эпоксидной или кровельной смолой, а нижние жалюзи закрыты. При наличии гидрофобных покрытий на изоляции верхние жалюзи могут быть открыты для лучшего удаления взрывоопасных газов.

Некоторые способы уплотнения шкафов КРУ приведены в приложении 2.

1.5.7. Металлические части конструкций шкафов должны иметь сплошное антикоррозионное покрытие. Резьбовые, трущиеся поверхности должны быть покрыты смазками:

- контактные соединения покрываются тонким слоем чистой смазки, например, технического вазелина (ГОСТ 782-69), ЦИАТИМ-201, (ГОСТ 6267-74) и др.;

- подвижные и неподвижные электрические контакты покрываются техническим вазелином;

- трущиеся детали механизмов КРУ покрываются низкотемпературной смазкой, например, ЦИАТИМ-203 (ГОСТ 8773-73).

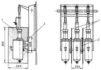
1.5.8. Шкафы КРУ должны быть по возможности оборудованы устройствами дистанционного управления выключателями. При отсутствии устройств дистанционного включения рекомендуется смонтировать их в первую очередь для выключателей ВМП-10П, ВМПП-10, ВМГ-133 и ВМГ-10 с пружинными и пружинно-грузовыми приводами. Пример исполнения такого устройства с помощью переносного пульта и шлангового кабеля, подключаемого к розетке приведен в приложении 3.

1.5.9. Во избежание образования цементной пыли полы коридора ЗРУ должны быть окрашены, не разрушаться при перемещении тележек.

1.5.10. На КРУ должна вестись техническая и ремонтная документация, в которую заносятся все сведения о ремонтах и испытаниях КРУ и их элементов.

2. МЕРЫ БЕЗОПАСНОСТИ ПРИ ОБСЛУЖИВАНИИ КРУ

2.1. К обслуживанию КРУ допускается специально обученный технический и оперативный персонал, имеющий соответствующую квалификационную группу по технике безопасности и знающий конструкцию и особенности эксплуатации КРУ.

2.2. Исходя из условий безопасности к КРУ предъявляются следующие требования.

2.2.1. Двери шкафов КРУ должны быть оборудованы замками и иметь надежные петли, предотвращающие их срыв при дуговых замыканиях внутри ячеек. Обе двери коридора обслуживания шкафов КРУН и двери ЗРУ с КРУ должны иметь легко открывающиеся изнутри замки (запоры), позволяющие персоналу в случае повреждений КРУ легко выйти наружу.

2.2.2. Фасадные двери всех шкафов КРУ должны быть нормально закрытыми, а фасадные перегородки уплотнены (съемные крышки надежно закреплены, стекла смотровых окон вставлены, проемы закрыты и т.п.). Нарушение этих требований представляет опасность для персонала при дуговых замыканиях внутри КРУ.

2.2.3. Шторки КРУ с выкатными тележками должны автоматически закрываться при выкатывании тележек и иметь приспособления для их запирания. На шторках должны быть нанесены предупредительные надписи в соответствии с требованиями ПТБ.

2.2.4. Шкафы КРУ должны быть заземлены (сваркой или болтовыми соединениями). На конструкции КРУ должны быть болтовые зажимы, а на токоведущих шинах при необходимости оставлены не закрашенные места для подключения переносных заземлений.

2.2.5. Корпус выкатных тележек шкафов КРУ с выдвижными элементами должен иметь не менее двух непрерывных надежных электрических контактов с корпусом шкафа в рабочем, контрольном и промежуточном положении тележки.

2.2.6. Рукоятки приводов заземляющих ножей КРУ должны быть окрашены в красный цвет.

2.2.7. Объем блокировочных устройств КРУ определяется требованиями "Сборника директивных материалов. Электротехническая часть" (М.: СПО Союзтехэнерго, 1983) и проектом на данную электроустановку. В частности, в шкафах КРУ с выкатными тележками должны быть выполнены следующие виды блокировок, запрещающих:

а) перемещение тележки из рабочего положения в контрольное, а также из контрольного в рабочее при включенном выключателе;

б) перемещение тележки из контрольного положения тележки в рабочее при включенном заземляющем разъединителе;

в) включение выключателя при нахождении тележки в промежутке между рабочим и контрольным положениями;

г) вкатывание и выкатывание тележек с разъединяющими контактами под нагрузкой (шкафы без выключателей);

д) включение заземляющих разъединителей сборных шин, если тележки с выключателями вводов рабочего и резервного питания находятся в рабочем положении;

е) перевод тележек ввода рабочего и резервного питания в рабочее положение при включенном заземляющем разъединителе сборных шин;

ж) включение заземляющего разъединителя в шкафу секционирования при рабочем положении секционного выключателя.

2.2.8. В шкафах КРУ со стационарным размещением аппаратов должны быть выполнены следующие виды блокировок, запрещающих:

а) включение и отключение разъединителей при включенном выключателе;

б) включение основных ножей разъединителя при включенных заземляющих ножах и включение заземляющих ножей при включенных основных;

в) включение заземляющего разъединителя сборных шин при включенном положении выключателей (разъединителей) ввода и секционных и включение последних при включенном положении заземляющего разъединителя сборных шин. Допускается при сложности выполнения блокировки запирание заземляющих разъединителей сборных шин на специальный замок;

г) открывание дверей высоковольтного отсека (при отсутствии сетчатого ограждения) при наличии напряжения в отсеке.

2.2.10. Кроме того, в соответствии с проектной схемой шкафы КРУ могут иметь блокировочные устройства с внешними коммутационными аппаратами (отделителями и разъединителями на стороне высшего напряжения и т.п.).

2.3. Персоналу, обслуживающему КРУ, необходимо знать, что в КРУ некоторых серий имеется ряд мест, опасных для персонала. Наиболее опасны из них:

- шкафы трансформаторов СН, серии К-VI ранних выпусков, у которых трансформатор подсоединяется через разъединитель РВФ-10 к сборным шинам. Это приводит к тому, что при наличии на них напряжения разъединитель в другом отсеке оставался под напряжением;

- шкафы серии К-ХIII (выпусков до 1968 г.), у которых верхние разъединяющие контакты не закрывались горизонтальными шторками при выкатывании тележки, что не позволяет работать на трансформаторах тока из-за возможного приближения к верхним разъединяющим контактам;

- шкафы СБРУН, не имеющие блокировки разъединителей с дверьми (сетчатыми ограждениями).

Дополнительные правила техники безопасности при обслуживании КРУ должны быть указаны в местных инструкциях.

2.4. При обслуживании КРУ помимо общих должны соблюдаться следующие правила техники безопасности.

2.4.1. При обслуживании КРУ запрещается:

а) проникать без снятия напряжения и наложения заземления на токоведущие части в высоковольтную часть ячейки для работы на ней;

б) производить демонтаж защитных шторок, блокировочных устройств и перегородок между отсеками ячейки;

в) производить работы на выключателе или приводе при взведенном положении рабочих пружин и включенных цепях управления выключателем;

г) накладывать заземления (включать заземляющие разъединители) без видимого разрыва токоведущей цепи или без проверки отсутствия напряжения;

д) использовать основные ножи разъединителей в качестве заземляющих, когда заземление токоведущих частей происходит автоматически при отключении разъединителя;

е) открывать выхлопные (разгрузочные) клапаны, так как это может привести к ошибочному отключению выключателя;

ж) хранить в коридоре обслуживания КРУ и ЗРУ легковоспламеняющиеся и взрывоопасные вещества и горючие предметы;

з) производить плановые осмотры КРУН во время грозы и дождя.

2.4.2. Для производства работ на выкатной тележке КРУ необходимо:

а) отключить выключатель данного присоединения;

б) выкатить тележку в ремонтное положение;

в) запереть дверцы шкафа, а при их отсутствии - автоматические шторки;

г) на дверцах шкафа вывесить плакат "Не включать - работают люди", а при их отсутствии - на верхней шторке "Стой, высокое напряжение!", "Не включать - работают люди".

2.4.3. Для производства кратковременных работ в отсеке, где находилась тележка КРУ, необходимо:

а) запереть на замок защитные шторки, закрывающие отсеки с токоведущими частями, которые находятся под напряжением;

б) вывесить плакаты: на шторках "Стой, высокое напряжение!", в отсеке - "Работать здесь".

2.4.4. При работах в КРУ в отсеках кабельных и воздушных линий (например, на трансформаторах тока) необходимо:

- выкатить тележку в ремонтное или контрольное (в КРУ с двусторонним обслуживанием) положение;

- зафиксировать тележку в контрольном положении;

- убедиться в отсутствии напряжения;

- включить заземляющий разъединитель при отсутствии напряжения со стороны линии;

- вывесить плакат "Не включать - работают люди" на тележке, находящейся в контрольном положении;

- вывесить плакат "Работать здесь" в отсеке, где производятся работы.

2.4.5. Для опробования выключателей и проверки действия устройств защиты в шкафу КРУ необходимо:

- выкатить тележку в ремонтное (при наличии удлиняющего жгута) или контрольное положение и зафиксировать в нем;

- прекратить все работы в отсеках КРУ.

Ранее наложенные в шкафу КРУ заземления при опробовании оборудования не снимать.

2.5. Следует помнить, что при наличии дефектов в оборудовании КРУ или неудовлетворительной его эксплуатации КРУ могут представлять опасность для обслуживающего персонала. Наибольшую опасность представляют КРУ с масляными выключателями, в которых при нарушении их контактной системы (недовключении, повреждении контактов и т.п.) под действием электрической дуги разлагается трансформаторное масло и выделяется взрывоопасная смесь газов.

Наиболее взрывоопасны выключатели с пружинными приводами из-за недостаточного усилия рабочих пружин, которые могут недовключить выключатель при коротком замыкании на линии, что может привести к его повреждению.

Выключатели с электромагнитными приводами более надежны и поэтому менее опасны для персонала.

2.6. При обслуживании КРУ необходимо соблюдать следующие меры предосторожности.

2.6.1. Перед осмотром КРУ необходимо убедиться в отсутствии шума и потрескиваний внутри КРУ. При обнаружении дыма или ненормального шума запрещается приближение к КРУ до снятия напряжения с поврежденного шкафа, например, путем дистанционного отключения выключателя ввода.

2.6.2. При осмотре действующего КРУ необходимо в первую очередь проверить положение сигнальных устройств защиты и автоматики, а также оборудование шкафов КРУ, выключатели которых аварийно отключались.

2.6.3. Включение выключателя после его аварийного отключения (включение на возможное короткое замыкание) необходимо производить только дистанционно.

2.6.4. При плановых выключениях выключателей следует выполнять рекомендации п. 4.12.

2.6.5. При ремонтных работах на выключателе необходимо соблюдать следующие меры безопасности:

а) цепи управления выключателем должны быть отключены во избежание случайной подачи импульса на включение и отключение;

б) в случае необходимости в приводах устанавливаются стопорные приспособления, препятствующие освобождению включающего и отключающего механизмов;

в) силовые пружины приводов во избежание случайного включения (отключения) выключателя должны быть разгружены;

г) при опробовании выключателя запрещается проведение других работ вблизи выключателя.

2.6.6. Запрещается без ведома вышестоящего оперативного персонала деблокирование блокировочных устройств коммутационных аппаратов. При использовании в КРУ блок-замков системы Гинодмана следует помнить, что ключи из замков можно вынуть только при полностью запертом замке, т.е. после фиксации блокируемого аппарата.

2.6.7. При работах с полным обесточиванием секции КРУ, имеющих коридор управления, напряжение от постороннего источника должно подаваться только к отдельным потребителям, минуя сборки 0,4 кВ, так как это создает повышенную опасность для персонала из-за наличия напряжения 220 В практически во всех ячейках.

3. ПОДГОТОВКА КРУ К ЭКСПЛУАТАЦИИ

3.1. Монтаж КРУ должен быть произведен в соответствии с проектом и заводскими инструкциями.

3.2. После окончания монтажа необходимо проверить комплектность КРУ, очистить конструкции, оборудование, аппараты от пыли и загрязнений, произвести уборку коридора управления КРУН или ЗРУ. С эпоксидной изоляции трансформаторов тока и напряжения и других деталей с помощью растворителей уайт-спирита или авиационного бензина (ГОСТ 1012-72) удалить консервационную смазку.

3.3. Провести тщательный осмотр и оценку состояния шкафов КРУ и всех его элементов. При осмотре необходимо:

3.3.1. Проверить правильность установки корпусов шкафов КРУ. Они должны быть установлены вертикально, без перекосов, без больших (не более 1 - 2 мм) зазоров между стенками соседних шкафов, надежно прикреплены к фундаментам.

3.3.2. Проверить уплотнения внешней оболочки. Не должно быть щелей в крыше, стенках, полу и проходных изоляторах. Выявленные щели устраняются по рекомендациям приложения 2.

3.3.3. Проверить целостность и комплектность высоковольтных аппаратов, надежность их крепления, правильность подключения и наличие заземления в соответствии с инструкциями заводов-изготовителей.

3.3.4. Проверить состояние фарфоровых изоляторов, наличие уплотнения проходных изоляторов между соседними отсеками и шкафами КРУ. При проверке необходимо убедиться в отсутствии на изоляторах трещин и сколов.

3.3.5. Выявить ослабленные изоляционные воздушные промежутки КРУ (менее 100 мм), которые по возможности должны быть доведены до нормы или усилены с помощью изоляционных барьеров из влагостойких изоляционных материалов (гетинакса, стеклотекстолита и др.).

3.3.6. Проверить состояние аппаратуры вторичных цепей: надежность их крепления, затяжку винтов на контактах и зажимах. При необходимости производится их подтяжка и расконсервация аппаратов.

3.3.7. Проверить выборочно (с разборкой) контактные соединения токоведущих частей КРУ. При необходимости контактные соединения зачистить до блеска и покрыть тонким слоем чистой смазки (см. п. 1.5.7.). В том случае, когда предполагается электрическая нагрузка на шинах, близкая к номинальной, производится оснащение контактных соединений термоиндикаторами (пленочными и др.).

Зачистка контактных поверхностей выводов аппаратов, имеющих гальваническое покрытие (серебрение, облуживание), недопустима, производится лишь промывка нейтральными растворителями (например, бензином-растворителем БР-1 (ГОСТ 443-76), спиртом (ГОСТ 11547-76) и т.п.

3.3.8. Проверить наличие смазки в трущихся частях. При сильном загрязнении ее заменить. Смазка должна быть нанесена на трущиеся детали механизмов перемещения и фиксации, шторочного механизма, заземляющего разъединителя, блокировки, петли дверей, крышки, подшипники колес тележек, вентиляторов, петли разгрузочного клапана, трущиеся детали привода и выключателя. Рекомендуемые типы смазок приведены в п. 1.5.7.

3.3.9. Проверить наличие и надежность подсоединения корпусов шкафов КРУ к контуру заземления.

3.4. Перед наладкой оборудования КРУ необходимо проверить работу основных механизмов и устройств КРУ.

3.4.1. В первую очередь следует проверить работу механизма перемещения и фиксации тележек. Для этого необходимо, чтобы направляющие и площадки для перемещения тележек были ровные, без перекосов. Механизм перемещения должен обеспечивать свободное и плавное перемещение тележек из разобщенного в контрольное и рабочее положения и обратно. Механизм фиксации должен обеспечивать надежную фиксацию тележек в контрольном и рабочем положениях.

Механизмы перемещения тележек КРУ выпускаются в основном трех типов: рычажный (шкафы К-VI-V и др.), с храповым устройством (шкафы К-ХIII) и с червячной передачей (шкафы К-37).

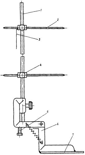
На рис. 1 приведена схема механизма перемещения тележек шкафов КРУ серии К-VI-V, который одновременно выполняет фиксацию тележек. Поворотом рычага 1 вниз производится перемещение (доводка) тележки в контрольное или рабочее положение и фиксация в нем тележки с помощью захода подвижной трубки на рычаге в вырез в пазу сегмента 5. При этом ролики вала доводки должны входить в пазы скоб 4, укрепленных на боковых стенках так, чтобы между ними и дном паза обеспечивался зазор 1 - 2 мм. При отсутствии такого зазора возможны поднятие и перекос тележки.

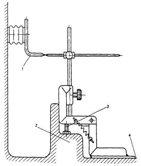
Механизм перемещения тележек шкафов КРУ серии К-ХIII сложен в работе, а применение случайных предметов в качестве рычагов вместо механизма перемещения может привести к перекосу тележек и несовпадению разъединяющих контактов. Для исключения этого может быть применен простейший механизм доводки (рис. 2).

Механизм перемещения тележек с помощью червячной передачи в шкаф КРУ серии К-37 работает достаточно надежно и, как правило не требует подрегулировки (рис. 3).

Рис. 1. Схема механизма перемещения и фиксации шкафов КРУН серии К-VI-V

1 - рычаг; 2 - фиксатор; 3 - ролик вала; 4 - скоба; 5 - сегмент; 6 - передняя крышка тележки; 7 - вал

Рис. 2. Упрощенный механизм доводки шкафов серии К-XIII

а - схема работы механизма; б - общий вид

Рис. 3. Общий вид механизма перемещения шкафов К-37:

1, 2 - подшипники; 3, 15- вал; 4, 12, 18 - рычаги; 5 - червячное колесо; 6 - фланец; 7, 11 - фиксатор;
8 - пружина; 9 - штифт; 10 - шпонка; 13 - ручка; 14 - палец; 16 - втулка; 17, 19 - тяга

3.4.2. Проверить надежность работы фиксирующих устройств тележки в контрольном и рабочем положениях. Фиксация и расфиксация должны происходить легко, без заедания и, в зависимости от положения, позволять или запрещать производить необходимые операции с тележкой и выключателем. Устройства фиксации просты и не требуют специальных регулировок.

3.4.3. Проверить исправность механической блокировки, предотвращающей включение выключателя в расфиксированном (промежуточном) положении тележки и выкатывание ее из рабочего положения с включенным выключателем. Предотвращение этих операций достигается с помощью специальных устройств. Например, в шкафах КРУ серии К-VI-V это достигается введением упорных регулируемых секторов, расположенных на валу приводов и валу механизма доводки, в шкафах КРУ серии К-37 - с помощью рычагов и тяг, взаимодействующих с приводами выключателей.

Опробование блокировки следует производить в два приема: при выкатывании тележки из рабочего положения в контрольное и при вкатывании ее из контрольного в рабочее в следующей последовательности:

а) включить выключатель:

б) попытаться расфиксировать и переместить тележку;

в) отключить выключатель;

г) расфиксировать тележку;

д) попытаться включить выключатель;

е) переместить тележку в другое положение и зафиксировать в нем.

В этом положении операции по пп. а - д повторить.

При отказе в запрете операций по пп. б, д в одном из положений отрегулировать механизм перемещения или устройств фиксации и блокировки.

3.4.4. Проверить работу шторочного механизма несколькими операциями по вкатыванию тележки в рабочее положение и выкатыванию ее в ремонтное положение. Шторки при этом должны плавно и надежно закрываться и открываться без заеданий и нарушения изоляционных промежутков между ними и токоведущими шинами. При необходимости произвести проверку возможности открывания нижней шторки при запертой на замок верхней, для чего расчленить соединительные тяги.

3.4.5. В КРУ с выкатными тележками проверить соосность и измерить вхождение разъединяющих контактов непосредственно, если имеется доступ к ним в рабочем положении тележки, или с помощью приспособлений по одной из методик, приведенных в приложении 4, если такой доступ отсутствует.

Несоосность контактов не должна превышать 4 - 5 мм, вхождение подвижного контакта в неподвижный должно быть не менее 15 мм, запас хода - не менее 2 мм. Регулирование соосности производится перемещением изоляторов или трансформаторов тока с неподвижными контактами, регулирование вхождения контактов производится с помощью прокладок под изоляторы или неподвижные контакты.

Кроме того, выборочно в соответствии с техническими условиями на данный тип КРУ производятся измерения контактного нажатия ламелей подвижных контактов на неподвижные или измерения вытягивающего усилия неподвижного контакта из подвижного (неподвижный контакт имитируется шаблоном).

Значения усилий и вхождений контактов должны соответствовать указанным в рабочих чертежах на конкретные типы КРУ.

3.4.6. В ячейках КРУ без втычных элементов проверить состояние блокировки выключателя с разъединителем. Она не должна позволять производить операции с разъединителем при включенном выключателе.

Фиксация положения разъединителя должна обеспечивать его надежную работу.

3.4.7. Проверить работу заземляющих разъединителей ячеек с выключателями путем производства нескольких операций отключения и включения. При этом разъединитель должен надежно фиксироваться в положениях "включено" и "отключено" при сохранении требуемых изоляционных промежутков.

3.4.8. Провести опробование блокировки, предотвращающей вкатывание тележки в рабочее положение при включенном заземляющем разъединителе. При неудовлетворительной работе блокировок в некоторых типах КРУ можно их усовершенствовать в соответствии с рекомендациями, изложенными в приложении 5.

3.4.9. Проверить правильность установки и работы разгрузочного клапана КРУ (рис. 4). Клапан должен свободно открываться, воздействуя при этом на срабатывание контакта защиты от дуговых замыканий. При наличии в КРУ внутренней установки вентиляционных отверстий они должны быть постоянно открыты.

Рис. 4. Схема сборки разгрузочного клапана шкафов К-37:

а - правильная; б - неправильная;
1 - крышка сборных шин; 2 - разгрузочный клапан; 3 - концевой выключатель

3.4.10. Проверить объем, соответствие проекту и исправность блокировок коммутационных аппаратов применительно к конкретной электрической схеме данного объекта. Блокировка не должна разрешать выполнение ошибочных операций.

3.5. Перед включением КРУ в работу необходимо:

а) провести ревизию оборудования КРУ в соответствии с заводскими инструкциями;

б) очистить изоляцию оборудования и токоведущих шин от загрязнений;

в) отрегулировать низковольтную аппаратуру и аппаратуру защиты и автоматики;

г) проверить целостность предохранителей и параметры их плавкой вставки в соответствии с уставками;

д) проверить вторичные цепи и опломбировать электрические счетчики учета электроэнергии;

е) проверить и опробовать цепи СН (обогрева, освещения КРУ, электросварки и т.п.);

ж) проверить работу аппаратуры связи.

3.6. При производстве наладочных работ на оборудование и аппаратуру наносятся все необходимые надписи в соответствии с исполнительными схемами, функциональным назначением аппаратов и требованиями настоящей Типовой инструкции.

3.7. После производства всех работ на высоковольтном оборудовании производятся пусконаладочные испытания КРУ и комплектующего оборудования в соответствии с гл. 6 настоящей Типовой инструкции. Результаты испытаний заносятся в техническую документацию.

3.8. При необходимости производится усиление высоковольтной изоляции (нанесение гидрофобных покрытий на изоляцию КРУ, усиление ослабленных изоляционных промежутков и т.д.) по методике, при веденной в приложении 2, и выполняются мероприятия по повышению надежности работы КРУ и комплектующей аппаратуры, приведенные в приложении 3.

3.9. Непосредственно перед включением КРУ необходимо выполнить следующие подготовительные работы:

а) провести контрольный осмотр КРУ, чтобы убедиться в отсутствии внутри шкафов посторонних предметов, переносных заземлений и т.п.;

б) проверить надежность крепления задних стенок, ограждений, люков КРУ, положение жалюзей, клапанов крышек приводов и т.п.;

в) установить высоковольтные предохранители для защиты трансформаторов СН, трансформаторов напряжения; их тележки (выдвижные блоки) устанавливаются в рабочее положение;

г) проверить положение накладок, автоматов, переключателей, наличие предохранителей во вспомогательных цепях.

3.10. Включение КРУ в работу следует проводить по специальной программе. При этом нужно учитывать, что на упрощенных подстанциях с переменным оперативным током предварительно необходимо провести зарядку конденсаторов отключающих устройств от постороннего источника переменного тока.

Оперирование коммутационными аппаратами и выдвижными элементами КРУ проводится в соответствии с инструкциями на данный тип КРУ и указаниями настоящей Типовой инструкции (гл. 4).

3.11. После включения КРУ под напряжение необходимо его осмотреть. При наличии ненормальных шумов и потрескиваний немедленно отключить КРУ для выявления и устранения дефекта.

4. ОПЕРАТИВНО-ЭКСПЛУАТАЦИОННОЕ ОБСЛУЖИВАНИЕ КРУ

4.1. В оперативно-эксплуатационное обслуживание КРУ, осуществляемое оперативным или оперативно-ремонтным персоналом предприятий энергосистем или электростанций, входят:

а) периодические осмотры, проводимые в те же сроки, что и осмотр всей электроустановки;

б) внеочередные осмотры, проводимые после отключении коротких замыканий, после грозы, ливневых дождей, снежных бурь, заносов, гололеда;

в) ведение заданного режима работы по схеме, нагрузке, напряжению, температуре воздуха;

г) производство необходимых оперативных переключений: плановых, внеплановых, аварийных и с целью допуска к работам ремонтных и специализированных бригад;

д) снятие показаний электрических приборов и электросчетчиков;

е) уход за низковольтными электрическими аппаратами и аппаратами вспомогательных цепей (чистка от пыли, замена предохранителей и т.п.);

ж) производство небольших по объему ремонтно-эксплуатационных работ (ремонт цепей освещения, устройств обогрева, аппаратуры блокировки, слив и доливка масла в малообъемные масляные выключатели, небольшие покрасочные работы на оборудовании, ограждениях, уборка помещений и т.п.);

з) ликвидация небольших по объему аварийных повреждений на оборудовании КРУ.

4.2. Сроки проведения осмотров КРУ и ремонтно-эксплуатационных работ определяются исходя из местных условий и опыта эксплуатации и должны быть утверждены главным инженером энергосистемы (электросети).

4.3. Объем работ, выполняемых при периодических осмотрах, определяется категорией размещения, способом обслуживания, типом КРУ.

4.4. При периодическом осмотре КРУ внутренней установки визуально определяется:

а) состояние элементов здания ЗРУ (исправность замков, дверей, отсутствие течи крыши, состояние кабельных каналов и др.);

б) состояние изоляции (загрязненность, отсутствие видимых дефектов, частичных разрядов и т.п.);

в) наличие, цвет и уровень масла в маслонаполненных аппаратах, отсутствие выброса масла из масляных выключателей;

г) состояние приводов (соответствие заданному положению выключателя, наличие защитных кожухов, крышек, состояние блок-контактов и т.п.);

д) состояние доступных для осмотра разъединяющих контактов КРУ с выкатными тележками, надежность фиксации тележек;

е) состояние реле и низковольтных аппаратов СН (автоматов, предохранителей и др.);

ж) состояние и исправность освещения КРУ;

з) показание измерительных приборов, характеризующих нагрузку, напряжение, состояние электрооборудования КРУ;

и) состояние видимых термоиндикаторов на токоведущих частях.

4.5. При периодическом осмотре КРУ наружной установки дополнительно к п. 4.4. определяется:

а) исправность дверей и замков (запоров) шкафов;

б) состояние оболочки шкафов КРУ (наличие щелей в крыше, проходных изоляторах, днищах, положение жалюзи и т.п.);

в) состояние гидрофобной пасты на изоляции, доступной для осмотра;

г) состояние грозозащитных разрядников на подходе к КРУ воздушных линий электропередачи;

д) состояние строительной части КРУ (фундаментов, площадок, отмосток).

4.6. При обнаружении дефектов, могущих привести к аварии, необходимо принимать срочные меры по их устранению. Сведения о других дефектах, не требующих срочного устранения, записываются в оперативную документацию для последующего принятия мер по их устранению.

4.7. При периодическом осмотре КРУ необходимо опробовать:

- устройства сигнализации;

- связь с местным оперативным персоналом и телесигнализацию;

- освещение КРУ;

- аппаратуру и автоматику подогрева;

- коммутационную аппаратуру (при совпадении времени осмотра с графиком опробования) в соответствии с п. 4.12.

4.8. Во время внеочередного осмотра помимо работ, проводимых при периодическом осмотре, необходимо дополнительно выполнить следующее.

4.8.1. После отключения короткого замыкания выключателем необходимо:

- определить положение привода и выключателя;

- осмотреть состояние и положение деталей выключателя, а также оборудование и изоляцию КРУ;

- определить цвет, уровень масла в выключателе и наличие выброса его из выключателя;

- определить по положению указателей правильность работы защит и автоматики (АПВ, АВР и др.)

4.8.2. Во время осмотра после грозы, кроме работ по п. 4.8.1, обходимо проверить всю доступную для осмотра изоляцию КРУ и состояние разрядников.

4.8.3. После ливневых дождей и снежных бурь необходимо проверить отсутствие в шкафах КРУН воды и снега.

4.8.4. При ночных обходах дополнительно осматриваются доступные контактные соединения и изоляция на наличие свечения и коронирования.

4.9. Результаты осмотров КРУ должны записываться в журнал.

4.10. Не реже одного раза в год осмотр КРУ должен проводиться инженерно-техническим персоналом, закрепленным за данной электроустановкой, с целью более квалифицированного определения состояния электрооборудования, аппаратуры и строительной части.

4.11. При перемещении выкатной тележки с выключателем необходимо соблюдать следующие меры предосторожности.

4.11.1. Перед вкатыванием тележки в корпус шкафа из ремонтного положения в контрольное необходимо убедиться, что:

- со шторок снят навесной замок;

- выключатель отключен;

- заземляющий разъединитель отключен (переносное заземление снято);

- положение фиксирующего устройства тележки соответствует заданной операции;

- в ячейке и на вкатываемой тележке нет посторонних предметов (инструмента, ветоши, проволоки и др.).

4.11.2. После вкатывания тележки в контрольное положение ее необходимо запереть фиксирующим устройством.

4.11.3. В контрольном положении тележки необходимо выполнить соединение штепсельных разъемов вторичных цепей, завести рабочие пружины привода и опробовать выключатель в последовательности, указанной в п. 4.12.1.

4.11.4. При необходимости вкатывания тележки в рабочее положение необходимо:

а) проверить отключенное положение выключателя и заземляющего разъединителя;

б) расфиксировать тележку;

в) с помощью механизма перемещения (при его отсутствии вручную) докатить тележку до рабочего положения;

г) зафиксировать ее в рабочем положении.

4.11.5. Через смотровые окна проверить точность вхождения разъединяющих контактов первичной цепи (если это позволяет конструкция и способ установки шкафов). При их несовпадении производится регулирование вхождения по методике, приведенной в приложении 4.

4.11.6. Перед выкатыванием тележки из рабочего положения в ремонтное необходимо убедиться, что выключатель отключен. После проверки и расфиксации тележка перемещается в контрольное положение.

4.11.7. В контрольном положении тележки выполнить рассоединение штепсельных разъемов вторичных цепей, после чего тележку можно выкатить в ремонтное положение.

Следует помнить, что во избежание пробоя изоляции вторичных цепей трансформаторов тока высоким напряжением запрещается рассоединение и соединение штепсельных разъемов в рабочем положении тележки, так как выключатель может быть не отключенным.

4.11.8. При вкатывании тележки в рабочее положение не следует применять больших усилий. Необходимо пользоваться механизмом перемещения (доводки). Если тележка не входит или входит с трудом в рабочее положение, это свидетельствует или о несовпадении осей подвижных и неподвижных разъединяющих контактов, которые следует отрегулировать, или о наличии в ячейке посторонних предметов, или о преждевременной фиксации тележки.

4.12. Плановые включения выключателей, например, после ремонта, следует проводить в следующей последовательности.

4.12.1. В контрольном положении тележки или при отключенных разъединителях (в КРУ без выкатных элементов) произвести опробование работы выключателей, для чего:

а) подготовить привод к включению (завести пружины, поднять груз) и проверить соответствие положения деталей привода заданному положению (при необходимости снять крышку с привода);

б) выключатель включить дистанционно (при отсутствии дистанционного управления - вручную) и проверить положение его деталей и деталей привода;

в) при успешном включении выключатель отключить.

4.12.2. Для последующего включения выключателя в рабочем положении необходимо:

а) перевести тележку с выключателем в рабочее положение или включить разъединители в КРУ без выкатных элементов;

б) проверить положение и фиксацию аппаратов в рабочем положении;

в) подготовить привод к включению (в пружинных приводах завести пружины);

г) включить выключатель и сразу проверить посадку привода на защелку и убедиться в отсутствии ненормального шума в выключателе;

д) если произошло недовключение выключателя, его необходимо немедленно отключить и принять меры для устранения дефекта;

е) при успешной посадке пружинного или пружинно-грузового привода на защелку подготовить выключатель для работы в цикле АПВ, для чего завести пружины (поднять груз), ввести в работу автоматический моторный редуктор (АМР) и убедиться в правильном положении рычагов привода, воздействующих на блок-контакты, участвующие в АПВ.

4.13. Перед включением или отключением трансформаторов СН необходимо проверить отключенное положение вводных аппаратов низшего напряжения (автомата или рубильника в шкафу низковольтной аппаратуры). Включение трансформаторов СН проводится в соответствии с заводской инструкцией. Например, в шкафах КРУН серии К-VI-V - путем поднятия съемным рычагом блока предохранителей, в шкафах КРУ с выкатной тележкой с предохранителями - путем ее вкатывания, в шкафах КРУН без выкатных элементов - путем включения разъединителя в цепи питания трансформатора СН и т.д.

4.14. При аварийном повреждении выключателя или привода может возникнуть необходимость в замене поврежденной выкатной тележки резервной. Учитывая, что тележки могут быть не взаимозаменяемы, необходимо перед вкатыванием новой тележки выполнить следующее:

а) убедиться, что номинальный ток резервной тележки соответствует току заменяемой;

б) убедиться, что выключатель и привод резервной тележки исправны (при необходимости отрегулировать выключатель и привод резервной тележки);

в) проворить идентичность защит и вторичных цепей у резервной и заменяемой тележек (при необходимости опробовать и отрегулировать защиту);

г) опробовать в контрольном положении дистанционное и местное управление выключателем;

д) проверить действие механизма перемещения, блокировки и произвести пробное вкатывание и выкатывание и, при необходимости, подрегулировать разъединяющие контакты первичной цепи и контакты вторичных цепей.

4.15. При эксплуатации КРУ должны также выполняться рекомендации заводских инструкций.

При применении гидрофобных покрытий изоляции подогрев КРУ во влажную погоду с целью предупреждения образования росы на поверхности изоляции может не выполняться.

4.16. Объем работ по техническому обслуживанию КРУ исходя из конкретных конструкций КРУ, комплектующих аппаратов и местных условий может быть расширен решением главного инженера энергосистемы (электросети, электростанции).

5. РЕМОНТ КРУ

5.1. Сроки проведения плановых текущих и капитальных ремонтов КРУ, выключателей и приводов должны определяться на основании ПТЭ главным инженером энергосистемы.

5.2. Внеочередной текущий ремонт проводится для устранения дефектов, обнаруженных при осмотрах или выявленных в процессе эксплуатации.

5.3. Внеочередной капитальный ремонт КРУ следует проводить после появления в КРУ значительных дефектов или повреждений, препятствующих их дальнейшей надежной и безопасной работе (например, необходимости замены встроенного оборудования, ошиновки, механизмов и т.п.).

5.4. Перед проведением ремонта должна быть составлена ведомость дефектов. Одновременно с проведением ремонтов должны выполняться мероприятия, направленные на повышение надежности и безопасности КРУ в соответствии с директивными документами.

5.5. Текущий ремонт КРУ и встроенного оборудования выполняется со снятием напряжения. В объем ремонта входит:

5.5.1. Текущий ремонт масляных выключателей и их приводов, который предусматривает:

- наружный осмотр выключателя и привода. При этом следует обращать особое внимание на состояние изоляторов, уровень и цвет масла в выключателях; при необходимости следует долить масло в баки выключателей, устранить течи масла и очистить маслоуказательные стекла;

- проверку взаимодействия механизмов привода и выключателя и опробование их в контрольном и ремонтном положении тележки при номинальном напряжении оперативного тока согласно п. 4.12.1*;

_____________

* Для опробования выключателя в ремонтном положении рекомендуется применять удлиняющий жгут вспомогательных цепей со штепсельными разъемами.

- ремонт дугогасительной камеры выключателя при значительном потемнении масла, а также при большом количестве отключений коротких замыканий;

- определение состояния смазки и при необходимости ее замену с разборкой деталей привода.

5.5.2. Осмотр и опробование в работе основных механизмов и узлов КРУ: механизма перемещения тележек, шторочного механизма, устройства фиксации и блокировок КРУ с выкатными тележками согласно гл. 3 настоящей Типовой инструкции. При необходимости производится их ремонт и замена смазки трущихся частей.

5.5.3. Осмотр и при необходимости регулирование и смазка разъединяющих контактов первичной цепи и ремонт разъемов вторичных цепей.

5.5.4. Осмотр, регулирование и смазка разъединителей первичной цепи и разъединителей заземления.

5.5.5. Осмотр встроенных в КРУ трансформаторов СН, измерительных трансформаторов, предохранителей и при необходимости их ремонт или замена.

5.5.6. Осмотр, очистка от пыли и испытание изоляции КРУ.

5.5.7. Замена гидрофобных покрытий при неудовлетворительных результатах испытаний (см. гл. 6 и приложение 2).

5.5.8. Осмотр и при необходимости ремонт цепей и приборов освещения, обогрева и СН, а также приборов защиты и автоматики, замена ламп освещения.

5.5.9. Проверка состояния уплотнений оболочки КРУН. При ее нарушении производится ремонт (см. рекомендации приложения 2).

5.6. В соответствии с местными условиями и конкретными дефектами КРУ во время текущего ремонта могут выполняться и другие работы по устранению неисправностей, приведенных в приложении 1.

5.7. Перед капитальным ремонтом КРУ должны быть выполнены следующие подготовительные работы:

5.7.1. На основании осмотра, ранее обнаруженных дефектов и профилактических испытаний составляется ведомость объема и программа работ, подлежащих выполнению при капитальном ремонте, или сетевой график.

5.7.2. Подготавливается инструмент, необходимые приспособления, запасные агрегаты и узлы, запасные части и материалы, необходимые для ремонта. Перечень инструмента и приспособлений для проведения ремонта КРУ определяется объемом ремонтных работ.

5.7.3. Подготавливаются необходимые измерительные приборы для испытаний электрооборудования.

5.7.4. Проводится инструктаж бригады.

5.8. Капитальный ремонт КРУ и выключателей проводится в соответствии с действующими заводскими инструкциями и технологическими картами по ремонту.

Капитальный ремонт остального комплектного оборудования проводится по результатам внешнего осмотра и профилактических испытаний. При их проведении также необходимо пользоваться заводскими инструкциями.

5.9. При капитальном ремонте шкафов КРУ помимо работ, выполняемых при текущих ремонтах, должны выполняться следующие работы.

5.9.1. Замена дефектных изоляторов и в случае необходимости усиление изоляции (см. приложение 2).

При капитальном ремонте КРУ замена гидрофобных покрытий изоляции должна проводиться независимо от результатов испытаний изоляции.

5.9.2. Разборка забракованных испытаниями или осмотром контактных соединений первичных цепей, зачистка, смазка и повторная затяжка. При необходимости проводится ремонт разъединяющих контактов. Проверяется нажатие ламелей на неподвижные контакты. Усилие нажатия одной ламели на нож должно быть не менее приведенного в заводских инструкциях. После регулирования контакты смазываются смазкой ЦИАТИМ-201 или техническим вазелином (ГОСТ 782-69).

5.9.3. Ремонт оболочки КРУ. Пораженные ржавчиной места зачищаются и прокрашиваются. Петли дверей смазываются низкотемпературными смазками (НК-30 и др.).

5.9.4. Ремонт строительной части КРУ (фундаментов, отмосток, полов в коридоре управления и т.п.).

5.9.5. Полная проверка и при необходимости профилактическое восстановление устройств релейной защиты ремонтируемых присоединений КРУ.

5.9.6. Высоковольтные и другие испытания КРУ (см. гл. 6) после окончания ремонтных работ.

5.10. Приемка секций КРУ из капитального ремонта должна осуществляться комиссией, назначаемой приказом по предприятию (электростанции). Акт приемки утверждается главным инженером предприятия.

6. ИСПЫТАНИЯ КРУ

6.1. Испытания КРУ и встроенного в них комплектного оборудования должны проводиться специально обученным персоналом.

6.2. Различают следующие виды испытаний КРУ:

а) приемо-сдаточные испытания вновь вводимого в эксплуатацию КРУ;

б) испытания при капитальном ремонте КРУ;

в) испытания при текущем ремонте КРУ;

г) межремонтные испытания.

6.3. Сроки проведения различных видов профилактических испытаний устанавливаются на основании Правил технической эксплуатации и действующих "Норм испытаний электрооборудования" с учетом конкретных местных условий и утверждаются главным инженером энергосистемы (предприятия).

6.4. Испытание повышенным напряжением вновь смонтированных КРУ должно проводиться до подключения воздушных или кабельных линий с включенными выключателями.

Находящиеся в эксплуатации КРУ должны испытываться повышенным напряжением после отсоединения линий и с включенными выключателями. С целью исключения нарушения изоляции кабельных линий при их отсоединении и присоединении допускается часть изоляции КРУ испытывать выпрямленным напряжением вместе с кабелем и кабельными разделками.

6.5. Пусконаладочные испытания и испытания КРУ при капитальном ремонте необходимо проводить в следующем объеме.

6.5.1. Измерить сопротивление изоляции первичных цепей мегаомметром на напряжение 2500 В. Значение сопротивления должно быть не менее 1000 МОм для новых и 300 МОм для эксплуатируемых КРУ.

6.5.2. Измерить сопротивление изоляции вторичных цепей мегаомметром на напряжение 500 - 2500 В. Значение сопротивления изоляции каждого присоединения должно быть не менее 1 МОм, цепей освещения - не менее 0,5 МОм.

6.5.3. Испытать повышенным напряжением изоляцию первичных цепей ячеек (см. п. 6.4) в течение 1 мин, если изоляция не содержит деталей из органических материалов, и в течение 5 мин, если они имеются. Испытательное напряжение должно быть: для КРУ 6 кВ с чисто фарфоровой изоляцией - 32 кВ; с наличием органической изоляции - 28,8 кВ; для КРУ 10 кВ - соответственно 42 и 37,8 кВ. Для выявления ослабленных изоляционных промежутков разрешается и при наличии органической изоляции испытывать напряжением 32 и 42 кВ в течение 1 мин соответственно для КРУ 6 и 10 кВ.

6.5.4. Испытать изоляцию вторичных цепей при вводе в эксплуатацию повышенным напряжением 1000 В в течение 1 мин. Последующие испытания повышенным напряжением промышленной частоты можно заменять измерением изоляции мегаомметром на напряжение 2500 В.

6.5.5. Провести механические испытания в соответствии с инструкциями заводов-изготовителей.

К механическим испытаниям относятся:

а) вкатывание и выкатывание выкатных тележек с проверкой взаимного вхождения разъединяющих контактов, а также работы шторок, блокировок, фиксаторов и т.п.;

б) измерение (выборочное) контактного нажатия разъединяющих контактов первичной цепи;

в) проверка работы и состояния заземляющего разъединителя.

6.5.6. Проверить (выборочно 2 - 3 % соединений) качество болтовых контактных соединений шин (проверка на затяжку болтов).

6.5.7. Измерить сопротивление постоянному току контактов шин, разъединяющих контактов первичной цепи и скользящих разъединяющих контактов вторичной силовой цепи. Сопротивление их не должно превышать значения, приведенных в таблице.

Допустимые значения сопротивления постоянному току контактов КРУ

Измеряемый элемент

Допустимое значение сопротивления

Контакты сборных шин

Сопротивление участка шин в месте контактного соединения не должно превышать более чем в 1,2 раза сопротивление участка шин той же длины без контакта.

Разъединяющие контакты первичной цепи*

Допустимые значения сопротивления контактов приведены в заводских инструкциях.

В случае, если значения сопротивления контактов в заводских инструкциях отсутствуют, они должны быть не более:

для контактов на 400 А - 75 мкОм,

для контактов на 600 А - 60 мкОм,

для контактов на 900 А - 50 мкОм,

для контактов на 1200 А - 40 мкОм,

для контактов на 2000 А - 33 мкОм.

Разъединяющие контакты вторичной цепи (только контакты скользящего типа)

Не более 400 мкОм

___________

* Измерение выполняется, если позволяет конструкция КРУ.

6.5.8. Испытать масляные и электромагнитные выключатели в следующем объеме:

а) измерить сопротивление изоляции и провести испытание повышенным напряжением промышленной частоты изоляции первичных и вторичных цепей выключателей (обычно с испытаниями КРУ). Кроме этого, повышенным напряжением испытывается разрыв выключателей;

б) измерить сопротивление токоведущего контура каждого полюса. Оно не должно превышать данные заводских норм и действующих Норм испытания электрооборудования;

в) измерить сопротивление обмоток включающих и отключающих электромагнитов. Оно не должно отличаться от заводских данных;

г) измерить скоростные и временные характеристики, которые должны соответствовать заводским нормам и действующим Нормам испытания электрооборудования;

д) проверить регулировочные характеристики выключателей (ход подвижных частей, вжим контактов при включении, одновременность замыкания и размыкания контактов и др.). Они должны соответствовать заводским данным;

е) проверить в работе механизм свободного расцепления не менее чем в двух положениях контактов при включении:

- в момент замыкания первичной цепи выключателя;

- при полностью включенном положении;

ж) измерить фактические значения напряжения срабатывания приводов, которые должны соответствовать нормам или быть на 15 - 20 % меньше нижнего предела рабочего напряжения на зажимах электромагнитов приводов;

з) провести испытание выключателей многократными опробованиями при следующих значениях напряжения на зажимах электромагнитов:

включения - 110; 100; 80 % номинального;

отключения - 120; 100; 65 % номинального.

Выключатели должны быть опробованы в цикле ВО (без выдержки времени), а выключатели, предназначенные для работы в режиме АПВ, - в циклах ОВ, ОВО.

Число операций включения и отключения должно быть три-пять при каждом значении напряжения на зажимах электромагнитов.

При возможности опробовать выключатели при верхнем пределе напряжения.

6.5.9. Трансформаторы СН, установленные в КРУ, необходимо испытывать в следующем порядке:

а) измерить сопротивление изоляции и определить коэффициент абсорбции;

б) испытать изоляцию повышенным напряжением промышленной частоты: для изоляции 6 кВ - 21 кВ, для 10 кВ - 30 кВ. Продолжительность испытания 1 мин;

в) измерить сопротивление обмоток постоянному току. Значения не должны отличаться от заводских данных и по фазам более чем на 2 %;

г) проверить коэффициент трансформации. Его значение не должно отличаться более чем на 2 % от заводских данных и по фазам;

д) испытать трансформаторное масло на пробой. Прочность его для 10 кВ должна быть не менее 25 кВ для новых трансформаторов и на менее 20 кВ для эксплуатируемых;

е) провести испытание трехкратным включением на номинальное напряжение.

6.5.10. Испытать измерительные трансформаторы в следующем объеме:

а) измерить сопротивление изоляции;

б) испытать изоляцию повышенным напряжением промышленной частоты;

в) измерить ток холостого хода трансформаторов напряжения при номинальном напряжении вторичной обмотки. Значение тока не нормируется, но сравнивается с заводскими данными или результатами предыдущих испытаний;

г) снять характеристики намагничивания сердечника трансформаторов тока. Снятую характеристику сравнить с характеристиками исправных трансформаторов тока;

д) измерить коэффициент трансформации трансформаторов напряжения.

6.5.11. Разрядники, устанавливаемые в КРУ, испытать в следующем объеме:

а) измерить сопротивление изоляции разрядника мегаомметром на напряжение 2500 В. Сопротивление не должно отличаться более чем на 30 % от заводских данных:

б) измерить ток проводимости разрядников РВМ или РВРД, который должен быть в пределах допустимых значений (по заводской и нормативной документации).

6.6. В объем межремонтных испытаний и испытаний при текущем ремонте должны при необходимости включаться следующие виды испытаний.

6.6.1. Испытание изоляторов с гидрофобным покрытием повышенным напряжением промышленной частоты с увлажнением изоляторов распыленной дистиллированной водой. Для испытания выбирается один или несколько наиболее загрязненных изоляторов.

Гидрофобное покрытие следует заменять при снижении разрядных напряжений более чем на 30 % по сравнению с испытательным напряжением в сухом состоянии, а также при потере гидрофобности паст (см. приложение 2).

6.6.2. Измерение сопротивления постоянному току токоведущего контура выключателей.

6.6.3. Измерение скоростных, временных и механических характеристик выключателей, если проводится ремонт выключателей или их регулирование.

6.6.4. Измерение сопротивления изоляции трансформаторов собственных нужд и измерительных трансформаторов.

6.6.5. Измерение степени нагрева доступных контактов первичной цепи (например, с помощью тепловизора). Нагрев не должен превышать больше чем на 20 °С температуру сплошной токоведущей шины.

6.6.6. Измерение сопротивления вентильных разрядников.

6.7. Данные всех испытаний КРУ и их элементов заносятся в соответствующую техническую документацию.

Приложение 1

ОСНОВНЫЕ НЕИСПРАВНОСТИ КРУ И ИХ УСТРАНЕНИЕ

Характер и признак неисправности

Возможные причины неисправности

Способы устранения неисправности

Несовпадение разъединяющих контактов первичных цепей корпуса и выкатной тележки, тележка вкатывается с большим усилием и не фиксируется

1. Неисправность или деформация контактов тележки

1. Выкатить тележку и выяснить причину деформации. Если недостаточная жесткость контактов (шкафы КРУН К-ХIII), то необходимо усилить ее. Вкатывание производить с помощью механизма перемещения (доводки)

Отрегулировать втычные контакты по методике приложения 4.

 

2. Ослаблено крепление катков тележки

2. Проверить крепление, отрегулировать и затянуть болты

 

3. Попадание посторонних предметов

3. Очистить катки и направляющие рамы

 

4. Ослаблено крепление несущих изоляторов

4. Закрепить несущие изоляторы и токоведущие стержни. Отрегулировать контакты

 

5. Перекос корпуса КРУ при установке на фундамент

5. Исправить перекос и отрегулировать разъединяющие контакты

Наличие нагара или оплавлений на ламелях разъединяющих контактов

1. Ослабление пружин вследствие перегрева контактов

2. Самоотвинчивание гаек на пружинах

1. Заменить пружины. Отрегулировать нажатие контактов

2. Отрегулировать нажатие пружин. Установить контргайки

Нарушение контактных соединений на разъединяющих контактах вспомогательных цепей скользящего типа (старых конструкций КРУ)

Поломка или остаточная деформация пластинчатых пружин при несовпадении или чрезмерном нажатии

Произвести замену контактов скользящего типа на штепсельные разъемы втычного типа

Несовпадение контактов штепсельного разъема

Повреждение шпонки в колодке разъема из-за небрежного обращения при стыковке элементов штепсельного разъема

Заменить колодку штепсельного разъема. Правильно производить операции с разъемом

Обрыв проводников в штепсельном разъеме или деформация элементов разъема

Несоблюдение правил по выкатыванию тележки и рассоединению разъема

Соединить оборванные проводники, проверить правильность соединения

Перекос шторок

Ослабление затяжки регулировочных болтов шторочного механизма

Подтянуть регулировочные болты и отрегулировать шторочный механизм

Шторки не закрываются и не открываются при оперировании с выкатной тележкой

1. Повреждение шайбы замка (шкафы КРУН серии К-37)

1. Установить шайбу-замок

2. Расцепление шторочного механизма

2. Произвести зацепление тяг и регулирование шторочного механизма

 

3. Нарушено взаимодействие тележки с приводом шторок

3. Восстановить взаимодействие тележки с приводом шторок

Заедание механизма перемещения (доводки) тележки

1. Ослабление болтовых креплений деталей механизма

1. Подтянуть болты крепления деталей механизма

2. Наличие посторонних предметов в ячейке

2. Выкатить тележку и осмотреть ячейку

 

3. Несовпадение разъединяющих контактов первичных цепей

3. Выкатить тележку и отрегулировать разъединяющие контакты

 

4. Поломка деталей механизма

4. Заменить поломанные детали

 

5. Не отключен выключатель и блокировка не позволяет вкатить тележку

5. Проверить и отключить выключатель

Наличие сильных частичных разрядов (короны) на изоляции

Загрязнены и увлажнены изоляторы

1. Очистить изоляцию, покрыть ее гидрофобной пастой

2. Испытать и найти дефектные изоляционные конструкции и усилить их

Привод заземляющего разъединителя не фиксируется во включенном положении

1. Нарушено регулирование в узлах кинематической связи привода с разъединителем

2. Произошло смещение контактов заземляющего разъединителя

1. Отрегулировать тягу с вилкой в передаче от рукоятки к заземляющему разъединителю

2. Отрегулировать вхождение контактов заземляющего разъединителя

Приложение 2

СПОСОБЫ ПОВЫШЕНИЯ НАДЕЖНОСТИ РАБОТЫ ИЗОЛЯЦИИ КРУ1

___________

1 Способы опробованы в ряде энергосистем (в том числе в Брестэнерго) и включены в Типовую инструкцию в качестве справочного материала.

1. Основные причины ослабления изоляции в КРУ:

а) увлажнение изоляции путем прямого попадания воды в КРУ или из-за конденсации влаги при суточных изменениях температуры и относительной влажности воздуха. Испытаниями обнаружено, что увлажнение росой незагрязненных изоляторов снижает примерно в два раза их разрядные напряжения;

б) загрязнение изоляции, которое вместе с увлажнением может снизить разрядные напряжения до рабочего напряжения сети;

в) выхлопные газы выключателей, содержащие в большой концентрации водород, могущие несколько снизить электрическую прочность промежутков как в зоне выхлопных устройств выключателей, так и в зоне неплотностей (например, дефектной кожаной манжеты проходных изоляторов выключателей ВМГ-133, ВМГ-10). Значительное снижение электрической прочности изоляции происходит при воспламенении или взрыве смеси выхлопных газов с воздухом (например, при поджигании ее искрой в разъединяющих контактах КРУ);

г) уменьшение отдельных изоляционных промежутков в КРУ как при их изготовлении, так и в процессе эксплуатации, которые могут перекрываться в работе, особенно при перенапряжениях. Наиболее характерные из них приведены на рис. 5;

д) применение нетрекингостойких эпоксидных компаундов для изоляции трансформаторов тока (ТВЛМ, ТПЛ и др.), которые перекрываются в условиях конденсации влаги, образуя так называемые дорожки-треки;

е) повреждение изоляторов при оперировании с аппаратами (выкатными тележками);

ж) неудовлетворительное выполнение концевых кабельных разделок;

з) дефектные контактные соединения, приводящие к искрению и выбросу расплавленного алюминия при протекании токов короткого замыкания и перекрытию изоляционных промежутков.

Рис. 5. Ослабленный воздушный промежуток серии К-VI-V между
заземляющими ножами и токоведущими шинами в шкафах серии К-
VI-V

Кроме перечисленных, имеется ряд других факторов, косвенно влияющих на снижение надежности изоляции.

Наиболее опасно ослабление изоляции в сочетании с перенапряжениями: грозовыми и коммутационными, вызванными дуговыми замыканиями и коммутациями в сети.

2. Для повышения надежности работы изоляции КРУ могут быть применены следующие способы.

2.1. Уплотнение оболочки КРУ. Нарушение уплотнения крыши КРУ может привести к прямому попаданию влаги на изоляцию, а плохое уплотнение днищ и стенок - к усилению конденсации влаги за счет проникновения влажного воздуха, к загрязнению изоляции пылью, к проникновению в отсеки мелких животных.

Для повышения надежности работы изоляции рекомендуется уплотнять внешнюю оболочку КРУН следующими способами:

а) стыки шкафов уплотняются резиновой трубкой, войлоком, пеньковой веревкой с последующей замазкой влагостойкой шпатлевкой ПФ-00-2, XB-00-5 и покраской;

б) отверстия в крыше и по сварным швам при установке проходных изоляторов на патрубках (в старых конструкциях КРУ) завариваются и прокрашиваются;

в) проверяются и уплотняются проходные изоляторы наружной установки. При нарушении уплотнения проходной шины производится замазка его цементом с добавлением глифталевого лака ГФ-95. Армированные швы изоляторов прокрашиваются краской или эмалью ПФ-115 или XB-125. С целью исключения шунтирования части поверхности изолятора рекомендуется срезать патрубок, на котором крепится изолятор, но при этом резиновая прокладка под фланец изолятора должна укладываться на лаке или краске;

г) с целью предотвращения попадания в КРУН снега, пыли, насекомых и мелких животных днища шкафов, проходы кабелей уплотняются с последующей заливкой щелей кровельным битумом или эпоксидной смолой;

д) двери и люки уплотняются войлоком, резиной, закрепляемыми лаком или клеем;

е) дверные нижние жалюзи КРУН закрываются, а верхние (при покрытии изоляции гидрофобными пастами) могут оставаться открытыми для облегчения выхода газов выключателей наружу.

2.2. Предотвращение конденсации влаги в КРУ. В сочетании с уплотнением оболочки эффективным средством для предотвращения конденсации влаги в КРУ наружной установки является подогрев воздуха, осуществляемый с помощью различных нагревательных устройств, управляемых автоматически или вручную.

Схемы автоматизации включения нагревательных устройств по температуре и по относительной влажности воздуха в КРУ приведены в приложении 3.

2.3. Замена изоляторов. Изоляторы 10 кВ с малой длиной пути тока утечки (115 - 130 мм), если они установлены в местах, подверженных интенсивному загрязнению и увлажнению (например, у жалюзей), рекомендуется по возможности заменять на ребристые изоляторы исполнения У2 с большей длиной пути тока утечки. Это позволит повысить разрядные напряжения при росе пропорционально увеличению длины пути тока утечки.

2.4. Применение гидрофобных покрытий изоляции в КРУ наружной установки. В случае, когда ослабление изоляции происходит из-за увлажнения и загрязнения одновременно, замена изоляторов на изоляторы с большей длиной пути тока утечки не всегда обеспечивает требуемую надежность. Лучшие результаты в этом случае дает применение гидрофобных покрытий. В качестве гидрофобных покрытий изоляции КРУН могут быть применены пасты ОРГРЭС, кремнийорганический вазелин КВ-3 (ГОСТ 15975-70), синтетический солидол УС (ГОСТ 4366-76) и др.

Срок службы гидрофобных покрытий зависит от их качества и условий работы и составляет в среднем три-четыре года. В ряде случаев при небольших естественных загрязнениях и в облегченных условиях работы в КРУН срок службы гидрофобных покрытий (например, синтетического солидола) составляет пять-семь лет.

Пасты наносятся слоем 1 - 2 мм на очищенные от загрязнения изоляторы, предварительно испытанные повышенным напряжением по нормам, приведенным в гл. 6 настоящей Типовой инструкции. Наносить пасты рекомендуется в сухую погоду. Расход пасты при равномерном нанесении составляет 1 - 2 кг на 1 м2 поверхности. Пасты наносятся на изоляторы вручную или кистью, на трансформаторы тока - кистью.

Срок эффективности действия пасты определяется по двум критериям: гидрофобности и разрядным напряжениям при увлажнении, а также на основе наблюдения за поведением изоляторов во влажную погоду (коронирование, появление частичных разрядов).

Рекомендуется следующая периодичность контроля паст: первый раз после трех лет эксплуатации, в дальнейшем 1 раз в год по следующим методикам.

Гидрофобность пасты определяется путем обработки нескольких самых загрязненных изоляторов водой из пульверизатора. Если вода на поверхности пасты собирается в отдельные капли, не впитываясь в нее, паста сохранила гидрофобность. Если же вода смачивает пасту, не собираясь в капли, то паста потеряла гидрофобность и подлежит замене.

Для определения разрядных напряжений несколько изоляторов одного типа (наиболее загрязненных и с высохшей пастой) обрызгиваются водой из пульверизатора до насыщения, затем плавным увеличением напряжение поднимается до перекрытия. За разрядное напряжение принимается наименьшее из полученных на отдельных изоляторах. Если оно снизилось более чем на 30 % (для 10 кВ - ниже 28 кВ) по сравнению с испытательным сухоразрядным, то гидрофобная паста подлежит замене.

Перед нанесением новой пасты необходимо удалить старую. Очистку производить ветошью, смоченной растворителем (бензином). При замене паст требуется соблюдать правила техники безопасности и пожарной безопасности.

2.5. Усиление ослабленных изоляционных промежутков. В некоторых случаях изоляционные промежутки могут быть увеличены, например путем регулирования хода заземляющих ножей (см. рис. 5), что соответственно повысит их электрическую прочность. В других случаях, когда ослабленные промежутки не выдерживают испытательных напряжений, они могут быть усилены путем установки изоляционных барьеров из водостойких материалов (гетинакса, стеклотекстолита и др.) либо изолировкой токоведущих шин полихлорвиниловой лентой (рис. 6, 7, 8).

Рис. 6. Установка изоляционного барьера между горшками выключателя ВМГ-133:

1 - изоляционные барьеры; 2 - уголок для крепления

Рис. 7. Установка изоляционного барьера между губками предохранителя ПК-10
и корпусом шкафа СН серии К-VI-I:

1 - изоляционный барьер; 2 - кронштейн; 3 - винт М6

Примечание. Приварка кронштейна производится на расстоянии более 120 мм от предохранителя.

Рис. 8. Установка изоляционного барьера между выхлопной частью выключателя
ВМП-10 и корпусом шкафа КРУ 2-10:

1 - изоляционный барьер; 2 - стойка; 3 - винт М5´20; 4 - шайба

Для предотвращения перекрытия изоляционных промежутков из-за выхлопных газов следует исключить возможность их поджога за счет искрения разъединяющих контактов КРУ, которые должны быть отрегулированы в соответствии с заводскими инструкциями и приложением 4, особенно при токах КЗ более 10 кА. Следует также устранять неплотности, через которые могут прорываться выхлопные газы (по фланцевым соединениям, токоведущим стержням выключателей ВМГ-133, ВМГ-10, по валам выключателей ВМП-10 и др.).

2.6. Контроль контактных соединений и концевых кабельных разделок. Для исключения перекрытий изоляционных промежутков из-за ненадежных контактных соединений за последними может быть усилен контроль путем наклейки пленочных термоиндикаторов, периодических измерений переходных сопротивлений и проведения контрольных разборок. Рекомендуется проводить контроль доступных контактов с помощью тепловизора. Аналогичные требования предъявляются и к кабельным наконечникам, которые должны по возможности привариваться к жилам кабеля.

Для предотвращения перекрытия сухих кабельных разделок в КРУ, где может выпадать роса, их рекомендуется заменять на более надежные мастиконаполненные или эпоксидные. Эпоксидные поверхности кабельных муфт в КРУ наружной установки рекомендуется покрывать гидрофобными пастами.

2.7. Защита КРУ от внутренних перенапряжений. Много повреждений КРУ совпадает с внутренними перенапряжениями, вызванными аварийными процессами и коммутациями в сети, питаемой от КРУ. С целью уменьшения уровня перенапряжений при дуговых замыканиях сеть 10 кВ, питаемая от КРУ, должна иметь компенсацию емкостных токов с помощью заземляющих реакторов.

2.8. Улучшение грозозащиты КРУ с воздушными линиями. Перекрытия в КРУ при грозе часто имеют место при нормированной грозозащите КРУ от волн, набегающих со стороны воздушных линий (рис. 9, а). Это происходит потому, что номинальное импульсное напряжение срабатывания трубчатых разрядников 10 кВ при внешнем промежутке 15 мм составляет 80 кВ, импульсное разрядное напряжение штыревых линейных изоляторов 10 кВ при полной волне 90 кВ, а пробивное импульсное напряжение КРУ с изоляционным промежутком 100 мм равно 75 кВ. Таким образом, изоляция КРУ может быть ослаблена по сравнению с изоляцией подхода воздушной линии, если линия будет отключена или будет отключен разрядник РВП на шинах. Поэтому для грозозащиты КРУ от набегающих волн при повторных ударах молнии в линии, которые могут быть длительно отключенными, особенно на подстанциях без обслуживающего персонала, на выводах воздушных линий КРУ рекомендуется устанавливать разрядник РВП-10 взамен РТ-2 (рис. 9, б). Опыт такого улучшения грозозащиты оказался положительным во многих энергосистемах.

Выбор конкретных мероприятий по повышению надежности работы изоляции КРУ зависит от местных условий: климатических факторов, загрязняемости, способа обслуживания электроустановок и т.п. Например, при цементирующихся загрязнениях целесообразно применять не гидрофобные покрытия, а автоматическую сушку воздуха в КРУ.

Рис. 9. Схема грозозащиты КРУН подстанций от набегающих с линий волн перенапряжений:

а - нормированная грозозащита; б - улучшенная грозозащита

Приложение 3

МЕРОПРИЯТИЯ ПО ПОВЫШЕНИЮ НАДЕЖНОСТИ РАБОТЫ ОБОРУДОВАНИЯ КРУ

Ниже приведены в качестве справочного материала мероприятия по повышению надежности работы КРУ и комплектующей аппаратуры, нашедшие применение в ряде энергосистем (Брестэнерго, Мосэнерго и др.) и давшие положительные результаты.

1. Регулирование микроклимата в шкафах КРУ наружной установки

При суточных изменениях температуры относительная влажность в КРУ может достигать 100 % и на изоляторах и металлических частях выпадает роса. Наличие напряжения на изоляторах не может противодействовать процессу конденсации влаги на их поверхности.

В зимнее время температура воздуха в шкафах КРУН может снижаться до -25 °С и ниже, что при отсутствии подогрева может привести к неудовлетворительной работе встроенной в КРУ аппаратуры.

В летнее время из-за нагрева солнечными лучами температура в КРУН может повыситься на 10 - 15 °С (в средней полосе страны) и превысить максимально допустимую (40 °С). Такая температура отрицательно влияет на работу концевых кабельных разделок, нагруженных контактных соединений шин, некоторых аппаратов и персонала, работающего в коридоре управления КРУН.

Поэтому регулированием микроклимата в шкафах КРУН должны решаться три задачи:

- предупреждение росообразования;

- создание нормальных условий работы электрических аппаратов зимой;

- предотвращение перегрева оборудования КРУН летом.

Первые две задачи решаются включением в КРУН нагревательных устройств различной мощности, которая зависит от их назначения, величины наружной охлаждаемой поверхности КРУН, состояния ее уплотнения и теплоизоляции.

Определено, что при отсутствии теплоизоляции для создания превышения температуры в шкафу по отношению к наружной температуре 5 °С требуется мощность 35 Вт на 1 м2 наружной поверхности или 250 - 500 Вт в среднем на шкаф. Указанное превышение температуры, как правило, достаточно для предупреждения росообразования. Для создания превышения температуры при зимнем отоплении, например, на 10 °С, мощность нагрева должна удваиваться и т.д. Наличие открытых жалюзи требует увеличения мощности нагрева дополнительно. Например, наличие жалюзи в КРУН серии К-VI-V вызывает необходимость дополнительного увеличения мощности на 20 %. В качестве нагревательных устройств могут быть применены нагревательные элементы типа НВС мощностью от 0,3 до 1 кВт, нагревательные элементы от электроплиток, остеклованные сопротивления и т.п.

Включение нагревательных устройств рекомендуется выполнять автоматизированным с помощью реле влажности воздуха в термореле (рис. 10). В качестве реле влажности воздуха можно использовать выпускаемый промышленностью влагорегулятор ВДК. Чтобы исключить частое срабатывание ("прыгание") пусковой аппаратуры (реле, пускателей) из-за замедленного переключения контактов ВДК, целесообразно применять схему с двумя ВДК (рис. 11), имеющими разные уставки по относительной влажности воздуха (например 80 и 90 %). Исследования показали, что поскольку роса в КРУН выпадает в широком диапазоне положительных температур, в цепь управления подогревом по относительной влажности воздуха нельзя вводить контакт датчика температуры.

Регулирование отопления в шкафах КРУН и в помещениях с КРУ легко автоматизировать с помощью датчиков температур ДТКБ. Для управления подогревом приводов и низковольтной аппаратуры возможно применение датчика ДТКБ-49, срабатывающего в пределах температур от +10 до -10 °С. Для управления подогревом масляных выключателей удобны датчики ДТКБ-36 и ДТКБ-48, срабатывающие в пределах температур от 0 до -30 °С.

Исходя из разных уставок по температуре и разной мощности нагревательных устройств, целесообразно либо раздельное управление нагревательными устройствами отсека управления и аппаратуры вторичных цепей и отсека масляных выключателей, либо переключение двух элементов одного шкафа с параллельного соединения на последовательное, что уменьшает мощность нагрева в четыре раза и позволяет контролировать исправность нагревательных элементов. Процесс такого переключения легко автоматизировать с помощью вышеуказанных датчиков ДТКБ и двух пускателей (рис. 12).

Снижение температуры перегрева КРУН солнечными лучами в летнее время может достигаться окраской поверхности шкафов белой масляной краской. При большой температуре перегрева должны быть установлены над крышей КРУН экраны-навесы из шифера или белой жести и принудительная вытяжная вентиляция.

Теплоизоляция оболочки КРУН значительно уменьшает (в четыре раза и более) как мощность нагревательных устройств, так и перегрев солнечными лучами. Однако из-за трудности ее выполнения в условиях действующих подстанций она может быть выполнена лишь в заводских условиях.

Рис. 10. Принципиальная схема упрощенного устройства для сушки воздуха
и отопления в шкафах КРУ:

АВ - автомат; Т - термореле; Вл - реле влажности воздуха; К - магнитный пускатель.

Рис. 11. Схема автоматического управления подогревом в КРУ с помощью двух влагорегуляторов и термореле;
Т < 0 - термореле (датчик ДТКБ-48 или ДТКБ-49); B
1, B2 - влагорегуляторы ВДК;
РП - промежуточное реле РП-25; К - магнитный пускатель ПA
-320

Рис. 12. Схема автоматического переключения нагревательных элементов
КРУ с последовательного соединения на параллельное:

а - при соединении элементов в треугольник; б - при соединении элементов в звезду;
АВ - автомат; Т1 - датчик ДТКБ-49; Т2 - датчик ДТКБ-48; К1, К2 - магнитные пускатели ПА-320

2. Повышение надежности работы маломасляных выключателей

В последние годы в ряде энергосистем произошли взрывы КРУ, сопровождающиеся большими разрушениями. Причинами взрывов явились отказы в работе выключателей. При недовключении выключателей или нарушении их контактной системы в дугогасительных камерах под воздействием тока нагрузки или тока короткого замыкания масло превращалось во взрывоопасную смесь газов, которая скапливалась и взрывалась в верхних невентилируемых отсеках КРУН.

Наименее надежны выключатели ВМП-10П и ВМПП-10, которые из-за недостаточного усилия рабочих пружин или дефектов пружинного привода (возможность включения выключателя ВМПП-10 при недозаведенных пружинах) могут выключаться без посадки привода на защелку. Наиболее опасно включение выключателя на короткое замыкание при ручной операции. У выключателя ВМПП-10 даже небольшая задержка кнопки включения в конечном (утопленном) положении может привести к повторному включению выключателя на короткое замыкание после его автоматического отключения.

Для повышения надежности работы указанных выключателей необходимо добиваться во время ремонта необходимой включающей способности привода, измеряя при этом не только скорость включения выключателей, но и статические моменты на валу привода.

Для повышения включающей способности выключателей с пружинными приводами ПП-67 (ПП-67К) необходимо выполнять указания §8.7 "Об испытании выключателей высокого напряжения с пружинными приводами ПП-67 (ПП-67К) на включающую способность" Сборника директивных материалов. Электротехническая часть (М.: СПО Союзтехэнерго, 1983).

При включении выключателей в работу следует выполнять также указания п. 4.12 настоящей Типовой инструкции.

При недостаточной работоспособности пружинных приводов серии ПП можно предотвратить нежелательные последствия недовключения выключателя путем монтажа на приводе специальной блокировки, которая автоматически отключает выключатель при его недовключении (рис. 13). Детали блокировки могут крепиться на корпусе пружинного буфера. Указанная блокировка имеет положительный опыт эксплуатации в Брестэнерго.

Рис. 13. Схема работы блокировки, исключающей медленное отключение
выключателя при повторной заводке пружинно-грузовых приводов для АПВ:

а - включение выключателя; б - расцепление провода с выключателем при повторной заводке пружин
для АПВ из недовключенного положения.
1 - серповидный груз (ударник расцепления); 2 - включающий рычаг; 3 - рычаг вала;
4 - включающая защелка; 5 - удерживающая защелка; 6 - расцепитель
включающей защелки с рычагом вала; 7 - пружина; 8 - неподвижная ось

Для безопасности персонала, выполняющего включение выключателя на возможное короткое замыкание, необходимо смонтировать переносный пульт управления, подсоединяемый шланговым кабелем к розетке привода (рис. 14). Такой пульт позволяет выполнять операции включения с безопасного расстояния.

В целях быстрейшего удаления из отсеков КРУ взрывоопасных газов некоторые предприятия усиливают вентиляцию отсеков КРУ с помощью специальных зонтов (рефлекторов), устанавливаемых в наивысших местах на боковых стенках (при количестве шкафов до 10) и дополнительно на крыше среднего шкафа (при количестве шкафов более 13). Пример выполнения такой вентиляции показан на рис. 15. Следует, однако, учитывать, что усиленная вентиляция увеличивает росообразование и может быть допущена только при покрытии всей изоляции КРУ гидрофобными пастами.

Рис. 14. Схема установки вентиляционных зонтов в шкафах КРУН при
количестве шкафов более 10:

1 - шкаф КРУН; 2 - вентиляционный зонт; 3 - дверные жалюзи

Рис. 15. Схема дистанционного управления масляным выключателем
с помощью переносного пульта:

1 - розетки; 2 - вилка; 3 - кабель; 4 - кнопка

3. Повышение локализационной способности КРУ

Ряд КРУ старых конструкций имеют недостаточную локализационную способность при возникновении аварийных дуг. Для повышения локализационной способности необходимо:

а) тщательно герметизировать отсеки и ячейки друг от друга (закрывать проемы, полости проходных изоляторов, вторичные цепи и др.);

б) проверять и задействовать быстродействующую защиту от дуговых замыканий, выполненную в некоторых КРУ (К-37 и др.). Для предупреждения ложных срабатываний в схему защиты необходимо ввести блокировку по току или напряжению;

в) реконструировать релейную защиту путем:

- исключения АВР секционных выключателей с целью недопущения их включения при коротком замыкании и на шинах КРУ;

- секционирования вторичных цепей больших секций рубильниками (разъемами);

- повышения надежности работы штепсельных разъемов вторичных цепей в КРУ (серии К-VI-V и др.) заливкой их кабельной массой, исключающей увлажнение;

г) максимально уплотнять фасадные перегородки КРУ и держать их двери постоянно закрытыми;

д) устанавливать в коридорах КРУН (К-III, К-37) и ЗРУ легко открывающиеся изнутри замки-запоры для облегчения выхода персонала из помещений.

4. Повышение надежности работы разъединяющих контактов

Разъединяющие контакты в некоторых КРУ (К-ХII, К-ХIII) обладают недостаточной жесткостью, что часто является причиной несовпадения контактов при вкатывании выключателя в рабочее положение. Для устранения возможности случайного изгиба токоведущей шины, к которой крепится контакт, можно усилить ее путем установки стальной планки так, как показано на рис. 16.

Рис. 16. Усиление разъединяющих контактов КРУН серии К-ХIII:

1 - планка жесткости; 2 - токоведущая шина; 3 - подвижный контакт;
4 - горшок выключателя ВМП-10

Приложение 4

МЕТОДИКА ПРОВЕРКИ РАЗЪЕДИНЯЮЩИХ КОНТАКТОВ КРУ

При проверке разъединяющих контактов КРУ необходимо проверить точность вхождения контактов и нажатие ламелей на нож контактов.

Существует несколько методик проверок, которые рекомендованы московским заводом "Электрощит" и СКТБ ВКТ Мосэнерго.

1. Методика проверки разъединяющих контактов КРУ серии К-ХII на номинальный ток 600 А

На рис. 17 показаны нормируемые московским заводом "Электрощит" значения взаимного вхождения разъединяющих контактов КРУ серии К-ХII.

Расхождение по вертикали осей подвижного и неподвижного контактов по нормам завода "Электрощит" не должно превышать 4 мм. Однако рекомендуется не допускать, чтобы ось неподвижного контакта оказывалась выше оси подвижного контакта (на выкатной тележке).

В случае необходимости производить регулирование положения неподвижных контактов. Категорически запрещается производить регулирование вхождения контактов подгибанием алюминиевых шинок, крепящих разъединяющие контакты на выкатной тележке.

Вертикальный люфт ламелей разъединяющих контактов выкатной тележки должен быть в пределах 8 - 14 мм.

Правильность взаимного вхождения разъединяющих контактов можно контролировать следующими методами.

1.1. Визуально, если позволяет способ установки шкафа КРУ (прислонный тип или с ремонтным проходом). В этом случае ламели разъединяющих контактов выкатной тележки предварительно устанавливаются в среднее положение, выкатная тележка вкатывается и останавливается за 6 - 7 см до фиксированного рабочего положения, затем визуально оценивается степень соосности контактов.

1.2. При отсутствии возможности визуального наблюдения за вхождением контактов может быть применена методика московского завода "Электрощит", описанная в заводской инструкции по монтажу и эксплуатации КРУ серии К-ХII. По этой методике подвижные контакты смазываются ровным слоем смазки, выкатная тележка вкатывается и доводится в рабочее положение и сразу же выводится в ремонтное положение. Правильность захода контактов определяется по следу, оставленному неподвижными контактами на ламелях подвижных контактов.

Рис. 17. Установка разъединяющих контактов КРУ серии К-ХII:

а - верхние контакты; б - нижние контакты

Как и в предыдущем случае, ламели подвижных контактов предварительно устанавливаются в среднее положение.

1.3. Более точные и наглядные результаты можно получить при использовании приспособления (рис. 18), которым можно пользоваться только при снятом напряжении с неподвижных разъединяющих контактов КРУ.

Рис. 18. Приспособление для проверки соосности разъединяющих контактов КРУ серии К-ХII:

а - стальной корпус; б - стальная планка (толщина 2 мм); в - резиновая подушка (резина маслостойкая
мягкая, толщина 3 - 4 мм); г - хомутик (проволока стальная пружинная, длина заготовки 380 мм; д - общий вид
1 - корпус; 2 - планка; 3 - подушка резиновая; 4 - хомутик; 5 - болт М4´12; 6 - гайка М4

Приспособление надевается на подвижные контакты выкаткой тележки в соответствии с рис. 19, поверхности резиновых подушек приспособлений смазываются тонким однородным слоем смазки, затем выкатная тележка вкатывается в ячейку и останавливается за 5 - 6 см до фиксированного рабочего положения. После выкатывания ее в ремонтное положение по следу на резиновых подушках приспособлений определяется степень соосности подвижных и неподвижных разъединяющих контактов. Проверку рекомендуется производить два раза: перед первым вкатыванием все ламели подвижных контактов отжимаются в крайнее нижнее положение, а перед вторым - в крайнее верхнее положение (в пределах свободного хода ламелей). В промежутке между первым и вторым вкатыванием слой смазки на приспособлении трогать не следует.

Рис. 19. Установка приспособления на контакты выкатной тележки КРУ серии К-ХII:

1 - ламели контактные; 2 - корпус приспособления; 3 - подушка резиновая; 4 - хомутик

2. Методика наладки и регулирования разъединяющих контактов в КРУ

Для проверки правильности регулирования разъединяющих контактов в КРУ серий К-ХIII, К-ХII и К-ХХ-VI СКТБ ВКТ Мосэнерго разработало устройство, позволяющее быстро, удобно и точно выполнять операции по контролю и наладке положения контактов как по высоте и относительному расположению их, так и по глубине захода.

Конструктивно устройство выполнено следующим образом (рис. 20). Ломающаяся рамка 6 изготовлена из стального уголка размером 20´20 мм. К рамке прикрепляется направляющая трубка 1, служащая для перемещения по ней сухарей 4 с указателями 2 и для хранения указателей в транспортном положении.

Для удобства установки устройства к нижней части рамки приварена полоса 7, а к верхнему сухарю крепится отвес 3. Болт 5 необходим для установки устройства на порог ячейки при контроле контактов средней фазы.

Наладка и регулирование контактов производятся при полностью снятом напряжении, наложенном заземлении и выполнении всех мероприятий по безопасности персонала согласно требованиям Правил техники безопасности по эксплуатации электроустановок. Выключатель выкатывается в ремонтное положение, после чего защитные шторки ячейки необходимо открыть. Контроль и, если необходимо, регулирование по высоте производятся следующим образом (рис. 21). Устройство устанавливается на полоз ячейки против контактов крайней фазы, регулируется упорный болт относительно порога ячейки. Затем центрируются указатели устройства относительно верхних и нижних (на рис. 21 показано применительно к нижним контактам) неподвижных контактов одной фазы и сравниваются с положением контактов выключателя, при этом устройство должно быть установлено на ту же плоскость, что и колеса тележки выключателя. Если несоосность контактов превышает 4 мм, то необходимо произвести их регулирование. Для контроля глубины захода контактов (рис. 22) необходимо приложить направляющую трубку 1 устройства к ламелям 8 выключателя, рамку при этом можно снять, а конец указателя упереть в ребро 9 выкатной тележки с выключателем.

Затем, не изменяя положения указателя, приложить трубку 1 к лицевой стороне ячейки. В этом случае конец указателя, положенный на неподвижный контакт ячейки, покажет величину захода контакта в ламели. На рисунке показан контроль нижнего контакта.

Рис. 20. Устройство для проверки правильности регулирования разъединяющих
контактов КРУ (УРК), разработанное СКТБ ВКТ Мосэнерго:

1 - направляющая трубка; 2 - указатель; 3 - отвес;
4 - сухарь; 5 - болт установочный; 6 - ломающаяся рамка; 7 - полоса

Рис. 21. Схема установки УРК по высоте:

1 - неподвижный контакт; 2 - порог ячейки; 3 - упорный болт; 4 - полоз

3. Контроль нажатия ламелей на нож разъединяющих контактов

Нормально разъединяющие контакты должны быть отрегулированы так, чтобы обеспечивалось определенное приведенное в заводской документации нажатие ламелей на нож контакта. Усилие нажатия должно быть 10 - 15 кгс/см2. Для определения нажатия можно пользоваться следующим способом (рис. 23). В зазор между ламелями 1 вставляется пластина 2 толщиной, равной толщине контакта (8 - 10 мм). Между ламелями и пластиной с одной стороны закладывается тонкий лист бумаги с грузиком 4 массой 50 - 100 г.

С помощью нити и динамометра ламель оттягивается до тех пор, пока бумага не выпадает (не вытянется вручную). Показание динамометра при выпадении бумаги соответствует нажатию ламели на контакт. Ее увеличение достигается заворачиванием гайки 6 или заменой пружины, которая может ослабнуть в процессе эксплуатации.

Рис. 22. Схема установки УРК для контроля глубины вхождения разъединявших контактов:

8 - ламель; 9 - ребро. Остальные обозначения те же, что и на рис. 20.

Рис. 23. Схема измерения нажатия ламелей разъединяющих контактов КРУ:

1 - ламель; 2 - пластина; 3 - лист бумаги; 4 - грузик; 5 - динамометр; 6 - гайка регулировочная

Приложение 5

УСОВЕРШЕНСТВОВАНИЕ БЛОКИРОВКИ ЗАЗЕМЛЯЮЩИХ РАЗЪЕДИНИТЕЛЕЙ КРУ

1. О повышении надежности блокировки заземляющих разъединителей КРУ серии К-III-V.

В энергосистемах отмечались нарушения в КРУ серии К-III-V московского завода "Электрощит" во время перемещения в рабочее положение выкатных тележек с выключателями при включенных или находящихся в промежуточном положении ножах заземляющего разъединителя.

Эти нарушения стали возможными не только из-за ошибок оперативного персонала, но и вследствие несовершенства блокирующего устройства заземляющего разъединителя и его неудовлетворительного регулирования.

Рис. 24. Заземляющий разъединитель КРУ серии К-III-V:

1 - тележка в испытательном положении; 2 - скоба; 3 - упорный винт; 4 - пластина упорного болта с
гайкой; 5 - упор; 6 - косоугольная планка; 7 - тяга; 8 - вал; 9 - рычаг привода; 10 - болт фиксации рычага

Блокирующее устройство КРУ серии К-III-V московского завода "Электрощит" (рис. 24) состоит из упора, укрепленного на скобе 2, и косоугольной планки 6, приваренной к тяге 7. При включении заземляющего разъединителя косоугольная планка, передвигаясь вместе с тягой, поднимает упор 5 в горизонтальное положение, при этом он, вступая в зацепление с упорным уголком на раме выкатной тележки, не позволяет вкатывать его дальше испытательного положения. Пластина 4 с гайкой M10 служит для завинчивания упорного болта.

При небольшом (1 - 2 мм) зацеплении упорного уголка (рис. 25) и больших зазорах в направляющих выкатной тележки, доходящих до 3 мм, имеется возможность вкатить ее в рабочее положение при включенном заземляющем разъединителе, что приведет к короткому замыканию внутри шкафа КРУ после включения выключателя.

В эксплуатации имели место отказы в работе КРУ серии К-III-V, когда при вкатывании в рабочее положение выкатной тележки выключателя заземляющие ножи, укрепленные на валу 8 (см. рис. 24), занимали промежуточное положение. При приближении нижних разъединяющих контактов выкатной тележки к находящимся под напряжением неподвижным контактам происходило перекрытие на заземляющие ножи. При этом блокировка не препятствовала вкатыванию выкатной тележки.

При неудовлетворительной работе блокировки заземляющие ножи, находящиеся в промежуточном положении, могут также включаться при перемещении выкатной тележки в рабочее положение от воздействия на них разъединяющих контактов.

Переход заземляющих ножей в промежуточное положение может происходить из-за отсутствия зазора между скользящими контактами выкатной тележки и рычагом 9 привода ножей при недостаточной фиксации болтом 10, в результате чего при выкатывании выкатной тележки этот контакт, задевая за рычаг 9, переводит заземляющие ножи из отключенного положения в промежуточное.

Рис. 25. Упорный уголок выкатной тележки:

1 - тележка; 2 - упорный уголок; 3 - пластина; 4 - упор блокирующего устройства.

Примечание. Толщину пластины выбирать с учетом получения зацепления указанного значения.

Для повышения надежности КРУ серии К-III-V предлагается:

1.1. Тщательно проверить работу блокировки заземляющего разъединителя в соответствии с заводской инструкцией.

При этом необходимо:

а) проверить зацепление между упором блокирующего устройства и упорным уголком на раме выкатной тележки, смещая последний в его направлениях до предела влево, в сторону, противоположную месту установки упорного уголка.

Если зацепление составит менее установленной заводом нормы (3,5 мм), к упорному уголку следует приварить пластину 20´30 мм в соответствии с рис. 26. Толщина пластины должна быть подобрана такой, чтобы зацепление находилось в пределах 7±3,5 мм;

Рис. 26. Пластина для завинчивания упорного болта КРУ серии К-III-V

б) проверить зазор между скользящим заземляющим контактом выкатной тележки и рычагом привода заземляющего разъединителя, не допуская задевания контактов за рычаг. При необходимости следует подпилить верхнюю кромку рычага и устранить неровности пола. Следует иметь в виду, что отметка чистого пола, должна быть заподлицо с плоскостью катания в направляющих;

в) проверить регулирование упорного болта 3 (рис. 27).

При отключенных ножах заземляющего разъединителя головка болта должна без нажима упираться в тягу.

1.2. В шкафах КРУ серии К-III-V, выпущенных заводом без упорных болтов и с косоугольными планками длиной 60 мм, в плановом порядке установить эти болты, а планки заменить новыми длиной 90 мм в соответствии с рис. 26 - 28.

1.3. Обратить внимание персонала, эксплуатирующего КРУ серии К-III-V, на необходимость тщательной затяжки болта при фиксации положения ножей заземляющего разъединителя, не допуская при этом фиксации их в промежуточном положении.

Рис. 27. Установка упорного болта;

1 - болт M10´15; 2 - гайка М10; 3 - упор блокирующего устройства.

Примечание. Болт M-10 устанавливается в упор к тяге, разъединитель - в положении "отключено"

Рис. 28. Тяга заземляющего разъединителя:

1 - косоугольная планка; 2 - тяга

2. О повышении надежности блокировки КРУ серии К-ХII

Комплектные распределительные устройства серии К-ХII, выпускаемые московским заводом "Электрощит", оборудованы механической блокировкой, запрещающей включение заземляющего разъединителя при рабочем положении выкатной тележки с выключателем и перевод выкатной тележки из контрольного положения в рабочее при включенном заземляющем разъединителе.

Однако в эксплуатации наблюдаются случаи, когда указанная блокировка не препятствует вкатыванию выкатной тележки в рабочее положение при включенном заземляющем разъединителе.

На рис. 29 а, в показаны заземляющий разъединитель с приводом и рама выкатной тележки (левая часть). При включенном заземляющем разъединителе (см. рис. 29, б и в) скоба 1, расположенная на раме выкатной тележки, упирается в упор 2, расположенный на рычажной планке 4 привода заземляющего разъединителя, что препятствует вкатыванию выкатной тележки в рабочее положение.

При отключении заземляющего разъединителя (см. рис. 29, а) рычажная планка 4 с упором 2 поворачивается на угол, близкий к 45°, и выкатная тележка со скобой 1 свободно проходит над ним.

Проверка работы блокировки в условиях эксплуатации и на заводе-изготовителе показала, что размер зацепления системы скоба-упор (см. рис. 29, в) может колебаться в пределах 2 - 10 мм и зависит глазным образом от точности изготовления и качества приварки скобы 1, а также от наличия люфтов и правильности установки шкафов КРУ. При минимальных размерах зацепления системы скоба-упор блокировка работает ненадежно, что приводит к отказам в работе.

С учетом изложенного предлагается:

1. Проверить надежность работы блокировки "выкатная тележка - заземляющий разъединитель" во всех шкафах КРУ серии К-ХII вкатыванием выкатной тележки из ремонтного положения в рабочее при включенном заземляющем разъединителе. Операцию произвести 4 - 5 раз; при этом блокировка не должна допустить ни одного успешного вкатывания выкатной тележки в рабочее положение.

2. Измерить расстояния А и Б (см. рис. 29, в). Разность А-Б дает размер зацепления системы скоба-упор, который должен быть не менее 7 мм.

Рис. 29. Заземляющий разъединитель с приводом КРУ серии К-ХII:

1 - скоба; 2 - упор; 3 - дополнительный упор; 4 - рычажная планка

3. При размере зацепления менее 7 мм изготовить и приварить дополнительный упор 3 к упору 2, расположенному на рычажной планке 4 (см. рис. 29, г) в следующей последовательности:

- изготовить дополнительный упор 3 (см. рис. 29 г, д). При этом допускается применение полосы из стали Ст3 или более жесткой, толщиной 8 - 10 мм;

- дополнительный упор 3 приварить к рычажной планке привода заземляющего разъединителя, как показано на рис. 29, г. Для обеспечения достаточной механической прочности упор 3 должен быть приварен к упору 2 и рычажной планке 4;

- после приварки дополнительного упора 3 проверить надежность блокировки, для чего при отключенном заземляющем разъединителе 2 - 3 раза произвести вкатывание выкатной тележки из ремонтного в рабочее положение и обратно. Скоба 1 на раме выкатной тележки должна свободно проходить над дополнительным упором 3. Затем измерить расстояние от пола до верхнего края дополнительного упора 3 и от пола до нижнего края скобы 1 при включенном заземляющем разъединителе. Разность полученных значений должна составлять 25 - 30 мм (см. рис. 29, е).

СОДЕРЖАНИЕ

1. ОБЩИЕ ТРЕБОВАНИЯ

2. МЕРЫ БЕЗОПАСНОСТИ ПРИ ОБСЛУЖИВАНИИ КРУ

3. ПОДГОТОВКА КРУ К ЭКСПЛУАТАЦИИ

4. ОПЕРАТИВНО-ЭКСПЛУАТАЦИОННОЕ ОБСЛУЖИВАНИЕ КРУ

5. РЕМОНТ КРУ

6. ИСПЫТАНИЯ КРУ

Приложение 1 ОСНОВНЫЕ НЕИСПРАВНОСТИ КРУ И ИХ УСТРАНЕНИЕ

Приложение 2 СПОСОБЫ ПОВЫШЕНИЯ НАДЕЖНОСТИ РАБОТЫ ИЗОЛЯЦИИ КРУ

Приложение 3 МЕРОПРИЯТИЯ ПО ПОВЫШЕНИЮ НАДЕЖНОСТИ РАБОТЫ ОБОРУДОВАНИЯ КРУ

Приложение 4 МЕТОДИКА ПРОВЕРКИ РАЗЪЕДИНЯЮЩИХ КОНТАКТОВ КРУ

Приложение 5 УСОВЕРШЕНСТВОВАНИЕ БЛОКИРОВКИ ЗАЗЕМЛЯЮЩИХ РАЗЪЕДИНИТЕЛЕЙ КРУ