Меню
Навигация
Первая линия
Novatika
Novatika

Автомобильные дороги. Строительство земляного полотна автомобильных дорог. Часть 1. Механизация земляных работ при сооружении земляного полотна автомобильных дорог

Стандарт организации распространяется на автомобильные дороги и устанавливает правила выполнения земляных работ при сооружении земляного полотна с использованием средств механизации.

Обозначение: СТО 030 НОСТРОЙ 2.25.23-2012
Название рус.: Автомобильные дороги. Строительство земляного полотна автомобильных дорог. Часть 1. Механизация земляных работ при сооружении земляного полотна автомобильных дорог
Статус: действует
Дата актуализации текста: 05.05.2017
Дата добавления в базу: 01.09.2013
Утвержден: НП СРО ССК УрСиб
Ссылки для скачивания:

НАЦИОНАЛЬНОЕ ОБЪЕДИНЕНИЕ СТРОИТЕЛЕЙ
НЕКОММЕРЧЕСКОЕ ПАРТНЕРСТВО «САМОРЕГУЛИРУЕМАЯ ОРГАНИЗАЦИЯ СОЮЗ СТРОИТЕЛЬНЫХ
КОМПАНИЙ УРАЛА И СИБИРИ»

Стандарт организации

Автомобильные дороги

СТРОИТЕЛЬСТВО ЗЕМЛЯНОГО ПОЛОТНА
АВТОМОБИЛЬНЫХ ДОРОГ

Часть 1. Механизация земляных работ при
сооружении земляного полотна автомобильных
дорог

СТО 030 НОСТРОЙ 2.25.23-2012

Челябинск 2012

Предисловие

1 ПОДГОТОВЛЕН И ПРЕДСТАВЛЕН НА УТВЕРЖДЕНИЕ

Некоммерческим партнерством «Саморегулируемая организация Союз строительных компаний Урала и Сибири»

2 УТВЕРЖДЕН И ВВЕДЕН В ДЕЙСТВИЕ

Решением общего собрания НП СРО «ССК УрСиб» (дата и номер протокола)

3 ВВЕДЕН

ВПЕРВЫЕ

 

Настоящий стандарт является модифицированным по отношению к стандарту Национального объединения строителей СТО НОСТРОЙ 2.25.23-2012. Модификация осуществляется путем внесения уточняющих пунктов в положения стандарта и оформлена методом выделения вновь вводимого текста - жирный стиль оформления

СОДЕРЖАНИЕ

Введение. 2

1 Область применения. 2

2 Нормативные ссылки. 3

3 Термины и определения. 3

4 Механизация работ при сооружении земляного полотна. 5

4.1 Общие положения. 5

4.2 Грейдерные работы.. 7

4.3 Бульдозерные работы.. 7

4.4 Скреперные работы.. 10

4.5 Экскаваторные работы.. 12

4.6 Уплотнение грунтов. 14

4.7 Уплотнение в стеснённых местах и особых случаях. 18

4.8 Гидромеханизация земляных работ. 20

4.9 Особенности механизации работ на косогорных участках. 23

5 Контроль качества земляных работ и правила их приёмки. 23

Приложение А (справочное) Распределение немёрзлых грунтов по группам в зависимости от трудности их разработки механизированным способом.. 27

Приложение Б (справочное) Выбор типоразмеров машин для выполнения земляных работ. 30

Приложение В (рекомендуемое) Методика пробного уплотнения грунтов. 34

Приложение Г (справочное) Технологическая карта 1. Возведение насыпи с разработкой грунта экскаваторами и  транспортировкой автомобилями-самосвалами. 39

Приложение Д (Справочное) Технологическая карта 2. Устройство земляного полотна автомобильной дороги в выемке. 48

Библиография. 53

 

Введение

Настоящий стандарт разработан в соответствии с Программой стандартизации Национального объединения строителей на 2010 - 2012 годы, утвержденной Решением Совета Национального объединения строителей от 20 апреля 2011 года.

Стандарт направлен на реализацию в Национальном объединении строителей Градостроительного кодекса Российской Федерации, Федерального закона от 27 декабря 2002 г. № 184-ФЗ «О техническом регулировании», Федерального закона от 30 декабря 2009 г. № 384-ФЗ «Технический регламент о безопасности зданий и сооружений» и иных законодательных и нормативных актов, действующих в области градостроительной деятельности.

Авторский коллектив:

Коган Р.А. - к.т.н., руководитель разработки, ОАО «СоюздорНИИ»;

Гопин О.Б. - инженер, ОАО «СоюздорНИИ»;

Басурманова И.В. - инженер, ОАО «СоюздорНИИ»

«САМОРЕГУЛИРУЕМАЯ ОРГАНИЗАЦИЯ СОЮЗ СТРОИТЕЛЬНЫХ КОМПАНИЙ УРАЛА И СИБИРИ»

Автомобильные дороги

СТРОИТЕЛЬСТВО ЗЕМЛЯНОГО ПОЛОТНА АВТОМОБИЛЬНЫХ ДОРОГ

Часть 1. Механизация земляных работ при сооружении земляного полотна
автомобильных дорог

Roads

Construction of the road subgrade

Part 1. The mechanization of earthworks for the construction of road subgrade

1 Область применения

1.1 Настоящий стандарт организации распространяется на автомобильные дороги и устанавливает правила выполнения земляных работ при сооружении земляного полотна с использованием средств механизации.

1.2. Текст, выделенный курсивом, носит рекомендательный характер.

1.3. Текст, выделенный жирным шрифтом, является модифицированным по отношению к тексту стандарта Национального объединения строителей СТО НОСТРОЙ 2.25.23-2011.

2 Нормативные ссылки

В настоящем стандарте использованы нормативные ссылки на следующие нормативные документы:

ГОСТ 5180-84 Грунты. Методы лабораторного определения физических характеристик (взамен ГОСТ 5180-75, ГОСТ 5181-78, ГОСТ 5182-78, ГОСТ 5183-77).

ГОСТ 22733-2002 Грунты. Метод лабораторного определения максимальной плотности.

ГОСТ 25100-95 Грунты. Классификация.

СНиП 2.05.02.85* Автомобильные дороги.

СНиП 3.06.03-85* Автомобильные дороги.

СНиП 12.01-2004 (СП 48.13330-2011) Организация строительства.

СНиП 12-03-2001 Безопасность труда в строительстве. Часть 1. Общие требования.

СНиП 12-04-2002 Безопасность труда в строительстве. Часть 2. Строительное производство.

Примечание - При пользовании настоящим стандартом целесообразно проверить действие ссылочных стандартов и классификаторов в информационной системе общего пользования - на официальных сайтах Национального органа Российской Федерации по стандартизации и НОСТРОЙ в сети Интернет или по ежегодно издаваемым информационным указателям, опубликованным по состоянию на 1 января текущего года. Если ссылочный стандарт заменен (изменен), то при пользовании настоящим стандартом следует руководствоваться новым (измененным) стандартом. Если ссылочный документ отменен без замены, то положение, в котором дана ссылка на него, применяется в части, не затрагивающей эту ссылку.

3 Термины и определения

В настоящем стандарте применены следующие термины с соответствующими определениями:

3.1.1 влажность грунта оптимальная: Влажность грунта, при которой его уплотнение определенными уплотняющими средствами обеспечивает максимальную плотность.

3.1.2 выемка: Земляное сооружение, выполненное путём срезки естественного грунта по заданному профилю; при этом вся поверхность земляного полотна расположена ниже поверхности земли.

3.1.3 высота насыпи: Расстояние по вертикали от естественного уровня земли до низа дорожной одежды, определяемое по оси земляного полотна.

3.1.4 высота откоса: Расстояние по вертикали от верхней бровки откоса до нижней бровки.

3.1.5 грунт растительный: Верхний слой почвы, который пригоден для озеленения.

3.1.6 грунтовые воды: Подземная вода первого от поверхности водоносного горизонта, расположенного над первым от поверхности земли водонепроницаемым слоем;

3.1.7. гидромеханизация: непрерывный технологический комплекс механизированных процессов и технических приёмов земляных работ, связанных с разработкой грунтов, их транспортированием и укладкой в тело сооружений, в штабеля или в отвал гидравлическими методами

3.1.7 дорожная конструкция: Комплекс, состоящий из дорожной одежды и земляного полотна (включая основание насыпей и выемок).

3.1.8 дорожная одежда: конструктивный элемент автомобильной дороги, воспринимающий нагрузку от транспортных средств и передающий ее на земляное полотно.

3.1.9 дренаж: Конструкция, устраиваемая для перехвата грунтовых вод или понижения их уровня (УГВ).

3.1.12 земляное полотно: конструктивный элемент, служащий основанием для размещения дорожной одежды, а также технических средств организации дорожного движения и обустройства автомобильной дороги.

3.1.13 карта технологическая: Документ, устанавливающий для массовых, часто повторяющихся строительных или ремонтных процессов и операций рациональную организацию и технологию производства работ с применением современных, наиболее эффективных средств механизации выполнения отдельных видов работ, последовательность которых указывают в технологических схемах. Является составной часть проекта производства работ (ППР).

3.1.15 коэффициент уплотнения: Отношение фактической плотности скелета материала в конструкции к наибольшей плотности скелета материала, определяемой при стандартном уплотнении.

3.1.16 насыпь: Инженерное земляное сооружение из насыпного грунта, в пределах которого вся поверхность земляного полотна расположена выше уровня земли (подстилающего грунта).

3.1.17 обочина: Элемент дороги, примыкающий непосредственно к проезжей части и предназначенный для обеспечения устойчивости земляного полотна, повышения безопасности дорожного движения, организации движения пешеходов и велосипедистов, а также использования при чрезвычайных ситуациях.

3.1.19 основание насыпи: Подстилающий естественный грунт с ненарушенной структурой, на котором сооружают земляное полотно.

3.1.20 отсыпка грунта: Устройство насыпных слоев грунта землеройно-транспортными или транспортными (самосвальными) машинами.

3.1.21 откос: Боковая наклонная поверхность, ограничивающая искусственное земляное сооружение (земляное полотно, дамбу и др.) или склоны естественного рельефа.

3.1.24 поверхность земляного полотна: Поверхность земляного полотна или улучшенного верхнего слоя земляного полотна, на которых расположена дорожная одежда.

3.1.29 работы подготовительные: Работы, выполняемые в соответствии с проектом организации работ до начала сооружения земляного полотна. К ним относят: восстановление и закрепление трассы, расчистку полосы отвода, разбивку элементов земляного полотна, водоотводные и осушительные работы и подготовку основания насыпи, постройку временных дорог и временных сооружений, линий связи и электроосвещения, энерго-, водо-, паро- и газоснабжения.

3.1.30 резерв: Территория, отводимая для разработки грунта неглубокими выработками правильной формы, из которых грунт используют для отсыпки насыпи автомобильной дороги. Резерв обычно закладывают вблизи строящейся дороги непосредственно у основания насыпи с одной или двух её сторон, а в случае невозможности - вдали от дороги на отведённом по проекту участке сосредоточенного грунтового карьера.

3.1.31 строительство земляного полотна (сооружение земляного полотна): комплекс земляных работ, подчиненный общей организации строительства автомобильной дороги и выполняемый специализированными подразделениями землеройно-транспортных машин вслед за строительством малых мостов и труб.

3.2.1 влажность: Отношение количества воды (по массе или объёму), содержащейся в грунте, к массе (объёму) абсолютно сухого грунта, выраженное в долях (процентах).

3.2.2 влажность грунта относительная: Отношение влажности грунта к влажности на границе текучести, выраженное в процентах.

3.2.3 гидромеханизация: Механизированный способ производства земляных работ путем их разработки, перемещения в отвал (гидротранспортирование) или укладка грунта в тело земляного полотна с использованием энергии струи и потока воды с частичным отводом воды.

3.2.4 карьер грунтовый: Производственное предприятие строительства временного типа для разработки грунта, его погрузки и доставки к месту укладки, а также для механизированного приготовления в установке смеси грунтов с вяжущим материалом, их выдачи в транспортные средства и доставки к месту укладки в слои дорожной одежды.

3.2.5 машины землеройные: Дорожные машины, предназначенные для производства всех видов работ при строительстве автомобильных дорог (экскаваторы, скреперы, бульдозеры, автогрейдеры и др.).

3.2.6 машины уплотняющие: Машины для уплотнения конструктивных слоев земляного полотна. Различают: виброуплотняющие, трамбующие, укатывающие машины.

3.2.7 механизация возведения земляного полотна: Комплекс технологических процессов на основе применения отрядов машин для сооружения земляного полотна, рационально подобранных, с учетом типов машин и транспортных средств и объемов работ.

3.2.8 плотность грунта: Отношение массы грунта, включая массу воды в его порах, к занимаемому этим грунтом объёму.

3.2.9 разработка грунта в боковых резервах с перемещением в насыпь: Технологический процесс сооружения насыпи земляного полотна из грунта, разрабатываемого в боковых резервах и перемещаемых в насыпь.

3.2.10 разработка грунта в выемках с перемещением в насыпь: Технологический процесс сооружения насыпи земляного полотна из грунта, разрабатываемого в выемках землеройно-транспортными машинами с продольным перемещением в насыпь.

3.2.11 разработка грунта в карьерах с перемещением в насыпь: Технологический процесс сооружения насыпи земляного полотна из грунта, разрабатываемого в карьере с транспортировкой в насыпь.

3.2.12 технологический процесс сооружения земляного полотна: Способы, приемы и последовательность выполнения видов работ определенным типом машин и их типоразмером с рациональными режимами.

3.2.13 типоразмер машин: Значение главного параметра машины (или интервал значений), определяющего ее техническую характеристику, по которой из выпускаемой номенклатуры машин данного типа устанавливают рациональную область ее применения.

4 Механизация работ при сооружении земляного полотна

4.1 Общие положения

4.1.1 При производстве земляных работ должны применяться способы и средства механизации, обеспечивающие выполнение заданных объёмов работ в установленные сроки с требуемым качеством.

4.1.2 Механизация должна быть комплексной и охватывать все процессы и виды работ, связанные с устройством земляных сооружений или их отдельных конструктивов.

На вспомогательных операциях в целях сокращения ручного труда необходимо широко применять различное сменное оборудование к основным машинам и средства малой механизации. Особенно это касается уплотняющих средств (трамбовки, виброплощадки, виброплиты, катки с малой базой).

4.1.3 При выборе средств механизации и схем работ следует учитывать физико-механические свойства грунтов с точки зрения их пригодности для сооружения земляного полотна (приложение А).

4.1.4 При разработке вариантов механизации отряды машин составляют таким образом, чтобы обеспечить их максимальную загрузку на всех технологических процессах сооружения земляного полотна. Рекомендуется предусматривать двух- и трёхсменную работу средств механизации.

4.1.5 При строительстве земляного полотна организацию работы по захваткам осуществляют с учётом темпов работы, мощности и вида применяемой техники, а также сезона и погодных условий.

Выбор типоразмеров машин для выполнения земляных работ следует осуществлять в соответствии с приложением Б.

4.1.6 Сооружение земляного полотна из грунта боковых резервов, в предусмотренных проектом случаях, выполняется с применением автогрейдеров, бульдозеров, скреперов. Для устройства глубоких резервов, работы на косогорах рационально применение экскаваторов с автовозкой.

4.1.7 Разработка выемок землеройно-транспортными машинами с продольным перемещением грунта в насыпь в едином технологическом процессе рекомендуется во всех случаях, когда грунт из выемки пригоден для отсыпки насыпи. В случае отрицательного грунтового баланса и неблагоприятных грунтов следует отдавать предпочтение более длинным захваткам при укладке грунта из выемки с последующей досыпкой другими грунтами из сосредоточенных резервов и карьеров.

4.1.8 Разработку грунта в карьерах с транспортировкой в насыпь следует выполнять во всех случаях, предусмотренных проектом.

4.1.9 Минимальные требования к рабочим, необходимым для выполнения работ по устройству земляного полотна автомобильных дорог, перронов аэропортов, взлетно-посадочных полос, рулежных дорожек приведены в таблице 0.1.

Таблица 0.1

Необходимые рабочие

Диапазон разрядов

Примечание

Машинист автогрейдера

5 - 6

Категории С, Д

Машинист бульдозера

4 - 6

Категория Е

Машинист самоходного катка с гладкими вальцами

4 - 6

Категории С, Д

Машинист экскаватора одноковшового

4 - 6

Категории С, Д, Е

Дорожный рабочий

3

 

Водитель погрузчика

2 - 7

Категории В, С, Е

Водитель автомобиля

4 - 8

Категория Д

Машинист катка самоходного и полуприцепного на пневматических шинах

6

 

Лаборант по физико-механическим испытаниям

2 - 6

 

 

 

*Профессии 1, 2, 3, 4, 6, 8 поднадзорны органам Гостехнадзора. Для права работы на данных машинах, кроме документа о присвоении рабочей профессии, необходимо наличие удостоверения тракториста-машиниста с особой отметкой о профессии и соответствующей категорией.

Все указанные работники должны иметь:

- документ о присвоении соответствующей рабочей профессии;

- документ, подтверждающий присвоение соответствующего разряда;

- удостоверение тракториста-машиниста с особой отметкой о профессии и соответствующей категории.

Не реже одного раза в пять лет профессиональные рабочие должны пройти курсы повышения квалификации по виду выполняемой профессиональной деятельности.

4.2 Грейдерные работы

4.2.1 Автогрейдеры применяют:

- для разработки и перемещения грунта при возведении насыпи высотой до 0,8 м из боковых односторонних и двухсторонних резервов;

- на вспомогательных работах в комплексе с другими землеройными машинами:

- на послойном разравнивании грунтов в насыпях;

- при планировке откосов, обочин, резервов с приданием им поперечных и продольных уклонов;

- при содержании временных грунтовых дорог, въездов, съездов;

- для устройства водоотводных канав.

Для выполнения перечисленных работ используют автогрейдеры тяжелого и среднего типа, снабженные в необходимых случаях откосниками и удлинителями отвалов.

Разработка грунта автогрейдерами при перемещении из резерва в насыпь может быть рекомендована для дорог низших категорий.

4.2.2 Вырезание грунта грейдером в резерве и поперечное перемещение его в насыпь осуществляют круговыми проходами машины. Для сокращения потерь времени на развороты машины в концах рабочей захватки ее длина должна быть не менее 400 - 500 м.

Работы рекомендуется вести двумя захватками: на одной вырезать грунт из резерва и перемещать его в насыпь, на другой - планировать и уплотнять ранее отсыпанный слой грунта.

4.3 Бульдозерные работы

4.3.1 Бульдозеры наиболее эффективно применять при возведении насыпей высотой от 1 до 2 м из грунта боковых резервов. Они позволяют механизировать практически весь комплекс работ, за исключением уплотнения и окончательной планировки поверхности земляного полотна, включая откосы и выработанных боковых резервов, которые обычно выполняются автогрейдером.

4.3.2 Разработка резерва ведется поперечными проходами бульдозера с максимально-возможным для устойчивой работы машины заглублением отвала, начиная от дальней бровки. При этом между образуемыми траншеями зарезания целесообразно оставлять перемычки шириной около 1 м, убираемые последующими проходами. Собранный отвалом объём грунта перемещают в насыпь при двусторонних резервах до оси дороги. Обратным ходом выполняется грубое выравнивание слоёв насыпи. Отсыпка слоя завершается по достижении требуемой толщины по условию уплотняемости.

Контроль толщины и ровности слоя ведётся инструментально в соответствии с требованиями СНиП 3.06.03. Следующий слой укладывается после полного уплотнения предыдущего.

Сечение бокового резерва должно быть сбалансировано с сечением насыпи с учётом возможных различий бытовой и требуемой плотности.

4.3.3 После выработки проектного сечения резерва все поверхности должны быть незамедлительно спланированы с приданием предусмотренных проектом уклонов для стока дождевых и талых вод. Рекультивация боковых резервов выполняется сразу после окончания сооружения земляного полотна на данном участке (или задела).

4.3.4 Разработку бульдозером неглубоких выемок с продольным перемещением грунта в насыпь (или в отвал) следует осуществлять при расстоянии перемещения до 100 м. Разработку выемки начинают с ближнего к насыпи конца с перемещением грунта в дальний конец насыпи. Разработку ведут послойно на глубину рационального зарезания отвала (рисунок 1).

1 - ярусы; 2 - слой отсыпанной насыпи; 3 - траншеи яруса; 4 - стенки

Рисунок 1 - Ярусно-траншейная схема разработки грунта

Зарезание в месте разработки следует производить с учётом группы грунтов по трудности их разработки (приложение А) способом, обеспечивающим более полное и производительное использование мощности двигателя трактора бульдозера без перегрузок (рисунок 2 и приложение Д).

а - прямоугольная; б - клиновая; в - гребенчатая

Рисунок 2 - Схемы зарезания грунта бульдозером

4.3.5 Для уменьшения потерь грунта при перемещении разработку выемки или резерва ведут отдельными проходами с образованием «траншей» и сохранением между ними гребней шириной около 1 м. Гребни между траншеями срезают, начиная с дальнего от насыпи участка, движением бульдозера под углом с перемещением грунта по ранее выработанной траншее (рисунок 3).

1 - 7 - траншеи первого яруса; 8 - стенка; 9 - полка откоса (срезается при доработке откоса);
Б - участок выемки; В - участок насыпи.

Стрелками показано направление перемещения грунта

Рисунок 3 - Последовательность разработки промежуточных стенок при разработке
первого яруса выемки

После окончания разработки и перемещения грунта одного слоя выемки в таком же порядке разрабатывают и перемещают грунт нижележащих слоёв. При разработке нижнего слоя выемки сохраняют стенки крайних боковых траншей с целью перемещения по ним грунта, срезаемого с полок на откосах выемки (рисунок 4).

1 - 3 - ярусы; 4 - крайняя стенка (стенки разрабатывают одновременно с разработкой полок откоса);
5 - траншея; 6 - полки; а - ширина захвата при проходе бульдозером

Рисунок 4 - Последовательность разработки стенок при разработке нижнего яруса выемки и полок откосов выемки

4.3.6 В целях снижения потерь грунта при его перемещении по насыпи следует применять бульдозеры с открылками на отвале или с отвалами совкового типа.

Для повышения производительности бульдозеров тяжёлые и сухие глинистые грунты в резервах следует предварительно разрыхлять рыхлителем.

При больших объёмах работ целесообразна спаренная работа бульдозеров, при которой вырезание грунта и его перемещение по двум смежным траншеям в выемке производится одновременно двумя бульдозерами. После окончания операции резания бульдозеры должны сблизиться так, чтобы расстояние между отвалами составляло от 15 до 20 см, и в таком положении они на одной скорости должны производить дальнейшее перемещение грунта общим валом к месту его укладки.

4.3.7 При дальности перемещения грунта бульдозером с отвалом без боковых открылков на расстояние более 25 м резко возрастают потери грунта в пути. В таких случаях рекомендуется последовательное перемещение грунта с образованием промежуточных накопительных валов, в которых бульдозер может осуществить полный набор грунта для дальнейшего перемещения.

Отсыпку каждого слоя в насыпи следует начинать с крайних боковых полос с последующим приближением полос отсыпки к оси дороги. При этом толщина слоя отсыпки должна соответствовать заданной толщине технологического слоя с запасом на уплотнение от 10 до 20 %. Отсыпанный слой следует планировать автогрейдером или отдельным бульдозером с уширенным отвалом. К концу смены должен быть, как правило, полностью отсыпан, выровнен и уплотнён слой грунта по всему поперечному сечению земляного полотна и по всей длине установленной захватки, что обеспечивает сток воды в случае выпадения атмосферных осадков.

4.4 Скреперные работы

4.4.1 Скреперы применяют при выполнении следующих видов земляных работ:

- разработка грунта в выемке с перемещением его в насыпь;

- разработка грунта в резервах и карьерах с перемещением его в насыпь.

4.4.2 Скреперы рекомендуется применять при возведении из боковых резервов насыпей высотой до 2,5 - 3 м. При этом рационально нижние слои на высоту от 1 до 1,5 м возводить бульдозерами.

4.4.3 Скреперы рекомендуется применять при следующей дальности перемещения грунта: для прицепных скреперов до 300 м, для самоходных скреперов - до 3000 - 4000 м.

Типы применяемых скреперов должны соответствовать заданным темпам и объёмам земляных работ.

4.4.4 При разработке выемки и продольном перемещении грунта в насыпь движение скреперов организуют по эллиптической схеме, обеспечивая их развороты без съезда с насыпи. В целях предварительного

уплотнения грунта проходы скреперов следует распределять равномерно по ширине насыпи. Если грунт из выемки используют для возведения двух насыпей, расположенных по обеим её сторонам, целесообразно организовать движение скреперов по сквозной схеме с разгрузкой грунта, поочередно, то в одну, то в другую насыпь с разворотами на них (рисунок 5).

а - из выемки в насыпь; б - из выемки в две насыпи

Рисунок 5 - Схема движения скрепера при разгрузке грунта в выемке с перемещением его в насыпь

4.4.5 В зависимости от высоты, ширины и протяжённости насыпи назначают рациональные расстояния между въездами на насыпь из резерва и съездами с неё. Чем выше насыпь и глубже резерв, тем больше объёмы работ по устройству въездов и съездов и тем большими должны быть расстояния между ними. Расстояния между въездами на насыпь и съездами с неё при невысоких насыпях с разностью отметок дна резерва и верха насыпи до 1,5 - 2 м принимают равными от 50 до 80 м, а при более высоких насыпях с разностью отметок до 3 - 4 м их увеличивают до 100 - 120 м. По отношению к оси насыпи въезды и съезды располагают под углом таким образом, чтобы их крутизна не превышала для прицепных скреперов от 18 до 20 %, а поперечный уклон от 8 до 10 %. При разности отметок насыпи и резерва до 1,0 - 1,5 м и пологих откосах (1:3; 1:4) насыпи, въезды и съезды можно не устраивать. Организацию движения скреперов следует вести так, чтобы при движении в гружёном направлении было минимальное количество поворотов.

При разработке грунта из двусторонних боковых резервов работу скреперов рекомендуется вести по спиральной схеме с поперечной разгрузкой грунта в насыпи, что позволяет на протяжении одного кругового прохода осуществлять два зарезания и две разгрузки грунта. Работа по спиральной схеме возможна до разности отметок насыпи и резерва от 1 до 1,5 м, при которой не требуется устройство въездов на земляное полотно. При отсыпке верхней часты насыпи с более высокой разностью отметок, когда необходимо устройство въездов и съездов, работу продолжают по обычной эллиптической схеме (рисунок 6, приложения Е и Ж).

а - по «эллипсу»; б - по «спирали»

Рисунок 6 - Схема движения скреперов при разработке грунта

4.4.6 Работу скреперов при соответствующих объёмах земляных работ целесообразно выполнять колоннами в шесть-восемь и более машин, что обеспечивает лучшие условия работы скреперов, более полное использование сопутствующих машин (рыхлителей, катков и др.).

При работе прицепных скреперов на песках или на плотных и тяжёлых грунтах и самоходных скреперов - во всех случаях скреперные колонны следует обеспечивать тракторами или бульдозерами-толкачами соответствующей мощности, способствующими работе скреперов при зарезании грунта (таблица 1).

Таблица 1 - Количество скреперов, обслуживаемых одним толкачом

Дальность транспортировки грунта, м

Количество скреперов при вместимости ковша скрепера, м3

3

от 4,5 до 7,0

от 8 до 10

15

от 200 до 250

3

4

3

3

от 300 до 400

4

4

3

3

от 400 до 500

4

4

4

4

Плотные грунты перед разработкой скреперами следует разрыхлять на толщину срезаемой стружки. Для рыхления глинистых грунтов используют рыхлитель с пятью стойками, для рыхления суглинистых грунтов - с тремя.

В сыпучих песках барханного типа, на заболоченных участках, в сильно увлажнённых грунтах, грунтах с наличием валунов, пней и корней, а также в затвердевших трудно разрабатываемых грунтах применять скреперы не рекомендуется.

4.4.7 Зарезание грунта и заполнение ковша скрепера должно производиться при прямолинейном движении тягача и скрепера. Для облегчения набора грунта в ковш скрепера, сокращения времени набора и достижения наибольшего заполнения ковша следует резание грунта производить при движении машины на первой передаче, по возможности под уклон; в глинистых грунтах - применять ребристо-шахматную схему, а в сухих песчаных грунтах - гребенчатую схему зарезания грунта; регулировать положение заслонки во время резания грунта (приложение Е).

Резание грунта следует производить с максимально возможной толщиной стружки.

4.4.8 Отсыпка слоя грунта производится способом «от себя», чтобы использовать проезд гружёного скрепера для уплотнения ранее уложенных участков. В начале разгрузки ковш должен быть опущен до просвета, равного толщине отсыпаемого слоя, а заслонка поднимается до отказа. Не допускается разгрузка грунта кучами. При движении скрепера с одновременным разравниванием слоя создаются лучшие условия для уплотнения грунта и движения скреперов с повышенными скоростями.

Песчаные грунты следует выгружать слоями от 10 до 15 см, а глинистые грунты - слоями от 20 до 25 см.

По окончании выгрузки при движении скрепера в пределах отсыпаемой насыпи ковш с закрытой заслонкой следует оставлять на уровне выгрузки с целью выравнивания отдельных неровностей отсыпки, при съезде с насыпи -поднимать на 0,4 - 0,5 м, чтобы обеспечить проход скрепера через возможные препятствия на пути.

4.5 Экскаваторные работы

4.5.1 При возведении земляного полотна экскаваторы применяют при:

- разработке сосредоточенных резервов и карьеров с высотой забоя более 2 м;

- разработке выемок глубиной более 2 м, а также всех резервов и выемок, в том числе боковых резервов, если грунт в них не обеспечивает проходимость землеройно-транспортных машин;

- разработке котлованов, траншей для труб, дренажей, водоотводных каналов и других сооружений.

При необходимости перемещения грунта за пределами радиуса действия экскаватора применяются автосамосвалы или специальные землевозы.

4.5.2 Грунты, имеющие влажность выше допустимой по условиям уплотнения, могут укладываться экскаватором в промежуточный штабель для последующего просушивания. Для разработки резервов несвязных и обломочных грунтов и их последующей погрузки рационально вместо экскаватора применять бульдозер с тракторным или колёсным погрузчиком.

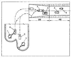
4.5.3 Разработку грунта одноковшовыми экскаваторами (типа «прямая» и «обратная лопата») производят забоями. Направление разработки, количество и параметры забоев по ширине выемки или другого источника получения грунта для устройства насыпи устанавливают в соответствии с геометрическими размерами выемки или рабочей зоны источника с оптимальными условиями работы экскаваторов (рисунок 7 и 8, приложение Г).

Параметры забоев должны обеспечивать возможность работы ковшом экскаватора принятого типа с наименьшими затратами времени на выполнение рабочего цикла экскавации, состоящего из зарезания и наполнения ковша грунтом, поворота к месту загрузки автотранспорта и обратного поворота ковша к забою.

1 - экскаватор, 2 - автомобиль-самосвал, 3 - бульдозер, 4 - кулачковый каток,
5 - каток на пневмошинах, 6 - вешка

Рисунок 7 - Схема возведения насыпи с разработкой грунта экскаваторами и перемещением автомобилями-самосвалами

R - максимальный радиус выгрузки; r - наибольший радиус резания;

Н - наибольшая высота выгрузки; В - ширина забоя; b - наименьший радиус выгрузки.

Рисунок 8 - Поперечное сечение экскаваторного забоя

Для обеспечения указанного требования принимают:

- ширину забоев с таким расчётом, чтобы экскаватор мог работать при средней величине угла поворота не более 70°;

- глубину (высоту) забоев - не меньше длины стружки грунтов, необходимой для заполнения ковша с «шапкой» за один прием черпания;

- длину забоев - с учётом возможно меньшего количества вводов и выводов экскаватора в забой и из забоя, сопряженных с потерями производительности машины.

При разработке глинистых грунтов должен быть постоянно обеспечен отвод из забоя и от подъездных путей поверхностных и грунтовых вод.

4.5.4 Разработку выемки экскаватором с оборудованием «прямая лопата» начинают с отрывки пионерной траншей до отметки, позволяющей обеспечить нормальный набор грунта экскаватором. Разработку пионерной траншеи целесообразно осуществлять с применением бульдозеров.

Бульдозером также планируют пути подъезда транспортных средств к экскаватору. Должен быть предусмотрен отвод из пионерной траншеи поверхностных и грунтовых вод.

4.5.5 При разработке выемок из глинистых грунтов при мощности забоя, которая соответствует наибольшей высоте резания, возможно образование нависающих козырьков, которые необходимо немедленно обрушать, принимая все меры, обеспечивающие безопасность выполнения этой операции.

При разработке грунта экскаваторами грунт следует вырезать максимально толстой стружкой, не допуская при этом перегрузки и снижения оборотов двигателя экскаватора. Резание грунта ковшом стружками наибольшей толщины обеспечивается:

- наиболее выгодным наклоном ковша относительно продольной оси рукояти применительно к разрабатываемому грунту и высоте забоя;

- передвижением экскаватора за 1 раз по мере выработки забоя на величину не более 0,4 хода рукояти и работой при вылете её, не превышающим 2/3 полной величины.

Срезку грунта в уровне подошвы гусениц или колёс экскаватора следует вести так, чтобы для передвижения машины не требовалось дополнительного выравнивания площадки.

4.5.6 Во многих случаях, особенно при несвязных или малосвязных грунтах, более эффективной в сравнении с разработкой экскаватором является технология разработки и окучивания грунта в выемках и резервах бульдозером с последующей погрузкой его в транспортные средства колесными или гусеничными одноковшовыми погрузчиками. Целесообразно совместное применение на таких работах бульдозеров мощностью 100 кВт (150 л.с.) и более, погрузчиков с большой вместимостью ковша и большегрузных саморазгружающихся транспортных средств.

4.6 Уплотнение грунтов

4.6.1 Для обеспечения эффективного уплотнения земляное полотно следует сооружать послойно с формированием, выравниванием и уплотнением каждого технологического слоя. В целях обеспечения однородной плотности тела насыпи в принятом слое грунт следует распределять равномерной толщиной по всей ширине насыпи с приданием поверхности каждого слоя поперечного уклона от 20 ‰ до 40 ‰ от оси к бровкам, после чего выполняют его уплотнение. При ширине отсыпаемого слоя более 30 м уплотнение необходимо осуществлять с выделением отдельных продольных захваток и поочерёдным выполнением операций по уплотнению на каждой из них. Для уплотнения грунта земляного полотна следует применять комплекс уплотняющих средств (катки статического и вибрационного действия с пневматическим, гладким или кулачковым вальцем, самоходные и прицепные). Выбор рациональной технологии уплотнения, её параметров (толщина слоя, количество проходов по одному следу, масса и тип катка) следует устанавливать пробным уплотнением (приложение В).

4.6.2 Возведение насыпей без уплотнения грунтов специальными уплотняющими средствами допускается: на болотах (ниже поверхности болота); при прохождении водоёмов (при отсыпке грунта в воду); сооружаемых способом гидронамыва. В перечисленных случаях проектом должны быть предусмотрены мероприятия, обеспечивающие достижение требуемой плотности и стабильности насыпного грунта другими технологическими приёмами и уплотняющей техникой.

4.6.3 Уплотнение производят продольными по отношению к оси захватки проходами, начиная от краёв к середине. При этом след от предыдущего прохода катка должен перекрываться при последующем проходе не менее чем на 0,2 - 0,3 м.

4.6.4 Скорость движения катков в начале уплотнения устанавливают в зависимости от насыпной плотности грунта и доводят к завершению уплотнения до максимальной рабочей скорости.

При уплотнении необходимо следить за тем, чтобы исключить пропуски (места, не перекрытые проходами катка). Повторные проходы уплотняющей машины по одному и тому же следу не следует выполнять до тех пор, пока вся ширина уплотняемой поверхности не будет перекрыта следами предыдущего прохода катка. Участки смежных соседних захваток при уплотнении должны перекрываться на длине не менее чем 5 м. Границы захваток в продольном направлении целесообразно отмечать вешками, устанавливаемыми сбоку от уплотняемой поверхности.

4.6.5 Уплотнение, как правило, выполняют немедленно после отсыпки, формирования и выравнивания слоя. Выполнение операций по уплотнению грунта допускается смещать во времени, если по условиям производства работ (например, стеснённость фронта) или погодно-климатическим условиям (наличие мёрзлых включений, быстрое смерзание грунта в зимний период) укатку невозможно выполнить сразу после отсыпки грунтового слоя.

Толщина отсыпаемых слоёв, длина фронта отсыпки и количество проходов (ударов) уплотняющего средства должны определяться в зависимости от типа грунта, сезона строительства, типа и массы применяемых уплотняющих средств и в каждом конкретном случае уточняться по результатам пробного уплотнения.

4.6.6 Пробное уплотнение в процессе строительства выполняется для каждого типа уплотняющего средства и типа используемого грунта из расчёта одного уплотнения на каждые 50 тыс. м3 укладываемого грунта, но не реже одного раза в строительный сезон с составлением акта пробного уплотнения.

4.6.7 Плотность грунта земляного полотна и грунтового основания оценивается коэффициентом уплотнения Ку, который представляет собой отношение фактической плотности сухого грунта (объёмного веса скелета) ρd (ГОСТ 5180) к максимальной стандартной плотности ρdmax (ГОСТ 22733), устанавливаемой на основе испытания грунта в лабораторных условиях.

В процессе уплотнения плотность грунта (коэффициент уплотнения) необходимо контролировать в каждом технологическом слое в местах, предусмотренных СНиП 3.06.03.

4.6.8 Уплотнение грунтов в слоях насыпи следует осуществлять только при влажности грунта согласно СНиП 2.05.02 (приложение 2, таблица 11).

4.6.9 Пески, лёгкие супесчаные и суглинистые грунты увлажняют в отсыпанном слое незадолго или непосредственно перед уплотнением равномерным разливом необходимого количества воды. Глинистые грунты, в которых перераспределение влаги идёт медленнее, увлажняют заблаговременно в несколько приёмов. Тяжёлые глинистые грунты лучше увлажнять в местах их разработки. Поверхность слоя глинистого грунта предварительно взрыхляют на глубину от 0,25 до 0,3 м, а затем доувлажняют до оптимальной или допустимой влажности и не менее двух раз перемешивают автогрейдером или сельскохозяйственным плугом. Для увлажнения следует применять поливомоечные машины с поднятыми соплами, разливая воду в несколько приёмов при удельном расходе более 10 л/м. После каждого раза должно производиться тщательное перемешивание грунта с последующей обязательной планировкой площади рабочей захватки, что должно быть оговорено в проекте.

4.6.10 При использовании грунтов, влажность которых превышает допустимую (грунты повышенной влажности), необходимо проводить мероприятия, направленные на её снижение для достижения требуемых значений степени уплотнения (СНиП 2.05.02, приложение 2, таблица 12) и обеспечения стабильности насыпи в процессе эксплуатации. Такие мероприятия включают: предварительное осушение грунтов на месте их получения (или в грунтовом основании) естественным путем; обработку их активными добавками (негашёной известью, золами уноса сухого удаления, низкомарочными цементами и т.д.); введение грунтов определенного зернового состава с влажностью меньше оптимальной, например, песок, супесь лёгкая, золошлак и т.д.

4.6.11 Уплотнение неразмягчаемых крупнообломочных грунтов каркасной структуры (ГОСТ 25100) достигается, как правило, при естественной влажности с использованием вибрационных гладковальцевых катков, виброударных и трамбующих машин.

Влажность уплотняемого крупнообломочного грунта с глинистым заполнителем, при содержании последнего в количестве 30 % и более должна соответствовать допустимой влажности глинистого грунта заполнителя (СНиП-2.05.02 приложение 2, таблица 12).

Влажность крупнообломочного грунта, содержащего глинистый заполнитель в количестве менее 30 %, должна соответствовать допустимой влажности, установленной при требуемом коэффициенте уплотнения для супесей лёгких и пылеватых.

Крупнообломочные грунты с песчаным заполнителем и пески наиболее эффективно уплотняются при динамическом воздействии (виброкатки с гладким вальцем, виброплиты, виброударные и ударные машины). Грунты глинистые, в том числе пылеватые, рекомендуется уплотнять при динамическом нагружении (кулачковые вибрационные катки, трамбующие машины).

Пески, в том числе однородные, следует уплотнять гладковальцевыми вибрационными катками и виброплитами.

4.6.12 Для обеспечения благоприятных условий уплотнения грунта насыпи в краевых частях, прилегающих к откосу, ширина отсыпки может быть назначена больше проектного поперечного очертания насыпи на 0,3 - 0,5 м с каждой стороны. Перед началом работ по отделке и укреплению откосов излишний грунт снимают и используют для досыпки обочин, устройства съездов, для отсыпки других участков и т.д.

Насыпь не уширяют при отсыпке из крупнообломочных грунтов и песков, а также при сооружении высоких насыпей, где уплотнение откосов предусмотрено в качестве отдельной операции или, насыпей с откосами крутизной 1:2 и по ложе.

Особое внимание должно быть уделено уплотнению грунта на участках съездов и въездов на дорогу (на длине от 15 до 20 м по обе стороны) и на концевых участках, в местах их примыкания к участкам, отсыпанных при сосредоточенных работах.

4.6.13 Для работ сосредоточенного характера кроме катков используют трамбующие плиты и виброплиты, в стеснённых условиях - ручные вибротрамбовки, виброплиты и специальные катки.

4.6.14 Уплотнение грунта в стеснённых условиях при засыпке водопропускных труб, опор и в конусах мостов и путепроводов, а также краевых частей насыпей и откосов земляного полотна следует производить, применяя специальные уплотняющие средства вибрационного и виброударного действия.

Для уплотнения грунтов при ограниченном фронте работ (уплотнение грунта в траншеях, вблизи стен и опор, а также других стеснённых условиях) применяют малогабаритные виброкатки, самопередвигающиеся и навесные виброплиты и вибротрамбовки.

4.6.15 Для уплотнения при помощи катков рекомендуются машины, приведённые в приложениях Б настоящего стандарта.

При уплотнении кулачковыми вибрационными катками возникает разуплотнение поверхностного слоя, поэтому на завершающем этапе целесообразно дополнительное применение катков с гладкими вальцами.

4.6.16 Вибрационные машины применяют для уплотнения крупнообломочных, гравийно-песчаных, супесчаных и некоторых разновидностей глинистых грунтов, а также песков. Пески эффективно уплотняются только вибрационными средствами. Виброкатки, работающие с некоторым отрывом от укатываемой поверхности, т.е. в виброударном режиме, способны уплотнять тяжёлые глинистые грунты твёрдой консистенции.

Характер и интенсивность виброударного воздействия катка, а соответственно и его уплотняющая способность (достигаемая плотность и толщина прорабатываемого слоя), зависят от параметров колебаний вальца (амплитуды, частоты), общей массы виброкатка и массы вибрирующего вальца, массы пригруза (рама, балласт). При амплитуде колебаний от 1,2 до 1,5 мм, частоте в пределах от 20 до 35 Гц и том соотношении масс, которое имеют вибракатки, толщина уплотняемого слоя грунта прямо пропорциональна общей массе прицепного виброкатка или массе вибровальцевого модуля (масса вальца вместе с рамой) у самоходного шарнирно-сочленённого катка.

4.6.17 На степень уплотнения и толщину прорабатываемого виброкатком слоя грунта большое влияние оказывает режим процесса, т.е. рабочая скорость и количество проходов по одному следу.

При частотах колебаний вальца от 20 до 35 Гц скорость движения виброкатка не должна превышать 2,0 - 2,5 км/час. В таком режиме работы за 4 - 8 проходов по одному следу каток при наибольшей толщине уплотняемого слоя обеспечивает высокую плотность грунта.

При более высоких скоростях (от 4 до 5 км/час) требуется увеличение количества проходов до 1,5 раз. При этом несколько снижается толщина прорабатываемого слоя, а достигаемая относительная плотность грунта (Ку) составляет не более 0,95.

4.6.18 Ориентировочные значения наибольшей толщины слоёв грунта, эффективно уплотняемых гладковальцевыми виброкатками на скорости от 2,0 до 2,5 км/час и рекомендуемое количество проходов представлены в таблице 2. Приведённые значения подлежат уточнению путём пробного уплотнения.

Таблица 2 - Ориентировочные толщины оптимальных слоев уплотнения грунтов катками

Разновидность грунта, его состояние

Степень нормативного уплотнения

Оптимальная толщина уплотняемого слоя, см, виброкатком общим весом (прицепная модель) или весом вибровальцового модуля шарнирно-сочлененного образца, т

Количество проходов катка

от 3 до 4

от 5 до 7

от 8 до 10

от 12 до 13

Скально-крупнообломочный и валунно-галечный с несвязным заполнителем

0,95

-

-

от 75 до 85

от 110 до 120

от 8 до 10

Песчано-гравийная смесь (ПГС) песок обычный, в т.ч. пылеватый

0,95

от 35 до 40

от 50 до 60

от 80 до 90

от 100 до 110

от 6 до 8

0,98

от 20 до 30

от 30 до 35

от 40 до 50

от 60 до 70

от 8 до 12

Песок, одноразмерный при влажности, % ≤ 4 - 5

0,95

от 30 до 35

от 40 до 45

-

-

от 4 до 6

0,98

от 20 до 25

от 30 до 35

-

-

от 6 до 8

≥ 6 - 7

0,95

от 40 до 45

от 55 до 60

от 70 до 75

-

от 4 до 6

0,98

от 25 до 30

от 35 до 40

от 50 до 55

-

от 6 до 8

Супесь, в том числе пылеватая, при оптимальной влажности

0,95

от 30 до 35-

от 45 до 50

от 55 до 60

от 70 до 75

от 6 до 8

0,98

от 20 до 25

от 30 до 35

от 40 до 45

от 50 до 60

от 10 до 12

Суглинок и глина песчанистая при оптимальной влажности (в долях оптимальной)*:

 

 

 

 

 

 

0,95 - 1,05

0,95

-

от 20 до 25

от 25 до 30

от 35 до 40

от 8 до 10

0,85 - 0,90

0,95

-

-

от 20 до 25

от 25 до 30

от 10 до 12

4.6.19 Пески и песчано-гравийная смесь уплотняются виброкатками лучше всего при полном водонасыщении. Однако избыточное увлажнение допустимо лишь при наличии хорошего отвода воды из уплотняемой насыпи и в летний период. В противном случае влажность должна быть не более допустимой. Мелкие пески в состоянии избыточного увлажнения труднее уплотняются вибрационными средствами из-за взвешенности частиц в воде. Наиболее эффективное их уплотнение достигается при оптимальной влажности. Пылеватые пески и супеси при влажности свыше оптимальной становятся пластичными и упругими и плохо поддаются уплотнению вибрацией.

Глинистые грунты следует уплотнять виброкатками, катками на пневматических шинах с пригрузом от 25 до 35 т. При этом, как правило, не удаётся достичь плотности Ку выше 0,95. Влажность грунта необходимо поддерживать в пределах (0,9 - 1,1) от Wо.

Наиболее рационально для уплотнения глинистых грунтов применять вибрационные кулачковые катки с вальцем, имеющим сегментные кулачки. Они увеличивают толщину прорабатываемого слоя на 5 - 7 см в сравнении с гладким вальцем.

Поверхность насыпи из грунтов с крупными включениями должна быть перед уплотнением хорошо спланирована. При необходимости отсыпают дополнительный слой мелкозернистого грунта для исключения прямого контакта крупных включений с вибровальцем, что может вызвать поломку механизма привода вибратора.

4.7 Уплотнение в стеснённых местах и особых случаях

4.7.1 Уплотнение грунта в котлованах, траншеях, в конусах мостов и путепроводов следует производить с применением уплотняющих средств вибрационного, виброударного или ударного действия. Грунт должен отсыпаться слоями, толщина которых назначается в зависимости от типа уплотняющей машины. Для предотвращения повреждения или сдвига от интенсивных динамических воздействий тяжёлых уплотняющих машин ударного типа расстояние от края рабочего органа машины до боковой поверхности трубы, опоры моста, фундамента и т.п. должно быть не менее 3 м. Защитный слой грунта над трубой, предварительно уплотнённый другими более лёгкими средствами, должен быть не менее 1 м. В случае использования ручного механизированного уплотняющего оборудования защитный слой может быть уменьшен до 0,3 - 0,5 м.

Пазухи у опор, столбов и фундаментов следует уплотнять ручными мото-, электро- или пневмотрамбовками, виброплитами.

4.7.2 При наличии в траншеях трубопроводов уплотнение грунта выполняется в две стадии: сначала засыпают и лёгкими виброплитами уплотняют защитный слой грунта над трубой толщиной не менее 0,2 м и пазухи у трубопроводов, затем после испытания трубопровода засыпают и уплотняют остальную (основную) часть траншеи.

Послойно подбивку пазух и защитного слоя у трубопровода следует производить вибротрамбовками, размеры уплотняющих башмаков которых не превышают ширины пазух.

4.7.3 Технология уплотнения грунта при засыпке водопропускных труб назначается с учётом последовательности выполнения работ по сооружению самого земляного полотна или грунтовых оснований. При опережении укладки труб в состав работ по их устройству должна входить подсыпка грунта с обеих сторон на высоту не менее 1/3 диаметра трубы шириной 4 м. Подсыпка выполняется бульдозером слоями до 20 см поочередно отсыпаемыми с каждой стороны трубы и уплотняемыми катками с перемещением вдоль трубы. Толщина подсыпки не должна превышать рекомендуемой толщины технологического слоя для применяемого вида катка (приложения Б). В этом случае уплотнение этого и последующих слоёв выполняется в процессе основных работ при последующей отсыпке насыпи.

При укладке труб в процессе возведения насыпи засыпка ведётся послойно с чередованием слоёв с каждой стороны трубы. Уплотнение слоёв выполняется с разворотом катков не ближе 2 м от трубы с последующими поперечными проходами вдоль трубы для уплотнения пазух. Проход катка над трубой допускается после образования слоя грунта выше трубы толщиной не менее 1 м.

При укладке труб после устройства насыпи в траншеи грунт в пазухах должен уплотняться мото- или вибротрамбовками и виброплитами с рабочими органами величиной не более ширины пазухи.

При засыпке железобетонных труб в процессе уплотнения необходимо наблюдать за сохранностью стыков, а в случае гофрированных стальных труб - за их поперечными деформациями.

4.7.4 Однородные пески удовлетворительно уплотняются виброкатками при влажности песков близкой к полному водонасыщению. При меньшем влагосодержании результаты уплотнения заметно снижаются. Поэтому маловлажные однородные пески (естественная влажность 3,5 - 5,0 %) рекомендуется обильно поливать водой в сухую погоду.

Уплотнение виброкатками сухого или маловлажного однородного песка, в том числе гидронамывного, сопровождающееся разрыхлением верхней части насыпи на глубину до 10 - 25 см (в зависимости от массы виброкатка), следует завершить после 3 - 4-х проходов катка. При уплотнении влажного песка или песка с примесью пылевато-глинистых частиц количество проходов виброкатка необходимо увеличить до 6 - 8. В этом случае слой разрыхления не превышает, как правило, от 10 до 15 см.

При требуемой степени уплотнения грунта Ку не более 0,95 виброуплотнение однородного песка можно выполнять на скорости от 5 до 6 км/час, а при степени уплотнения Ку = (0,98 - 1,0) скорость катка должна быть не более 2,0 - 2,5 км/час.

4.7.5 При уплотнении оснований, сложенных лёссовыми просадочными грунтами, в целях устранения просадочности, наиболее рационально использовать трамбующие средства. В этом случае уплотнение возможно на значительную глубину без дополнительного увлажнения грунта. При этом эффективная глубина уплотнения, на которой обеспечиваются минимально требуемые коэффициенты уплотнения, зависит от параметров трамбующего органа и ориентировочно составляет (0,8 - 1,0)d, где d - диаметр основания трамбовки.

Определение необходимого количества ударов трамбовки для достижения требуемой плотности грунта на заданной глубине производится по результатам опытного трамбования.

4.7.6. При использовании тяжёлых катков на пневматических шинах для устранения просадочных свойств грунтового основания уплотняемая поверхность предварительно должна разрыхляться и увлажняться до допустимой (СНиП 2.05.02) влажности. Рыхление грунта следует осуществлять рыхлителями на базе бульдозеров.

4.7.7 Для достижения плотности лёссовидного грунта, соответствующей Ку = 0,98, его влажность в процессе уплотнения катками должна находиться в пределах Wo ± 5 %. Отклонение влажности от указанного интервала, особенно в сторону меньшего значения, затрудняет достижение необходимого уплотнения ввиду роста предела прочности лёссового грунта.

4.7.8 Уплотнение насыпей из крупнообломочных грунтов следует производить с использованием кулачковых виброкатков массой не менее 6 т (но рациональнее - массой 9 т и более).

4.7.9 Легко выветривающиеся размягчаемые крупнообломочные грунты следует уплотнять в два этапа: на первом (непосредственно после разравнивания) - вибрационными кулачковыми катками, которые осуществляют дополнительное дробление агрегатов; на втором - тяжёлыми катками на пневматических шинах, гладковальцевыми или комбинированными типами катков.

Для получения высокой плотности легковыветривающиеся размягчаемые породы перед уплотнением следует увлажнять, используя для этого поливомоечные машины, разливая воду в несколько приёмов. Чередование процесса «увлажнение-высушивание» способствует дополнительному разрушению крупных обломков и получению бескаркасной структуры грунта в уплотняемом слое.

4.7.10 Уплотнение засоленных и набухающих грунтов для исключения их налипания на рабочие органы в процессе укатки следует выполнять при влажности не более 0,9 от Wo (оптимальной). При естественной влажности засоленных и набухающих грунтов более 1,1Wo значительно снижается их несущая способность, и может иметь место образование волны перед колесом катка. В подобных случаях каждый слой грунта после разравнивания подсушивают на воздухе или добавляют в него 2 - 3 % извести. Технологию устанавливают в проекте и конкретизируют в проекте производства работ.

4.8 Гидромеханизация земляных работ

4.8.2 Гидромеханизация применяется для намыва в штабеля грунта, предназначенного для возведения насыпей, для выполнения крупных объёмов сосредоточенных земляных работ, при намыве подходов к строящимся крупным мостам при сооружении дамб или вскрышных работах в карьерах дорожно-строительных материалов.

4.8.3 При гидромеханизированных работах для сооружения дорожного земляного полотна преимущественно применяется разработка грунта в водоёмах землесосными снарядами с гидротранспортом пульпы к месту намыва на расстояния до 2 км.

4.8.5 К подготовительным работам относятся: удаление леса, корчёвка пней, снятие плодородного слоя почвы и общая подготовка карьеров к разработке, разбивка намываемых сооружений, устройство пионерной траншеи и пионерного котлована для ввода земснаряда, постройка при необходимости эстакады для пульпопровода и дренажных колодцев, установка на картах намыва грунтомерных реек для контроля объёма выполненных работ, подводка электроэнергии и т.п.

При использовании плавучего земснаряда в порядке выполнения подготовительных работ поверхность подводной части забоя должна быть очищена от крупных камней, пней и других предметов, которые могут вызвать засорение всасывающей линии.

4.8.7 При выборе способа гидромеханизированной разработки необходимо определить величину объёмной массы грунта, по которой можно судить о степени его уплотнения, влажность и пористость грунта, его гранулометрический состав, что характеризует степень трудности разработки и пригодность грунта для возведения земляного полотна гидромеханизацией.

4.8.8 При гидромеханизированных работах должны соблюдаться требования к качеству намыва. К ним относятся пригодность грунта по гранулометрическому составу, распределение его в теле насыпи по фракциям, скорость намыва, расположение, глубина и объём отстойных прудов.

Поверхность недостроенной насыпи перед длительным перерывом в работах должна быть спланирована для исключения возможности застоя воды.

4.8.9 При разработке грунта в затопленных забоях или подводной разработке используют плавучие землесосные снаряды. Комплексная бригада на этих работах должна состоять из трех звеньев: по обслуживанию земснаряда, обслуживанию перекачивающей землесосной установки и по намыву грунта.

4.8.10 Рабочие перемещения землесосных снарядов в забое (папильонирование) выполняет бригада, обслуживающая земснаряд. Для папильонирования землесосные снаряды оборудуют свайно-тросовыми устройствами для крепления (заанкерования) машины при перемещении.

Разработку суглинистых и глинистых грунтов следует вести только послойно с папильонированием на полную ширину прорези. При особо тяжёлых грунтах толщину разрабатываемого слоя за одну папильонажную проходку принимают, исходя из условия полной загрузки рыхлителя.

4.8.11 При разработке земснарядом глинистых грунтов необходимо производить в зоне всасывания предварительное их рыхление механическим режущим органом (фрезерные, роторно-ковшовые рыхлители) или гидравлическим способом (струёй воды под большим напором).

При работе земснарядов без рыхлителя на рыхлых песчаных грунтах необходимо обеспечить достаточную и возможно большую высоту забоя, так как чем она выше, тем выше производительность машины. Разработку подводного забоя следует вести по его подошве, а после обрушения массива (при этом происходит разрушение структуры грунта и смешивание его с водой) подбирать грунт всасывающей трубой с большей производительностью и зачищать забой для последующей подрезки.

Глубина разработки грунта плавучими земснарядами должна быть не менее величин, приведённых в таблице 5.

Таблица 5

Показатели

Наименьшая глубина разработки грунта и толщина защитного слоя (м) при производительности земснаряда по воде (м3/час)

от 3501 до 7500

от 2001 до 3500

от 1001 до 2000

от 801 до 1000

от 400 до 800

Менее 400

Глубина разработки (ниже уровня воды)

5

3,5

2,5

1,8

1,7

1,5

Толщина защитного слоя грунтов:

 

 

 

 

 

 

песчаных

1,5

1,25

1,0

0,7

0,6

0,5

глинистых

0,9

0,70

0,5

0,5

0,4

0,3

4.8.12 Для гидронамыва насыпей из мелкозернистых и пылеватых песков необходимо иметь не менее двух смежных карт, на одной из которых производят намыв, а на другой (поочередно) - обезвоживание грунта в результате фильтрации воды.

Насыпи из гравелистого песка или грунтогравийной смеси, а также из крупного и средней крупности песков можно намывать на картах без перерывов в работе для обезвоживания грунта.

Обвалование карт как начальное, так и в процессе намыва выполняют бульдозерами. При этом наружный откос вала грунта должен иметь крутизну, соответствующую крутизне проектных откосов сооружения.

4.8.13 При гидронамыве насыпи из мелкозернистых песков необходимо обеспечивать быстрый и полный отток воды; задержка приводит к образованию водяных мешков в теле насыпи, что может, в свою очередь, привести к разуплотнению грунта. Каждый участок намыва должен иметь самостоятельный водосброс.

В зависимости от размеров насыпи и условий сброса осветлённой воды участок намыва должен иметь длину от 100 до 300 м. Отдельные участки намыва могут быть расположены уступами, высоту которых определяют в проекте.

4.8.14 При гидронамыве необходимо непрерывно следить за тем, чтобы грунт непрерывно уплотнялся под действием оттока воды.

Песчаные насыпи, возводимые гидронамывом, обычно не требуют дополнительного уплотнения. Если используются мелкозернистые пески, то для повышения плотности насыпи (до Ку =1,05 во II-й и III-й дорожно-климатических зонах) рекомендуется дополнительно их уплотнять при помощи виброфлотации и гидровибрационным способом. Следует учитывать, что равномерная осадка песков возможна только на ровном и равнопрочном основаниях.

Насыпи необходимо намывать с запасом на осадку: 1,5 % высоты насыпи при намыве из смешанных (супесчаных, суглинистых) грунтов и 0,75 % при намыве из песчаных и песчано-гравийных грунтов.

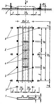
4.8.15 Насыпи, особенно на дорожных работах, следует намывать, как правило, безэстакадным способом (рисунок 9) или с низких инвентарных эстакад.

1 - земснаряд; 2 - плавучий пульпопровод; 3 - устройство для подключения плавучего пульпопровода к магистральному; 4 - магистральный пульпопровод;

5 - пульпопереключатель; 6 - распределительный пульпопровод; 7 - боковые призмы;

8 - ядро насыпи; 9 - кран (гусеничный) для перемещения пульпопровода; 10 - прудок-отстойник; 11 - водосборные колодцы; 12 - направление движения пульпы;

13 - трубы для наращивания распределительных пульпопроводов;

14 - водосборные трубы; 15 - бульдозер

Рисунок 9 - Схема организации работ при двустороннем безэстакадном намыве насыпи

При эстакадном способе намыва насыпи элементы деревянных эстакад, а также части деревянных конструкций, поддерживающих пульпопроводы и лотки при намыве с высоких эстакад, оставляют в теле земляного полотна, что должно быть обосновано в проекте организации строительных работ. Верхнюю часть стоек и раскосов эстакады необходимо отрыть и срезать на глубине не менее 1 м от проектной отметки насыпи, так как они могут загнивать и создавать неровность поверхности земляного полотна. При намыве насыпи с инвентарных мелких эстакад высотой до 2 м стойки следует извлекать из тела насыпи.

Применение того или иного способа (безэстакадного или эстакадного) должно быть обосновано в проекте организации работ.

4.8.16 Намыв насыпей при эстакадном способе следует начинать от краёв карты, для чего пульпу направляют к краям по разводящим лоткам. Глубину отстойного прудка на карте регулируют шандорами колодца в зависимости от крупности фракций грунта. Намыв регулируют открытием и закрытием выпусков разводящего пульпопровода, установкой распределительных лотков, а также установкой переносных направляющих щитов.

4.8.17 При намыве насыпей высотой более 2 м рекомендуется применять безэстакадный торцовый тонкослойный способ намыва.

При намыве указанным способом подходов к крупным мостам необходимо предотвратить возможность растекания пульпы по затяжному уклону в местах примыкания к береговым устоям, для чего у берегового устоя следует создавать различные задерживающие устройства (боковые и торговые открылки-стенки, обвалование и т.п.).

4.8.18 Водоотводный колодец следует устраивать в центре карты. Сечение кольца рассчитывают на максимальный расход пульпы, подаваемой на карту. Для отвода воды из колодца устраивают штольню с уклоном дна не менее 50 ‰ в низовую сторону. Штольня и водоотводный колодец должны иметь стенки из водонепроницаемых материалов и не пропускать воду в местах сопряжения.

Водоотводные колодцы на намытых участках насыпи разбирают на глубину не менее 1 м от верха насыпи, а оставляемые в теле насыпки нижние части колодцев замывают дренирующим грунтом.

4.8.19 Гидронамыв насыпей из мелкозернистых песков зимой не допускается, при отрицательных температурах отток воды из этих песков практически неосуществим.

4.8.20 При использовании гидромеханизации для намыва уширений земляного полотна дорожно-эксплуатационной организации необходимо следить за правильной укладкой и переносом пульпопровода вдоль откоса старой насыпи, иначе возможна утечка пульпы и возникновение в этих местах прудков с длительной задержкой воды, в результате чего в теле насыпи могут образоваться плывуны.

Необходимо принимать меры против размыва откосов называемых насыпей и водоотводных канав. Для ускорения оттока воды из тела насыпи могут быть применены иглофильтры, устанавливаемые в откосах.

4.9 Особенности механизации работ на косогорных участках

4.9.1 До начала земляных работ на косогоре выше верхней кромки разрабатываемой выемки должны быть устроены нагорные водоотводные канавы, предотвращающие возможность стока воды по косогору в разрабатываемую выемку.

4.9.2 Для обеспечения устойчивости насыпи, отсыпаемой на косогоре, на площади подошвы насыпи до её отсыпки в соответствии с проектом должны быть нарезаны уступы. Их нарезает бульдозер с поворотным отвалом, движущийся продольными ходами параллельно оси дороги, начиная с нижнего уступа.

После нарезки нижнего уступа грунт из нарезаемого вышележащего уступа, перемещённый на готовый нижний уступ, распределяют равномерным слоем и уплотняют до начала отсыпки последующего слоя насыпи. При возможности обрушения грунта с откоса разработку можно начинать с верхнего уступа с перемещением грунта под откос.

На пологих косогорах крутизной менее 20° вместо нарезки уступов допускается производить вспашку многокорпусным плугом.

4.9.3 Выемки на пологих косогорах при крутизне менее 20° следует разрабатывать бульдозерами с поворотным отвалом, проходами под углом 45° к оси дороги. При этом грунт перемещается в насыпь, начиная с её нижней части, и обеспечивается его послойное разравнивание и уплотнение.

На косогорах круче 20° разработку выемки и отсыпку грунта в насыпь выполняют бульдозерами с универсальным отвалом проходами параллельно или под углом менее 45° к оси.

На косогорах крутизной до 8° возможно применение скреперов при условии постоянной планировки бульдозерами мест набора грунта, площадок разворота и мест выгрузки, на которых поперечный уклон должен быть не более 5°.

5 Контроль качества земляных работ и правила их приёмки

5.1 До начала работ по сооружению земляного полотна на данном участке должны быть полностью выполнены все подготовительные работы: геодезическая разбивочная основа; перенос и переустройство линий коммуникаций, снос и перенос зданий и сооружений, восстановление и закрепление трассы дороги, расчистка дорожной полосы и др.

Окончание подготовительных работ должно быть подтверждено актом освидетельствования скрытых работ по соответствующей форме (СНиП 3.01.01).

В процессе сооружения земляного полотна для постоянного учёта и регулирования качества работ следует проводить контроль качества.

5.2 Производственный контроль качества включает следующие этапы: входной, операционный и приёмочный. Данные контроля на всех этапах следует фиксировать в журналах производства работ и обобщать в специальных ведомостях. Результаты каждого вида контроля должны быть предъявлены при сдаче-приёмке законченного земляного полотна, а также использоваться для разработки мероприятий по обеспечению качества сооружения земляного полотна и его конструктивных элементов.

5.3 Входной контроль качества материалов должен предусматривать до начала работ по сооружению земляного полотна проверку соответствия принятых в проекте и фактических показателей состава и состояния грунтов в карьерах, резервах, выемках, естественных основаниях.

5.4 При входном контроле следует проверять правильность определения объёмов резервов с учётом фактической ситуации в плане; состав грунта по наименованию вида и разновидности (в том числе, особых разновидностей), наличию крупных включений, влажности, коэффициента фильтрации, зернового состава для песков.

Проверку резервов (карьеров, выемок) следует производить путём бурения или шурфования с отбором проб. Количество скважин или шурфов устанавливают в зависимости от сложности геологического разреза, но не менее двух на каждый километр притрассовых резервов или каждые 10 тыс. м3 сосредоточенных резервов (карьеров, выемок). При установлении наличия слоёв грунта разных видов число скважин или шурфов соответственно увеличивается. Глубина отбора проб должна быть не менее проектной глубины выработки. При однородных грунтах допустимо отбирать одну пробу, при изменении состава или влажности - не менее 3-х по глубине.

5.5 Состав (вид, разновидность) и влажность проб определяют в производственных лабораториях по ГОСТ 5180.

В процессе разработки резервов (карьеров, выемок) должны проводиться систематические наблюдения за изменением влажности грунтов в зависимости от условий увлажнения и просыхания. Отбор проб на влажность следует производить не менее 2-х на каждый километр притрассового резерва или каждые 10 тыс. м3 выемки или карьера с периодичностью 1 раз в неделю при устойчивой погоде и ежедневно после дождей интенсивностью более 5 мм/сут. Результаты измерения влажности следует заносить в общий журнал работ.

5.6 На этапе входного контроля строительная организация должна выполнить настройку основных технологических процессов на пионерных участках. Настройка технологического процесса уплотнения грунтов осуществляется методом «пробного уплотнения» (приложение В). Результаты пробного уплотнения фиксируется в специальном журнале.

5.7 До начала земляных работ обязательной проверке подлежит соответствие технологических схем условиям безопасного ведения работ по фактическому положению проводов и кабелей энергопередачи, трубопроводов и других пересекаемых и смежных сооружений.

5.8 Операционный контроль следует проводить в ходе производственных процессов с целью установления соответствия выполняемых работ нормативным требованиям, проектной документации и соблюдения заданной технологии. Операционный контроль должен охватывать полный объём всех видов работ за всё время их выполнения. При операционном контроле качества сооружения земляного полотна следует проверять (СНиП 3.06.03):

- правильность размещения осевой линии поверхности земляного полотна в плане и высотные отметки;

- толщину снимаемого плодородного слоя грунта;

- плотность грунта в основании земляного полотна;

- влажность используемого грунта;

- толщину отсыпаемых слоев;

- однородность грунта в слоях насыпи;

- плотность грунта в слоях насыпи;

- ровность поверхности;

- поперечный профиль земляного полотна (расстояние между осью и бровкой, поперечный уклон, крутизну откосов);

- правильность выполнения водоотводных и дренажных сооружений, прослоек, укрепления откосов и обочин.

5.9 Проверку правильности размещения оси земляного полотна, высотных отметок, поперечных профилей земляного полотна, обочин, водоотводных и дренажных сооружений и толщин слоев следует производить не реже чем через 100 м (в трех точках на поперечнике), как правило, в местах размещения знаков рабочей разбивки с помощью геодезических инструментов и шаблонов.

Плотность грунта следует контролировать в каждом технологическом слое по оси земляного полотна и на расстоянии от 1,5 до 2,0 м от бровки, а при ширине слоя более 20 м - также в промежутках между ними.

Контроль плотности грунта необходимо производить на каждой сменной захватке работы уплотняющих машин, но не реже чем через 200 м при высоте насыпи до 3 м и не реже чем через 50 м при высоте насыпи более 3 м.

Контроль плотности верхнего слоя следует производить не реже чем через 50 м.

Дополнительный контроль плотности необходимо производить в каждом слое засыпки пазух труб, над трубами, в конусах и в местах сопряжения с мостами.

Контроль плотности следует производить на глубине, равной 1/3 толщины уплотняемого слоя, но не менее 8 см.

Отклонения от требуемого значения коэффициента уплотнения в сторону уменьшения допускаются не более чем в 10 % определений от их общего числа и не более чем на 0,04.

Глубину промерзания слоя сезонного оттаивания грунта следует проверять по кернам (шурфам) не реже чем через 100 м. Сохранность мохорастительного слоя определяется визуально.

5.10 Контроль влажности используемого грунта следует производить, как правило, в месте его получения (в резерве, карьере) не реже одного раза в смену и обязательно при выпадении осадков.

5.11 Плотность и влажность грунта следует определять по ГОСТ 5180. Для текущего контроля допускается использовать ускоренные и полевые экспресс-методы и приборы.

5.12 Однородность грунта следует контролировать визуально. При изменении однородности грунта его тип, вид и разновидность следует определять по ГОСТ 25100.

5.13 Ровность поверхности земляного полотна контролируется нивелированием по оси и бровкам в трех точках на поперечнике не реже чем через 50 м. Поверхность основания земляного полотна и промежуточных слоев насыпи в период строительства не должна иметь местных углублении, в которых может застаиваться вода.

5.14 Соответствие состава песка, используемого для вертикальных дрен, проектным требованиям следует определять в карьере один раз в смену.

5.15 При приемке выполненных работ следует произвести освидетельствование работ в натуре, контрольные замеры, проверку результатов производственных и лабораторных испытаний строительных материалов и контрольных образцов, записей в общем журнале работ и специальных журналах по выполняемым отдельным видам работ и предъявить техническую документацию в соответствии с требованиями СНиП 12.01.

5.16 Приемку с составлением актов освидетельствования скрытых работ следует производить по выполнении следующих работ:

- снятия мохового или дернового слоя, выторфовывания, корчевки пней, устройства уступов на косогорах, замены грунтов или осушения основания, устройства свайных или иных типов оснований под насыпями, устройства теплоизолирующих слоев;

- устройства водоотвода и дренажей, укрепления русел у водоотводных сооружений;

- возведения и уплотнения земляного полотна и подготовки его поверхности для устройства дорожных одежд.

Параметры, используемые при оценке качества земляных работ и условия их оценки, приведены в таблице 7.

Таблица 7

Конструктивный элемент, вид работ и контролируемый параметр

Значения нормативных требований

1 Земляное полотно

 

1.1 Подготовка основания земляного полотна

 

1.1.1 Толщина снимаемого плодородного споя грунта

Не более 10 % результатов определений могут иметь отклонения от проектных значений в пределах до ±40 %, остальные - до ±20 %

1.1.2 Снижение плотности естественного основания

Не более 10 % результатов определений могут иметь отклонения от проектных значений в пределах до 4 %, остальные должны быть не ниже проектных значений

1.2 Возведение насыпей и разработка выемок

 

1.2.1 Снижение плотности слоя земляного полотна

Не более 10 % результатов определений могут иметь отклонения от проектных значений в пределах до 4 %, а остальные должны быть не ниже проектных значений

1.2.2 Высотные отметки продольного профиля

Не более 10 % результатов определений могут иметь отклонения от проектных значений в пределах до ±20 мм; остальные - до ±10 мм

1.2.3 Расстояния между осью и бровкой земляного полотна

Не более 10 % результатов определений могут иметь отклонения от проектных значений в пределах до ±20 см, остальные ±10 см

1.2.4 Поперечные уклоны

На более 10 % результатов определений могут иметь отклонения от проектных значений в пределах от минус 0,010 до 0,015, остальные - до ±0,005

1.2.5 Уменьшение крутизны откосов

Не более 10 % результатов определений могут иметь отклонения от проектных значений в пределах до 20 %, остальные - до 10 %

1.3 Устройство водоотвода

 

1.3.1 Увеличение поперечных размеров кюветов, нагорных и других канав (по дну)

Не более 10 % результатов определений могут иметь отклонения от проектных значений в пределах до 10 см, остальные - до 5 см

1.3.2 Глубина кюветов, нагорных и других канав (при условии обеспечения стока)

Не более 10 % результатов определений могут иметь отклонения от проектных значений в пределах до ±10 см, остальные - до ±5 см

1.3.3 Поперечные размеры дренажей

Не более 10 % результатов определений могут иметь отклонения от проектных значений в пределах до ±10 см, остальные - до ±5 см

1.3.4 Продольные уклоны дренажей

Не более 10 % результатов определений могут иметь отклонения от проектных значений в пределах до ±0,002, остальные - до ±0,001

1.3.5 Ширина насыпных берм

Не более 10 % результатов определений могут иметь отклонения от проектных значений в пределах до ±30 см, остальные - до ±15 см

1.4 Устройство присыпных обочин

 

1.4.1 Снижение плотности грунта в обочинах

Не более 10 % результатов определений могут иметь отклонения от проектных значений в пределах до 4 %, остальные должны быть не ниже проектных значений

1.4.2 Толщина укрепления

Не более 10 % результатов определений могут иметь отклонении от проектных значений в пределах от минус 22 до 30 мм, остальные - до ± 15 мм

1.4.3 Поперечные уклоны обочин

Не более 10 % результатов определений могут иметь отклонения от проектных значений в пределах от минус 0,010 до 0,015, остальные - до ±0,005

Приложение А
(справочное)
Распределение немёрзлых грунтов по группам в зависимости от
трудности их разработки механизированным способом

А.1 Классификация группы грунтов по трудности их разработки одноковшовыми экскаваторами представлена в таблице А.1.

Таблица А.1

Наименование и характеристика грунтов

Средняя плотность в естественном состоянии, т/м3

Группа грунтов по трудности их разработки

Алевролиты:

 

 

слабые;

1,5

IV

крепкие

2,2

V

Аргиллиты крепкие плитчатые

2

V

Гравийно-галечниковые грунты:

 

 

с размером частиц до 80 мм;

1,75

I

с размером частиц более 80 мм;

1,95

II

сцементированная смесь гальки, мелкозернистого песка и лёссовидной супеси

от 1,9 до 2,2

IV

Гипс

2,2

V

Глина:

 

 

жирная мягкая и мягкая юрская без примесей;

1,8

II

то же с примесью щебня, гравия, гальки или строительного мусора в объёме до 10%;

1,75

II

то же с примесью щебня, гравия, гальки или строительного мусора в объёме более 10%;

1,90

III

мягкая карбонная;

1,95

III

тяжёлая ломовая сланцевая, твёрдая, юрская, карбонная или кембрийская

от 1,95 до 2,15

IV

Грунт растительного слоя:

 

 

без корней и примесей;

1,2

I

с корнями кустарника и деревьев;

1,2

I

с примесью щебня, гравия или строительного мусора

1,4

I

Дресва в коренном залегании (элювий)

2,0

V

Дресвяный грунт

1,8

IV

Известняк мягкий, пористый выветрившийся

1,2

V

Конгломераты слабосцементированные, а также из осадочных пород на глинистом цементе

от 1,9 до 2,1

V

Опока

1,9

V

Грунты ледникового происхождения (моренные):

песок моренный с содержанием валунов массой более 50 кг (средний размер более 30 см) до 5 % по объёму, а также также глина ленточная моренная с тонкими прослойками мелкозернистого песка;

от 1,7 до 1,8

II

песок моренный с содержанием валунов массой более 50 кг (размером более 30 см) от 5 % до 10 % по объёму; супесь, суглинок и глина моренные с включением валунов массой более 50 кг (размером более 30 см) до 5 % по объёму;

от 1,75 до 2,25

Ш

песок моренный с содержанием валунов массой более 50 кг (размером более 30 см) от 10 % до 15 % по объёму; супесь и суглинок моренные с включением валунов массой более 50 кг (размером более 30 см) от 5 % до 15 % по объёму;

от 1,8 до 2,25

IV

суглинок тяжёлый моренный с включением валунов массой более 50 кг (размером более 30 см) до 15 % по объёму;

от 2,0 до 2,2

V

супесь и суглинок моренные с содержанием валунов массой более 50 кг (размером более 30 см) от 15 % до 30 % по объёму; пестроцветные глинистые моренные грунты повышенной влажности с включением валунов массой более 50 кг (размером более 30 см) до 15 % по объёму

от 2,3 до 2,5

IV

Лесс:

 

 

мягкий без примесей;

1,6

I

мягкий с примесью гравия или гальки;

1,8

I

отвердевший

1,8

IV

Мел:

 

 

мягкий;

1,55

IV

плотный

1,8

V

Мергель:

 

 

мягкий, рухляк;

1,9

IV

средней крепости

2,3

V

Песок:

 

 

без примесей, а также с примесью щебня, гравия, гальки или строительного мусора в объёме до 10 %;

1,6

I

то же, с примесью в объёме более 10 %;

1,7

I

барханный и дюнный

1,6

II

Ракушечник:

 

 

слабосцементированный;

1,2

III

сцементированный

1,8

V

Скальные породы (кроме отнесённых к IV и V группе)

-

VI

Сланцы выветрившиеся и глинистые средней крепости

2,6

V

Солончак и солонец:

 

 

мягкие;

1,6

I

отвердевшие

1,8

III

Суглинок:

 

 

лёгкий и лёссовидный без примесей;

1,7

I

лёгкий и лессовидный с примесью щебня, гальки или строительного мусора в объёме до 10 %;

 

 

то же, с примесью в объёме более 10 %;

1,7

I

тяжёлый без примесей и с примесью щебня, гравия, гальки или строительного мусора в объёме до 10 %;

1,75

II

то же, с примесью в объёме более 10 %

1,75

1,95

II

III

Супесь:

 

 

без примесей, а также с примесью щебня, гравия, гальки или строительного мусора в объёме до 10 %;

 

 

то же, с примесью в объёме более 10 %

1,65

1,85

I

I

Строительный мусор:

 

 

рыхлый и слежавшийся;

1,8

II

сцементированный

1,9

III

Торф:

 

 

без древесных корней

от 0,8 до 1,0

I

с древесными корнями толщиной до 30 мм;

 

 

то же, более 30 мм

от 0,85 до 1,1

от 0,9 до 1,2

I

II

Трепел:

 

 

слабый;

1,55

IV

плотный

1,77

V

Туф

1,1

V

Чернозём и каштановые почвы:

 

 

мягкий;

1,3

I

отвердевший

1,2

II

Шлак:

 

 

котельный;

0,7

I

металлургический выветрившийся;

-

II

металлургический невыветрившийся

-

III

Щебень

от 1,75 до 1,95

II

Примечания 1 Разработка моренных грунтов при наличии валунов массой более 50 кг (средний размер более 30 см) в количестве по объёму более 15 % для песков моренных и суглинков тяжёлых моренных и более 30 % для песков и суглинков моренных нормируется по местным нормам.

2 Отнесения грунтов к I - IV группам, а пестроцветных моренных глин - к VI группе произведено в условиях разработки их без предварительного разрыхления.

3 При разработке ранее разрыхлённых грунтов одноковшовыми экскаваторами нормирование по группам производят по нормам для грунтов на одну группу ниже указанной в таблице.

4 К V - VI группе отнесены грунты (кроме пестроцветных моренных глин , разрабатываемые одноковшовыми экскаваторами после предварительного разрыхления.

А.2 Классификация групп грунтов по трудности их разработки скреперами представлена в таблице А.2.

Таблица А.2

Наименование и характеристика грунтов

Средняя плотность в естественном состоянии, т/м3

Группа грунтов по трудности их разработки

Гравийно-галечниковые грунты с размерами частиц до 80 мм

1,75

II

Глина:

 

 

жирная мягкая и мягкая юрская без примесей;

1,8

II

то же, с примесью щебня, гравия, гальки или строительного мусора в объёме до 10 %;

1,75

II

то же, с примесью в объёме более 10 %;

1,9

II

мягкая карбонная

1,95

II

Грунт растительного слоя:

 

 

без корней и примесей;

1,2

I

с корнями кустарника и деревьев;

1,2

I

примесью щебня, гравия или строительного мусора

1,4

I

Лесс:

 

 

мягкий без примесей;

1,6

I

мягкий с примесью гравия или гальки;

1,8

II

отвердевший

1,8

II

Песок:

 

 

без примесей, а также с примесью щебня, гравия, гальки или строительного мусора в объёме до 10 %;

1,6

II

то же, с примесью в объёме более 10 %

1,7

II

Солончак и солонец мягкие

1,6

I

Суглинок:

 

 

лёгкий и лёссовидный без примесей;

1,7

I

лёгкий и лёссовидный с примесью щебня, гальки или строительного мусора в объёме до 10 %;

1,7

I

то же, с примесью в объёме более 10 %;

1,75

II

тяжёлый без примесей и с примесью щебня, гравия, гальки или строительного мусора в объёме до 10 %

1,75

II

Супесь:

 

 

без примесей, а также с примесью щебня, гравия, гальки или строительного мусора в объёме до 10 %;

1,65

II

то же, с примесью в объёме более 10 %

1,85

II

Торф:

 

 

без древесных корней;

от 0,8 до 1,0

I

с древесными корнями толщиной до 30 мм

от 0,85 до 1,1

I

Чернозём и каштановые почвы:

 

 

мягкий;

1,3

I

отвердевший

1,2

II

А.3 Классификация групп грунтов по трудности их разработки бульдозерами представлена в таблице А.3.

Таблица А.3

Наименование и характеристика грунтов

Средняя плотность в естественном состоянии, т/м3

Группа грунтов по трудности их разработки

Гравийно-галечниковые грунты

 

 

с размером частиц до 80 мм;

1,75

II

с размером частиц более 80 мм

1,95

III

Глина:

 

 

жирная мягкая и мягкая юрская без примесей;

1,8

II

то же, с примесью щебня, гравия, гальки или строительного мусора в объёме до 10 %;

1,75

III

то же, с примесью в объёме более 10 %;

1,9

II

мягкая карбонная;

1,95

III

тяжёлая ломовая сланцевая, твёрдая, юрская, карбонная или кембрийская

от 1,95 до 2,15

III

Грунт растительного слоя:

 

 

без корней и примесей;

1,2

I

с корнями кустарника и деревьев;

1,2

II

примесью щебня, гравия или строительного мусора

1,4

II

Лесс:

 

 

мягкий без примесей;

1,6

I

мягкий с примесью гравия или гальки;

1,8

I

отвердевший

1,8

III

Песок:

 

 

без примесей, а также с примесью щебня, гравия, гальки или строительного мусора в объёме до 10 %;

1,6

II

то же, с примесью в объёме более 10 %;

1,7

II

барханный и дюнный

1,6

III

Солончак и солонец

 

 

мягкие;

1,6

I

отвердевшие

1,8

III

Суглинок:

 

 

лёгкий и лёссовидный без примесей;

1,7

I

лёгкий и лёссовидный с примесью щебня, гальки или строительного мусора в объёме до 10 %;

1,7

I

то же, с примесью в объёме более 10 %;

1,75

II

тяжёлый без примесей и с примесью щебня, гравия, гальки или строительного мусора в объёме до 10 %;

1,75

II

то же, с примесью в объёме более 10 %

1,95

II

Строительный мусор:

 

 

рыхлый и слежавшийся;

1,8

II

сцементированный

1,9

III

Торф:

 

 

без древесных корней;

от 0,8 до 1,0

I

с древесными корнями толщиной до 30 мм;

от 0,85 до 1,1

I

то же, более 30 мм

от 0,9 до 1,2

II

Чернозём и каштановые почвы:

 

 

мягкий;

1,3

I

отвердевший

1,2

II

Шлак:

 

 

котельный;

0,7

I

металлургический выветрившийся

-

I

Щебень

от 1,75 до 1,95

III

Приложение Б
(справочное)
Выбор типоразмеров машин для выполнения земляных работ.

Общие принципы выбора машин

Главные цели выбора техники: обеспечение требуемого темпа строительства и сокращение затрат на технику, т.е. применение оптимального количества техники при их оптимальной цене.

Б.1 Землеройно-транспортные машины

Б.1.1 Экскаваторы (прямая и обратная лопата) представлены в таблице Б.1.

Производительность рассчитывается при коэффициенте загрузки ковша в 1,2 и коэффициенте использования:

- при работе в отвал - 0,9;

- при работе в землевоз - 0,8.

Таблица Б.1

Ёмкость ковша, м3

Длительность цикла при работе, сек

Расчётная производительность при работе, м3/час

в отвал

в землевоз

в отвал

в землевоз

0,3

12 - 14

16 - 18

92 - 108

58 - 65

0,6

14 - 16

18 - 20

162 - 185

103 - 115

1,2

15 - 17

20 - 22

305 - 345

235 - 259

1,8

16 - 18

23 - 25

432 - 486

311 - 338

2,4

17 - 19

26 - 28

545 - 609

370 - 398

3,0

18 - 20

29 - 31

648 - 720

418 - 446

Б.1.2 Погрузчики фронтальные пневмоколёсные (таблица Б.2)

Производительность рассчитывается при коэффициенте загрузки ковша в 0,9 и коэффициенте использования в 0,8.

Таблица Б.2

Ёмкость ковша, м3

Длительность цикла, сек, при работе из штабеля в землевоз

Расчётная производительность, м3/час, при работе из штабеля в землевоз

1,1

24 - 28

102 - 119

1,35

25 - 28

125 - 146

1,65

26 - 29

147 - 171

2,0

26 - 29

179 - 207

3,0

27 - 30

259 - 299

4,0

28 - 30

324 - 370

Б.1.3 Бульдозеры гусеничные (таблица Б.3) Производительность рассчитывается по длине хода:

- на снятие плодородного слоя в 15 м;

- на подаче грунта из выемки в насыпь до 90 м;

- на рыхление плотного грунта в 40 м;

- на распределение грунта из куч в 15 м.

Таблица Б.3

Мощность двигателя, квт

Ширина прямого отвала, м

Расчётная производительность при

снятии плодородного грунта, м3/час

подаче грунта из выемки в насыпь, м3/час

рыхлении плотного гранта, м3/час

распределении грунта, м3/час

100

3,0

450

100

250

1500

130

3,3

550

150

300

2000

180

4,0

750

200

400

2500

240

4,5

1000

250

500

3500

300

4,7

1600

300

600

5000

Б.1.4 Автогрейдеры (таблица Б.4)

Производительность рассчитывается при коэффициенте использования в 0,8 и скорости движения:

- при планировке неуплотнённого грунта в 9 км/час;

- при планировке уплотнённого грунта и откоса в 4 км/час.

Таблица Б.4

Мощность двигателя, квт

Длина отвала, м

Расчётная производительность при планировке

неуплотнённого грунта, м2/час

уплотнённого грунта, м2/час

верха откоса насыпи, м2/час

60

3,0

17000

7500

1900

100

3,7

21000

9000

2500

130

3,7

22000

9500

2900

160

3,7

23000

10000

4000

180

4,0

25000

11000

6400

Б.1.5 Экскаваторы-планировщики (таблица Б.5)

Таблица Б.5

Ёмкость ковша, м3

Длина планировки откоса, м

Ширина планировочного ковша, м

Расчётная производительность при

планировке откоса, м2/час

разработке грунта в отвал,

0.4

2,9

0,7

160

70

0.5

3,2

0,9

240

90

0.5

3,7

0,9

280

90

0.6

4,3

1,0

370

110

0.9

4,3

1,2

460

160

Б.1.6 Профилировщики (таблица Б.6)

Производительность рассчитывается при коэффициенте использования в 0,8 и скорости движения 15 м/мин при профилировании земляного полотна перед уплотнением, при скорости движения 10 м/мин при чистовом профилировании после уплотнения

Таблица Б.6

Мощность двигателя, квт

Ширина профилировщика, м

Расчётная производительность при профилировании земляного полотна, м2/час

240

от 3 до 5

от 1440 до 2400

240

от 6 до 10

от 2900 до 4800

270

от 4 до 6

от 1900 до 2900

Б.1.7 Скреперы (таблица Б.7)

Производительность рассчитывается с учётом сопротивления движению по изменению скорости гружёного скрепера в пределах от 20 до 30 км/час и от 20 до 40 км/час и коэффициенте загрузки в 1,3.

Таблица Б.7

Ёмкость ковша, м3

Мощность двигателя, квт

Расчётная производительность, м3/час, при дальности возки, м

500

1000

8

130

от 100 до 160

от 60 до 120

10

165

от 140 до 220

от 80 до 160

12

200

от 170 до 250

от 90 до 180

14

250

от 200 до 280

от 100 до 200

17

250

от 220 до 400

от 130 до 270

Б.1.8 Землевозы (таблица Б.8)

Грузоподъёмность автомобилей-самосвалов определяется из условия выгрузки 4 - 6 ковшей экскаватора и погрузчика при коэффициенте заполнения ковша экскаватора в 1,2 и ковша погрузчика 0,9.

Таблица Б.8

Ёмкость ковша экскаватора, м3

Ёмкость ковша погрузчика, м3

Рекомендуемая грузоподъёмность, т, при погрузке грунта

экскаватором

погрузчиком

0,3

1,1

-

-

0,6

1,35

-

-

1,2

1,65

от 15 до 16

-

1,8

2,0

от 20 до 22,5

от 15 до 16

2,4

3,0

от 25 до 30

от 20 до 25

Б.2 Уплотняющие машины

Б.2.1 Вибрационные самоходные одновальцевые катки (таблица Б.9)

Таблица Б.9

Вес катка, т

Величина толщины уплотняемого слоя, см, при уплотнении гладким (кулачковым) вальцем

песка

супеси

суглинка

от 3 до 4

от 25 до 30

от 20 до 25

от 7 до 10 (от 10 до 15)

от 5 до 6

от 35 до 40

от 30 до 35

от 10 до 15 (от 10 до 20)

от 7 до 8

от 40 до 45

от 35 до 40

от 10 до 18 (от 20 до 22)

от 9 до 10

от 45 до 50

от 40 до 45

от 10 до 20 (от 22 до 25)

от 11 до 12

от 55 до 60

от 45 до 50

от 20 до 23 (от 25 до 30)

от 13 до 14

от 60 до 65

от 50 до 55

от 23 до 25 (от 30 до 35)

от 15 до 17

от 65 до 80

от 55 до 60

от 25 до 30 (от 35 до 40)

Б.2.2 Вибрационные прицепные одновальцевые катки (таблица Б.10)

Таблица Б.10

Вес катка, т

Величина толщины уплотняемого слоя, см, при уплотнении гладким (кулачковым) вальцем

песка

супеси

суглинка

4

от 30 до 40

от 25 до 30

от 10 до 15 (от 15 до 20)

от 6 до 7

от 50 до 60

от 35 до 40

от 15 до 20 (от 20 до 30)

от 9 до 10

от 70 до 75

от 55 до 60

от 25 до 30 (от 35 до 40)

Б.2.3 Виброплиты реверсивные (таблица Б.11)

Таблица Б.11

Вес виброплиты, т

Величина толщины уплотняемого слоя, см

песка

супеси

суглинка

от 120 до 140

от 25 до 30

от 20 до 25

от 10 до 15

от 200 до 240

от 25 до 30

от 17 до 25

от 10 до 15

от 400 до 480

от 40 до 45

от 35 до 40

от 25 до 30

от 600 до 700

от 50 до 60

от 40 до 45

от 25 до 30

Б.2.4 Виброплиты нереверсивные (таблица Б.12)

Таблица Б.12

Вес виброплиты нереверсивной, т

Величина толщины уплотняемого слоя, см

песка

супеси

суглинка

от 60 до 70

от 15 до 20

от 10 до 15

-

от 90 до 100

от 20 до 25

от 15 до 20

-

от 120 до 130

от 25 до 30

от 20 до 25

от 10 до 15

150

30

25

15

Б.2.5 Вибротрамбовки (таблица Б.13)

Таблица Б.13

Вес вибротрамбовки, т

Величина толщины уплотняемого слоя, см

песка

супеси

суглинка

от 35 до 40

от 20 до 25

от 15 до 20

от 10 до 15

от 55 до 60

от 30 до 35

от 25 до 30

от 20 до 25

от 65 до 70

от 35 до 40

от 25 до 30

от 20 до 25

от 75 до 80

от 40 до 45

от 25 до 30

от 20 до 25

Б.2.6 Катки вибрационные траншейные (ручные двухвалцевые, дистанционно управляемые) (таблица Б.14)

Таблица Б.14

Вес катка, т

Величина толщины уплотняемого слоя, см

песка

супеси

суглинка

от 600 до 700*

от 20 до 25

от 20 до 25

от 10 до 15

от 900 до 1000*

от 25 до 30

от 25 до 30

от 15 до 20

от 1500 до 1600

35

35

25

*Катки вибрационные траншейные ручные двухвалцевые

Данные в таблицах приложения Б основаны на сведениях каталогов выпускаемого оборудования и расчета эксплуатационной производительности, опубликованных в журналах «Строительная Техника и Технологии» (СТТ) за 2008 - 2011 гг.

Приложение В
(рекомендуемое)
Методика пробного уплотнения грунтов

В.1 Пробное уплотнение грунтов укаткой проводят с целью уточнения оптимальной толщины слоёв, а также для определения количества проходов катка по одному следу и уточнения режимов работы катка, необходимых для получения требуемой степени уплотнения.

В.2 Оборудование для пробного уплотнения грунтов укаткой подразделяется на технологическое (землеройно-транспортные и уплотняющие машины), геодезическое, оборудование для контроля плотности грунтов.

Состав технологического оборудования при пробном уплотнении надлежит назначать в соответствии с проектом производства работ. Геодезическое оборудование должно включать жёсткий метр, измерительную металлическую рулетку, геодезические вешки, разбивочные и реперные колышки. Состав оборудования для контроля плотности грунтов назначают в соответствии с ГОСТ 5180, а при использовании экспресс-методов - в соответствии с инструкцией по применяемому экспресс-методу.

В.3 Пробное уплотнение при строительстве дорог должно проводиться по программе, которую составляют с учётом:

- грунтовых условий объекта, принятых в проекте по результатам инженерно-геологических изысканий;

- рельефа местности и климатических условий;

- требований проекта производства работ по возведению земляного полотна;

- объёмов земляных работ и сроков их исполнения;

- распределения и перемещения грунта в соответствии с графиком распределения земляных масс.

В программе пробного уплотнения грунтов должны быть также предусмотрены: участки испытаний; способ разработки, перемещения и уплотнения грунта с указанием типов машин и их марок; величины требуемых коэффициентов уплотнения грунта в теле земляного полотна.

В.4 Пробное уплотнение грунтов укаткой следует производить перед началом и в процессе основных работ по возведению земляного полотна для всех разновидностей грунтов, предусмотренных проектом для отсыпки в насыпи и замены в выемках, а также всех типов катков и их сочетаний, намеченных для послойного уплотнения грунтов проектом производства работ или технологическими картами. Пробное уплотнение надлежит проводить на участках естественного основания, типичных для конкретного объекта с точки зрения состава и состояния слагающих их грунтов. При этом коэффициент уплотнения грунтов естественного основания на площадке, отведённой для пробного уплотнения, в пределах 30 см по глубине должен быть не ниже требуемого коэффициента уплотнения грунта пробного слоя.

В.5 Площадку для пробного уплотнения следует располагать в пределах основания или ранее отсыпанных и уплотнённых до требуемой плотности слоёв возводимой насыпи, а при невозможности - в специально отведённом месте. Разбивку площадки для пробного уплотнения следует производить в соответствии со схемой (рисунок В.1). Минимальные размеры площадки для пробного уплотнения должны составлять: ширина - 3Ву, м; длина - 20 м, где Ву - ширина уплотняемой полосы, принимаемая по технической характеристике уплотняющей машины.

1 - эпюра проходов катка по одному следу;

2 - вешки;

3 - разбивочные колышки;

4 - точки контроля плотности;

5 - зона контроля (заштрихована);

6 - высотные отметки поверхности пробного слоя

Рисунок В.1 - Образец разбивочной схемы площадки для проведения пробного
уплотнения грунтов укаткой

При этом высотные отметки толщины слоя в состоянии начального уплотнения должны устанавливаться с использованием жёсткого метра. После разбивочных работ следует произвести контроль плотности грунта естественного основания на глубине от 10 до 15 см от его поверхности по ГОСТ 5180. Количество испытаний должно составлять не менее 6. Если коэффициент уплотнения грунтов естественного основания ниже требуемого, то их следует доуплотнять.

В.6 Грунт пробного уплотнения следует отсыпать на всю ширину площадки и на полную толщину, принимаемую в соответствии с таблицей В.1, с использованием способов разработки, перемещения и разравнивания грунта, обоснованных и принятых в проекте производства работ. Ориентировочное количество проходов катка по одному следу при пробном уплотнении следует назначать в соответствии с таблицей В.1. Толщину слоя грунта необходимо определять с учётом начального уплотнения землеройно-транспортными машинами:

(В.1)

где Нсл - толщина слоя грунта в плотном теле, см;

Ктр - требуемая величина коэффициента уплотнения;

К1 - коэффициент начального уплотнения:

грейдер 0,75 - 0,80

бульдозеры 0,80 - 0,85

автомобили-самосвалы 0,85 - 0,90

скреперы 0,90 - 0,92

Таблица В.1

Тип уплотняющей машины

Толщина слоя грунта в плотном теле (количество проходов катка по одному следу) для грунтов, Нсл, СМ

связных

несвязных

кулачковый каток массой 9 - 18 т

25(20) - 35(18)

45(18) - 80(16)

каток на пневматических шинах прицепной и полуприцепной массой, т

 

 

от 12 до 15

30 (24)

40 (16)

от 25 до 30

45(20)

60 (16)

от 45 до 50

60(20)

80 (16)

вибрационный каток прицепной массой, т:

 

 

4

15(12)

40(12)

от 6 до 8

20(14)

60(14)

от 10 до 12 и более

30(18)

80(16)

После разравнивания грунта в пробном слое следует произвести планировку его поверхности автогрейдером с контроль толщины слоя не менее чем в шести точках с использованием установленных высотных отметок. При этом допускаемые отклонения по толщине слоя не должны превышать ±10 %.

В.7 Грунты, предназначенные для пробного уплотнения, должны иметь влажность, близкую к оптимальной Wопт. При этом нижний предел естественной влажности песчаных грунтов должен быть не ниже 0,8Wопт, а глинистых - не ниже 0,9Wопт. При несоблюдении этого условия необходимо предусматривать искусственное увлажнение грунтов или принимать меры по его просушиванию (рыхление, перевалка бульдозером, автогрейдером), чтобы получить значения влажности грунта в указанных пределах.

При пробном уплотнении в зимнее время величина естественной влажности глинистых грунтов не должна превышать величину оптимальной влажности Wопт. Линейные размеры мёрзлых комьев не должны превышать 0,2 м. Максимальную влажность грунта, при которой будет обеспечена требуемая плотность, следует определять по формуле:

Wдоп = КувлWопт,

(В.2)

где: Кувл - коэффициент увлажнения.

Срок выполнения работ по пробному уплотнению в зимний период, отсчитываемый от момента выемки грунта в карьере или резерве, зависит от температуры воздуха:

- температура воздуха, ° С

выше -10

от -10 до -20

ниже -20

- срок выполнения работ, час.

от 2 до 3

от 1 до 2

1

Пробное уплотнение в зимний период запрещается проводить при ветре более 8 м/сек.

В.8 Уплотнение отсыпанного слоя грунта на площадке для пробного уплотнения следует выполнять круговыми проходами катков, начиная с краевых полос. Величина перекрытия следов должна составлять 0,3 м.

При пробном уплотнении связных грунтов тяжёлыми катками на пневматических шинах предварительную прикатку слоя грунта следует проводить катками лёгкого типа с нагрузкой на колесо в 2 раза меньшей нагрузки на колесо основного катка. Количество проходов катка по одному следу при прикатке должно составлять 2 - 4, а скорость его движения не должна превышать 2 км/час.

При пробном уплотнении несвязных грунтов, а также при отсыпке связных грунтов в пробный слой автомобилями-самосвалами или скреперами при условии равномерного распределения их проходов по ширине уплотняемого слоя предварительного уплотнения (прикатки) не требуется.

Пробное уплотнение грунтов катками на пневматических шинах следует производить при следующем скоростном режиме: скорость двух первых проходов не более 2 км/час, а скорость промежуточных проходов - от 12 до 15 км/час. Скорость движения кулачковых, решетчатых и вибрационных катков не должна превышать 2 км/час.

Давление воздуха в пневматических шинах катков при пробном уплотнении должно составлять для песков 0,2 МПа, для супесчаных грунтов - от 0,3 до 0,4 МПа, для глинистых - от 0,6 до 0,8 МПа.

В.9 Контроль плотности грунта в процессе пробного уплотнения следует производить перед началом работы основной уплотняющей машины (после разравнивания или прикатки), а затем через 4, 8 и N проходов по одному следу.

Контроль плотности грунта при пробном уплотнении следует производить в зоне однородного уплотнения в соответствии с диаграммой проходов уплотняющей машины по ширине опытной площадки. Глубина контроля плотности грунта при толщине пробного слоя до 30 см должна составлять от 10 до 15 см. При толщине слоя, превышающей 30 см, контроль плотности следует производить не менее, чем в трех уровнях (верхняя, средняя и нижняя части слоя). Место расположения каждого уровня отбора проб от поверхности слоя следует определять путём измерения жёстким метром с точностью ±1 см. Минимальное количество измерений при контроле плотности (объём выборки) с использованием только метода «режущего кольца» по ГОСТ 5182 для каждого периода уплотнения и каждого уровня по толщине слоя должно составлять 6. Места отбора проб должны быть засыпаны грунтом и уплотнены.

В.10 Плотность сухого грунта при контроле плотности следует определять в соответствии с ГОСТ 5182. Допускается использовать приборы для ускоренного определения указанной величины (плотномер-влагомер Н.П. Ковалёва, радиометрические, пенетрационные плотномеры и др.).

Степень уплотнения грунта, достигнутую после серии проходов каждой уплотняющей машины по одному следу, надлежит характеризовать среднеарифметической величиной коэффициента уплотнения:

(В.3)

где:  - максимальная величина плотности сухого грунта, определенная при стандартном уплотнении по ГОСТ 22733;

 - среднеарифметическое значение величины плотности сухого грунта, достигнутой в процессе уплотнения.

Примечание - Перед определением среднеарифметического значения величины плотности сухого грунта необходимо произвести статистическую проверку на исключение грубых ошибок из ряда частных определений по ГОСТ 20522.

Пробное уплотнение следует считать законченным, если достигнуты требуемые среднеарифметические значения плотности сухого грунта  при Ктр:

Ктр

0,90

0,92

0,95

1,00

0,93

0,95

0,98

1,03

В.11 Результаты пробного уплотнения должны оформляться в виде:

- графиков зависимости среднеарифметической величины плотности сухого грунта от количества проходов катка по одному следу γск = f(N) при толщине пробного слоя в плотном теле до 30 см (рисунок В.2);

- графика зависимости плотности скелета грунта по толщине пробного слоя от количества проходов катка по одному следу γск = f(Hсл, N) (рисунок В.3);

- графика зависимости плотности сухого грунта от количества проходов катка по одному следу γск = f(N)n для различных значений толщины слоя в интервале (от hmin до hmax) при толщине пробного слоя в плотном теле более 30 см (рисунок В.4)

Рисунок В.2 - График зависимости плотности сухого грунта от количества проходов катка
по одному следу γск = f(N)

Рисунок В.3 - Зависимость плотности сухого грунта по толщине пробного слоя от
количества проходов катка по одному следу γск = f(Hсл, N)

Примечание - Цифры на кривых обозначают количество проходов по одному следу; hmin, hmax - минимальная и максимальная зона по толщине пробного слоя, в пределах которого достигается требуемое среднеарифметическое значение плотности сухого грунта  при различном количестве проходов катка по одному следу

Рисунок В.4 - Зависимость плотности сухого грунта от количества проходов катка по
одному следу γск = f(N)n n для различных значений толщины слоя
грунта в интервале (от hmin до hmax)

Оптимальной толщине уплотняемого слоя грунта должна соответствовать максимальная техническая производительность катка (П):

(В.4)

где: hi - толщина слоя грунта в плотном теле, определённая по графику  = f(N)hi, м;

Ву - ширина уплотняемой полосы, м;

n1 и n2 количество проходов катка по одному следу при скоростях движения v1 и v2 - соответственно скорость движения катка при первых двух и промежуточных проходах, км/час;

b = 0,3 м - перекрытие полосы предыдущего прохода;

η = 0,8 - коэффициент, учитывающий потери.

При обосновании оптимальной толщины слоя грунта при уплотнении необходимо учитывать технологические данные по режиму отсыпки грунта в насыпь.

Определённое по графикам количество проходов катка по одному следу следует округлить до ближайшего целого значения в большую сторону. При использовании катков на пневматических шинах к полученному количеству проходов необходимо добавить 2 прохода, совершаемые при скорости движения 2 км/час.

Приложение Г
(справочное)
Технологическая карта 1
Возведение насыпи с разработкой грунта экскаваторами и
транспортировкой автомобилями-самосвалами

Г.1 Указания по технологии производственного процесса

При возведении насыпи с разработкой грунта экскаваторами и транспортировкой автомобилями-самосвалами (рисунок Г.1) выполняют следующие работы:

- подготовка и зачистка забоя;

- разработка грунта экскаваторами в карьере с погрузкой его в автомобили-самосвалы,

- перевозкой и выгрузкой в насыпь;

- послойное разравнивание грунта в теле насыпи;

- послойное уплотнение грунта.

1 - экскаватор, 2 - автомобиль-самосвал, 3 - бульдозер, 4 - кулачковый каток,
5 - каток на пневмошинах, 6 - вешка

Рисунок Г.1 - Схема возведения насыпи с разработкой грунта экскаваторами и
перемещением автомобилями-самосвалами

Указанные работы выполняются комплексными механизированными бригадами, в состав которых входят экскаваторы, автомобили-самосвалы, бульдозеры, автогрейдеры, уплотняющие машины.

До возведения насыпи должны быть выполнены все предшествующие работы, в том числе:

- восстановление и закрепление трассы дороги; расчистка дорожной полосы;

- разбивка земляного полотна и грунтового карьера;

- устройство временных дорог для транспортировки грунта;

- устройство съездов в забой и выездов из него;

- обеспечение отвода поверхностных вод от забоя;

- водопонижение или водоотвод при наличии грунтовых вод;

- устройство освещения забоев и отвалов при работе в тёмное время суток.

Г.1.1 Разработка грунта экскаваторами

Разработку грунта одноковшовыми экскаваторами производят забоями, количество и параметры которых устанавливают в соответствии с размерами карьера (резерва, выемки) и оптимальными условиями работы экскаваторов.

Параметры забоев (ширина, глубина, высота, длина) должны обеспечивать возможность работы ковшом экскаватора принятого типа с наименьшими затратами времени на выполнение рабочего цикла экскавации.

Разработку грунта в карьере начинают с отрывки пионерной траншеи до отметки, позволяющей обеспечить нормальный набор грунта ковшом экскаватора. Разработку пионерной траншеи целесообразно осуществлять с помощью бульдозера. Бульдозером также планируют подъездные пути к экскаваторам, крутизна которых не должна превышать 15 %.

Дальнейшую разработку грунта в карьере (резерве, выемке) ведут, как правило, продольными (боковыми) или торцевыми (лобовыми) проходками. Размеры забоев для разработки грунта экскаватором с оборудованием прямая лопата рекомендуется принимать по таблице Г.1.

Таблица Г.1

Показатели

Размеры проходки (забоя), м

при вместимости ковша м3

0,65

1,0 - 1,25

1,6

Ширина подошвы забоя от оси пути экскаватора до:

 

 

 

- стенки забоя

4,5

5,0

5,0

- места погрузки грунта

3,0

3,0*

3,6

2,5*

3,6

2,5*

Предельная высота верхней кромки борта кузова транспортного средства над уровнем подошвы забоя.

5,5

5,5

5,0

Наибольшая высота резания.

от 6,5 до 8,0

от 8,0 до 9,0

до 9,0 до 9,9

Наименьшая высота забоя, обеспечивающая наполнение ковша экскаватора «с шапкой» в грунтах:

 

 

 

- лёгких (I - II группа)

2,5

3,0

3,0

- средних (III группа)

4,5

4,5

4,5

- тяжёлых (IV группа)

5,5

6,0

6,0

Наименьшая допустимая высота забоя в грунтах:

 

 

 

- лёгких (I - II группа)

0,7

0,9

0,9

- средних (III группа)

1,0

1,15

1,3

- тяжёлых (IV группа)

от 1,8 до 2,5

от 1,8 до 2,5

от 2,0 до 2,5

*над чертой - при расположении погрузочного пути на уровне подошвы забоя;

под чертой - при расположении погрузочного пути выше уровня подошвы забоя (рисунок Г.2)

Наибольшую допустимую высоту забоя в глинистых грунтах принимают равной наибольшей высоте резания экскаватора данного типа, а в сыпучих грунтах - на 1,5 - 2,0 м выше.

При разработке забоев должен быть предусмотрен отвод поверхностных и грунтовых вод.

С одной стоянки экскаватора разрабатывают участок длиной от 3 до 4 м, после чего экскаватор передвигают на новое место стоянки.

R - максимальный радиус выгрузки; r - наибольший радиус резания;

Н - наибольшая высота выгрузки; В - ширина забоя; b - наименьший радиус выгрузки.

Рисунок Г.2 - Поперечное сечение экскаваторного забоя

Г.1.2 Транспортировка грунта и укладка его в насыпь

Транспортировку грунта из карьера в насыпь производят автомобилями-самосвалами грузоподъёмностью от 7 до 12 т в зависимости от объёма ковша экскаватора.

Количество транспортных средств, необходимых для перевозки грунта, определяют расчётом для каждого конкретного случая с учётом физических условий работы и дальности возки.

Потребность в автомобилях-самосвалах (N) может быть определена ориентировочно из таблицы Г.2 или расчётом с учётом фактических условий и дальности возки по формуле:

(Г.1)

где tp - время, необходимое для выполнения одного рейса (продолжительность загрузки, пробега до места разгрузки и обратно, разгрузка, установка под погрузку и разгрузку, технологические перерывы), мин.;

tэ - продолжительность одного цикла работы экскаватора, мин.;

n - количество ковшей, необходимых для заполнения одной машины.

Таблица Г.2

Дальность возки, км

Ёмкость ковша экскаватора, м'3

до 0,4

до 0,8

до 1,5

Количество автосамосвалов грузоподъёмностью, т

5

7

7

10

7

10

1

2

2

3

2

6

4

2

3

2

4

4

7

6

3

4

3

5

4

9

7

4

4

3

6

5

11

8

5

5

4

7

5

13

9

6

6

4

8

6

15

11

7

7

5

9

7

17

12

8

7

5

10

8

19

14

9

8

6

12

8

21

15

10

9

7

13

9

23

17

При выборе транспортных средств для совместной работы с экскаваторами наилучшие технико-экономические показатели достигаются при следующих условиях:

- вместимость кузова автомобиля должна превышать вместимость ковша экскаватора в 3 - 4 раза;

- фронт погрузки у экскаватора должен обеспечивать возможность одновременного подъезда к нему двух автомобилей-самосвалов;

- состояние путей транспортирования должно обеспечивать оптимально высокие скорости движения транспортных средств.

Въезды и съезды на отсыпаемые насыпи должны содержаться в состоянии, обеспечивающем полную безопасность движения по ним транспортных средств.

На месте производства работ грунт выгружают через каждые 5 м вдоль насыпи и через каждые 3 м по ширине насыпи, начиная с её краёв (рисунок Г.3).

Грунт разравнивают слоями толщиной от 0,35 до 0,40 м за 1 - 2 прохода бульдозера класса тяги от 60 до 100 кН по одному следу. Работу выполняют на второй рабочей скорости с перекрытием предыдущего следа на 0,5 - 0,8 м.

1, 2, 3, …. n - последовательность выгрузки грунта;

b - ширина насыпи поверху,

В - ширина подошвы насыпи,

hн - высота насыпи,

hсл - толщина укладываемого слоя грунта

Рисунок Г.3 - Схема разгрузки грунта и укладки его в насыпь

После разравнивания грунта производят сначала предварительную (грубую) планировку слоя за 1 - 2 прохода бульдозера по одному следу, а затем его окончательную планировку за 1 - 2 прохода по одному следу с приданием поверхности слоя поперечного уклона от 20 ‰ до 40 ‰ от оси к бровкам земляного полотна.

Г.1.3 Уплотнение грунта

Уплотнение грунта, из которого сооружается земляное полотно, производится послойно различными грунтоуплотняющими машинами. При этом плотность грунта в теле земляного полотна, оцениваемая коэффициентом уплотнения Купл, должна быть не ниже значений, приведённых в таблице Г.3.

Таблица Г.3

Элементы земляного полотна

Глубина расположения слоя от поверхности покрытия, м

Коэффициент уплотнения грунта при типе дорожной одежды

капитальном

облегчённом и переходном

Дорожно-климатические зоны

I

II, III

IV, V

I

II, III

IV, V

Рабочий слой

До 1,5

от 0,98 до 0,96

от 1,0 до 0,98

от 0,98 до 0,95

от 0,95 до 0,93

от 0,98 до 0,95

0,95

Нижняя неподтопляемая часть насыпи

от 1,5 до 6,0

от 0,95 до 0,93

0,95

0,95

0,93

0,95

0,90

более 6,0

0,95

0,98

0,95

0,93

0,95

0,90

Нижняя подтопляемая часть насыпи

от 1,5 до 6,0

от 0,96 до 0,95

от 0,98 до 0,95

0,95

от 0,95 до 0,93

0,95

0,95

0,96

0,98

0,98

0,95

0,95

0,95

более 6,0

0,96

0,98

0,98

0,95

0,95

0,95

Для уплотнения связных грунтов применяют катки на пневматических шинах, кулачковые и решетчатые катки; для уплотнения несвязных грунтов следует использовать вибрационные и виброударные машины с различной конфигурацией вальцов, катки на пневматических шинах.

Требуемая плотность грунтов может быть достигнута при влажности, отличающейся от оптимальной не более, чем указано в таблице Г.4.

При влажности менее допустимой несвязные и малосвязные грунты рекомендуется увлажнять в отсыпаемом слое непосредственно перед уплотнением. Связные грунты следует увлажнять на месте разработки (в карьере, резерве, выемке) после рыхления.

При влажности грунтов более допустимой необходимо проводить мероприятия по ускорению их просушивания (рыхление, перевалка, обработка активными добавками, введение грунтов лёгкого гранулометрического состава с влажностью меньше оптимальной). Допускается удалять верхний переувлажненный слой грунта в отвал.

Таблица Г.4

Вид грунта (ГОСТ 25100)

Отклонение от оптимальной влажности при коэффициенте уплотнения Купл

0,98

0,95

Пески пылеватые

от 0,80 до 1,35

от 0,75 до 1,60

Супеси легкие

от 0,80 до 1,25

от 0,75 до 1,35

Супеси пылеватые, суглинки легкие

от 0,85 до 1,15

от 0,80 до 1,30

Суглинки тяжелые, глины

от 0,90 до 1,05

от 0,85 до 1,20

Примечание - Для рабочего слоя не допускается отклонение влажности от оптимальной

Толщина отсыпаемых слоёв, длина фронта отсыпки и количество проходов (ударов) уплотняющего средства должны определяться проектом в зависимости от типа грунта, сезона строительства, типа и массы уплотняющих средств и в каждом конкретном случае уточняться по результатам пробного уплотнения, выполняемого на каждые 50 тыс. м3 укладываемого грунта. Толщину отсыпаемых слоёв и количество проходов уплотняющих средств по одному следу ориентировочно можно назначать по таблице Д.5.

Уплотнение грунта в стеснённых условиях при засыпке водопропускных труб, опор и в конусах мостов и путепроводов, в траншеях и других стеснённых условиях следует производить с помощью малогабаритных виброкатков, самопередвигающихся виброплит и вибротрамбовок, навесного грунтоуплотняющего оборудования, ручных механических трамбовок.

Таблица Г.5

Тип уплотняющей машины

Наибольшая толщина слоя в плотном теле, см

число проходов (ударов) по одному следу для грунтов

Песок, супесь лёгкая

Суглинок, глина

Крупнообломочные грунты

при коэффициенте уплотнения не менее

0,90

0,95

0,98 - 1,0

0,90

0,95

0,98 - 1,0

0,95

0,98 - 1,0

Каток на пневмошинах массой от 25 до 30 т

60 (от 4 до 6*)

45 (от 8 до 10)

30 (от 12 до 15)

45 (от 10 до 12)

35 (от 14 до 16)

25 (от 18 до 22)

20 (от 14 до 16)

20 (от 18 до 20)

Каток на пневмошинах массой от 12 до 15 т

40 (от 8 до 10)

25 (от 12 до 14)

20 (от 16 до 18)

30 (от 14 до 16)

20 (от 18 до 20)

15 (от 20 до 22)

-

-

Каток кулачковый, решетчатый массой от 16 до 20 т

60 (от 2 до 4)

40 (от 6 до 8)

30 (от 10 до 12)

50 (от 3 до 5)

35 (от 6 до 8)

20 (от 10 до 12)

40 (от 4 до 6)

30 (от 6 до 8)

Каток кулачковый массой 8 т

40 (от 3 до 5)

30 (от 4 до 6)

20 (от 7 до 9)

35 (от 4 до 6)

30 (от 8 до 10)

-

20 (от 6 до 8)

-

Каток вибрационный массой от 4 до 8 т

100 (от 2 до 4)

75 (от 4 до 6)

40 (от 4 до 8)

-

-

-

60 (от 4 до 6)

40 (от 4 до 6)

Каток вибрационный массой от 12 до 15 т

120 (от 2 до 4)

100 (от 4 до 6)

60 (от 8 до 10)

-

-

-

80 (от 4 до 6)

60 (от 6 до 8)

Трамбующая плита массой 5,5 т при высоте падения от 2 до 4 м

-

160 (от 2 до 3)

120 (от 4 до 6)

-

120 (от 3 до 5)

90 (от 6 до 8)

120 (от 4 до 6)

90 (от 6 до 8)

Примечание - 1 *В скобках указано требуемое число проходов (ударов) по одному следу.

2 Показатели для катков приведены при полной балластной загрузке и наибольшем давлении в шинах.

В качестве уплотняющего средства, как правило, применяются катки на пневмошинах, пригодные для уплотнения песчаных и глинистых грунтов.

Давление воздуха в шинах на начальном этапе уплотнения при рыхлом состоянии грунтов не должно превышать от 0,2 до 0,3 МПа. На заключительном этапе уплотнения песчаных грунтов и супесей давление воздуха в шинах следует поддерживать в пределах от 0,3 до 0,4 МПа, суглинков и глин - от 0,5 до 0,6 МПа.

Два первых и два последних прохода по полосе укатки следует производить на малой скорости (от 1,5 до 2,5 км/час), а промежуточные проходы - на более высокой скорости (от 8 до 10 км/час).

При укатке верхних слоёв насыпи катками на пневматических шинах первый и второй проходы следует выполнять на расстоянии не менее 2 м от бровки насыпи, а затем, смещая проходы на 1/3 ширины катка в сторону бровки, уплотняют края насыпи (рисунок Г.4). После этого укатку продолжают круговыми проходами от края к середине насыпи.

1 - 10 - последовательность проходов

Рисунок Г.4 - Схема работы прицепного катка на пневматических шинах

Кулачковые катки применяются для уплотнения глинистых комковатых грунтов,

находящихся в рыхлом состоянии. При этом рекомендуются следующие оптимальные удельные давления на опорную поверхность шиповых кулачков площадью от 30 до 70 см для грунтов:

- супеси тяжёлые пылеватые, суглинки лёгкие - от 0,7 до 1,5 МПа (от 7 до 15 кгс/см2);

- суглинки лёгкие пылеватые, суглинки тяжёлые - от 1,5 до 4,0 МПа (от 15 до 40 кгс/см2);

- суглинки тяжёлые пылеватые, глины - от 4,0 до 6,0 МПа (от 40 до 60 кгс/см2).

При уплотнении кулачковыми катками происходит разуплотнение поверхностного слоя, поэтому на завершающем этапе необходимо производить дополнительную укатку пневмокатком за 3 - 4 прохода.

Решетчатые катки наиболее эффективны при уплотнении крупнообломочных и гравелистых грунтов, глинистых комковатых грунтов и грунтов с включением мёрзлых комьев.

Уплотнение грунта кулачковыми и решетчатыми катками выполняется круговыми проходами по рабочей захватке от краёв насыпи к её середине с перекрытием полос уплотнения на 0,2 - 0,3 м (рисунок Д.5).

Для предотвращения обрушения бровки и сползания катков с насыпи во время работы приближение рабочих органов уплотняющих машин к бровке насыпи ближе 0,3 м не допускается при всех видах уплотнения (кроме навесных трамбовок).

Оптимальные размеры захватки по уплотнению грунтов при нормальных условиях должны составлять от 100 до 200 м по всей ширине насыпи.

Вибрационные машины применяют для уплотнения крупнообломочных, песчаных, гравийно-песчаных, супесчаных и некоторых разновидностей глинистых грунтов.

б - поперечный разрез: в - перекрытие полос укатки; 1 - 8 - последовательность проходов;
h - толщина слоя грунта; b - ширина укатываемой полосы

Рисунок Г.5 - Схема работы прицепных кулачковых катков: а - схема движения трактора
с кулачковыми катками

Для обеспечения максимальной плотности грунта при наибольшей толщине слоя необходимо соблюдать оптимальный режим работы (частота колебаний вальца 20 - 35 Гц, скорость движения 2,0 - 2,5 км/час). Ориентировочные значения максимальной толщины уплотняемого слоя и рекомендуемое количество проходов при оптимальном режиме работы представлены в таблице Г.6.

Для уплотнения глинистых грунтов наиболее рационально применение вибрационных катков с различной конфигурацией вальца.

Таблица Г.6

Вид грунта

Требуемая степень уплотнения

Максимальная толщина уплотняемого слоя (см) виброкатком общей массой, т

Рекомендуемое

количество проходов

от 3 до 4

6

8

от 12 до 13

Крупнообломочный с песчаным заполнителем, валунногалечниковый

0,95

-

от 60 до 65

от 80 до 85

от 110 до 130

от 8 до 10

Моренный песчаный

0,95

-

от 50 до 60

от 70 до 80

от 100 до 120

от 6 до 10

Супесчаный

0,98

-

от 30 до 40

от 40 до 50

от 60 до 70

от 6 до 10

Песок, в т.ч. пылеватый

0,95

от 30 до 40

от 50 до 60

от 70 до 80

от 100 до 120

от 4 до 8

Песчано-гравийная смесь

0,98

от 20 до 30

40

50

от 60 до 70

от 6 до 10

Песок однородный

0,95

от 30 до 35

от 40 до 45

от 50 до 55

от 65 до 70

от 3 до 4

Песок однородный при влажности до 4 - 5 %

0,98

20

30

35

40

от 3 до 4

Песок однородный при влажности выше 6 - 7 %

0,98

от 25 до 30

40

50

60

от 6 до 8

Супесь, в т.ч. пылеватая

0,95

от 35 до 40

от 45 до 50

от 55 до 60

от 70 до 75

от 6 до 8

Супесь при оптимальной влажности

0,98

от 20 до 25

от 30 до 35

от 35 до 40

от 40 до 45

от 8 до 10

Суглинок при влажности:

 

 

 

 

 

 

от 0,95 до 1,05 от Wo

0,95

-

от 30 до 35

от 35 до 40

от 50 до 60

от 8 до 10

от 0,85 до 0.90 от Wo

0.95

-

от 15 до 20

от 20 до 25

от 30 до 35

от 10 до 12

Г.2 Указания по технике безопасности

Экскаваторы во время работы должны устанавливаться на спланированной площадке. Запрещается подкладывать под гусеницы брёвна, камни и другие предметы.

При работе экскаватора рабочим запрещается находиться под его ковшом, стрелой, проводить другие работы со стороны забоя. Во время перерывов в работе ковш должен быть опущен на землю. Очистку ковша можно производить, только опустив его на грунт.

При погрузке грунта ковш экскаватора не должен перемещаться над кабинами автомобилей.

Запрещается изменять вылет стрелы при заполненном ковше, регулировать тормоза при поднятом ковше. Поворот ковша для выгрузки и передвижку экскаватора с опорожненным ковшом следует начинать только после выхода ковша из грунта, не допускать ударов о раму, гусеницу или грунт.

При пробивке пионерной траншеи необходимо следить за тем, чтобы при повороте ковш был поднят выше боковой стенки забоя, а хвостовая часть экскаватора не задевала за неё.

При разравнивании грунта бульдозером необходимо следить за тем, чтобы его отвал не выходил за бровку откоса насыпи. В дождливую погоду работа в глинистых грунтах не допускается. При остановках бульдозера во время перерывов в работе отвал должен быть опущен на грунт.

При уплотнении грунта прицепным катком любого типа запрещается движение тягача задним ходом. При изменении направления движения самоходных катков всех типов необходимо подавать предупредительный сигнал.

При производстве работ необходимо соблюдать требования, указанные в СНиП 12-01, СНиП 12-03, СНиП 12-04.

Г.3 Карта операционного контроля качества

Карта операционного контроля качества работ по возведению насыпи с разработкой грунта экскаваторами и транспортировкой автомобилями-самосвалами представлена на рисунке Г.3, а контролируемые параметры в таблице Г.9.

Рисунок Г.3 - Карта операционного контроля

Таблица Г.7

Контролируемые параметры

Предельные отклонения с применением комплектов машин

без автоматической системы обеспечения ровности

с автоматической системой обеспечения ровности

Высотные отметки продольного профиля земляного полотна, Δ1, мм

±50

±10

Ширина земляного полотна между осью и бровкой, Δ2, см

±10

±10

Крутизна откосов, Δ3, %

+10

+10

Поперечные уклоны слоёв, Δ4

±0,010

±0,005

Коэффициент уплотнения грунта, Δ5, %

-4

-4

Примечание - 1 Перемешивание разнородных грунтов не допускается.

2 В поперечном сечении поверхность слоёв планируется под двускатный профиль с уклонами к бровке от 20 до 40‰.

3 Снижение плотности слоёв земляного полотна в пределах до 4 % могут иметь не более 10 %

Контролируемые параметры и методы контроля представлены в таблице Г.10.

Таблица Г.8

Основные операции, подлежащие контролю

Отсыпка грунта в насыпь

Разравнивание и планировка

Уплотнение насыпи

Состав контроля.

Однородность грунтов в теле насыпи.

- Высотные отметки продольного профиля.

- Ширина земляного полотна.

- Толщина слоя.

- Крутизна откосов.

Фактическая плотность грунта.

Метод и средства контроля.

Визуальный.

Инструментальны й: визирки, нивелир, рулетка металлическая, уклономер.

Измерительный.

Метод режущего кольца, пенетрометры, плотномер-влагомер Ковалёва.

Режим и объём контроля.

Сплошной.

Продольное нивелирование, промеры поперечников (не менее, чем в 3-х точках), толщину слоёв производить не реже, чем через 100 м.

Не менее 3-х образцов через каждые 200 м при высоте насыпи до 3 м и через каждые 50 м при высоте насыпи более 3 м.

Привлекаемые для контроля подразделения.

-

-

Лаборатория

Где регистрируются результаты контроля.

Журнал производства работ

Журнал контроля уплотнения насыпи.

Приложение Д
(Справочное)
Технологическая карта 2
Устройство земляного полотна автомобильной дороги в выемке

Д.1 Технология производственного процесса

До начала производства работ по устройству земляного полотна в выемке должны быть выполнены следующие подготовительные работы:

- восстановление и закрепление трассы;

- разбивка элементов выемки;

- расчистка полосы отвода, удаление растительного грунта;

- устройство временных дорог для транспортировки грунта, доставки на объект дорожно-строительных материалов и оборудования;

- перенос и переустройство воздушных и кабельных линий связи, электропередач, трубопроводов, коллекторов и др.;

- снос или перенос с отведённой территории зданий и сооружений.

В подготовительный период должны быть обследованы условия залегания грунтов в выемке, определены их физико-механические характеристики и возможность использования для сооружения насыпей. При необходимости следует осуществить отвод поверхностных вод и понижение уровня грунтовых вод путём устройства нагорных канав и дренажных сооружений.

Д.1.1 Разработка выемок бульдозерами

Разработку выемок с перемещением грунта в насыпь на расстояние до 100 м целесообразно производить бульдозерами (при условии пригодности грунта выемки для отсыпки насыпи). Для повышения производительности машин разработку грунтов выемки  (кроме песчаных с влажностью ниже оптимальной) выполняют траншейно-гребенчатым способом (рисунок Д.1). Ширина гребней должна составлять около 1 м. Разработку ведут послойно на глубину рационального зарезания отвала. Зарезание в месте разработки следует производить с учётом группы грунтов по трудности их разработки (приложение А) способом, обеспечивающим более полное использование мощности двигателя бульдозера без перегрузок. При разработке относительно лёгких по трудности разработки грунтов зарезание следует производить равномерной прямоугольной стружкой, при средних грунтах - клиновидной, при тяжёлых - гребенчатой (рисунок Д.2).

Разработку грунта начинают с ближнего к насыпи конца выемки и перемещают в дальний конец отсыпаемого слоя насыпи. Гребни между траншеями срезают, начиная с дальнего от насыпи участка, движением бульдозера под углом с перемещением грунта по ранее выработанной траншее.

После окончания разработки и перемещения грунта одного слоя выемки аналогичным образом разрабатывают и перемещают грунт нижележащих слоёв. При разработке нижнего слоя выемки сохраняют стенки крайних боковых траншей с целью перемещения по ним грунта, срезаемого с полок на откосах выемки (рисунок Д.3).

В целях снижения потерь грунта при его перемещении следует применять бульдозеры с открылками на отвале или с отвалами совкового типа. При дальности перемещения грунта бульдозером с отвалом без боковых открылков на расстояние более 25 м резко возрастают потери грунта. В таких случаях рекомендуется последовательное перемещение грунта с образованием промежуточных накопительных валов, в которых бульдозер может осуществить полный набор грунта для последующего перемещения.

1 - ярусы разработки; 2 - слои отсыпаемой насыпи; 3 - траншеи;
4 - стенки между траншеями

Рисунок Д.1 - Траншейно-ярусная схема разработки выемки

а) - прямоугольная; б) - клиновая; в) - гребенчатая
(стрелкой показано направление движения бульдозера)

Рисунок Д.2 - Схема зарезания грунта бульдозером

При больших объёмах работ целесообразна совместная работа двух бульдозеров, при которой вырезание грунта и его перемещение по двум смежным траншеям в выемке производится одновременно двумя бульдозерами. После окончания операции зарезания бульдозеры должны сблизиться так, чтобы расстояние между отвалами не превышало от 15 до 20 см, и в таком положении они на одинаковой скорости должны производить дальнейшее перемещение грунта общим валом к месту его укладки.

Для повышения производительности бульдозеров тяжёлые и сухие глинистые

грунты следует предварительно разрыхлять с помощью рыхлителей, установленных на бульдозерах. В этом случае траншейный способ разработки с оставлением гребней между проходами не применяется.

1 - 3 - ярусы; 4 - крайняя стенка; 5 - траншея; 6 - полки на откосе;

а - ширина захвата при проходе бульдозера

Рисунок Д.3 - Последовательность удаления стенок при разработке нижнего
яруса и полос откосов выемки

Д.1.2 Разработка выемок экскаваторами

Экскаваторы целесообразно применять при разработке выемок глубиной более 2 м и дальности транспортировки разработанного грунта более 100 м.

Разработку грунта одноковшовыми экскаваторами, оборудованными прямой или обратной лопатой, производят забоями (проходками). Направление разработки, количество и параметры забоев по ширине выемки устанавливают в соответствии с геометрическими размерами выемки и оптимальными условиями работы экскаваторов (рисунок Д.4).

Параметры забоев должны обеспечивать возможность работы ковшом экскаватора принятого типа с наименьшими затратами времени на выполнение рабочего цикла экскавации, состоящего из наполнения ковша грунтом, поворота к месту выгрузки и обратного поворота к забою.

Для обеспечения указанного требования принимают:

- ширину забоев с таким расчётом, чтобы экскаватор мог работать при средней величине угла поворота не более 70°;

- глубину (высоту) забоев - не меньше длины стружки грунтов, необходимой для заполнения ковша с «шапкой» за один приём черпания;

- длину забоев с учётом возможно меньшего количества вводов и выводов экскаватора в забой и из забоя, сопряжённых с потерями производительности.

При разработке недренирующих грунтов должен быть обеспечен постоянный отвод поверхностных и грунтовых вод из забоя и от подъездных путей.

Разработку выемки экскаватором, оборудованным прямой лопатой, начинают с отрывки пионерной траншеи до отметки, позволяющей обеспечить нормальный набор грунта экскаватором. Разработку пионерной траншеи целесообразно осуществлять с применением бульдозера. Бульдозером также планируют пути подъезда - транспортных средств к экскаватору.

1 - выездная дорога; 2 - въездная дорога; 3 - разрезная траншея; 4 - забой I экскаватора;
5 - забои II экскаватора; I, II, III, IV - номера забоев

Рисунок Д.4 - Схема продольной разработки выемки

Размеры забоев для разработки грунта экскаватором, оборудованным прямой лопатой, рекомендуется принимать по таблице Д.1.

При разработке глинистых грунтов в забоях, высота которых соответствует наибольшей высоте резания, возможно образование нависающих козырьков, которые необходимо обрушать, принимая меры, обеспечивающие безопасность выполнения этой операции.

При разработке сыпучих грунтов образование козырьков исключено, поэтому высота забоя может быть увеличена от 1,5 до 2,0 м.

В процессе разработки грунт следует вырезать максимально толстой стружкой, не допуская однако перегрузки и снижения оборотов двигателя экскаватора. Максимальная толщина вырезаемой стружки обеспечивается при оптимальном наклоне ковша к разрабатываемому грунту и поверхности забоя относительно продольной оси рукояти; передвижением экскаватора по мере выработки забоя на величину не более 0,4 хода рукояти и работой при её вылете, не превышающем 2/3 полной величины.

Таблица Д.1

Ёмкость ковша экскаватора, м3

Расположение транспортных средств

Предельная высота верха борта кузова машины над подошвой забоя, м

Максимальная высота резания, м

В одном уровне

В разных уровнях

Расстояние от оси экскаватора до подошвы, м

Ширина забоя по дну, м

Расстояние от оси экскаватора до подошвы, м

Ширина забоя по дну, м

откоса

забоя

откоса

забоя

0,65

4,6

4,8

9,4

2,1

4,8

6,9

4,1

6,6

1 - 1,2

5,8

6,4

12,2

2,4

6,4

8,8

5,0

8,0

2,0

7,0

7,4

14,4

4,9

7,4

12,3

5,5

9,3

Срезку грунта на уровне подошвы гусениц экскаватора следует производить таким образом, чтобы для передвижения машины не требовалось дополнительного выравнивания площадки.

Разработка выемок одноковшовыми экскаваторами должна осуществляться с недобором грунта до проектного очертания выемки для предотвращения нарушения естественной структуры грунта в основании и на откосах выемки. Размеры недоборов грунта принимают по таблице Д.2 в зависимости от вида оборудования и вместимости ковша экскаватора.

Таблица Д.2

Тип рабочего оборудования

Допустимые недоборы грунта, см, при вместимости ковша экскаватора, м3

от 0,5 до 0,65

от 0,8 до 1,25

от 1,5 до 1,6

Прямая (обратная) лопата

10

10

15

Драглайн

20

25

30

Объём недоборов входит в профильный объём выемки. Срезку недоборов в основании и на откосах выемки следует осуществлять бульдозерами, автогрейдерами или экскаваторами - планировщиками с последующей погрузкой в транспортные средства экскаватором или погрузчиком и вывозкой в соседние насыпи или, при невозможности этого, в кавальеры. Водоотводные канавы в выемках целесообразно отрывать в процессе удаления недобора грунта.

Количество транспортных средств, необходимых для перевозки грунта, определяют расчётом для каждого конкретного случая с учётом фактических условий работы и дальности транспортирования.

Разработку экскаваторами глубоких выемок в условиях возможности вскрытия водоносных горизонтов следует осуществлять, по возможности, в летний период при минимальном дебите грунтовых вод. При этом до наступления осеннего периода должны быть выполнены все предусмотренные проектом мероприятия по устройству дренажей и укреплению откосов.

В осенне-весенний периоды допускается разработка только верхней части глубоких выемок до горизонта, расположенного выше уровня грунтовых вод первого (сверху) водоносного горизонта не менее чем на 1,5 - 2,0 м. Если разработка выемки до наступления зимы не закончена, то необходимо предусмотреть мероприятия по её содержанию в период снеготаяния (прочистку временного водоотвода, уборку снега и т.п.). при этом до начала зимы дно выемки должно быть тщательно спланировано и устроен временный водоотвод.

Д.2 Указания по технике безопасности

При производстве земляных работ по разработке выемок необходимо соблюдать требования по технике безопасности, изложенные в СНиП 12-01, СНиП 12-03, СНиП 12-04.

Основные требования по технике безопасности при разработке грунта выемок экскаваторами в соответствии с требованиями по разработке грунта экскаваторами в карьерах (резервах) с транспортировкой автомобилями-самосвалами.

При разработке выемок и планировке откосов выемок бульдозерами необходимо следить за тем, чтобы угол наклона откосов не превышал 30°, что является основным условием безопасного выполнения работ.

Д.3 Карта операционного контроля качества работ по устройству выемки с разработкой грунта экскаваторами и транспортировкой автомобилями-самосвалами представлена на рисунке Д.5, а контролируемые параметры в таблице Д.5.

Рисунок Д.5 - Карта операционного контроля качества работ

Таблица Д.3

Контролируемые параметры

Предельные отклонения

Высотные отметки продольного профиля земляного полотна, Δ1, мм

±50

Ширина земляного полотна между осью и бровкой, Δ2, см

±10

Крутизна откосов, Δ3, %

+10

Поперечные уклоны земляного полотна, Δ4

±0,010

Поперечные размеры водоотводных канав, Δ5, см

+5

Глубина водоотводных канав, Δ6, см

±5

Коэффициент уплотнения грунта основания выемки, Δ7, %

-4

Библиография

[1] Гражданский кодекс Российской Федерации, Принят Государственной Думой 21 октября 1994 года

[2] Федеральный закон от 27 декабря 2002 г. № 184-ФЗ. О техническом регулировании

[3] СТО НОСТРОЙ 1.0-2010 Система стандартизации Национального объединения строителей. Основные положения

[4] Дорожная терминология, под редакцией М.И. Вейцмана. «Транспорт», М.: 1985

[5] Справочник дорожных терминов, Издательство «ЭКОН», М.: 2005

Ключевые слова: сооружение земляного полотна, грейдерные работы, бульдозерные работы, скреперные работы, уплотнение грунтов, гидромеханизация земляных работ, гидронамыв, разработка грунта, типоразмер машин, пробное уплотнение.