Cтандарт распространяется на конструкции тепловой изоляции, предназначенные для оборудования, трубопроводов и воздуховодов инженерных сетей, расположенных в помещениях категорий В, Г, Д (по СП 12.13130, пункт 4.1).
| Обозначение: | СТО НОСТРОЙ 2.12.69-2012 |
| Название рус.: | Инженерные сети зданий и сооружений внутренние. Теплоизоляционные работы для внутренних трубопроводов зданий и сооружений. Правила, контроль выполнения и требования к результатам работ |
| Статус: | действует |
| Дата актуализации текста: | 05.05.2017 |
| Дата добавления в базу: | 01.10.2014 |
| Утвержден: | 22.06.2012 Совет Национального объединения строителей (30) |
| Опубликован: | Национальное объединение строителей (2012 г. ) |
| Ссылки для скачивания: |
НАЦИОНАЛЬНОЕ ОБЪЕДИНЕНИЕ СТРОИТЕЛЕЙ
Стандарт организации
Инженерные сети зданий и сооружений внутренние
ТЕПЛОИЗОЛЯЦИОННЫЕ РАБОТЫ
ДЛЯ ВНУТРЕННИХ ТРУБОПРОВОДОВ
ЗДАНИЙ И СООРУЖЕНИЙ
Правила, контроль выполнения и требования
к результатам работ
СТО НОСТРОЙ 2.12.69-2012
Москва 2013
Предисловие
|
1 РАЗРАБОТАН |
Закрытым акционерным обществом «ИСЗС-Консалт» |
|
2 ПРЕДСТАВЛЕН НА УТВЕРЖДЕНИЕ |
Комитетом по системам инженерно-технического обеспечения зданий и сооружений Национального объединения строителей, протокол от 16 мая 2012 г. № 13 |
|
3 УТВЕРЖДЕН И ВВЕДЕН В ДЕЙСТВИЕ |
Решением Совета Национального объединения строителей, протокол от 22 июня 2012 г. № 30 |
|
4 ВВЕДЕН |
ВПЕРВЫЕ |
Настоящий стандарт разработан в рамках Программы стандартизации Национального объединения строителей и направлен на реализацию Градостроительного кодекса Российской Федерации, Федерального закона от 27 декабря 2002 г. № 184-ФЗ «О техническом регулировании», Федерального закона от 30 декабря 2009 г. № 384-ФЗ «Технический регламент о безопасности зданий и сооружений», приказа Министерства регионального развития Российской Федерации от 30 декабря 2009 г. № 624 «Об утверждении Перечня видов работ по инженерным изысканиям, по подготовке проектной документации, по строительству, реконструкции, капитальному ремонту объектов капитального строительства, которые оказывают влияние на безопасность объектов капитального строительства».
Данный стандарт разработан в развитие нормативных положений СП 60.13330.2012 «СНиП 41-01-2003 Отопление, вентиляция и кондиционирование» и СП 61.13330.2012 «СНиП 41-03-2003 Тепловая изоляция оборудования и трубопроводов».
Авторский коллектив: А.В. Самсоненко (ООО «Роле Изомаркет»), А.В. Бусахин (ООО «Третье Монтажное Управление «Промвентиляция»), канд. экон. наук Д.Л. Кузин (НО «АПИК»), докт. техн. паук A.M. Гримитлин (НП «СЗ Центр АВОК»), Г.К. Осадчий (ООО «МАКСХОЛ текнолоджиз»), Ф.В. Токарев (НП «ИСЗС-Монтаж»).
СТАНДАРТ НАЦИОНАЛЬНОГО ОБЪЕДИНЕНИЯ СТРОИТЕЛЕЙ
|
Инженерные сети зданий и сооружений внутренние ТЕПЛОИЗОЛЯЦИОННЫЕ
РАБОТЫ ДЛЯ ВНУТРЕННИХ Правила, контроль выполнения и требования к результатам работ Internal buildings and structures utilities Thermal insulation covering of internal pipelines of buildings and structures Regulations, monitoring and requirements |
1.1 Настоящий стандарт распространяется на конструкции тепловой изоляции (далее - теплоизоляционные конструкции), предназначенные для оборудования, трубопроводов и воздуховодов инженерных сетей, расположенных в помещениях категорий В, Г, Д (по СП 12.13130, пункт 4.1).
1.2 Настоящий стандарт устанавливает требования, правила и контроль выполнения теплоизоляционных работ с использованием теплоизоляционных конструкций и их элементов, выполненных из труб или рулонов вспененного полиэтилена или синтетического вспененного каучука, а также цилиндров или матов минерального или стеклянного волокна.
В настоящем стандарте использованы нормативные ссылки на следующие стандарты и своды правил:
ГОСТ 21.405-93 Система проектной документации в строительстве. Правила Издание официальное выполнения рабочей документации тепловой изоляции оборудования и трубопроводов
ГОСТ 20022.5-93 Защита древесины. Автоклавная пропитка маслянистыми защитными средствами
ГОСТ 28702-90 Контроль неразрушающий. Толщиномеры ультразвуковые. Общие технические требования
ГОСТ Р 52953-2008 Материалы и изделия теплоизоляционные. Термины и определения
ГОСТ Р 53292-2009 Огнезащитные составы и вещества для древесины и материалов на ее основе. Общие требования. Методы испытаний
СП 12.13130.2009 Определение категорий помещений, зданий и наружных установок по взрывопожарной и пожарной опасности
СП 60.13330.2012 «СНиП 41-01-2003 Отопление, вентиляция и кондиционирования»
СП 61.13330.2012 «СНиП 41-03-2003 Тепловая изоляция оборудования и трубопроводов»
СНиП 12-04-2002 Безопасность труда в строительстве. Часть 2. Строительное производство
Примечание - При пользовании настоящим стандартом целесообразно проверить действие ссылочных нормативных документов в информационной системе общего пользования -на официальных сайтах национального органа Российской Федерации по стандартизации и НОСТРОЙ в сети Интернет или по ежегодно издаваемым информационным указателям, опубликованным по состоянию на 1 января текущего года. Если ссылочный документ заменен (изменен), то при пользовании настоящим стандартом следует руководствоваться новым (измененным) документом. Если ссылочный документ отменен без замены, то положение, в котором дана ссылка на него, применяется в части, не затрагивающей эту ссылку.
В настоящем стандарте применены термины в соответствии с Градостроительным кодексом [1], а также следующие термины с соответствующими определениями:
3.1 бандаж: Кольцо, выполненное из металлической ленты и предназначенное для крепления к внутреннему трубопроводу зданий и сооружений теплоизоляционного материала или облицовки.
|
3.2 мат: Гибкое волокнистое теплоизоляционное изделие, поставляемое свернутым в виде рулона или в развернутом виде, которое может быть облицовано. [ГОСТ Р 52953-2008, пункт 5.3] |
3.3 многослойная теплоизоляционная конструкция: Конструкция, состоящая из двух и более слоев одинаковых или различных теплоизоляционных материалов (по СП 61.13330.2012, раздел 3).
3.4 обкладка: Функциональный или декоративный материал, наносимый на поверхность теплоизоляционного материала для внутренних трубопроводов, например бумага, полимерная пленка, ткань или металлическая фольга (по ГОСТ Р 52953-2008, пункт 7.1).
|
3.5 облицовка: Жесткий, полужесткий, часто готовый листовой материал, который обеспечивает механическую защиту и (или) защиту от воздействия окружающей среды или применяется в качестве декоративной отделки теплоизоляции. [ГОСТ Р 52953-2008, пункт 7.2] |
3.6 пароизоляционный слой: Слой пароизоляционного материала, наносимый с целью предотвращения диффузии водяного пара (по ГОСТ Р 52953-2008, пункт 7.5).
|
3.7 покровный слой: Элемент конструкции, устанавливаемый по наружной поверхности тепловой изоляции для защиты от механических повреждений и воздействия окружающей среды. [СП 61.13330.2012, пункт 3.9] |
|
3.8 рулон: Форма поставки теплоизоляционного изделия в виде спирально свернутого цилиндра. [ГОСТ Р 52953-2008, пункт 5.7] |
3.9 тепловая изоляция (теплоизоляция): Общий термин, применяемый для описания процесса уменьшения теплопереноса через систему или для описания изделия, элементов системы, которые выполняют эту функцию (по ГОСТ Р 52953-2008, пункт 6.1).
|
3.10 теплоизоляционное изделие: Теплоизоляционный материал в виде готового изделия, включающего любые облицовки, обкладки или покрытие. [ГОСТ Р 52953-2008, пункт 4.1] |
|
3.11 теплоизоляционная конструкция: Конструкция, состоящая из одного или нескольких слоев теплоизоляционного материала (изделия), защитно-покровного слоя и элементов крепления. В состав теплоизоляционной конструкции могут входить пароизоляционный, предохранительный и выравнивающий слои. [СП 61.13330.2012, пункт 3.7] |
|
3.12 теплоизоляционный материал: Материал, предназначенный для уменьшения теплопереноса, теплоизоляционные свойства которого зависят от его химического состава и (или) физической структуры. [ГОСТ Р 52953-2008, пункт 3.1] |
3.13 температурный шов: Сквозная щель (прорезь) между отдельными элементами теплоизоляционной конструкции, предназначенная для обеспечения возможности каждому элементу свободно удлиняться, укорачиваться или перемещаться по отношению друг к другу
|
3.14 трубка: (Теплоизоляционное) изделие, применяемое для теплоизоляции объектов цилиндрической формы. [ГОСТ Р 52953-2008, пункт 5.10] |
|
3.15 цилиндр; полуцилиндр: (Теплоизоляционное) изделие в виде полого цилиндра, которое может иметь продольную прорезь, или полуцилиндра для удобства монтажа. [ГОСТ Р 52953-2008, пункт 5.9] |
4.1 Теплоизоляционные конструкции применяют для оборудования и трубопроводов промышленных предприятий, а также объектов жилищно-коммунального хозяйства, включая:
- технологические трубопроводы, расположенные в помещениях категорий В, Г, Д (по СП 12.13130, пункт 4.1);
- трубопроводы тепловых сетей в помещениях, технических подпольях, чердаках, подвалах;
- трубопроводы систем отопления, горячего и холодного водоснабжения;
- воздуховоды, трубопроводы и оборудование систем вентиляции и кондиционирования воздуха;
- газопроводы, нефтепроводы, трубопроводы с нефтепродуктами;
- фланцевые соединения трубопроводов, муфтовую и фланцевую арматуру;
- технологические аппараты и трубопроводы производств с технологическими процессами с повышенными требованиями к чистоте воздуха в помещениях (здания и сооружения объектов микробиологической, радиоэлектронной, пищевой промышленности и т.д.);
- технологические аппараты различных отраслей промышленности с учетом требований технологического проектирования и безопасности для конкретных объектов.
4.2 Для обеспечения качества выполнения работ по устройству теплоизоляционных конструкций, предназначенных для оборудования и трубопроводов тепловых сетей систем отопления, горячего и холодного водоснабжения, технологических систем, следует учитывать следующие факторы:
- месторасположение изолируемого объекта;
- геометрические размеры изолируемого объекта;
- температуру изолируемой поверхности;
- температуру окружающей среды;
- требования пожарной безопасности;
- агрессивность окружающей среды или веществ, содержащихся в изолируемых объектах;
- влияние ультрафиолетового излучения;
- возможность коррозионного воздействия;
- материал поверхности изолируемого объекта;
- допустимые нагрузки на изолируемый объект;
- требования к механической прочности конструкции;
- наличие вибрации и ударных воздействий;
- требуемую долговечность конструкции;
- санитарно-гигиенические требования;
- наличие температурных деформаций оборудования и трубопроводов;
- относительную влажность окружающего воздуха;
- паропроницаемость теплоизоляционного материала.
4.3 Теплоизоляционные конструкции для оборудования и трубопроводов тепловых сетей и систем отопления должны:
- отвечать требованию энергосбережения (иметь оптимальное соотношение между стоимостью теплоизоляционной конструкции и стоимостью тепловых потерь через тепловую изоляцию в течение расчетного срока эксплуатации);
Примечание - Подробное изложение требований по энергосбережению представлено в СТО 59705183-001-2007 [2].
- обеспечивать безопасную для человека температуру наружной поверхности теплоизоляционной конструкции в соответствии с СП 61.13330 (пункт 4.2).
4.4 Теплоизоляционные конструкции для оборудования и трубопроводов систем горячего водоснабжения должны обеспечивать безопасную для человека температуру наружной поверхности конструкции в соответствии с СП 61.13330 (пункт 4.2).
4.5 Теплоизоляционные конструкции для оборудования и трубопроводов систем холодного водоснабжения должны предотвращать конденсацию влаги из наружного воздуха на поверхности теплоизоляционной конструкции для оборудования и трубопроводов.
4.6 Теплоизоляционные конструкции для трубопроводов систем кондиционирования воздуха, расположенных в помещении, должны предотвращать конденсацию влаги из наружного воздуха на поверхности конструкции.
4.7 Теплоизоляционные конструкции для воздуховодов систем вентиляции и кондиционирования воздуха должны:
- предотвращать конденсацию влаги из наружного воздуха на поверхности конструкции (для воздуховодов, расположенных в помещении);
- предотвращать конденсацию влаги на внутренних поверхностях (для воздуховодов, расположенных на открытом воздухе).
4.8 Теплоизоляционные конструкции для технологического оборудования и трубопроводов должны:
- поддерживать требуемые параметры технологического режима;
- обеспечивать безопасную для человека температуру наружной поверхности конструкции в соответствии с СП 61.13330 (пункт 4.2);
- предотвращать конденсацию влаги из наружного воздуха на поверхности конструкции (для аппаратов и трубопроводов, расположенных в помещении).
5.1 Теплоизоляционные конструкции трубопроводов и оборудования должны соответствовать требованиям долговечности и надежности по СП 61.13330 (пункт 4.2) для инженерной сети, а также сохранять свои теплоизоляционные и прочностные характеристики в течение всего срока эксплуатации.
5.2 Для конструкций тепловой изоляции рекомендуется применять материалы со степенью черноты не ниже 0,9 (коэффициент излучения не ниже 5,0 Вт/(м2⋅К4)) в соответствии с СП 61.13330 (пункт 5.13).
5.3 Коэффициент теплопроводности теплоизоляционных материалов должен соответствовать требованиям СП 61.13330 (пункт 6.13).
5.4 Пожарная безопасность теплоизоляционных материалов должна соответствовать ФЗ № 123 (глава 3, статья 11) [3].
5.5 Монтаж теплоизоляционных конструкций должен выполняться в соответствии с требованиями СП 61.13330 и настоящего стандарта.
5.6 В случаях, если толщина однослойной теплоизоляции, указанная в рабочей документации, превышает толщину серийно производимых теплоизоляционных изделий, следует применять многослойную теплоизоляционную конструкцию суммарной толщиной на 5 % - 10 % больше толщины, указанной в рабочей документации, при этом установку второго и последующих слоев следует выполнять с перекрытием швов каждого предыдущего слоя на 30 - 50 мм.
5.7 В соответствии с СП 61.13330 (пункт 5.17) применение теплоизоляционных изделий из вспененных полимеров с закрытой ячеистой структурой возможно без пароизоляционного слоя, при этом необходимо герметизировать стыки изделий материалами, не пропускающими водяные пары.
5.8 В теплоизоляционных конструкциях для оборудования и трубопроводов, расположенных в помещениях, технических подпольях, чердаках, каналах и тоннелях, теплоизоляционные изделия из вспененных полимеров с закрытой ячеистой структурой могут применяться без покровных слоев в соответствии с СП 61.13330 (пункт 5.15).
5.9 Для тепловой изоляции трубопроводов, проложенных в конструкциях полов и стен, следует применять изделия из вспененных полимеров с закрытой ячеистой структурой с облицовкой из полимерной пленки. В случае применения изделий из минеральной или стеклянной ваты теплоизоляционная конструкция должна быть выполнена с облицовочным материалом, защищающим теплоизоляцию от агрессивного воздействия жидкого цементного раствора.
5.10 Для тепловой изоляции трубопроводов систем кондиционирования, расположенных на открытом воздухе, рекомендуется применять изделия из вспененных полимеров с закрытой ячеистой структурой с покрытием из полимерной пленки, устойчивой к воздействию УФ-излучения. В случае применения изделий из минеральной или стеклянной ваты теплоизоляционная конструкция должна быть выполнена с облицовочным материалом, защищающим теплоизоляцию от атмосферных воздействий.
5.11 При выполнении работ по устройству теплоизоляционных конструкций для объектов с повышенными санитарно-гигиеническими требованиями к содержанию пыли в воздухе помещений в конструкциях тепловой изоляции рекомендуется применять изделия из вспененных полимеров с закрытой ячеистой структурой. В случае применения изделий из минеральной или стеклянной ваты теплоизоляционная конструкция должна быть выполнена с герметично установленным облицовочным материалом.
5.12 Теплоизоляционные конструкции, применяемые для предотвращения конденсации влаги из наружного воздуха на поверхности, должны быть выполнены паронепроницаемо.
5.13 Для теплоизоляционных конструкций воздуховодов систем вентиляции и кондиционирования воздуха рекомендуется применять изделия с самоклеящейся подложкой из модифицированного акрила с распределяющей сеткой. В случае применения матов из минерального или стеклянного волокна, необходимо выбирать изделия, каптированные алюминиевой фольгой. При этом места крепления штифтами необходимо дополнительно пароизолировать. Если теплоизоляционная конструкция трубопровода выполнена из горючих материалов, при пересечении трубопроводом противопожарной преграды следует предусматривать противопожарные вставки из негорючих материалов в пределах размера противопожарной преграды.
5.14 В теплоизоляционных конструкциях в качестве обкладки рекомендуется применять материалы и изделия, изготовленные на основе стеклоткани, а в качестве облицовки - тонколистовые металлические оболочки.
5.15 Дополнительные материалы, необходимые для устройства теплоизоляционных конструкций, следует применять в соответствии с ГЭСН 81-02-26-2001 (раздел 1) [4].
6.1.1 Теплоизоляционные работы следует выполнять только при условии полной готовности объекта. Строительно-монтажные работы считаются полностью законченными, если трубопроводы и оборудование находятся в проектном положении и испытаны давлением согласно проекту производства работ, что должно быть подтверждено соответствующими актами.
6.1.2 Монтаж тепловой изоляции выполняется по рабочей документации в соответствии с проектом производства работ по тепловой изоляции и с учетом проекта организации строительства.
6.1.3 Рабочая документация по тепловой изоляции, принимаемая в производство, должна соответствовать ГОСТ 21.405 и включать:
- основной комплект рабочих чертежей теплоизоляционных конструкций;
- техномонтажную ведомость;
- спецификацию оборудования.
6.1.4 Работы по теплоизоляции трубопроводов и оборудования выполняют после окончания монтажа и испытаний соответствующей инженерной системы, исключая монтаж предварительно изолированных в заводских условиях элементов инженерной или технологической сети.
6.1.5 Изолируемая поверхность должна быть очищена от загрязнений и ржавчины. При установке изоляционных изделий с самоклеящейся подложкой изолируемая поверхность должна быть обезжирена и просушена.
6.1.6 Антикоррозийное покрытие наносят на поверхность, подлежащую тепловой изоляции, в соответствии с проектной документацией до начала теплоизоляционных работ.
6.1.7 Для обеспечения высокого качества производства работ следует пользоваться типовыми сериями, а в случае их отсутствия - инструкциями, разработанными для проведения монтажа изделий из различных теплоизоляционных материалов. Например, требования при монтаже изделий из материалов с закрытой ячеистой структурой изложены в [5] для серии 5.904.9-78.08.
6.1.8 С целью повышения производительности и достижения высокого качества теплоизоляционных работ рекомендуется применять изготовленные в мастерских сборные теплоизоляционные конструкции.
6.2.1 В теплоизоляционных конструкциях на трубопроводах в качестве тепловой изоляции следует применять теплоизоляционные изделия в виде трубок, а в случае отсутствия в выпускаемой номенклатуре трубок нужного типоразмера -теплоизоляционные изделия в виде рулонов.
6.2.2 Крепления теплоизоляционных изделий на трубопроводах в зависимости от вида материала должны быть выполнены рекомендуемым производителем способом. Требования по установке трубок и рулонов из материалов с закрытой ячеистой структурой изложены в [5] для серии 5.904.9-78.08.
6.2.3 Для крепления трубок на трубопроводах продольные и поперечные швы изделий следует склеить контактным клеем, рекомендованным производителем. Рекомендуется дополнительно проклеить швы изделий армированной самоклеящейся лентой.
На рисунке 6.1 представлен вариант монтажа на трубопроводе теплоизоляционной конструкции, состоящей из теплоизоляционной трубки, клея и армированной самоклеящейся ленты.

1 - трубка из теплоизоляционного материала; 2 -
клей;
3 - лента армированная самоклеящаяся
Рисунок 6.1 - Теплоизоляционная конструкция трубопровода диаметром DH
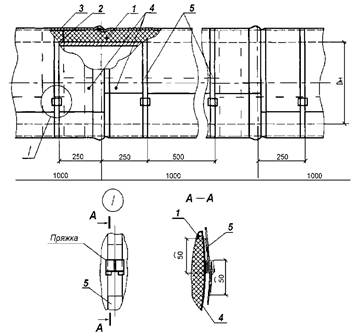
6.2.4 При установке на трубопроводах теплоизоляционных изделий в виде рулонов или матов следует устраивать бандажи, расположенные с шагом от 500 до 600 мм. Характерные размеры элементов бандажа приведены на рисунке 6.2.

1 - бандаж; 2 - лента
Рисунок 6.2 - Конструкция бандажа
Примечания
1 Для бандажа допускается использовать металлические ленты с антикоррозийным покрытием из нержавеющей стали, алюминиевых сплавов или полиамида.
2 Материал бандажа, применяемого для крепления покровного слоя, должен соответствовать материалу, из которого изготовлено покрытие.
3 Материал, применяемый для изготовления пряжки (Поз.2), должен соответствовать материалу, из которого изготовлен бандаж (оцинкованная или нержавеющая сталь, листы из алюминиевого сплава).
6.2.5 Для крепления листов (рулонов) на трубопроводах швы изделий следует склеить контактным клеем, рекомендованным производителем. Рекомендуется дополнительно проклеить швы изделий армированной самоклеящейся лентой, а также закрепить изделия бандажами из армированной самоклеящейся ленты, расположенных с шагом от 500 до 600 мм.
6.2.6 Для тепловой изоляции отводов, тройников, переходов и арматуры следует на месте выполнения работ изготавливать теплоизоляционные элементы, выполненные из изделий в виде трубок, цилиндров, листов или матов. На рисунке 6.3 представлены два варианта теплоизоляции отводов, различающиеся диаметрами трубопроводов.

а) изоляция отвода термоизоляционными трубками (Dн
≤ 160 мм);
б) изоляция отвода термоизоляционными листами (Dн > 160
мм)
1 - трубка из теплоизоляционного материала при Dн ≤ 160 мм; 2 - лист теплоизоляционного материала при Dн > 160 мм; 3 - клей; 4 - лента армированная самоклеящаяся
Рисунок 6.3 - Теплоизоляционные конструкции отводов
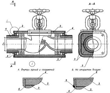
На рисунке 6.4 приведен вариант тепловой изоляции запорного вентиля.

1 - трубка из теплоизоляционного материала; 2 -
лист теплоизоляционного материала 3 - клей;
4 - лента армированная самоклеящаяся; 5 - герметик силиконовый
Рисунок 6.4 - Теплоизоляционная конструкция запорного вентиля
6.2.7 В многослойных теплоизоляционных конструкциях, предназначенных для трубопроводов, установку второго и последующего слоев тепловой изоляции выполняют с перекрытием швов каждого предыдущего слоя. Швы всех слоев тепловой изоляции склеивают контактным клеем. Рекомендуется дополнительно проклеивать швы наружного слоя армированной самоклеящейся лентой.
Двухслойная термоизоляция тройника с покрытием из металлических оболочек и креплением с помощью саморезов представлена на рисунке 6.5.

1 - трубка из теплоизоляционного материала; 2 -
лист теплоизоляционного материала;
3 - клей; 4 - лента армированная самоклеящаяся; 5,6 -
металлические оболочки;
7 - саморез с прессшайбой, оцинкованный, наконечник сверло
Рисунок 6.5 - Теплоизоляционная конструкция тройника
6.2.8 Несъемную тепловую изоляцию муфтовой арматуры, установленной на трубопроводах, выполняют из изделий в виде трубок или рулонов вместе с тепловой изоляцией трубопровода. Вырез под привод выполняют на месте проведения монтажных работ.
6.2.9 Установка покрытий (обкладки) должна производиться с нахлестом от 40 до 50 мм по продольным и поперечным швам.
6.2.10 Крепление облицовки из тонколистовых металлических оболочек или других металлических покрытий выполняется при помощи саморезов или бандажей.
При толщине теплоизоляционного слоя от 13 мм и выше используют саморезы, которые устанавливают с шагом от 250 до 300 мм - по направляющей и 150 мм - по окружности (рисунок 6.5).
Бандажи устанавливают с шагом от 500 до 600 мм. На рисунке 6.6 показана конструкция теплоизолированного трубопровода с металлической оболочкой, с использованием бандажного крепления.

1 - трубка из теплоизоляционного материала при Dн≤ 160 мм (лист теплоизоляционного материала при Dн
> 160 мм); 2 - клей; 3 - лента армированная самоклеящаяся;
4 - металлическая оболочка; 5 - бандаж с пряжкой
Рисунок 6.6 - Теплоизоляционная конструкция с бандажным креплением
6.2.11 При тепловой изоляции вертикальных трубопроводов с металлическим покровным материалом в зависимости от толщины теплоизоляции и высоты трубопровода могут быть предусмотрены опорные конструкции (разгружающие устройства), предотвращающие деформацию и сползание покровного материала.
Разгружающие устройства располагают с шагом от 3 до 4 м по высоте трубопровода или оборудования. В этих же местах в металлическом покровном материале предусматривают температурные швы. Конструкция разгружающих устройств не должна иметь сквозных теплопроводных включений.
Разгружающие устройства выполняют из металла или пиломатериалов. Разгружающие устройства, изготовленные из пиломатериалов, должны быть пропитаны антисептическими составами или антипиренами в соответствии с ГОСТ Р 53292 и ГОСТ 20022.5.
6.3.1 В теплоизоляционных конструкциях резервуаров в качестве тепловой изоляции следует применять теплоизоляционные изделия в виде рулонов и матов.
6.3.2 Крепления теплоизоляционных изделий на резервуарах в зависимости от вида материала должны быть выполнены рекомендуемым производителем способом. Например, требования по установке рулонов из материалов с закрытой ячеистой структурой изложены в [5] для серии 5.904.9-78.08. Вариант выполнения теплоизоляции на горизонтальном резервуаре приведен на рисунке 6.7.
6.3.3 В случае если температура изолируемой поверхности ниже +90 °С, рекомендуется применять изделия в виде рулонов с самоклеящейся подложкой.
6.3.4 Установку покрытий (обкладок) и облицовок на вертикальных резервуарах (рисунок 6.8) следует вести снизу вверх с нахлестом от 40 до 50 мм.

1 - лист из теплоизоляционного материала; 2 - клей;
3 - металлическая оболочка;
4 - лента алюминиевая самоклеящаяся; 5 - герметик силиконовый
Рисунок 6.7 - Теплоизоляционная конструкция горизонтального резервуара

1 - лист теплоизоляционного материала; 2 - клей; 3 - лента алюминиевая самоклеящаяся
Рисунок 6.8 - Теплоизоляционная конструкция вертикального резервуара
6.3.5 В многослойных теплоизоляционных конструкциях для резервуаров установку второго и последующего слоев тепловой изоляции выполняют с перекрытием швов предыдущего слоя. Листы (рулоны) каждого последующего слоя должны быть приклеены к предыдущему. Швы между изделиями одного слоя проклеивают армированной самоклеящейся лентой.
6.3.6 Монтаж тепловой изоляции опор и оголовок резервуаров выполняют в соответствии с рабочей документацией.
6.4.1 Для обеспечения качества выполнения работ при монтаже тепловой изоляции следует руководствоваться требованиями 5.6, 5.9, 5.11, 5.12 и 5.14 настоящего стандарта.
6.4.2 Крепления теплоизоляционных изделий на трубопроводах и воздуховодах в зависимости от вида материала должны быть выполнены способом, рекомендуемым производителем. Например, требования по установке материалов с закрытой ячеистой структурой изложены в [5] для серии 5.904.9-78.08. На рисунке 6.9 представлена теплоизоляционная конструкция, выполненная самоклеящимся теплоизоляционным материалом.
Теплоизоляционная конструкция, представленная на рисунке 6.10, выполнена с применением самоклеящихся теплоизоляционных материалов и самоклеящейся металлической оболочки.

1 - лист самоклеящегося теплоизоляционного материала;
2 - клей;
3 - лента армированная самоклеящаяся
6.4.3 При устройстве теплоизоляционных конструкций, предназначенных для предотвращения конденсации влаги из наружного воздуха на поверхности, в качестве теплоизоляционных материалов следует выбирать материалы с закрытой ячеистой структурой.
6.4.4 Установка покрытия (обкладки) и облицовки должна производиться с нахлестом от 40 до 50 мм по продольным и поперечным швам.

1 - лист самоклеящегося
теплоизоляционного материала; 2 - клей;
3 - самоклеящаяся металлическая оболочка; 4 - герметик силиконовый
Рисунок 6.10 - Теплоизоляционная конструкция воздуховода с металлической оболочкой
6.4.5 При необходимости применения покровного слоя в теплоизоляционных конструкциях, предназначенных для трубопроводов систем кондиционирования, рекомендуется использовать армированную самоклеящуюся ленту. Допускается использовать другие виды покрытий (обкладок).
6.4.6 Требования к установке разгружающих устройств приведены в 6.2.8.
7.1 Контроль выполнения работ по тепловой изоляции инженерных систем в зданиях и сооружениях следует проводить, основываясь на требованиях и положениях рабочей документации.
При осуществлении контроля выполнения монтажных работ должно проверяться соблюдение требований 4.4 - 4.8 с учетом факторов 5.1, а также положений 7.2 - 7.8.
7.2 Используемые теплоизоляционные материалы должны иметь документы, подтверждающие соответствие требованиям нормативной документации, по которой они изготавливаются:
- сертификат соответствия;
- декларация соответствия;
- паспорт качества.
7.3 При окончательной сдаче-приемке теплоизоляционной конструкции на объекте необходимо проверить соответствие температуры на поверхности теплоизоляционной конструкции безопасной температуре (СП 61.13330). Температура измеряется любым поверенным инструментом, имеющим отметку о поверке в паспорте прибора или свидетельство о поверке в соответствии с требованиями СП 61.13330.
7.4 Операционный контроль выполнения теплоизоляционных работ проводится согласно приложению А.
7.5 При осуществлении операционного контроля теплоизоляционной конструкции проверяют:
а) перед укладкой теплоизоляционного материала:
- чистоту изолируемой поверхности - визуально;
- наличие антикоррозионной защиты - визуально;
- соответствие толщины используемого теплоизоляционного материала требованиям РД, измеряя толщину, например, с помощью толщиномера по ГОСТ 28702 (таблицы 1 - 3);
- соответствие материала покровного слоя материалу, указанному в РД;
б) во время укладки теплоизоляционного материала:
- выполнение проклейки швов и стыков теплоизоляционного материала клеем и лентой - визуально;
- отсутствие встречных нахлестов (против направления потока дождевой воды или стекающей влаги) на покровном слое - визуально;
- отсутствие повреждений теплоизоляционного слоя - визуально;
- перекрытие монтажных швов в многослойных конструкциях - визуально;
в) после завершения укладки теплоизоляционного материала и конструктивного оформления:
- крепление покровного слоя - визуально;
- отсутствие повреждений на поверхности покровного слоя - визуально;
- отсутствие повреждений поверхности покрытия (обкладки), при его наличии, - визуально;
- соответствие внешнего вида и конструктивного оформления теплоизоляции данным рабочей документации - визуально.
7.6 Приемочный контроль выполнения теплоизоляционных работ осуществляют после окончания монтажа теплоизоляционных конструкций.
В процессе приемочного контроля выявляются дефекты, к числу которых должны быть отнесены:
- отступление от данных, приведенных в рабочей документации в части материалов, конструкций и способа монтажа изоляции;
- несоответствие толщины теплоизоляционного слоя данным рабочей документации;
- механические повреждения изоляции;
- неплотное прилегание теплоизоляционного слоя к поверхности изолируемого объекта;
- отсутствие теплоизоляции в местах расположения опор;
- несоблюдение правил расположения продольных и поперечных швов покрытий (обкладок) и облицовок.
7.7 После сопоставления смонтированной теплоизоляционной конструкции с данными рабочей документации и учета изменений, внесенных в процессе монтажа, составляется окончательная дефектная ведомость, куда заносят все фактические показатели, установленные при сдаче-приемке (приложение Б).
7.8 После устранения замеченных недостатков выполняют окончательную сдачу-приемку теплоизоляционной конструкции и составляют акт сдачи-приемки (приложение В).
8.1 Отчетная и техническая документация комплектуется для передачи техническому заказчику на этапе сдачи-приемки выполненных работ.
8.2 Для качественного проведения монтажных работ и соблюдения всех технологических операций принимаемая к производству рабочая документация должна удовлетворять 6.1.3.
8.3 В качестве рабочих чертежей могут использоваться типовые серии рабочих чертежей тепловой изоляции. Так, для полимерной изоляции с закрытой ячеистой структурой можно использовать типовую серию 5.904.9-78.08 [5].
8.4 Если в принимаемой к производству рабочей документации использованы технические решения тепловой изоляции типовых серий с соответствующими чертежами, в техномонтажной ведомости должна быть дана ссылка на листы серии, где приведены соответствующие конструкции.
8.5 Техномонтажная ведомость должна соответствовать ГОСТ 21.405 (форма приведена в приложении Г настоящего стандарта) и содержать, кроме того, общие данные, относящиеся к выполняемым теплоизоляционным конструкциям:
- сведения о расчетной температуре окружающего воздуха;
- результаты теплотехнических расчетов;
- назначение тепловой изоляции для отдельных видов оборудования и трубопроводов;
- требования к изготовлению теплоизоляционных конструкций и их монтажу
8.6 По данным техномонтажных ведомостей и рабочих чертежей составляются спецификации оборудования.
8.7 Спецификация оборудования оформляется в соответствии с приложением Д и должна содержать следующие разделы:
- изделия теплоизоляционные;
- изделия и материалы покровного слоя;
- изделия крепежные (в том числе клеи, самоклеящиеся ленты и т.д.).
8.8 Вопросы оформления отчетной и технической документации представлены также в [6] и [7].
9.1 К началу выполнения теплоизоляционных работ на строительной площадке должны быть выделены помещения для хранения материалов и инструмента, а также мастерская для подготовки теплоизоляционных конструкций и выполнения технологических операций.
9.2 Работы должны выполняться в спецодежде.
9.3 Перед началом теплоизоляционных работ необходимо обеспечить нормы техники безопасности в соответствии со СНиП 12-04-2002 (раздел 12).
Операционный контроль выполнения теплоизоляционных работ
|
Объект |
Перед укладкой теплоизоляционного материала |
Во время укладки теплоизоляционного материала |
|||||||
|
Чистота изолируемой поверхности |
Наличие антикоррозионной защиты |
Соответствие толщины теплоизоляционного материала указанной в РД |
Соответствие покровного слоя указанному в РД |
Выполнение проклейки швов и стыков теплоизоляционного слоя клеем |
Выполнение проклейки швов и стыков теплоизоляционного слоя лентой |
Отсутствие встречных нахлестов (против потока дождевой воды) на покровном слое |
Отсутствие повреждений теплоизоляционного слоя |
Перекрытие монтажных швов в многослойных конструкциях |
|
|
Трубопроводы систем отопления и водоснабжения |
+ |
+ |
+ |
+ |
+ |
- |
+ |
+ |
+ |
|
Трубопроводы систем холодоснабжения |
+ |
- |
+ |
+ |
+ |
+ |
+ |
+ |
+ |
|
Арматура и фитинги |
+ |
- |
+ |
+ |
+ |
- |
+ |
+ |
+ |
|
Воздуховоды |
+ |
- |
+ |
+ |
+ |
+ |
+ |
+ |
+ |
|
Емкости |
+ |
- |
+ |
+ |
+ |
- |
+ |
+ |
+ |
|
Технологическое оборудование |
+ |
- |
+ |
+ |
+ |
+ |
+ |
+ |
+ |
Продолжение таблицы
|
Объект |
После завершения укладки теплоизоляционного материала |
|||
|
Крепление покровного слоя |
Отсутствие повреждений покровного слоя |
Отсутствие повреждении на поверхности покрытия (обкладки) |
Соответствие внешнего вида теплоизоляционной конструкции данным РД |
|
|
Трубопроводы систем отопления и водоснабжения |
+ |
+ |
+ |
+ |
|
Трубопроводы систем холодоснабжения |
+ |
+ |
+ |
+ |
|
Арматура и фитинги |
+ |
+ |
+ |
+ |
|
Воздуховоды |
+ |
+ |
+ |
+ |
|
Емкости |
+ |
+ |
+ |
+ |
|
Технологическое оборудование |
+ |
+ |
+ |
+ |
Форма дефектной ведомости
|
№ п/п |
Объект |
Характеристики дефектов |
Описание работ по устранению дефектов |
Единица измерения |
Количество |
Примечание |
|
|
|
|
|
|
|
|
|
|
|
|
|
|||
|
|
|
|
|
|||
|
|
|
|
|
|||
|
|
|
|
|
|
|
|
|
|
|
|
|
|||
|
|
|
|
|
|||
|
|
|
|
|
|||
|
|
|
|
|
|
|
|
|
|
|
|
|
|||
|
|
|
|
|
|||
|
|
|
|
|
Форма Акта сдачи-приемки выполненных работ по тепловой изоляции
|
АКТ сдачи-приемки выполненных работ по тепловой изоляции на _________________________________________________________________________ (теплоизолируемый объект) ___________________________________________________________________________
Мы, нижеподписавшиеся, представитель технического заказчика _________________________________________ (Ф. И. О., должность) ___________________________________________________________________________ (наименование организации) представитель лица, осуществляющего строительство ____________________________ (Ф. И. О., должность) ___________________________________________________________________________ (наименование организации) составили настоящий акт о том, что теплоизоляционные работы по _________________ ___________________________________________________________________________ (указать конкретные виды работ в теплоизолируемом объекте) выполнены в полном объеме в соответствии с рабочей документацией, с отмеченными в прилагаемой документации отклонениями, действующими техническими условиями. Документация по выполненной тепловой изоляции передана эксплуатационному персоналу Подписи: ____________________________ (представитель технического заказчика) М.П. _________________________(представитель лица, осуществляющего строительство) М.П. |
Форма техномонтажной ведомости (по ГОСТ 21.405)
|
Изолируемое оборудование, трубопровод |
Теплоизоляционная конструкция |
||||||||||||
|
Марка. Позиция |
Наименование |
Размеры |
Количество |
Температура вещества, °С |
Назначение и расположение |
Наименование (обозначение) |
Толщина слоя, мм |
Ед. изм. |
Количество |
Обозначение документа |
Примечание |
||
|
наружный диаметр или сечение, мм |
Длина, высота, м |
теплоизоляционного |
покровного |
||||||||||
|
|
|
|
|
|
|
|
|
|
|
|
|
|
|
|
|
|
|
|
|
|
|
|
|
|
|
|
|
|
|
|
|
|
|
|
|
|
|
|
|
|
|
|
|
|
|
|
|
|
|
|
|
|
|
|
|
|
|
|
|
|
|
|
|
|
|
|
|
|
|
|
|
|
|
|
|
|
|
|
|
|
|
|
|
|
|
|
|
|
Форма спецификации оборудования
|
[1] Градостроительный кодекс Российской Федерации |
|
[2] СТО 59705183-001-2007 «Конструкции тепловой изоляции для оборудования и трубопроводов с применением теплоизоляционных пенополиэтиленовых изделий Энергофлекс. Монтаж и проектирование» |
|
[3] Федеральный закон от 22 июля 2008 г. № 123 «Технический регламент о требованиях пожарной безопасности» |
|
[4] ГЭСН 81-02-26-2001 «Государственные элементные сметные нормы на строительные работы. Сборник 26. Теплоизоляционные работы» |
|
[5] Типовые строительные конструкции, изделия и узлы. Серия 5.904.9-78.08 «Тепловая изоляция оборудования и трубопроводов с применением изделий Энергофлекс» |
|
[7] Справочник строителя. Тепловая изоляция. Под ред. Кузнецова, Москва, Стройиздат, 1985 г. |
|
Ключевые слова: Национальное объединение строителей, инженерные сети зданий и сооружений внутренние, теплоизоляционные работы |