Стандарт распространяется на сборные железобетонные стропильные фермы, предназначенные для покрытий зданий и сооружений пролетом 6 м, 9 м, 12 м, 18 м и 24 м. Стандарт устанавливает основные нормы и правила входного контроля, транспортирования, складирования, монтажа, сдачи-приемки монтажных и демонтажных работ при возведении зданий и сооружений различного назначения, а так же контроля качества их выполнения и консервации конструкций при временном прекращении монтажных работ.
| Обозначение: | СТО НОСТРОЙ 2.7.57-2011 |
| Название рус.: | Фермы стропильные сборные железобетонные для покрытий. Технические требования к монтажу и контролю их выполнения |
| Статус: | действует |
| Дата актуализации текста: | 05.05.2017 |
| Дата добавления в базу: | 01.09.2013 |
| Утвержден: | 30.12.2011 Совет Национального объединения строителей (24) |
| Ссылки для скачивания: |
НАЦИОНАЛЬНОЕ ОБЪЕДИНЕНИЕ СТРОИТЕЛЕЙ
Стандарт организации
ФЕРМЫ СТРОПИЛЬНЫЕ СБОРНЫЕ
ЖЕЛЕЗОБЕТОННЫЕ ДЛЯ ПОКРЫТИЙ
Технические требования к монтажу и контролю их выполнения
СТО НОСТРОЙ 2.7.57-2011
Москва 2012
Предисловие
|
1 РАЗРАБОТАН |
ОАО «ЦНИИПромзданий» |
|
2 ПРЕДСТАВЛЕН НА УТВЕРЖДЕНИЕ |
Комитетом по промышленному строительству Национального объединения строителей, протокол от 23 декабря 2011 г. № 15 |
|
3 УТВЕРЖДЕН И ВВЕДЕН В ДЕЙСТВИЕ |
Решением Совета Национального объединения строителей, протокол от 30 декабря 2011 г. № 24 |
|
4 ВВЕДЕН |
ВПЕРВЫЕ |
Настоящий стандарт разработан в рамках Программы стандартизации Национального объединения строителей и направлен на реализацию Градостроительного кодекса Российской Федерации, Федерального закона от 27 декабря 2002 г. № 184-ФЗ «О техническом регулировании», Федерального закона от 30 декабря 2009 г. № 384-ФЗ «Технический регламент о безопасности зданий и сооружений», Федерального закона от 23 ноября 2009 г. № 261-ФЗ «Об энергосбережении и о повышении энергетической эффективности и о внесении изменений в отдельные законодательные акты Российской Федерации», приказа Министерства регионального развития Российской Федерации от 30 декабря 2009 г. № 624 «Об утверждении Перечня видов работ по инженерным изысканиям, по подготовке проектной документации, по строительству, реконструкции, капитальному ремонту объектов капитального строительства, которые оказывают влияние на безопасность объектов капитального строительства».
Целью разработки стандарта является конкретизация общих положений СП 48.13330.2011 «СНиП 12-01-2004 Организация строительства» и СП 70.13330.2011 «СНиП 3.03.01-87 Несущие и ограждающие конструкции» применительно к монтажу сборных железобетонных стропильных ферм.
При разработке стандарта использованы действующие нормативные документы и современные зарубежные и отечественные технологии (Э.Н. Кодыш «Учет влияния работы железобетонных конструкций в стадии монтажа на эксплуатационный период», А.Д. Киреев «Технология возведения зданий и специальных сооружений», а также опыт и наработки авторов стандарта.
Авторский коллектив: канд. техн. наук Н.Г. Келасъев, докт. техн. наук, проф. Н.Н. Трекин, докт. техн. наук, проф. Э.Н. Кодыш, И.В. Гузь (ОАО «ЦНИИПромзданий»); канд. техн. наук, проф. А.А. Гончаров (МГСУ).
СТАНДАРТ НАЦИОНАЛЬНОГО ОБЪЕДИНЕНИЯ СТРОИТЕЛЕЙ
|
ФЕРМЫ
СТРОПИЛЬНЫЕ СБОРНЫЕ Технические требования к монтажу и контролю их выполнения Precast reinforced concrete roof trusses. Specification to erection and control of their performance. |
1.1 Настоящий стандарт распространяется на сборные железобетонные стропильные фермы, предназначенные для покрытий зданий и сооружений пролетом 6, 9, 12, 18 и 24 м.
1.2 Стандарт устанавливает основные нормы и правила входного контроля, транспортирования, складирования, монтажа, сдачи-приемки монтажных и демонтажных работ при возведении зданий и сооружений различного назначения, а также контроля качества их выполнения и консервации конструкций при временном прекращении монтажных работ.
В настоящем стандарте использованы нормативные ссылки на следующие стандарты и своды правил:
ГОСТ 3242-79 Соединения сварные. Методы контроля качества
ГОСТ 10922-90 Арматурные и закладные изделия сварные, соединения сварные арматуры и закладных изделий железобетонных конструкций. Общие технические условия
ГОСТ 13015-2003 Изделия железобетонные и бетонные для строительства. Общие технические требования. Правила приемки, маркировки, транспортирования и хранения
ГОСТ 14098-91 Соединения сварные арматуры и закладных изделий железобетонных конструкций. Типы, конструкции и размеры
ГОСТ 17624-87 Бетоны. Ультразвуковой метод определения прочности бетона
ГОСТ 18105-2010* Бетоны. Правила контроля и оценки прочности
*Вводится в действие на территории Российской Федерации с 01.09.2012 вместо ГОСТ Р 53231-2008.
ГОСТ 20213-89 Фермы железобетонные. Технические условия
ГОСТ 22690-88 Бетоны. Определение прочности механическими методами неразрушающего контроля
ГОСТ 23407-78 Ограждения инвентарные строительных площадок и участков производства строительно-монтажных работ. Технические условия
ГОСТ 23616-79 Система обеспечения точности геометрических параметров в строительстве. Контроль точности
ГОСТ 24258-88 Средства подмащивания. Общие технические условия
ГОСТ 24259-80 Оснастка монтажная для временного закрепления и выверки конструкций зданий. Классификация и общие технические требования
ГОСТ 26433.0-85 Система обеспечения точности геометрических параметров в строительстве. Правила выполнения измерений. Общие положения
ГОСТ 26433.1-89 Система обеспечения точности геометрических параметров в строительстве. Правила выполнения измерений. Элементы заводского изготовления
ГОСТ 26433.2-94 Система обеспечения точности геометрических параметров в строительстве. Правила выполнения измерений параметров зданий и сооружений
ГОСТ 26887-86 Площадки и лестницы для строительно-монтажных работ. Общие технические условия
ГОСТ 28570-90 Бетоны. Методы определения прочности по образцам, отобранным из конструкций
ГОСТ Р 53778-2010 Здания и сооружения. Правила обследования и мониторинга технического состояния
СП 48.13330.2011 «СНиП 12-01-2004 Организация строительства»
СП 70.13330.2011 «СНиП 3.03.01-87 Несущие и ограждающие конструкции»
СТО НОСТРОЙ 2.7.55-2011 Плиты покрытий и перекрытий сборные железобетонные с предварительно напряженной арматурой для пролетов до 7,2 м. Технические требования к монтажу и контролю их выполнения
СТО НОСТРОЙ 2.33.6-2011 Организация строительного производства. Правила подготовки к сдаче-приемке и вводу в эксплуатацию законченных строительством жилых зданий
Примечание - При пользовании настоящим стандартом целесообразно проверить действие ссылочных стандартов и сводов правил в информационной системе общего пользования - на официальных сайтах национального органа Российской Федерации по стандартизации и НОСТРОЙ в сети Интернет или по ежегодно издаваемым информационным указателям, опубликованным по состоянию на 1 января текущего года. Если ссылочный документ заменен (изменен), то при пользовании настоящим стандартом следует руководствоваться новым (измененным) документом. Если ссылочный документ отменен без замены, то положение, в котором дана ссылка на него, применяется в части, не затрагивающей эту ссылку.
В настоящем стандарте применены термины в соответствии с СТО НОСТРОЙ 2.7.55, а также следующие термины с соответствующими определениями:
3.1 конструкция несущая: Строительная конструкция, воспринимающая нагрузки и воздействия, обеспечивающая прочность, жесткость и устойчивость зданий и сооружений.
3.2 ферма стропильная (ферма): Несущая конструкция для покрытия больших пролетов, представляющая собой плоскую конструкцию из стержневых элементов.
Примечание - Ферма состоит из верхнего сжатого пояса, нижнего растянутого пояса, стоек и раскосов, объединяющих пояса в единую конструкцию, а элементы фермы соединяются шарнирно и/или жестко в узлах.
4.1 Сборные железобетонные фермы покрытия, применяемые при возведении зданий или сооружений, должны соответствовать рабочим чертежам конкретного здания и отвечать требованиям ГОСТ 20213.
4.2 Стропильные фермы для покрытий со скатной кровлей подразделяются на типы:
- раскосные сегментные (см. рисунок 1);
- безраскосные (см. рисунок 2);
- безраскосные треугольные для покрытий (см. рисунок 3).

Рисунок 1 - Раскосная сегментная ферма
Для покрытий с малоуклонной кровлей применяются безраскосные фермы (см. рисунок 4).
4.3 Оформление исполнительной документации при производстве работ необходимо осуществлять в соответствии с РД 11-02-2006 [1] и РД 11-05-2007 [2].

Рисунок 2 - Безраскосная ферма

Рисунок 3 - Безраскосная треугольная ферма

Рисунок 4 - Безраскосная ферма для покрытий с малоуклонной кровлей
4.4 Все работы по монтажу, начиная с входного контроля материалов и заканчивая сдачей-приемкой здания в целом или его отдельных частей, следует выполнять по проекту производства работ и в соответствии с требованиями настоящего стандарта.
5.1 При поступлении стропильных ферм на строительную площадку необходимо выполнить следующие операции входного контроля:
- проверку наличия сопроводительного документа о качестве ферм и их соответствии заданному типу (марке) по ГОСТ 20213;
- проверку наличия маркировки на фермах (в соответствии с ГОСТ 13015) и ее соответствие данным, указанным в сопроводительном документе;
- предварительное визуальное обследование изделий с целью установления наличия недопустимых дефектов и повреждений (трещин, повреждений бетона в зоне анкеровки напрягаемой арматуры, сколов, наплывов бетона и др.), приведенных в приложении А.
5.2 После разгрузки ферм не менее чем на 10 % конструкций из каждой партии (но не менее трех) выборочно производят:
- измерения по определению геометрических параметров ферм;
- проверку качества поверхностей;
- установление наличия трещин с раскрытием более 0,1 мм;
- определение прочности бетона ферм.
5.2.1 Значения фактических отклонений геометрических параметров ферм не должны превышать предельно допустимых отклонений, приведенных в таблице 1.
5.2.2 Качество поверхностей и внешний вид ферм (в том числе допустимая ширина раскрытия поверхностных технологических трещин) должны соответствовать требованиям ГОСТ 13015. При этом качество поверхностей ферм должно удовлетворять требованиям, установленным для категории А6, а ширина поперечных поверхностных трещин от усилий предварительного обжатия в верхней зоне опорных узлов и в сжатых элементах ферм, установленных в рабочее положение, не должна превышать 0,1 мм.
5.2.3 Правила выбора средств измерений и выполнения измерений для контроля параметров установлены в ГОСТ 26433.0; ГОСТ 26433.1; ГОСТ 26433.2.
|
Отклонения геометрического параметра |
Геометрический параметр |
Допустимые отклонения |
|
Отклонение от линейного размера |
Длина фермы: 5960 8960, 11860, 11960 17940, 17960, 23940 |
+20, -10 +25, -15 +30, -20 |
|
Высота фермы в середине ее длины для ферм длиной: 5960, 8960 11860, 11960 17940, 17960, 23940 |
±8 ±10 ±12 |
|
|
Поперечное сечение элементов фермы |
±5 |
|
|
Положение закладных изделий: в плоскости фермы из плоскости фермы |
8 5 |
|
|
Отклонение от прямолинейности фермы, установленной в рабочее положение, характеризуемое величиной наибольшего отклонения боковых граней поясов фермы от вертикальной плоскости |
Длина фермы: 5960 8960, 11860, 11960 17940, 17960, 23940 |
15 20 25 |
5.2.4 Концы напрягаемой арматуры могут выступать за торцевые поверхности ферм не более чем на 10 мм и должны быть защищены слоем цементно-песчаного раствора или антикоррозионным составом.
5.2.5 Поставленные на монтаж фермы не должны иметь:
- жировых и ржавых пятен на лицевых поверхностях;
- наплывов бетона на открытых поверхностях стальных закладных деталей.
5.2.6 Выборочный контроль прочности бетона ферм следует выполнять по ГОСТ 18105 путем определения класса бетона по прочности на сжатие.
5.2.6.1 Прочность бетона ферм должна соответствовать отпускной, установленной в зависимости от наличия предварительно напряженной арматуры и времени года, и составлять не менее 70 % от проектного значения в теплое время года и не менее 85 % в зимний период.
5.2.6.2 Контроль прочности бетона выполняют с использованием методов упругого отскока (склерометры), ударного импульса, скалывания ребра по ГОСТ 22690 или ультразвукового метода по ГОСТ 17624.
5.2.6.3 В ферме с наименьшими значениями прочности бетона, близкими к проектному или ниже проектного значения, для контроля дополнительно используют метод отрыва со скалыванием по ГОСТ 28570.
Примечание - Могут приметаться другие методики определения прочности бетона методом отрыва со скалыванием, в том числе по СТО 02495307-005-2008 [3].
Класс бетона по прочности на сжатие вычисляют с учетом действительного среднего квадратического отклонения а, полученного по результатам не менее шести измерений, выполненных в одном изделии.
5.3 При обнаружении в конструкции недопустимых дефектов или отклонений, превышающих установленные допуски, составляется акт с участием представителя завода-изготовителя, строительной организации, автора проекта и представителя проектной организации (см. приложение А).
Решение о возможности использования фермы (партии ферм) при условии выполнения необходимого ремонта (усиления) принимается после обследования конструкции на соответствие требованиям ГОСТ 20213.
6.1 Транспортирование и хранение ферм следует осуществлять в соответствии с требованиями настоящего стандарта и ГОСТ 13015.
6.2 Фермы длиной до 18 м включительно изготавливают и перевозят целиком.
6.3 При перевозке железнодорожными платформами размещение и крепление ферм производится в соответствии с проектом, учитывающим тип платформы, конструкцию и вес фермы, а также места расположения прокладок.
6.4 Для перевозки ферм на расстояние до 500 км используют специализированные автотранспортные средства (фермовозы).
Примечания
1 Наибольшее распространение получили автопоезда, состоящие из седельного тягача и специализированного полуприцепа.
2 По погрузочной высоте (расстояние от плоскости, по которой осуществляется опирание перевозимого груза, до уровня земли) полуприцепы подразделяются на три типа: высокорамные, погрузочная высота которых больше высоты расположения седельно-сцепного устройства и больше диаметра колес полуприцепа; низкорамные, погрузочная высота которых меньше высоты расположения седельно-сцепного устройства и меньше диаметра колес полуприцепа; полунизкорамные, погрузочная высота которых меньше высоты расположения седельно-сцепного устройства и больше диаметра колес полуприцепа.
6.5 Фермы длиной 24 и 30 м, изготавливаемые по частям (из двух полуферм), укрупняют, как правило, на строительной площадке. Для укрупнения используют специализированные стенды, а также вертикальные кассеты (см. рисунок 5) с регулировочными устройствами, обеспечивающими проектное положение стыков нижнего и верхнего поясов фермы.
6.6 Фермы (или элементы ферм) следует транспортировать в вертикальном (рабочем) положении или с уклоном до 10°.

1 - полуферма; 2 - парные стойки
Рисунок 5 - Сборка фермы из двух полуферм в кассетах с парными стойками
6.7 Фермы должны храниться на специально оборудованных площадках в вертикальном положении в кассетах (см. рисунок 6) и быть рассортированными по типоразмерам и маркам.
При установке ферм в кассетные стеллажи должна быть обеспечена возможность захвата и подъема каждой фермы для погрузки и монтажа.

Рисунок 6 - Схема опирания при транспортировке и хранении ферм
6.8 При транспортировании и хранении фермы следует устанавливать на инвентарные подкладки из дерева, уложенные на плотное и тщательно выровненное основание.
Деревянные подкладки под фермами должны иметь толщину не менее 40 мм, ширину не менее 150 мм, длину на 100 мм больше толщины сечения фермы. Подкладки следует располагать:
- при хранении - в пределах опорных узлов в местах установки опорных закладных изделий;
- при транспортировании - в пределах опорных узлов в местах установки опорных закладных изделий или в местах, оговоренных в рабочих чертежах.
6.9 Фермы располагают на приобъектном складе с учетом 6.7 и 6.8.
6.10 Необходимый запас конструкций ферм при монтаже определяют в зависимости от производственной потребности, дальности перевозки и условий поступления конструкций.
Примечание - В промышленном строительстве запас времени между поставкой и монтажом конструкций устанавливают до двух недель.
При определении запаса конструкций учитывают также необходимость резерва на случай непредвиденных задержек в поставках конструкций и время, необходимое на их комплектование.
7.1 Монтаж стропильных ферм осуществляют, как правило, в одном потоке с плитами покрытий, используя самоходные стреловые краны с гуськами или башенные краны (при возведении многоэтажных зданий).
Выбор крана производится по методике, приведенной в приложении Б.
7.1.1 Организация рабочего места для монтажа показана на рисунке 7.

1 - траверса; 2 - устанавливаемая ферма; 3
- колонна; 4 - приставная лестница с площадкой;
5 - кран
Рисунок 7 - Организация рабочего места для монтажа ферм
7.1.2 При возведении одноэтажных зданий с шагом колонн 12 м монтаж стропильных ферм и плит покрытия возможно вести параллельно отдельными (дифференцированными) потоками с использованием двух самоходных кранов. При этом кран, монтирующий плиты покрытия, должен двигаться поперечными проходками.
При использовании данного метода необходимо:
- выполнять особую раскладку элементов,
- строго увязывать параллельные потоки;
- соблюдать специальные меры безопасного ведения работ.
7.1.3 Комплексные методы монтажа с предварительным укрупнением стропильных конструкций в пространственные блоки (в том числе конвейерным способом по СТО НОСТРОЙ 2.33.6) с последующим использованием специальных методов монтажа (вертикальный подъем, надвижка) применяются при значительных объемах работ и соответствующем технико-экономическом обосновании.
7.2 Монтаж конструкций может осуществляться непосредственно с транспортных средств («с колес») при отсутствии или ограниченных размерах стройплощадки*. При этом необходимо:
___________
*Стесненные городские условия.
- иметь проект организации монтажных работ в условиях, затрудняющих складирование монтируемых конструкций;
- разработать почасовой график поставки монтируемых конструкций на строящийся объект, увязанный с технологической последовательностью их монтажа;
- выполнить требования раздела 5.
7.3 При монтаже конструкций одноэтажных зданий, как правило, используют самоходные стреловые краны, располагаемые внутри пролета. При этом доставка ферм в пролет должна выполняться непосредственно при доставке ферм на строительную площадку или специальным транспортом с приобъектного склада (после укрупнения).
Предварительная раскладка ферм в пролете должна обеспечить возможность их монтажа без изменения вылета крюка крана при движении крана по оси пролета.
7.4 Процесс поэлементного монтажа ферм включает: подготовительные работы; строповку; подъем и перемещение фермы к месту установки; установку в положение, близкое к проектному; выверку и закрепление изделия в проектном положении.
7.4.1 В ходе подготовительных работ необходимо выполнить:
- проверку наличия на изделии маркировки и ее соответствие проекту;
- визуальную проверку изделия на отсутствие механических повреждений;
- очистку закладных деталей и опорных зон;
- нанесение на изделие монтажной разметки;
- проверку наличия акта освидетельствования (приемки) ранее выполненных работ;
- очистку опорных поверхностей ранее смонтированных конструкций (стен, колонн);
- нанесение разметки, определяющей проектное положение фермы на опорах;
- установку на ранее смонтированные конструкции монтажных площадок с лестницами и устройствами для последующей выверки фермы на опорах;
- оснащение монтируемой фермы необходимыми приспособлениями для монтажа и последующей выверки.
Примечание - Для монтажа ферм применяются следующие приспособления: канаты для корректировки положения фермы при подъеме, страховочный трос для выполнения расстроповки (при отсутствии устройств с дистанционной расстроповкой), крышевая распорка для временного закрепления к ранее смонтированным элементам.
7.4.2 Строповка ферм производится в двух или четырех точках, заданных проектом (см. рисунок 8). Для строповки ферм используют двухветвевые стропы или траверсы с захватами, обеспечивающими дистанционную расстроповку.

а) схема строповки раскосных ферм, б) схема строповки безраскосных ферм
Рисунок 8 - Схемы строповки ферм
Конструкции наиболее широко используемых строповочных устройств для монтажа ферм приведены в приложении В.
7.4.3 Установка ферм в проектное положение должна выполняться с использованием навесных и приставных лестниц с площадками, на которых располагаются монтажники. Для колонн высотой до 8,4 м используют лестницы с несущей конструкцией в виде шпренгеля (см. а), рисунок 9), для колонн высотой до 14,4 м
- лестницы с несущей конструкцией в виде решетчатой фермы (см. б), рисунок 9).
7.4.3.1 Установка ферм в направлении перекрываемого пролета должна выполняться с соблюдением установленных проектом размеров глубины опирания их на опорные конструкции или допустимых зазоров между сопрягаемыми элементами.

а) лестница
с несущей конструкцией в виде шпренгеля;
б) лестница с несущей конструкцией в виде решетчатой фермы
1 - лестница; 2 - площадка; 3 - элемент крепления к колонне
Рисунок 9 - Монтажные лестницы с площадками
7.4.3.2 Установка ферм в поперечном направлении перекрываемого пролета должна выполняться по разметке с совмещением рисок продольных осей устанавливаемых элементов с рисками осей колонн или рисками разбивочных осей.
Совмещение рисок следует выполнять с помощью кондуктора, устанавливаемого на колонну до монтажа фермы (см. рисунок 10).

1 - колонна; 2 - рама кондуктора; 3 - ферма; 4 - зажимные винты
Рисунок 10 - Плоский кондуктор для временного закрепления ферм
7.4.4 Временное крепление первых двух ферм в пролете и их выверку в вертикальной плоскости выполняют с помощью расчалок, закрепляемых на монтажном горизонте к переставным инвентарным якорям или к фундаментам колонн.
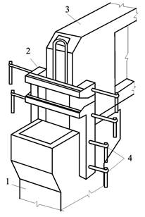
Временное крепление и выверку положения последующих ферм необходимо выполнять с помощью распорок (см. рисунок 11) или крышевого кондуктора (см. рисунок 12) с контролем вертикальности геодезическими приборами.
Примечание - Применение крышевого кондуктора (вместо распорки) повышает безопасность труда монтажников, обеспечивая их переход к месту расстроповки фермы, и сокращает время монтажа ферм.

1 - распорка; 2 - струбцины; 3 - верхние пояса ферм
Рисунок 11 - Инвентарная распорка

1 - тележка; 2 - натяжное устройство; 3 - каретка; 4 -
фиксирующий упор;
5 - стрела; 6 - монтируемая ферма
Рисунок 12 - Крышевой кондуктор для временного крепления и выверки стропильных ферм
7.4.5 Ориентирование фермы при опускании на опорную площадку должно выполняться с помощью пластин-фиксаторов или инвентарных скоб-фиксаторов. Пластины-фиксаторы приваривают к закладным деталям опорных площадок, а скобы-фиксаторы устанавливают согласно разбивочным осям, вынесенным на опорную закладную деталь оголовка колонны.
Примечание - Применение усовершенствованных узлов сопряжений стропильных ферм с колоннами или подстропильными фермами позволяет исключить необходимость выверки фермы в горизонтальной плоскости.
Фермы на опорные поверхности несущих конструкций следует укладывать насухо.
7.4.6 Окончательное закрепление ферм в проектном положении осуществляют путем приварки закладных деталей на опорах фермы к закладным деталям колонн каркаса и закладных деталей плит покрытия к закладным деталям верхнего пояса фермы в соответствии с ГОСТ 10922.
7.4.6.1 Сварка и замоноличивание стыков должно производиться с передвижных инвентарных подмостей, имеющих огражденные площадки (см. рисунок 13).
7.4.6.2 Приемка сварных соединений должна производиться в соответствии с ГОСТ 3242 и ГОСТ 14098.
7.4.6.3 Замоноличивание стыков следует выполнять после проверки правильности установки ферм, приемки сварных соединений элементов в узлах сопряжений и выполнения их антикоррозионного покрытия.
7.4.7 Наклонные расчалки первой и второй ферм (первой ячейки пролета) необходимо снимать по окончании монтажа ячеек, указанных в проекте, и установки в соответствии с проектом связевых элементов, обеспечивающих пространственную жесткость покрытия и каркаса в целом.

Рисунок 13 - Передвижная площадка монтажника
8.1 Сдача выполненных работ по монтажу ферм производится в комплексе со сдачей-приемкой всех видов общестроительных работ по возведению здания в целом или его отдельных частей.
8.2 В ходе сдачи-приемки проверяются полнота и правильность оформления исполнительной документации в соответствии с РД 11-02-2006 [1] и РД 11-05-2007 [2]. Оценка качества выполненных работ на объекте производится с учетом имевшихся нарушений, отраженных в исполнительной документации.
8.3 Оценка качества монтажа отдельных элементов производится по результатам измерений, позволяющих определить отклонения положения ферм от проектных геометрических параметров с погрешностью, не превышающей 20 % от предельно допустимого отклонения (см. 8.4). Выбор средств измерений осуществляется в соответствии с ГОСТ 23616 и ГОСТ 26433.1.
8.4 Отклонения смонтированных ферм от их проектного положения не должны превышать предельных отклонений, составляющих:
- 8 мм - при совмещении ориентиров (рисок геометрических осей, граней) в нижнем сечении установленных элементов с установочными ориентирами;
- 6 мм - при совмещении ориентиров (рисок геометрических осей, граней) в верхнем сечении установленных элементов с установочными ориентирами при высоте элемента на опоре до 1,0 м и 8 мм - при высоте элемента на опоре от 1,0 до 1,6 м.
Отклонения от симметричности (половина разности глубины опирания концов элемента) в направлении перекрываемого пролета не должны превышать при длине элемента:
от 4 до 8 м - 6 мм;
от 8 до 16 м - 8 мм;
свыше 16 м - 10 мм.
Отклонения в расстоянии между осями верхних поясов ферм в середине пролета не должны превышать 60 мм.
9.1 Демонтаж фермы выполняется только после демонтажа плит покрытия, опирающихся на эту ферму.
Примечание - Необходимость демонтажа ферм может возникнуть при повреждении в процессе возведения, эксплуатации, реконструкции или при разборке здания.
Демонтаж плит покрытий выполняется с одновременной установкой крышевых распорок (не менее двух на одну ячейку), которые снимают после прорезки сварных стыков на опорах фермы, незначительного смещения фермы на опорах с помощью струбцины и строповки.
9.2 Демонтаж выполняется на основе проекта производства работ, обеспечивающего безопасное ведение работ.
9.3 Демонтаж стропильных ферм при реконструкции зданий целесообразно выполнять с использованием крана целиком, без деления фермы на части.
9.4 В проекте демонтажа железобетонных изделий должна быть предусмотрена утилизация железобетонных элементов.
Примечание - Рекомендации по утилизации демонтируемых железобетонных изделий, включая фермы, приведены в пункте 9.5 СТО НОСТРОЙ 2.7.55.
10.1 Состав работ по консервации недостроенного объекта зависит от предполагаемого срока консервации, стадии и периода производства работ (зимний, летний) и определяется в специально разработанном проекте производства работ.
10.2 Для консервации недостроенного объекта с покрытием из железобетонных стропильных ферм необходимо соблюдать следующие требования:
- количество смонтированных ферм должно обеспечивать монтаж элементов покрытия (плиты, прогоны и т.д.) не менее чем на одну ячейку;
- устойчивость ферм в проектном положении должна быть обеспечена элементами покрытия (плиты, прогоны и т.д.) без временных фиксирующих устройств;
- должна быть обеспечена пространственная устойчивость покрытия и каркаса здания;
- минимальное количество элементов покрытия (плит, прогонов и т.д.) определяется в специальном проекте в зависимости от условий площадки строительства.
10.3 До консервации объекта в обязательном порядке должны быть выполнены обратная засыпка пазух фундаментов и защита от замокания материалов и конструкций, изменяющих свои свойства при насыщении водой, особенно в зимний период во время ее замерзания.
10.4 При консервации объекта на зимний период необходимы устройство временного кровельного покрытия и защита от возможности попадания влаги внутрь здания.
Для железобетонных стропильных ферм (номенклатура приведена в приложении Г) не допускается скопление влаги в зонах расположения закладных деталей и сварных соединений с несущими конструкциями.
10.5 В зимний период должна быть организована систематическая проверка сохранности защитных конструкций.
10.6 При расконсервации объекта до возобновления строительных работ необходимо выполнить обследование всех строительных конструкций в соответствии с ГОСТ Р 53778 с составлением дефектной ведомости, выполнением необходимых поверочных расчетов, определением категории технического состояния конструкций и разработкой рекомендаций по устранению обнаруженных дефектов и повреждений.
11.1 Монтажники и такелажники при производстве работ обязаны выполнять требования безопасности согласно СП 12-135-2003 [4].
11.2 Погрузочно-разгрузочные работы следует выполнять механизированным способом, используя подъемно-транспортное оборудование и средства малой
механизации.
11.3 Строительная площадка, расположенная в населенном пункте, должна быть ограждена в соответствии с требованиями ГОСТ 23407.
11.4 Средства подмащивания, приставные лестницы и другие приспособления должны обеспечивать безопасность производства работ и отвечать требованиям ГОСТ 26887; ГОСТ 24259; ГОСТ 24258.
11.5 Рабочие места и проходы к ним, размещенные на перекрытиях или покрытиях, расположенных на высоте более 1,3 м и на расстоянии менее 2 м от границы перепада по высоте, должны иметь защитные или страховочные ограждения, а при расстоянии более 2 м - сигнальные ограждения.
11.6 После установки конструкции в проектное положение необходимо произвести ее закрепление (постоянное или временное) согласно требованиям проекта. При этом должны быть обеспечены устойчивость и неподвижность смонтированной конструкции при воздействии монтажных и ветровых нагрузок. Крепление следует производить за ранее закрепленные анкера или конструкции, обеспечивая геометрическую неизменяемость монтируемого здания (сооружения).
11.7 Монтаж ферм на свежеуложенную кладку не допускается.
Примеры распространенных дефектов ферм массового применения
А.1 В таблице А.1 приведены примеры дефектов ферм, которые охватывают только наиболее часто встречающиеся.
А.2 Причины возникновения дефектов ферм, приведенных в таблице А.1, могут быть уточнены после проведения экспертизы.
Таблица А.1
Выбор кранов для монтажа строительных конструкций
Б.1 Исходными данными при выборе кранов являются габариты и объемно-планировочное решение здания, параметры и рабочее положение грузов, технология монтажа, условия производства работ. При этом рассматриваются как базовые модели кранов, так и их модификации с различными видами сменного оборудования, приведенные в приложении Д СТО НОСТРОЙ 2.7.55.
Б.2 Выбору кранов предшествует определение организационных методов монтажа, характеризующих направление и последовательность установки элементов, установление места расположения и схемы движения кранов.
Б.3 Выбор самоходного стрелового крана осуществляют по двум параметрам: грузоподъемности и высоте подъема крюка. Вылет стрелы крана при этом близок к минимальному значению, при котором кран имеет минимальный запас по грузоподъемности и обеспечивает лучшие экономические показатели монтажного процесса.
Расчетная схема выбора крана показана на рисунке Б.1.
Б.3.1 Грузоподъемность Q, т, определяется по формуле:
|
Q = qэл + qcnh |
(Б.1) |
где qэл - масса наиболее тяжелого элемента, т;
qcnh - суммарная масса строповочного устройства, монтажных приспособлений, элементов усиления, т.
Б.3.2 Высота подъема крюка Н, м, определяется по формуле:
|
H = h1 + h2 + h3 + h4, |
(Б.2) |
где h1 - высота последнего монтажного горизонта от уровня стоянки крана, м;
h2 - высота подъема элемента над опорой (h2 = 1 м);
h3 - высота (толщина) элемента, м;
h4 - высота строповки, м.
Б.3.3 Вылет стрелы L, м, - вылет крюка, близкий к минимальному значению.
Б.4 Поскольку стропильные фермы монтируют, как правило, в одном потоке с плитами покрытий, при использовании самоходных стреловых кранов требуется наличие на нем гуська. После выбора крана для монтажа фермы (на основном крюке) проверяют его пригодность для монтажа плиты покрытия (вспомогательный крюк на гуське).

Н - высота подъема крюка; h1 - высота последнего монтажного горизонта от уровня стоянки крана; h2 - высота подъема элемента над опорой (h2 = 1 м); h3 - высота (толщина) элемента; h4 - высота строповки; L - вылет стрелы
Рисунок Б.1 - Расчетная схема для выбора крана для монтажа ферм
Строповочные приспособления для монтажа ферм
В.1 Для подъема ферм используются следующие приспособления:
- строповочные устройства (см. рисунок В.1);
- полуавтоматическое захватное устройство (см. рисунок В.2);
- двухветьевой строп 2СТ-10/4000 (см. рисунок В.3), который используется для монтажа стропильных ферм серий 1.463-3 [5] и ПК-01-129/78 [6], массой до 10 т, длиной 18 м в соответствии с технологической схемой [7];
- траверса универсальная (см. рисунок В.4), используется для монтажа стропильных ферм серий 1.463-3 [5] и ПК-01-129/78 [6] длиной до 24 м, массой до 12 т (см. технологические схемы [7]).

1 - ферма; 2 - траверса; 3 - полуавтоматический металлический захват
Рисунок В.1 - Строповка железобетонных ферм

1 - захват; 2 - жесткая траверса; 3 - кабель
Рисунок В.2 - Полуавтоматическое захватное устройство для монтажа железобетонных ферм

1 - строп; 2 - пружинный замок Пр8; 3 - канат для расстроповки
Рисунок В.3 - Строп двухветьевой 2СТ-10/4000 (ВНИПИ Промстальконструкция, шифр 29700-38и, -100, -103, -109 по технологическим схемам [7])

1 - траверса; 2 - строп ВК-4/5000; 3 - автоматичесий захват
Рисунок В.4 - Траверса универсальная (ЦЭКБстроймехавтоматика ЦНИИОМТП, проект траверсы 105-3.00.000, проект захватов 1664.00.000 по технологическим схемам [7])
Номенклатура ферм массового применения
Г.1 В таблице Г.1 приведены характеристики ферм массового применения для оценки их габаритов и весовых показателей.
Таблица Г.1
|
Эскиз изделия |
Марка фермы |
Размеры, мм |
Масса, т |
|||
|
L |
h |
h1 |
b |
|||
|
Железобетонные безраскосые фермы пролетом 18 и 24 по ГОСТ 20213, серия 1.463-3 [5] |
||||||
|
|
ФБ181-В… ФБ181-4А1У |
17940 |
200 |
220 |
240 |
6,50 |
|
ФБ18II-4П… ФБ1811-6А1У ФБН18II-1АIIIВ… ФБН18II-6А1У |
250 |
280 |
240 |
7,70 |
||
|
ФБ18III-7П… ФБ18III-9А1У ФБН18III-7АIIIВ… ФБН18III-9А1У |
250 |
280 |
280 |
9,20 |
||
|
ФБ181У-9П… ФБ181У-13А1У ФБН181У-9АIIIВ… ФБН181У-14А1У |
300 |
340 |
280 |
10,50 |
||
|
|
ФБ241-1П...ФБ241-3А1У |
23940 |
200 |
220 |
240 |
9,20 |
|
ФБ24II-3П... ФБ24II-5А1У ФБН24II-1АIIIВ... ФБН24II-5А1У |
250 |
280 |
240 |
10,50 |
||
|
ФБ24III-5П... ФБ24III-7А1У ФБН24III-5АIIIВ... ФБН24III-7А1У |
300 |
340 |
240 |
11,70 |
||
|
ФБ241У-ВП... ФБ241У-10А1У ФБН241У-8АIIIВ... ФБН241У-10А1У |
300 |
340 |
280 |
14,20 |
||
|
ФБ24У-11П... ФБ24У-14А1У ФБН24У-11АIIIВ... ФБН24У-15А1У |
420 |
460 |
280 |
18,20 |
||
|
|
ФБМ181-1В... ФБМ181-4А1У |
17940 |
200 |
220 |
240 |
6,90 |
|
ФБМ18II-4П... ФБМ18II-6А1У ФБНМ18II-1АIIIВ... ФБНМ18II-6А1У |
250 |
280 |
240 |
8,10 |
||
|
ФБМ18III-7П... ФБМ18III-9А1У ФБНМ18III-7АIIIВ... ФБНМ18III-9А1У |
250 |
280 |
280 |
9,80 |
||
|
ФБМ181У-9П... ФБМ181У-13А1У ФБНМ181У-9АIIIВ... ФБНМ181У-14А1У |
300 |
340 |
280 |
11,00 |
||
|
|
ФБМ241-1П… ФБМ241-3А1У |
23940 |
200 |
220 |
240 |
9,80 |
|
ФБМ24II-3П… ФБМ24II-5А1У ФБНМ24II-1АIIIВ… ФБНМ24II-5А1У |
250 |
280 |
240 |
11,00 |
||
|
ФБМ24III-5П… ФБМ24III-7А1У ФБНМ24III-5АIIIВ… ФБНМ24III-7А1У |
300 |
340 |
240 |
12,20 |
||
|
ФБМ241У-8П… ФБМ241У-10А1У ФБНМ241У-8АIIIВ... ФБНМ241У-10А1У |
300 |
340 |
280 |
15,00 |
||
|
ФБМ24У-11П… ФБМ24У-14А1У ФБНМ24У-11АIIIВ. ФБНМ24У- 15А1У |
420 |
460 |
280 |
19,00 |
||
|
Железобетонные сегментные фермы для покрытий зданий с пролетом 18 и 24 м по ГОСТ 20213, серия ПК-01-129/78 [6] |
||||||
|
|
1ФС18-1АIIIв… 2ФС18-2АIIIв-а 1ФС18-4/5АIIIвВ… 2ФС18-6АIIIвВ |
17940 |
- |
- |
240 |
4,50 |
|
2ФС18-2А1У-а... 3ФС18-5К7 2ФС18-6А1УВ... 3ФС18-9АУВ |
250 |
6,00 |
||||
|
3ФС18-5АIIIв-а… 4ФС18-6/7АIIIв-Н 3ФС18-9К7В… 4ФС18-11АIIIвВ-Н |
250 |
7,80 |
||||
|
4ФС18-6/7А1У-Н… 4ФС18-12АтпУ-Н 4ФС18-11А1УВ-Н… 4ФС18-12АтпУВ-Н |
300 |
9,40 |
||||
|
|
1ФС24-4АIIIвВ... 1ФС24-5АУВ-а |
23940 |
- |
- |
250 |
9,20 |
|
1ФС24-5К7В-а… 2ФС24-6А1УВ-Н |
200 |
9,20 |
||||
|
2ФС24-6АтпУВ-Н… 3ФС24-9А1УВ |
250 |
11,20 |
||||
|
3ФС24-9АУВ… 4ФС24-11А1УВ-Н |
300 |
14,90 |
||||
|
4ФС24-11АтпУВ-Н… 4ФС24-12АтпУВ-Н |
350 |
18,6 |
||||
|
Железобетонные стропильные фермы для покрытий зданий с уклоном асбестоцементной кровли 1:4 по ГОСТ 20213, серия 1.063.1 - 4 [8] |
||||||
|
|
1ФТ6-1АIII... 1ФТ6-4АIII |
5960 |
- |
- |
200 |
1,00 |
|
|
1ФТ9-2АIIIВ... 1ФТ9-6АIII |
8960 |
- |
- |
200 |
1,80 |
|
|
1ФТ12-1АIIIВ... 1ФТ12-6АV |
11960 |
- |
- |
200 |
2,70 |
|
|
1ФТ15-1АIIIВ... 1ФТ15-6АV |
14960 |
- |
- |
220 |
5,30 |
|
|
1ФТ18-1АIIIВ... 1ФТI8-2АV |
17960 |
- |
- |
220 |
5,60 |
|
2ФТ18-4АIIIВ… 2ФТ18-6АV |
- |
- |
240 |
6,40 |
||
|
[1] Руководящий документ РД 11-02-2006 Требования к составу и порядку ведения исполнительной документации при строительстве, реконструкции, капитальном ремонте объектов капитального строительства и требования, предъявляемые к актам освидетельствования работ, конструкций, участков сетей инженерно-технического обеспечения |
|
[2] Руководящий документ РД 11-05-2007 Порядок ведения общего и (или) специального журнала учета выполнения работ при строительстве, реконструкции, капитальном ремонте объектов капитального строительства |
|
[3] Стандарт ОАО «Конструкторско-технологическое бюро бетона и железобетона» СТО 02495307-005-2008 Бетоны. Определение прочности методом отрыва со скалыванием |
|
[4] Свод правил СП 12-135-2003 Безопасность труда в строительстве. Отраслевые типовые инструкции по охране труда |
|
[5] Типовая РД серия 1.463-3 Железобетонные предварительно напряженные безраскосные фермы пролетом 18 и 24 м для покрытий зданий со скатной кровлей |
|
[6] Типовая РД серия ПК-01-129/78 Железобетонные предварительно напряженные сегментные фермы для покрытий зданий с пролетом 18 и 24 м |
|
[7] Технологические схемы возведения одноэтажных промышленных зданий. Выпуск II. Монтаж надземной части. Утвержден в Госстрой СССР (01.01.1985) |
|
[8] Типовая РД серия 1.063.1-4 Фермы стропильные железобетонные пролетом 6, 9, 12, 15 и 18 м для покрытий зданий с уклоном асбестоцементной кровли 1:4 |
|
Ключевые слова: фермы стропильные сборные железобетонные для покрытий, технические требования, монтаж, контроль выполнения |