Меню
Навигация
Novatika

Технологические карты на сооружение ВЛ и ПС 35 - 1500 кВ. Монтаж проводов и тросов на двухцепных ВЛ 220 кВ с унифицированными опорами

Технологические карты предназначены для использования в качестве руководства при производстве работ и составления организационно-технологической документации (ПОС и ППР) по монтажу проводов и грозозащитных тросов на двухцепных ВЛ 220 кВ, сооружаемых в нормальных условиях.

Обозначение: Технологические карты К-5-29
Название рус.: Технологические карты на сооружение ВЛ и ПС 35 - 1500 кВ. Монтаж проводов и тросов на двухцепных ВЛ 220 кВ с унифицированными опорами
Статус: не установлен срок действия
Дата актуализации текста: 05.05.2017
Дата добавления в базу: 01.09.2013
Утвержден: 14.11.1988 Оргэнергострой
Ссылки для скачивания:

МИНИСТЕРСТВО ЭНЕРГЕТИКИ И ЭЛЕКТРИФИКАЦИИ СССР
Главное техническое управление по строительству
Всесоюзный институт по проектированию организации энергетического строительства
"ОРГЭНЕРГОСТРОЙ"

Тема № 5628 плана ЦО 1988 г.

ТЕХНОЛОГИЧЕСКИЕ КАРТЫ НА СООРУЖЕНИЕ
ВЛ И ПС 35 ÷ 1500 кВ

Раздел 19

Монтаж проводов и тросов ВЛ 35 ÷ 330 кВ

СБОРНИК ТЕХНОЛОГИЧЕСКИХ КАРТ

К-5-29

Монтаж проводов и тросов на двухцепных ВЛ 220 кВ с унифицированными опорами

РАЗРАБОТАНА

 

Институтом "Оргэнергострой"

 

Заместитель директора института

Г.Н. Эленбоген

Начальник отдела

В.А. Полубков

Главный специалист

Е.Н. Коган

Главный инженер проекта

Н.А. Войнилович

Москва 1988

СОДЕРЖАНИЕ СБОРНИКА ТЕХНОЛОГИЧЕСКИХ КАРТ

Общая часть

Технологическая карта К-5-29-1. Раскатка проводов и грозозащитного троса с подъемом на промежуточные опоры

Технологическая карта К-5-29-2. Натягивание, визирование и крепление грозозащитного троса

Технологическая карта К-5-29-3. Натягивание, визирование и промежуточная поданкеровка грозозащитного троса

Технологическая карта К-5-29-4. Натягивание, визирование и крепление проводов

Технологическая карта К-5-29-5. Натягивание, визирование и промежуточная поданкеровка проводов

Технологическая карта К-5-29-6. Перекладка проводов и грозозащитного троса из раскаточных роликов в поддерживающие зажимы

Технологическая карта К-5-29-7. Устройство якоря для промежуточной поданкеровки проводов и грозозащитного троса

ОБЩАЯ ЧАСТЬ

1. Технологические карты предназначены для использования в качестве руководства при производстве работ и составления организационно-технологической документации (ПОС и ППР) по монтажу проводов и грозозащитных тросов на двухцепных ВЛ 220 кВ, сооружаемых в нормальных условиях.

Карты разработаны в соответствии с "Методическими указаниями по разработке типовых технологических карт в строительстве" 1987 г.

2. В состав работ, рассматриваемых картами, входит:

- раскатка проводов и грозозащитного троса с подъемом на промежуточные опоры;

- натягивание, визирование и крепление проводов и грозозащитного троса на анкерных опорах;

- натягивание, визирование и крепление проводов и грозозащитного троса в длинных анкерных пролетах с промежуточной поданкеровкой;

- перекладка проводов и грозозащитного троса из раскаточных роликов в поддерживающие зажимы;

- устройство якорей для промежуточной поданкеровки проводов и грозозащитного троса.

3. Технологические карты разработаны для унифицированных опор ВЛ 220 кВ следующих типов:

металлических П 220-2 , У 220-2.

Конструкции опор приняты по каталогу института "Энергосетьпроект" № 5713тм-т3.

Общие виды опор приведены на рис. 0-1.

4. В картах принята подвеска сталеалюминиевых проводов по ГОСТ 839-80 сечением до 400 мм2 и грозозащитного троса С-70 по ГОСТ 3063-80 при нормальном тяжении.

Конструкции натяжного и поддерживающего крепления проводов и грозозащитного троса приняты по типовому проекту Московского отделения СКТБ ПО "Союзэлектросетьизоляция" - "Подвески изолирующие 35 - 750 кВ. Типовой проект. Альбом 2. Изолирующие подвески для унифицированных опор ВЛ 35 ÷ 750 кВ".

Общие виды подвесок приведены на рис. 0-2 ÷ 0-5.

5. До начала монтажа проводов и тросов должны быть выполнены следующие работы, не учитываемые настоящими технологическими картами:

- установка, выверка, полное закрепление и заземление всех опор в пролете, подлежащем монтажу;

- переустройство пересечений согласно проекту;

- расчистка трассы ВЛ от леса, кустарника, валунов и других предметов, мешающих производству монтажных работ;

- комплектование арматуры, изоляторов с отбраковкой согласно техническим условиям;

- развозка по пикетам барабанов с проводом и тросом, арматуры и изоляторов в соответствии с проектом производства работ.

6. Работы по подъему на опоры, натягиванию, визированию и закреплению производятся в следующей последовательности:

- грозозащитный трос,

- верхние провода,

- средние провода,

- нижние провода.

7. Установку соединительных и натяжных зажимов, проводов и грозозащитных тросов следует вести в соответствии со сборником технологических карт К-5-24.

8. Технико-экономические показатели в картах подсчитаны, исходя из односменной работы на равнинной местности в летний период. Продолжительность смены 8,2 часа.

При привязке технологических карт к конкретному объекту необходимо уточнить отдельные технологические операции, объемы работ, калькуляции трудовых затрат и другие показатели в соответствии с проектом ВЛ и условиями строительства.

При строительстве ВЛ в условиях, отличающихся от нормальных, на затраты труда и механизмов следует применять коэффициенты, приведенные в "Вводной части" ЕНиР сборник Е23 выпуск 3.

9. Картами предусмотрено ведение работ специализированными звеньями комплексной бригады при поточном строительстве ВЛ. Количество звеньев определяется в зависимости от сроков строительства на основании графиков, приведенных в картах. Графики составлены с учетом комплексного характера работы бригады, включающей электролинейщиков и машинистов, причем во время технологического простоя машины машинист работает как электролинейщик.

10. При составлении калькуляций принято количество промежуточных опор на 1 км ВЛ - 2,5.

Количество соединений проводов опрессованием - 4 соединения на 1 км ВЛ.

Соединение грозозащитных тросов С-70 - 0,5 шт. на 1 км ВЛ.

11. Контроль качества работ по монтажу проводов и грозозащитных тросов должен производиться в соответствии с требованиями СНиП 3.05.06-85.

Независимо от результата контроля, проведенного при приемке изделий на предприятии-изготовителе или комплектовочной базе, необходимо на пикете непосредственно перед монтажом произвести внешний осмотр.

При осмотре изоляторов проверяется отсутствие на поверхности трещин, отколов, грязи, а также покачивания и поворота стальных выпусков относительно заделки.

У линейной арматуры проверяется отсутствие трещин, раковин и повреждений оцинковки, свободное навертывание гаек на всю длину резьбы.

При механическом повреждении многопроволочного провода (обрыв отдельных проволок) должны устанавливаться бандаж, ремонтная муфта или соединительный зажим. Виды ремонтов поврежденных проводов приведены в таблице № 0-2. При местном повреждении проволок (вмятинах на глубину, превышающую радиус проволоки) вид ремонта провода следует определять по таблице 0-2, принимая, что три проволоки с местным повреждением соответствуют двум оборванным проволокам. При выпучивании верхнего повива провода или троса на длине l мм, на поврежденное место следует наложить одну ремонтную муфту длиной l + 100 мм, или две муфты меньшей длины с промежутком между ними 20 мм.

Контроль качества смонтированных соединительных или натяжных зажимов, а также ремонтных муфт производится по допускам, приведенным в сборнике технологических карт К-5-24.

Схема операционного контроля качества работ при монтаже проводов и грозозащитных тросов приведена в таблице № 0-1.

Результаты пооперационного контроля, выполняемого в ходе монтажа проводов, фиксируются в журналах установленной формы (приложения 1, 2, 3, 4, 5).

Таблица № 0-1

Наименование процессов, подлежащих контролю

Предмет контроля

Инструмент и способ контроля

Периодичность контроля

Ответственный за контроль

Критические критерии качества

Визирование проводов и троса

Стрела провеса провода (троса)

Визирная рейка, бинокль

Сплошной в процессе работы

Мастер

Отклонение стрелы провеса до ±5 % от проектной величины

Натягивание и крепление проводов

Расположение различных фаз относительно друг друга

Визирная рейка, бинокль

Сплошной в процессе работы

Мастер

Разрегулировка различных фаз относительно друг друга до 10 % от стрелы провеса

Перекладка проводов

Вертикальность поддерживающей гирлянды

Теодолит

Сплошной в процессе работы

Мастер

Отклонение поддерживающей гирлянды вдоль ВЛ от вертикали 220 мм

Таблица № 0-2

Число проволок в проводе, шт.

Число оборванных или отсутствующих проволок на длине до 15 м

Вид ремонта

6 - 19

1

Оборванные проволоки подогнать под один размер, а на концах установить ремонтные муфты.

24 - 30

до 3

37 - 54

« 4

61 - 96

« 5

6 - 7

2

18 - 19

3 - 5

Оборванные проволоки подогнать под один размер, а на поврежденном участке вплести проволоки на одну меньше числа отсутствующих, после чего на месте обрыва проволок установить ремонтные муфты иди бандаж.

24 - 30

4 - 8

37 - 54

5 - 10

61 - 96

6 - 13

6 - 7

3

Поврежденный участок вырезать. Установить соединительный зажим.

18 - 19

6

24 - 30

9

37 - 54

11

61 - 96

14

12. При выполнении работ по монтажу проводов и грозозащитного троса на ВЛ 220 кВ должны строго соблюдаться правила техники безопасности, приведенные в следующих нормативных документах:

СНиП III-4-80 "Техника безопасности в строительстве";

"Правила устройства и безопасной эксплуатации грузоподъемных кранов" Госгортехнадзор СССР, 1970;

"Правила техники безопасности при производстве электромонтажных работ на объектах Минэнерго СССР" Москва, 1984 г.;

Инструктивные указания по технике безопасности при эксплуатации тракторов и других механизмов, смонтированных на базе тракторов, Информэнерго 1977 г.;

Типовая инструкция по охране труда для рабочих электролинейщиков на строительстве воздушных линий электропередачи, Москва 1987 г.;

"Правила техники безопасности при эксплуатации электроустановок", Москва 1980 г.;

Инструкция по организации и производству работ повышенной опасности в строительно-монтажных организациях Минэнерго СССР, Москва 1987 г.;

также требования по технике безопасности, изложенные ниже:

- не допускается использование промежуточных опор и фундаментов под ними в качестве временных якорей;

- провода и тросы отдельных смонтированных участков длиной до 3 км должны закорачиваться и заземляться;

- при защемлении (заедании) проводов (тросов) в блоках освобождать их ходом трактора запрещается;

- барабаны с проводами и тросами должны быть прочно установлены на раскаточных устройствах, оборудованных надежными приспособлениями для торможения барабанов;

- во время раскатки запрещается поправлять на барабане витки повода или троса на ходу, а машинисту трактора покидать кабину;

- скорость передвижения трактора, осуществляющего раскат не должна превышать 5 км/ч;

- запрещается оставлять провода и тросы, зацепившиеся за пни и другие предметы. Освобождение зацепившегося провода или троса разрешается производить только после приостановки раскатки и ослабления тяжения. При этом находиться следует с внешней стороны угла, работая "от себя";

- поднимаемые провода и тросы должны лежать в раскаточных роликах свободно, без натяжения, для чего следует образовать слабину.

Перед подъемом провода должны быть отсоединены от трактора;

- демонтируемая монтажная оснастка и приспособления должны спускаться с опоры на канатах или веревках, сбрасывать их с опоры запрещается;

- при натягивании, визировании и перекладке проводов (тросов) не разрешается находиться под ними, а также рядом с тяговыми механизмами и опорами;

- границы опасной зоны определяются расстоянием 10 м по обе стороны от монтируемого провода (троса) в плане, возле опоры в радиусе, равном двойной длине натяжной гирлянды;

- при устройстве якорей для промежуточной поданкеровки следует уточнить их расположение с учетом местных условий. Не допускается размещать их в затапливаемых поймах, на участках с насыпным грунтом, в местах, подверженных оползням и т.п.;

- при натягивании проводов и тросов для визирования должна быть обеспечена двухсторонняя связь между рабочими, осуществляющими наблюдение за подъемом проводов и тросов в пролете, прохождением соединительных зажимов по раскаточным роликам, пересечением дорог и других препятствий;

- дополнительные требования техники безопасности, связанные с конкретными условиями производства работ (работа в зоне влияния действующей ВЛ, сложный рельеф местности и погодно-климатические условия работы) должны быть оговорены в ППР при привязке технологических карт к объекту.

13. Технико-экономические показатели монтажа проводов и грозозащитного троса для конкретных ВЛ 220 кВ подсчитываются в ППР на основании показателей, приведенных в картах настоящего сборника с учетом местных условий, типа опор, гирлянд, длины пролетов и т.п.

Продолжительность выполнения работ и выработка на одного рабочего определяются при составлении графика производства работ для конкретной ВЛ, исходя из заданных сроков строительства.

Описание: image2

Рис. 0-1. Двухцепные металлические опоры ВЛ 220 кВ

Описание: image3

Рис. 0-2. Поддерживающие изолирующие подвески троса С-70 к стальным опорам BЛ 220 кВ

1 - узел крепления для поддерживающих подвесок КГП-7-3; 2 - серьга специальная СРС-7-15;
3 - рог разрядный РР-156; 4 - изолятор подвесной; 5 - ушко однолапчатое У1-7-16;
6 - зажим поддерживающий ПГН-2-6

Описание: image4

Рис. 0-3. Поддерживающие изолирующие подвески сталеалюминиевых
проводов АС240/32, АС400/51 к промежуточным опорам ВЛ 220 кВ

Масса - 56,9 кг
1 - узел крепления для поддерживающих подвесок КГП-16-3;
2 - звено промежуточное специальное вывернутое ПРСв-7-1;
3 - звено промежуточное монтажное ПТМ-7-3; 4 - серьга СР-7-16; 5 - изолятор подвесной;
6 - зажим поддерживающий ПГН-5-3Б.

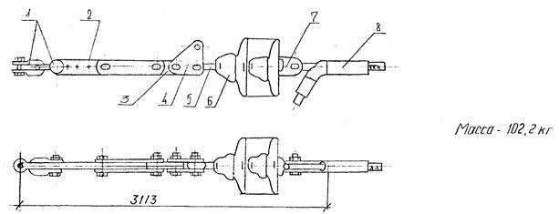
Описание: image5

Рис. 0-4. Натяжные изолирующие подвески троса С-70 к анкерно-угловым
стальным опорам ВЛ 220 кВ

1 - скоба СК-12-1А; 2 - серьга СРСД-12-16; 3 - изолятор подвесной; 4 - ушко однолапчатое У1-12-16;
5 - зажим натяжной НС-70-3; 6 - рог разрядный РР-156

Описание: image6

Рис. 0-5. Натяжные изолирующие подвески сталеалюминиевых проводов АС400/51
к анкерно-угловым опорам ВЛ 220 кВ

1 - скоба СК-16-1А; 2 - звено промежуточное регулируемое ПРР-16-1;
3 - звено промежуточное прямое ПР-16-6; 4 - звено промежуточное монтажное ПТМ-16-3;
5 - серьга СР-16-20; 6 - изолятор подвесной; 7 - ушко двухлапчатое У2-16-20;
8 - зажим натяжной НАС-450-1