Меню
Навигация
OT-GURU
Novatika
Novatika

Технологическая карта на устройство каркасно-обшивных перегородок

Технологическая карта распространяется на производство работ по устройству каркасно-обшивных перегородок с применением металлического каркаса и устройством тепло-звукоизолирующего слоя или без него, обшивкой гипсокартонными листами разной толщины.

Обозначение: Технологическая карта 7347 ТК
Название рус.: Технологическая карта на устройство каркасно-обшивных перегородок
Статус: не установлен срок действия
Дата актуализации текста: 05.05.2017
Дата добавления в базу: 01.09.2013
Дата введения в действие: 16.12.1999
Утвержден: 16.12.1999 ОАО ПКТИпромстрой (PKTIpromstroy OAO )
Опубликован: ОАО ПКТИпромстрой (1999 г. )
Ссылки для скачивания:

Открытое акционерное общество

Проектно-конструкторский и технологический институт промышленного строительства

ОАО ПКТИпромстрой

 

ТЕХНОЛОГИЧЕСКАЯ КАРТА
НА УСТРОЙСТВО КАРКАСНО-ОБШИВНЫХ
ПЕРЕГОРОДОК

 

7347 ТК

 

 

1999

 

УТВЕРЖДАЮ

Генеральный директор

__________С.Ю. Едличка

«16» декабря 1999

Главный инженер

___________ А.В. Колобов

Исполнители

___________ С.Я. Эпштейн

___________ Е.В. Покровская

Технологическая карта на устройство каркасно-обшивных перегородок содержит решения по организации и технологии строительного процесса, обеспечения качества работ, технике безопасности и охране труда, потребность в материально-технических ресурсах.

В технологической карте приведены:

- область применения;

- организация и технология строительного процесса;

- требования к качеству и приемке работ;

- техника безопасности и охрана труда, экологическая и пожарная безопасность;

- потребность в материально-технических ресурсах;

- технико-экономические показатели.

Технологическая карта предназначена для производителей работ, мастеров и бригадиров, работников технического надзора заказчика, а также инженерно-технических работников строительных и проектных организаций.

Технологическую карту разрабатывали:

Эпштейн С.Я., Покровская Е.В. - исполнители;

Обухова Л.В., Покровская Е.В., Савина О.А. - компьютерная обработка;

Бычковский Б.И. - корректура и нормоконтроль;

к.т.н. Шахпаронов В.В. - научно-методическое руководство;

к.т.н. Едличка С.Ю. - общее руководство.

Технологическая карта не заменяет ППР. (см. СНиП 3.01.01-85*)

 

1. ОБЛАСТЬ ПРИМЕНЕНИЯ

1.1. Технологическая карта распространяется на производство работ по устройству каркасно-обшивных перегородок с применением металлического каркаса и устройством тепло-звукоизолирующего слоя или без него, обшивкой гипсокартонными листами разной толщины.

Каркасно-обшивные перегородки применяют при строительстве и реконструкции зданий гражданского и промышленного назначения, в которых постоянная относительная влажность воздуха не превышает 70 %, т.е. в зданиях и сооружениях с сухим и нормальным влажностным режимом.

1.2. В настоящей карте рассматриваются два типа перегородок: П-2 - с применением металлического каркаса, обшитого с двух сторон гипсокартонными листами; ПМ-2 - с применением металлического каркаса, с обшивкой гипсокартонными листами с двух сторон, с укладкой утеплителя (рисунок 1).

1.3. В состав рассматриваемых картой работ включены:

- монтаж металлического каркаса;

- установка металлических дверных коробок;

- устройство теплозвукоизоляционного слоя;

- обшивка металлического каркаса гипсокартонными листами.

1.4. Металлический каркас перегородок, рассматриваемый в карте, состоит из горизонтальных направляющих и вертикальных стоек из гнутых профилей, для изготовления которых принята тонколистовая оцинкованная сталь, поставляемая по ГОСТ 14918-80*.

Для изготовления метизов принята стальная углеродистая проволока ПЗ, 3.6, поставляемая по ГОСТ 5663-79*. Метизы предварительно термообрабатываются.

1.5. Гипсокартонные листы, используемые для обшивки металлического каркаса, имеют толщину 14 - 25 мм, в соответствии с ГОСТ 6266-97. Листы состоят из слоя гипса, армированного стекловолокном с пенообразующими поверхностно-активными добавками, оклеенного с двух сторон картоном.

1.6. Для тепло-звукоизоляции перегородок применяются плиты из минеральной ваты на синтетическом связующем по ГОСТ 9573-96 (δ = 50 мм, gс = 100 ÷ 150 кг/м3). Стыки гипсокартонных листов делают вразбежку.

ТИП П-2

ТИП ПМ-2

Рисунок 1 - Перегородки из гипсокартонных листов по металлическому каркасу.

1.7. Заделка примыкания перегородок к перекрытиям предусматривает применение:

- мастики герметизирующей КН-3 с окаймлением торца гипса буртиком;

- мастики герметизирующей КН-3 с буртиком, приклеенным к перекрытию клеем К-433 (применяется при двухслойной обшивке);

- мастики герметизирующей с последующей проклейкой бумажной или тканевой лентой;

- буртика торцевого из поливинилхлорида.

1.8. Масса одного квадратного метра каркасно-обшивной перегородки в зависимости от конструкции составляет от 13,3 кг до 105,2 кг.

Индекс изоляции воздушного шума - от 28 до 55 дБ.

1.9. Привязка технологической карты к конкретным объектам и условиям производства работ состоит в уточнении объемов работ, данных потребности в трудовых и материально-технических ресурсах.

2. ТЕХНОЛОГИЯ И ОРГАНИЗАЦИЯ ВЫПОЛНЕНИЯ РАБОТ.

2.1. Перед монтажом перегородок должны быть закончены все общестроительные и специальные работы, а также опробованы системы водоснабжения и отопления.

2.2. Устройство каркасно-обшивных перегородок следует осуществлять в соответствии с рабочими чертежами, проектом производства работ при соблюдении требований техники безопасности согласно СНиП III-4-80* «Техника безопасности в строительстве» и СНиП 12-03-2001 «Безопасность труда в строительстве. Часть 1. Общие требования».

(Измененная редакция, Изм. от 19.02.02).

2.3. Работы по монтажу каркасно-обшивных перегородок следует осуществлять захватками, определяемыми проектом производства работ, поэтажно или посекционно.

2.4. При определении захваток учитываются готовность объекта к монтажу перегородок, сроки выполнения работ, рациональное количество звеньев монтажников и облицовщиков, протяженность и насыщенность перегородками объема здания.

2.5. Расстояние от зоны складирования элементов перегородок до наиболее удаленного места производства работ по монтажу перегородок назначаются не более 20 м. Запас материалов должен полностью обеспечивать участок захватки (рисунок 2).


Условные обозначения:

1. Штабель гипсокартонных листов;

2. Пакеты металлических направляющих;

3. Пакеты металлических стоек;

4. Склад металлических дверных коробок;

5. Ящик с крепежными деталями;

6. Штабель минераловатных плит;

 - последовательность монтажа перегородок.

Рисунок 2 - Схема производства работ


2.6. Устройство перегородок осуществляется в следующей последовательности:

- разбивка осей перегородок в соответствии с архитектурно-планировочным чертежом и разметка по шаблону мест расположения нижних направляющих. Отбивка установочных линий;

- установка нижних направляющих. Заготовка элементов по размерам в соответствии с разбивкой, разметка элементов, резка. Раскладка по линиям разметки и крепление (проектное) направляющих к плитам перекрытия дюбель-гвоздями с шагом от 300 до 600 мм с помощью пистолета ПЦ-52-1;

- установка верхних направляющих. Заготовка элементов по размерам (разметка элементов, резка). Установка враспор выверочных крайних стоек по уровню и крепление их к нижним направляющим методом просечки с отгибом специальными клещами. Закрепление верхних направляющих к потолку дюбель-гвоздями с шагом 300 - 600 мм с помощью пистолета ПЦ-52-1;

- замер фактических расстояний между нижней и верхней направляющими в местах установки стоек. Заготовка элементов по замерам. Установка стоек каркаса с шагом 400 или 600 мм, выверка вертикальности с помощью уровня и закрепление к направляющим методом просечки с отгибом;

- установка и разметка дверных коробок, обвязки раздвижных перегородок и других обрамлений проемов в соответствии с проектом. Выверка и закрепление их к стойкам каркаса самосверлящими-самонарезающими винтами с помощью электрошуруповерта;

- прокладка силовой и слаботочной проводки через отверстия в стенках стоек каркаса и установка распределительных коробок и другого оборудования;

- разметка, нарезка, вырезка отверстий и крепление гипсокартонных листов к полкам стоек каркаса самосверлящими-самонарезающими винтами с потайной головкой электрошуруповертом; установку гипсокартонных листов в проектное положение производят с зазором в пределах 10 мм от верхнего и нижнего перекрытия; в случае устройства двойной или тройной обшивки металлического каркаса стыки листов располагают вразбежку;

- крепление гипсокартонных листов к стойкам каркаса винтами с шагом 300 мм, отступая от верхнего перекрытия на 60 - 150 мм, в соответствии с проектом (рисунок 3);

- при наличии в конструкции перегородок звукоизоляционного слоя гипсокартонные листы закрепляют с одной стороны каркаса самосверлящими-самонарезающими винтами, затем прокладывают слой минераловатных плит на синтетическом вяжущем. Разметка и нарезка минераловатных плит производится по деревянному шаблону ножовкой. Так как толщина теплоизоляционных плит меньше толщины перегородки их закрепляют от смещения кусками гипсокартонных листов, набранных в пакет, толщиной равной величине зазора между теплоизоляционной плитой и полкой швеллера. Фиксация осуществляется самосверлящим-самонарезающим винтом, проходящим через полку швеллерной стойки. Выполненную звукоизоляцию перегородки принимают по акту на скрытые работы. После принятия звукоизоляции по акту перегородку обшивают с другой стороны гипсокартонными листами (рисунок 4);

- во всех угловых соединениях и примыканиях гипсокартонных листов к смежным строительным конструкциям крепят специальные угловые профили методом просечки с отгибом;

- все стыки гипсокартонных листов оклеивают бумажной лентой и шпатлюют безусадочной мастикой, а места примыкания к полу и потолку заделывают согласно рабочим чертежам перегородок (см. узлы примыкания перегородок, рисунки 5 и 6).

2.7. Перегородки могут быть оклеены бумажными или синтетическими обоями, отделаны пластмассовыми листами, керамическими плитками или окрашены.

2.8. Во избежание действия на стойки перегородок усилий при прогибе верхнего перекрытия следует между верхней направляющей и потолком укладывать упругую прокладку толщиной не менее 5 мм.

С шагом 400 - 600 мм в направляющие устанавливаются стойки каркаса и закрепляются с помощью специальных клещей методом просечки с отгибом. Каркас перегородок устанавливается в вертикальной плоскости по строительному уровню.

Рисунок 3 - Схема крепления и стыки гипсокартонных панелей.

Рисунок 4 - Схема крепления звукоизоляционных плит

А) Узел примыкания перегородки к плите перекрытия.

Б) Узел примыкания перегородки к подвесному потолку.

В) Узел примыкания перегородки к полу.

Г) Наружный и внутренний углы перегородки.

Рисунок 5 - Узлы примыкания перегородок.

Д) Конструкция деформационных швов перегородок.

Е) Пересечение перегородок под прямым углом.

Ж) Варианты расположения дверных коробок в перегородках.

Рисунок 6 - Узлы примыкания перегородок.

2.9. Для сокращения трудоемкости работ гипсокартонные листы, стойки должны поставляться на объект согласно размерам, указанным в проекте, и по мере необходимости подгоняться по месту установки.

2.10. Монтаж силовой и слаботочной проводки выполняется после устройства металлического каркаса. Проводка пропускается поверху или понизу через отверстия в стенках стоек каркаса в стальных или винилпластовых трубках. Выводы проводок на лицевую поверхность перегородки пропускаются через отверстия, прорезаемые в гипсокартонном листе.

2.11. Дверные коробки закрепляются к стойкам каркаса самосверлящими-самонарезающими винтами СМ 1-25 через металлические анкеры.

2.12. Обшивка металлического каркаса гипсокартонными листами ведется последовательно «ходом на себя», листы закрепляются с помощью шуруповерта. Листы стыкуются только на стойках каркаса.

2.13. Для улучшения звукоизоляции перегородки между гипсокартонными листами укладываются полужесткие минераловатные или стекловатные плиты, скос листов СГШ заделывается шпатлевкой СВШ, с помощью шпателя ее наносят ровным слоем на скошенные грани листов. После высыхания стыки листов оклеиваются клейкой или бумажной лентой и вторично шпатлюется стык. Прошпатлевываются также головки самосверлящих-самонарезающих винтов, утопленные в СГШ. Листы с плитами перекрытий стыкуются с помощью буртиков, специального герметика или нетвердеющей мастики согласно рабочим чертежам перегородки.

2.14. Элементы каркаса транспортируются в пакетах, которые стягиваются металлическими лентами; для предохранения от деформаций по периметру прокладываются деревянные бруски.

2.15. Листы транспортируются, предусматривая при этом защиту от механических повреждений, загрязнений и атмосферных осадков. Листы должны быть уложены плашмя лицевыми поверхностями без прокладок между ними.

2.16. При погрузочно-разгрузочных работах бросать листы категорически запрещается. Листы поднимаются на этажи с помощью подъемников, транспортируются к месту сборки на тележке и складируются в рабочей зоне горизонтально.

1. При разбивочных работах

2. При установке нижних направляющих

3. При установке верхних направляющих

4. При установке стоек каркаса

5. При раскрое гипсокартонных листов

6. При креплении гипсокартонных листов к каркасу

7. При обрезке изоляционных плит

8. При заполнении перегородки изоляционными плитами

УСЛОВНЫЕ ОБОЗНАЧЕНИЯ:

1 - Ось колонны;

2 - ось перегородки;

3 - разметочный шнур;

4 - размер половины ширины направляющей;

5 - колонна;

6 - устанавливаемая направляющая;

7 - закрепленная направляющая;

8 - направление движения монтажника при закреплении направляющей;

9 - подмости;

10 - подготовленные к установке стойки;

11 - устанавливаемая стойка;

12 - закрепленные стойки;

13 - штабель гипсокартонных листов;

14 - устанавливаемый гипсокартонный лист;

15 - закрепленный гипсокартонный лист;

16 - вытяжная вентиляция;

17 - стол для обрезки тепло-звукоизоляционных плит;

18 - штабель тепло-звукоизоляционных плит;

19 - штабель обрезанных тепло-звукоизоляционных плит;

20 - место для складирования отходов;

21 - наружные ограждающие конструкции;

22 - установленные тепло-звукоизоляционные плиты;

23 - ящик с прокладками и крепежом;

 - рабочие места монтажников конструкций;

 - рабочие места облицовщиков синтетическими материалами;

 - рабочие места изолировщиков.

Рисунок 7 - Схемы организации рабочего места

2.17. Хранить гипсокартонные листы, минераловатные и стекловатные плиты необходимо в сухом закрытом помещении с относительной влажностью воздуха не более 70 %. Хранение на открытом воздухе не допускается.

Гипсокартонные листы должны храниться на складе плашмя, в штабелях высотой не более 1,5 м и попарно сложены лицевыми поверхностями друг к другу без прокладок между листами.

2.18. Эффективность применения каркасно-обшивных перегородок обеспечивается их конструктивными особенностями, использованием нормокомплекта инструмента и приспособлений, перечень которого приводится в таблице 5.

2.19. Листы должны поставляться предприятием-изготовителем по требованию потребителя вместе с герметиком, мастикой, шпатлевкой, клейкой или бумажной лентой шириной 50 - 55 мм, необходимыми для заделки швов.

Комплектующие материалы поставляются в упаковке.

2.20. Схемы организации рабочих мест показаны на рисунке 7.

2.21. Приемы организации труда по этапам должны предусматривать выполнение производственных операций в технологической последовательности, приведенной ниже:

Монтаж металлического каркаса:

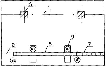
- Очистка поверхности от мусора. Монтажник (М2) метлой очищает от мусора поверхность пола в местах установки перегородок.

- Разметка.

Монтажники (М1 и М2) с помощью рулетки наносят на очищенную поверхность пола риски оси перегородок в соответствии с архитектурно-планировочным чертежом.

От рисок оси перегородки монтажник (М1) отмеряет с помощью шаблона половину ширины направляющей.

Монтажники (М1, М2 и М3) разметочным шнуром, набеленным методом «отбивают» линию края нижней направляющей. Затем монтажники (М1 и М2) отмеряют нижнюю и верхнюю направляющие в соответствии с длиной перегородки и с учетом разрывов в местах установки дверных коробок отрезают направляющие по размеру.

- Установка нижней направляющей.

Монтажник (М3) устанавливает на пол, в соответствии с проведенной разметкой, подготовленную по размерам нижнюю направляющую.

Отметив по шаблону места крепления направляющей, монтажник (М3) осуществляет пристрелку ее к полу дюбель-гвоздями с помощью пистолета ПЦ-52-1. Монтажник (М3) отмечает по шаблону на направляющей места установки вертикальных стоек.

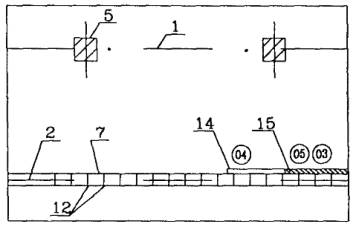
- Установка верхней направляющей.

Монтажник (М2) раздвижной рейкой замеряет высоту от нижней направляющей до потолка, у крайних точек отреза нижней направляющей, и подбирает по полученному размеру две стойки.

Затем монтажники (М1 и М2) поднимаются на подмости и прикладывают подготовленную и размеченную верхнюю направляющую к потолку над нижней направляющей, а монтажник (М3) устанавливает крайние вертикальные стойки враспор между нижней и верхней направляющей, прижимая верхнюю направляющую к потолку.

Монтажники (М1 и М2) выверяют стойки в вертикальной плоскости по уровню и устанавливают их в проектное положение.

Монтажник (М3) поднимается на подмости и осуществляет крепление верхней направляющей к потолку дюбель-гвоздями с помощью пистолета ПЦ-52-1. В момент крепления верхней направляющей монтажники (М1 и М2) должны находиться на расстоянии не ближе 10 м от монтажника (М3).

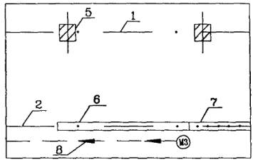
- Установка вертикальных стоек.

Монтажники (М1 и М2) подбирают и нарезают стойки по ранее замеренному расстоянию между нижней и верхней направляющими, устанавливают стойки в соответствии с определенным шагом нижней направляющей, выверяют их в вертикальной плоскости по уровню и крепят к нижним и верхним направляющим с двух сторон методом просечки с отгибом.

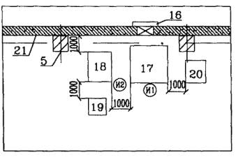
Установка металлических дверных коробок:

- Разметка

Монтажники (М1 и М2) с помощью рулетки размечают на полу расположение дверной коробки, отмечая рисками положение внутренних граней стоек дверной коробки. Затем монтажник (М1) с помощью раздвижной рейки замеряет фактический размер между нижней и верхней направляющими в месте расположения дверной коробки по полученному замеру, подбирает и отрезает вертикальные стойки.

- Установка стойки каркаса.

Монтажник (М2) отмеряет от нанесенной на полу риски расположение дверной коробки, размер толщины конструкции обрамления и по нему устанавливает стойку каркаса.

Монтажник (М2) выверяет по уровню стойку и закрепляет ее методом просечки с отгибом к направляющим.

-Установка дверной коробки.

Монтажники (М1 и М2) устанавливают дверную коробку (без полотна), прижимая ее одним боком к ранее закрепленной стойке каркаса.

Монтажник (М2) придерживает дверную коробку, а монтажник (М1) осуществляет выверку ее в вертикальном и горизонтальном положении с помощью уровня.

При необходимости монтажник (М2) по указанию монтажника (М1) смещает дверную коробку и устанавливает в проектное положение.

Монтажник (М1) закрепляет с помощью самосверлящих-самонарезающих винтов боковой профиль дверной коробки через анкера к стойке каркаса, а монтажник (М3) крепит дюбель-гвоздями с помощью пистолета ПЦ-52-1 к полу соединительные уголки, предварительно закрепленные к основанию дверной коробки.

- Установка второй стойки каркаса.

Монтажник (М2) устанавливает стойку, прижимая ее к анкерам дверной коробки, а монтажник (М1) закрепляет ее методом просечки с отгибом к направляющим и самосверлящими-самонарезающими винтами к анкерам дверной коробки.

- Установка перемычки и промежуточной стойки.

Монтажники (М1 и М2), находясь на подмостях, замеряют рулеткой расстояние между ближайшими стойками каркаса по верху дверной коробки и расстояние от середины обрамления дверной коробки до верхней направляющей. После этого монтажник (М1) размечает заготовку горизонтальной перемычки с припуском с каждой стороны и заготовку промежуточной стойки и отрезает профиль.

Монтажник (М2) устанавливает перемычку в проектное положение и закрепляет ее к стойкам каркаса самосверлящими-самонарезающими винтами.

Вслед за этим монтажник (М2) закрепляет промежуточную стойку к верхней направляющей и к перемычке.

Облицовка металлического каркаса гипсокартонными листами:

- Разметка и обрезка.

Облицовщики (О1 и О2) осуществляют разметку гипсокартонных листов с помощью рулетки, угольника или метра непосредственно на штабеле, обрезают листы специальным ножом по резке и зачищают торцы обрезанных кромок.

Из обрезков облицовщики (О1 и О2) нарезают подкладки для крепления изоляционных плит и складывают их в ящик.

- Подноска гипсокартонных листов.

Облицовщики (О1, О2 и О3) перемещают подготовленный гипсокартонный лист на специальных ремнях с места складирования к месту установки и укладывают рядом с каркасом.

- Установка гипсокартонных листов.

У места установки гипсокартонного листа облицовщик (О1) прикладывает к боковой грани нижней направляющей шаблон, соответствующий величине зазора от пола до низа панели.

Облицовщики (О2 и О3) устанавливают лист на шаблон и прижимают его плоскостью к каркасу с таким расчетом, чтобы вертикальные кромки гипсокартонного листа совпадали со средней продольной линией боковых граней стоек каркаса.

При наличии в месте установки гипсокартонного листа электрических розеток, распределительных коробок и другого оборудования облицовщики (О1 и О2) производят разметку с помощью линейки или разметочного циркуля отверстий на листе и вырезают их специальным ножом.

- Крепление гипсокартонного листа.

Облицовщик (О1) удерживает лист в проектном положении, а облицовщик (О2) предварительно закрепляет его к стойкам каркаса шестью самосверлящими-самонарезающими винтами с помощью шуруповерта, располагая их равномерно по краям листа. Окончательное закрепление листа к каркасу в соответствии с проектом осуществляет облицовщик (О3).

Заполнение перегородок тепло-звукоизоляционными материалами:

- Резка теплоизоляционных плит.

Изолировщик (И2) берет из штабеля теплоизоляционную плиту, кладет ее на стол, один край плиты упирает в ограничительный брусок, а изолировщик (И1) обрезает ножовкой плиту по размеру. Обрезанную плиту изолировщик (И2) укладывает в штабель, а изолировщик (И1) складывает куски в специально отведенное место.

- Установка теплоизоляционных плит.

Изолировщик (И3) берет из штабеля теплоизоляционную плиту, заводит один край ее в паз швеллерной стойки, а противоположный край перемещает до упора к гипсокартонным листам.

- Закрепление теплоизоляционных плит.

Изолировщик (И4) берет ранее заготовленный кусок гипсокартонного листа, помещает его в зазор между теплоизоляционной плитой и полкой швеллера стойки. Придерживая левой рукой кусок гипсокартонного листа, изолировщик (И4) самосверляшим-самонарезающим винтом с помощью шуруповерта производит крепление теплоизоляционной плиты.

3. ТРЕБОВАНИЯ К КАЧЕСТВУ И ПРИЕМКЕ РАБОТ.

3.1. Контроль качества работ по монтажу каркасно-обшивных перегородок осуществляется прорабом или мастером с привлечением специальной строительной лаборатории.

3.2. Производственный контроль качества работ должен включать входной контроль рабочей документации, гипсокартонных листов, металлических профилей, теплоизоляционных материалов, комплектующих материалов, операционный контроль технологических процессов и приемочный контроль перегородок (акт скрытых работ, акт приемки).

3.3. При входном контроле рабочей документации проводится проверка ее комплектности и достаточности в ней технической информации. При входном контроле материалов проверяется соответствие их стандартам, наличие сертификатов соответствия, гигиенических и пожарных документов, паспортов и других сопроводительных документов.

3.4. Строительные материалы, поставляемые на стройку должны соответствовать следующим требованиям:

Сталь листовая оцинкованная для металлических профилей по

- отклонения боковых стоек от перпендикулярности должна быть не более 3°;

- пропеллерность профиля длиной 3000 мм должна быть не более 10°;

- толщина профилей ПС10 ÷ ПС14 длиной более 3000 мм должна быть δ = 0,3 мм.

Гипсокартонные листы по ГОСТ 6266-97:

- средняя плотность листов, при нормируемой влажности должна быть не более 950 кг/м3 (для I категории качества) и 850 кг/м3 (для высшей категории качества);

- прочность листов должна быть не менее 350 кгс (для листов δ = 12 мм) (см. таблицу 2 ГОСТ 6266-97). Кроме того, прочность листа должна соответствовать следующим требованиям: иметь хорошую гвоздимость, при этом нагрузка на гвоздь диаметром 3 мм, вбитый под углом 45°, должна быть 20 кг, без вырывания гвоздя;

- влажность листов не должна превышать 1 %;

- на лицевой поверхности листов не допускаются загрязнения, масляные пятна, волнистость, отбитость углов и повреждения продольных кромок, размеры которых превышают указанные в таблице 1;

- сцепление гипса с картоном должно быть прочнее, чем сцепление слоев картона.

Таблица 1 - Допускаемые отклонения для гипсокартонных листов.

Наименование показателей

Величина допускаемых отклонений

для высшей категории качества

для первой категории качества

Отклонения от прямоугольной формы:

 

 

по длине

± 4 мм

± 8 мм

по ширине

0

0

-4

-5

по толщине

± 0,5 мм

± 0,5 мм

Разность диагоналей

±3 мм

±3 мм

Серповидность кромки

1 мм на метр, но не более 3 мм на всю длину

 

Отбитости углов в количестве более 2 по длине ребра, мм

Не допускаются

£ 20

Повреждение продольных кромок в количестве не более двух:

 

 

длиной, мм

£ 10

£ 20

глубиной, мм

£ 3

£ 5

Плиты из минеральной ваты на синтетическом связующем по ГОСТ 9573-96:

- плотность минераловатных плит должна находиться в пределах 200 ± 25 кг/м3;

- теплопроводность не более 0,054 Вт/(м ´ К).

3.5. Операционный контроль осуществляется в ходе выполнения технологических операций для обеспечения своевременного выявления дефектов и принятия мер по их устранению и предупреждению.

Основным документом при операционном контроле является СНиП 3.03.01-87 «Несущие и ограждающие конструкции».

Результаты операционного контроля фиксируются в журнале производства работ. Перечень технологических процессов, подлежащих контролю, приведен в таблице 2.

Таблица 2 - Перечень технологических процессов, подлежащих контролю.

№ п/п

Наименование технологических процессов, подлежащих контролю

Предмет контроля

Способ контроля

Время проведения контроля

Ответственный за контроль

Технические характеристики оценки качества

1

Монтаж металлического каркаса

Смещение направляющих от разбивочных осей

Измерительный, журнал работ

В процессе производства работ

Мастер, прораб

< 3 мм

Расстояние между осями стоек

Измерительный, журнал работ

В процессе производства работ

Мастер, прораб

± 2

Расстояние между деталями крепления направляющих к несущим конструкциям

Измерительный, журнал работ

В процессе производства работ

Мастер, прораб

± 5

2

Заполнение перегородок теплоизоляционными материалами

Зазоры между звукоизоляционными плитами, а также между ними и элементами каркаса

Измерительный, журнал работ, линейка 150 ГОСТ 427-75

В процессе производства работ

Мастер, прораб

Не более 2

3

Обшивка каркаса гипсокартонными листами

Минимальная величина нахлеста листа обшивки на стойку

Измерительный, журнал работ

В процессе производства работ

Мастер, прораб

10

Размер шва между стыкуемыми листами

Измерительный, журнал работ

В процессе производства работ

Мастер, прораб

-1

+2

Углубление головки винта или шурупа в обшивку каркаса

Измерительный, журнал работ

В процессе производства работ

Мастер, прораб

0,5 - 1

Уступ между смежными листами вдоль шва

Измерительный, журнал работ

В процессе производства работ

Мастер, прораб

1

3.6. При приемочном контроле производится проверка качества выполненных работ с составлением актов освидетельствования скрытых работ (устройство металлического каркаса, теплоизоляционный слой, прокладка внутренних сетей).

3.7. Каркасно-обшивные перегородки не должны иметь отклонений поверхности, превышающих допустимые (таблица 3).

Таблица 3 - Допускаемые отклонения поверхностей, отделанные листовыми материалами индустриального производства (СНиП 3.03.01-87)

Наименование поверхности и линейного элемента

Допускаемые отклонения при отделке

простой

улучшенной

высококачественной

Неровности поверхности (обнаруживаются при накладывании правила или шаблона длиной 2 метра)

не более трех неровностей глубиной или выпуклостью до 5 мм

не более двух неровностей глубиной или выпуклостью до 3 мм

не более двух неровностей глубиной или выпуклостью до 2 мм

Отклонения поверхности стен от вертикали

15 мм на всю высоту помещения

1 мм на 1 м высоты, но не более 10 мм на всю высоту помещения

1 мм на 1 м высоты, но не более 5 мм на всю высоту помещения

4 ТРЕБОВАНИЯ ТЕХНИКИ БЕЗОПАСНОСТИ И ОХРАНЫ ТРУДА, ЭКОЛОГИЧЕСКАЯ И ПОЖАРНАЯ БЕЗОПАСНОСТЬ.

4.1. Монтаж каркасно-обшивных перегородок следует выполнять с соблюдением требований СНиП 12-03-2001 «Безопасность труда в строительстве. Часть 1. Общие требования», СНиП III-4-80* «Техника безопасности в строительстве», а также в соответствии с «Инструкцией по технике безопасности для оператора, работающего с монтажно-поршневым пистолетом ПЦ-52-1 на строительных объектах Главмоспромстроя», разработанных ОАО ПКТИпромстрой.

(Измененная редакция, Изм. от 19.02.02).

4.2. К работе по монтажу каркасно-обшивных перегородок допускаются лица не моложе 18 лет, имеющие удостоверение на право производства работ и прошедшие вводный инструктаж по технике безопасности и производственной санитарии.

4.3. Работы осуществляют с применением ручного и механизированного инструмента. Ручной инструмент должен быть прочным, надежным и удобным в работе. Использовать инструмент нужно только по назначению. Деревянные рукоятки ручных инструментов должны быть изготовлены из сухой древесины твердых и вязких пород и не иметь сучков, трещин и сколов.

Применение механизированного инструмента допускается только в соответствии с требованиями, указанными в паспорте и инструкции по эксплуатации завода-изготовителя.

Инструмент необходимо систематически и своевременно проверять и ремонтировать. Выдаваемый инструмент должен быть исправен.

4.4. К работе с механизированным инструментом допускаются лица, имеющие соответствующее удостоверение на право пользования им.

К работе с монтажно-поршневым пистолетом ПЦ-52-1 допускаются лица не моложе 20 лет, имеющие удостоверение оператора, прошедшие инструктаж и имеющие наряд-допуск на право производства работ с монтажно-поршневым пистолетом ПЦ-52-1.

4.5. Рабочие должны быть обеспечены спецодеждой и средствами индивидуальной защиты.

4.6. Производство работ на высоте более 1,5 м от пола следует выполнять с монтажных столиков или с инвентарных сборно-разборных передвижных подмостей. Работать с приставных лестниц запрещается.

4.7. При креплении металлических направляющих дюбель-гвоздями к полу и потолку с помощью монтажно-поршневого пистолета ПЦ-52-1 возникает опасная зона в радиусе 10 м от места пристрелки и 5 м в глубину от поверхности забивки. Опасную зону следует оградить и обозначить хорошо видимыми предупредительными надписями и знаками.

Производство работ в помещениях, смежных с поверхностью, в которую производится забивка дюбелей, запрещается. Люди из этих помещений должны быть удалены, помещения закрыты и вывешена надпись:

«Вход запрещен, работают с пистолетом».

4.8. Оператору запрещается:

- забивать дюбели в хрупкие и легкопробиваемые строительные конструкции, а также в крупнофракционные бетонные конструкции (крупность зерен инертных свыше 40 мм);

- оставлять пистолет без присмотра;

- направлять пистолет на людей;

- использовать строительно-монтажный пистолет не по назначению;

- производить выстрел без дюбеля;

- работать во взрыво- и пожароопасных помещениях;

- передавать пистолет другому лицу.

4.9. При работе с электрифицированным инструментом в помещениях без повышенной опасности допускается применять электроинструмент, работающий при напряжении 220 В, с обязательным использованием диэлектрических перчаток, галош или ковриков и заземлением корпуса инструмента. В особо опасных помещениях необходимо применять электроинструмент, работающий при напряжении 36 В.

4.10. Перед началом работы с электроинструментом рабочий должен: надеть спецодежду, проверить исправность средств индивидуальной защиты, получить инструктаж о безопасных способах производства работ с электроинструментом, осмотреть и проверить электроинструмент на холостом ходу.

При обнаружении неисправностей электроинструмента работы прекратить и сообщить об этом мастеру или производителю работ.

4.11. При монтаже каркасно-обшивных перегородок запрещается:

- работать электроинструментом с приставных лестниц;

- натягивать и перегибать провода переносного электроинструмента;

- не допускать пересечения электропроводов с тросами, проводами, находящимися под напряжением, со шлангами для подачи кислорода, ацетилена и других газов;

- передавать переносный электроинструмент другим лицам;

- разбирать и производить самим ремонт электроинструмента;

- держаться при работе за питающий электропровод;

- оставлять без надзора электроинструмент, присоединенный к электросети.

4.12. При прекращении подачи напряжения во время работы электроинструмент следует выключить и отключить от электросети.

4.13. Обрезку теплоизоляционных плит необходимо производить в специально оборудованном помещении, где смонтирована вентиляция. Выполнение других работ в помещении запрещено. Работы по резке и установке теплоизоляционных плит проводят в респираторах и резиновых перчатках.

4.14. Строго запрещается принимать пищу в помещениях, где укладывают минераловатные плиты в каркасные перегородки.

4.15. При прекращении подачи тока, перерывах в работе, отлучке с места работы электроинструмент должен быть отключен.

4.16. Ежедневно по окончании работы все механизированные инструменты должны быть сданы лицу, ответственному за их исправность и хранение.

4.17. При работе с монтажно-поршневым пистолетом оператор должен быть обеспечен средствами индивидуальной защиты.

5 ПОТРЕБНОСТЬ В МАТЕРИАЛЬНО-ТЕХНИЧЕСКИХ РЕСУРСАХ.

5.1 Потребность в машинах, оборудовании и механизмах определяется с учетом выполняемых работ и технических характеристик (таблица 4).

Таблица 4 - Ведомость потребности машин, механизмов и оборудования.

№ п/п

Наименование

Тип, марка

Техническая характеристика

Назначение

Кол. на 1 звено

1

2

3

4

5

6

1

Подъемник

МГП-1000 или в соответствии с ППР

Грузоподъемность - 1 т.

Габаритные размеры кабины - 3,44´1,94´2 м

Подача материалов на этажи

По ППР

2

Тележка ручная

ЦНИИОМТП Р.ч. 74.00.000.

Грузоподъемность - 250 кг

Масса - 78 кг

Транспортирование гипсокартонных листов на этаже

По ППР

3

Машина сверлильная с комплектом насадок

ИЭ-6015

Грузоподъемность - 100 кг

Резка гипсокартонных листов

1

4

Пистолет

ПЦ-52-1

 

Пристрелка направляющих

1

5.2. Потребность в технологической оснастке, инструменте, инвентаре и приспособлениях приведена в таблице 5.

Таблица 5 - Ведомость потребности в оснастке, инструменте, инвентаре и приспособлениях.

№ п/п

Наименование

Тип, марка

Техническая характеристика

Назначение

Кол. на 1 звено

1

2

3

4

5

6

1

Метр складной металлический

ТУ 2-12-156-76

Габаритные размеры - 1000´10´14 мм

Масса - 0,005 кг

Линейные измерения поверхностей

5

2

Рулетка

РС-10

ГОСТ 7502-98*

Длина ленты - 10 м

Масса - 0,23 кг

Разметка положения перегородки

2

3

Угольник металлический

ТУ 22-2785-73

Габаритные размеры - 500´240 мм

Масса - 0,48 кг

Разметка гипсокартонных листов

1

4

Уровень строительный

УС1-300

ГОСТ 9416-83

Габаритные размеры - 300´22´40 мм

Масса - 0,22 кг

Проверка горизонтальности нижних направляющих

1

5

Отвес стальной строительный

ОТ-1000

ГОСТ 7948-80

Габаритные размеры - 165´34 мм

Масса - 1 кг

Проверка вертикальности стоек

1

6

Магнитный уровень

Р.ч. 0825.00.00

Мосспецпромпроект

-

Выверка положения стоек

2

7

Рейка раздвижная

Р.ч. 0422.00.00

Мосспецпромпроект

Высота замера до 4,2 м

Замер расстояния между полом и потолком

1

8

Циркуль разметочный

-

Габаритные размеры - 350´25 мм

Разметка круглых отверстий

1

9

Ножницы

ГОСТ 7210-75*

Габаритные размеры - 320´12´50 мм

Масса - 0,7 кг (резка стали до 1 мм)

Резка направляющих стоек

1

10

Ножницы фигурные

-

Габаритные размеры - 280´26´50 мм

Масса - 0,6 кг

-

1

11

Рамки ножовочные ручные и полотна ножовочные

ГОСТ 17270-71*Е ГОСТ 6645-86*

Габаритные размеры - 426´30´95 мм

Масса - 0,8 кг

Габаритные размеры - 300´14´0,6 мм

Резка металлических направляющих и стоек

1

По потребности

12

Электрические ножницы Гильотина

ИЭ-5803

Габаритные размеры - 140´400´800 мм

Масса - 19 кг

Резка стоек и направляющих

1

13

Нож для резки сухой штукатурки

Трест Мосоргстрой Главмосстроя

Габаритные размеры - 190´30 мм

Масса - 0,073 кг

Резка гипсокартонных листов

2

14

Нож кровельный

ТУ 400-28-19-76

Габаритные размеры - 190´20, 5´80 мм

Масса - 0,12 кг

Вырезка отверстий под электрокоммуникации

2

15

Ножовка мелкозубчатая с широким полотном

ТУ 27-31-23-86-77

-

Резка гипсокартонных листов

2

16

Ремни

РГП-100

Грузоподъемность 100 кг

Для переноски на этаже

1

17

Ножовка с узким полотном

Горьковский металлургический завод

-

Прорезка прямоугольных отверстий

1

18

Напильник-рашпиль

ГОСТ 6876-79*

-

Зачистка кромок отверстий

2

19

Резак

Р.ч. 0629.00.00

Мосспецпромпроект

-

Прорезка круглых поверхностей

1

20

Карандаши чертежные

-

-

Разметка положения перегородки

7

21

Шуруповерт

ИЭ-3603А

Магнитная головка

Крепление гипсокартонных листов к металлическому каркасу

4

22

Сверла разного диаметра

ГОСТ 2034-80*Е

-

-

По потребности

23

Прокус-клещи

Р.ч. 0661.00.00

Мосспецпромпроект

Усилие прокуса до, кг: 30, 100

Соединение стоек с направляющими

2

24

Клещи

-

Масса - 0,9

Крепление обрамления углов

2

25

Отвертка под крестообразные шлицы

ГОСТ 10754-93

-

Отвертывать и завертывать шурупы в труднодоступных местах

2

26

Отвертка с шуруподержателем

вниипи

Теплопроект Минмонтажспецстроя

Габаритные размеры - 200´30´50 мм

Масса - 0,135 кг

Завертывание самосверлящих-самонарезающих винтов в труднодоступных местах

2

27

Молоток плотничный

Тип МПЛ

ГОСТ 11042-90

Габаритные размеры - 300´30´12 мм

Масса - 0,8 кг

Монтаж каркаса

2

28

Скребок

вниисми

Минстройдормаша

Габаритные размеры - 800´100´68

Масса - 1 кг

Очистка гипсокартонных листов

2

29

Щетка стальная прямоугольная

Трест Уралтяжспецстрой Минтяжстроя

Габаритные размеры - 310´90´56 мм

Масса - 0,26 кг

То же

2

30

Защитные очки герметичные

ГОСТ 12.4.011-89

-

Защита глаз

14

31

Противошумные наушники

ГОСТ 12.4.011-89

 

Защита органов слуха

14

32

Резиновые перчатки диэлектрические

ТУ 38-106359-79

 

Защита от поражения током

4

33

Щитки защитные лицевые

ГОСТ 12.4.023-84*

 

Защита лица

10

34

Каски монтажные

ГОСТ 12.4.087-84

-

-

Каждому работающему

35

Подмости передвижные сборно-разборные

ГОСТ 28012-89

-

Для работ на высоте

2

36

Сумка-пояс

-

-

-

Каждому работающему

5.3. Потребность в основных материалах, конструкциях и полуфабрикатах при устройстве 100 м2 каркасно-обшивных перегородок приведен в таблице 6.

Таблица 6 - Усредненный расход основных материалов на 100 м2 каркасно-обшивных перегородок.

№ п/п

Наименование материала

Ед. изм.

Расход материала при высоте перегородки

до 3,6 м

от 3,6 до 4,8 мм

1

Металлический профиль

кг

250

290

2

Метизы

кг

5,7

5,3

3

Гипсокартонный лист

м2

200

200

4

Мастика (герметик)

кг

27,8

27,8

5

Шпатлевка (сухая масса)

кг

100

100

6

Лента перфорированная

м

294

261

7

Плинтус

м

60

44

8

Дюбели разные

шт.

180

126

6. ТЕХНИКО-ЭКОНОМИЧЕСКИЕ ПОКАЗАТЕЛИ.

6.1. Продолжительность работ по устройству перегородок типа П2-3,6 с обшивкой гипсокартонными листами с двух сторон без укладки утеплителя определяется календарным графиком производства работ (таблица 7).

Работы по устройству перегородок выполняет бригада из трех звеньев в составе 8 человек.

Нормы времени по отдельным операциям приняты в соответствии с нормами, разработанными НИС Главмосстроя.

Работы по заделке стыков между гипсокартонными листами, а также герметизация мест примыкания гипсокартонных листов к полу и потолку осуществляет бригада отделочников и в графике не учтены.

6.2. Продолжительность работ по устройству перегородок типа ПМ-2 с обшивкой гипсокартонными листами с двух сторон с укладкой утеплителя определяется календарным графиком производства работ (таблица 8).

График разработан на 100 м2 перегородок при высоте этажа 3,6 м. Одна сторона перегородки облицована двойным слоем гипсокартонных листов с укладкой утеплителя.

Работы выполняет бригада из трех звеньев в количестве 14 человек.

Нормы времени по отдельным операциям приняты в соответствии с нормами, разработанными НИС Главмосстроя.

Работы по заделке стыков между гипсокартонными листами, а также герметизация мест примыкания гипсокартонных листов к полу и потолку осуществляет бригада отделочников и в графике не учтены.

6.3. Технико-экономические показатели по устройству перегородок типа П2-3,6:

- трудозатраты на 1 м перегородок................................................ 0,43 чел./час.

- выработка одного человека в смену............................................ 18,5 м

- продолжительность строительства............................................. 11 час.

6.4. Технико-экономические показатели по устройству перегородок типа ПМ-2:

- трудозатраты на 1 м перегородок................................................ 0,74 чел./час.

- выработка одного человека в смену............................................ 10,8 м2

- продолжительность строительства............................................. 16 час.


Таблица 7 - График производства работ по устройству перегородок типа 112-3,6.

Измеритель конечной продукции - 100 м2

Таблица 8 - График производства работ по устройству перегородок типа ПМ-2.

Измеритель конечной продукции - 100 м2


7. ПЕРЕЧЕНЬ ЛИТЕРАТУРЫ.

1. СНиП 3.01.01-85* «Организация строительного производства».

2. СНиП 3.03.01-87 «Несущие и ограждающие конструкции».

3. СНиП III-4-80* «Техника безопасности в строительстве».

4. «Правила пожарной безопасности в Российской Федерации» ППБ 01-93**.

(Измененная редакция, Изм. от 19.02.02).

5. «Правила производства земляных и строительных работ, прокладки и переустройства инженерных сетей и коммуникаций в г. Москве». Постановление правительства Москвы № 603 от 08.08.2000 г.

(Новая редакция, Изм. от 19.02.02).

6. СНиП III-3-79* «Строительная теплотехника».

7. СНиП 3.04.01-87 «Изоляционные работы и отделочные покрытия».

8. ГОСТ 19903-74*«Прокат листовой горячекатанный. Сортамент».

9. ГОСТ 14918-80* «Сталь тонколистовая оцинкованная с непрерывных линий. Технические условия».

10. ГОСТ 6266-97 «Листы гипсокартонные. Технические условия».

11. ГОСТ 9573-96 «Плиты из минеральной ваты на синтетическом связующем теплоизоляционные. Технические условия».

12. ГОСТ 5663-79* «Проволока стальная углеродистая для холодной высадки. Технические условия».

13. «Инструкция по технике безопасности для оператора, работающего с монтажно-поршневым пистолетом ПЦ-52-1 на строительных объектах Главмосстроя», ОАО ПКТИпромстрой.

14. СНиП 12-03-2001 «Безопасность труда в строительстве. Часть 1. Общие требования».

(Введен дополнительно, Изм. от 19.02.02).

 

СОДЕРЖАНИЕ