Меню
Навигация
Novatika

Технологическая карта на монтаж вентиляционных коробов

Технологическая карта разработана на монтаж вентиляционных коробов в промышленных, административно-общественных и жилых зданиях.

Обозначение: Технологическая карта 143-06 ТК
Название рус.: Технологическая карта на монтаж вентиляционных коробов
Статус: не установлен срок действия
Дата актуализации текста: 05.05.2017
Дата добавления в базу: 01.09.2013
Дата введения в действие: 25.07.2006
Утвержден: 25.07.2006 ОАО ПКТИпромстрой (PKTIpromstroy OAO )
Опубликован: ОАО ПКТИпромстрой (2006 г. )
Ссылки для скачивания:

Открытое акционерное общество

Проектно-конструкторский и технологический
институт промышленного строительства

ОАО ПКТИпромстрой

 

 

 

УТВЕРЖДАЮ

 

 

Генеральный директор, к.т.н.

_____________ С.Ю. Едличка

 

 

«25» 07 2006 г.

 

ТЕХНОЛОГИЧЕСКАЯ КАРТА
НА МОНТАЖ ВЕНТИЛЯЦИОННЫХ
КОРОБОВ

143-06 ТК

Первый Заместитель
Генерального директора

Главный инженер

_________ А.В. Колобов

Начальник лаборатории

_________ Б.И. Бычковский

2006

 

Технологическая карта на монтаж вентиляционных коробов является составной частью ППР и предназначается для производственного персонала и инженерно-технических работников строительных организаций, производителей работ, мастеров и бригадиров, а также работников службы технадзора, связанных с этими работами.

В технологической карте приведены: общие данные, технология и организация работ, требования к качеству и приемке работ, калькуляция трудовых затрат, график производства работ, потребность в средствах механизации и инструменте, решения по безопасности и охране труда экологической и пожарной безопасности.

В разработке технологической карты участвовали сотрудники ОАО ПКТИпромстрой:

- Савина О.А. - разработка технологической карты, компьютерная обработка и графика;

- Черных В.В. - общее технологическое сопровождение;

- Бычковский Б.И. - разработка технологической карты, техническое руководство, корректура и нормоконтроль;

- Колобов А.В. - общее техническое руководство разработкой технологических карт;

- к.т.н. Едличка С.Ю. - общее руководство разработкой технологической документации.

СОДЕРЖАНИЕ

1 ОБЩИЕ ДАННЫЕ

1.1 Настоящая технологическая карта разработана на монтаж вентиляционных коробов в промышленных, административно-общественных и жилых зданиях.

1.2 Технологическая карта является составной частью ППР и предназначается для инженерно-технического персонала (прорабов, мастеров) и рабочих строительных организаций, занятых на монтаже вентиляционных коробов, сотрудников технадзора заказчика, осуществляющих надзорные функции за технологией и качеством выполнения работ, а также инженерно-технических работников строительных организаций.

1.3 Привязка технологической карты к конкретным объектам и условиям строительства состоит в уточнении объемов работ, средств механизации, потребности в трудовых и материально-технических ресурсах, а также корректировке калькуляции и календарного плана производства работ.

1.4 Форма использования технологической карты предусматривает обращение ее в сфере информационных технологий с включением в базу данных по технологии и организации строительного производства автоматизированного рабочего места технолога строительного производства (АРМ ТСП), подрядчика и заказчика.

2 ОРГАНИЗАЦИЯ И ТЕХНОЛОГИЯ ВЫПОЛНЕНИЯ РАБОТ

2.1 Для монтажа вентиляционных систем в промышленных, административно-общественных и жилых зданиях используются вентиляционные короба, которые могут изготавливаться из различных материалов, в зависимости от среды, транспортируемой по воздуховодам. В таблице 1 приведены примеры материалов, из которых могут изготавливаться воздуховоды.

Таблица 1 - Материалы для воздуховодов

Характеристика транспортируемой среды

Изделия и материалы

1

2

Воздух с температурой не более 80 °С при относительной влажности не более 60 %

Бетонные, железобетонные и гипсовые вентиляционные блоки, асбестоцементные трубы и короба, гипсокартонные, гипсобетонные и арболитовые короба; сталь тонколистовая оцинкованная; сталь кровельная, сталь листовая; сталь рулонная холоднокатаная; стеклоткань, бумага и картон; другие материалы, отвечающие требованиям указанной среды

То же, при относительной влажности воздуха более 60 %

Бетонные и железобетонные вентиляционные блоки, асбестоцементные трубы и короба; сталь тонколистовая оцинкованная; сталь листовая; алюминий листовой, пластмассовые трубы и плиты, стеклоткань; бумага и картон с соответствующей пропиткой; другие материалы, отвечающие требованиям указанной среды

Воздушная смесь с химически активными газами, парами и пылью

Керамические и асбестоцементные трубы и короба; пластмассовые трубы и короба; блоки из кислотоупорного бетона и пластбетона; металлопласт; сталь листовая; стеклоткань; бумага и картон с соответствующими транспортируемой среде защитными покрытиями и пропиткой; другие материалы, отвечающие требованиям указанной среды

Примечания:

1 Воздуховоды из асбестоцементных конструкций не допускается применять в системах приточной вентиляции.

2 Воздуховоды из стали листовой холоднокатаной и горячекатаной должны иметь покрытие, стойкое к транспортируемой среде.

2.2 Наружные размеры поперечного сечения металлических воздуховодов прямоугольного сечения следует принимать по таблице 2.

Таблица 2 - Наружные размеры металлических воздуховодов

Воздуховоды прямоугольного сечения, мм

150´100

1250´600

150´150

1250´800

250´150

1250´1000

250´250

1250´1250

300´150

1600´800

300´250

1600´1000

400´250

1600´1250

400´400

1600´1600

500´250

2000´1000

500´400

2000´1250

500´500

2000´1600

600´400

2000´2000

600´500

2500´1250

600´600

2500´1600

800´400

2500´2000

800´500

2500´2500

800´600

3150´1600

800´800

3150´2000

1000´500

3150´2500

1000´600

3150´3150

1000´800

4000´2500

1000´1000

4000´3150

Примечание - Размеры воздуховодов из других материалов следует уточнять по данным заводов-изготовителей.

2.3 Толщину листовой стали для воздуховодов, по которым перемещается воздух с температурой не выше 80 °С, следует принимать, не более:

- для воздуховодов прямоугольного сечения, размером, мм:

от 100´150 до 250´250                                - 0,5 мм;

от 300´150 до 600´1000                              - 0,7 мм,

от 1000´1250 до 1600´2000                        - 0,9 мм,

- для воздуховодов прямоугольного сечения, имеющих одну из сторон более 2000 мм, и воздуховодов сечением 2000´2000 мм толщина стали должна быть указана в проекте.

2.4 Сеть воздуховодов компонуется из унифицированных деталей - прямых участков, отводов, переходов, заглушек и узлов ответвлений из унифицированных деталей в соответствии с ВСН 353-86.

Для воздуховодов прямоугольного сечения применяются прямые участки длиной 2500 мм, однако по конструктивным и технологическим соображениям допускается изменение длины прямого участка

Для изготовления воздуховодов должна применяться сталь тонколистовая горячекатаная по ГОСТ 19903-74* и ГОСТ 16523-97, сталь листовая и рулонная холоднокатаная по ГОСТ 19904-90 и ГОСТ 16523-97, сталь кровельная листовая по ГОСТ 19904-90.

Воздуховоды из тонколистовой кровельной стали размером большей стороны до 2000 мм следует изготовлять прямошовными на фальцах или прямошовными на сварке, а воздуховоды, имеющие размер стороны более 2000 мм, - панельными (сварными, клеесварными).

Воздуховоды из металлопласта следует изготовлять на фальцах, а из нержавеющей стали, титана, а также из листового алюминия и его сплавов - на фальцах или на сварке.

2.5 Воздуховоды в зависимости от дальности перевозки рекомендуется транспортировать:

- до 300 км - автомобильным транспортом;

- более 300 км - железнодорожным или водным.

При перевозке воздуховодов автотранспортом следует использовать:

- бортовые автомобили общего назначения (ГАЗ-52-04, ГАЗ-53А; ЗИЛ-130-76; Урал-377Н, КамАЗ-5320, МАЗ-5335);

- седельные тягачи (ГАЗ-52-04; ЗИЛ-130В1-76; КамАЗ-5410);

- прицепы (ГКБ-817, ГКБ-8350);

- полуприцепы (ЦКТБ-А402; ОдАЗ-885; ОдАЗ-9370).

Транспортировать воздуховоды по железной дороге следует в полувагонах, вагоны закрытого типа следует использовать в исключительных случаях.

2.6 При перевозках воздуховодов в зависимости от их вида и габаритов необходимо предусмотреть.

- для воздуховодов небольших сечений - контейнеризацию или пакетирование;

- для воздуховодов больших сечений - телескопическую укладку;

- для полуфабрикатов - специальную упаковку.

Размеры и масса контейнеров и пакетов должны соответствовать габаритам и грузоподъемности транспортных средств. В таблице 3 приведены характеристики контейнеров для перевозки воздуховодов.

Таблица 3 - Характеристика контейнеров для перевозки воздуховодов и вентизделий

Тип контейнера

Собственная масса контейнера, кг

Габарит, мм

Среднее количество воздуховодов

Организация-калькодержатель

длина

ширина

высота

Контейнер открытый складной типа КО-1,75И для вентизделий

460

3100

2100

1800

75

Трест Союзоргсантехмонтаж

Контейнер для воздуховодов СТД 523 М

520

2652

2035

2155

70

ПКБ треста Сантехдеталь

Контейнер для перевозки воздуховодов НОЗ-5

700

2700

2100

2172

50

Трест Промвентиляция

Воздуховоды необходимо устанавливать на транспортное средство вертикально, если они не выходят за пределы габаритов установленных для автотранспорта, и габаритов, установленных Минтрансом России.

2.7 В качестве механизированных грузоподъемных средств на объектах следует использовать лебедки, автопогрузчики, автокраны, стреловые краны на пневмоколесном и гусеничном ходу, башенные и козловые краны.

Грузоподъемные средства выбираются в зависимости от массы и габаритов вентооборудования и изделий, высоты их подъема и местных условий.

Область применения грузоподъемных средств приведена в таблице 4.

Таблица 4 - Область применения грузоподъемных механизмов, монтажных вышек и подмостей

Вид грузоподъемного механизма

Выполняемые операции

Характеристика механизмов

1

2

3

Механизмы тяговые монтажные

Вертикальное (на высоту до 3 м) и горизонтальное перемещение воздуховодов и вентоборудования в пределах рабочей зоны

С тяговым усилием до 16 кН при монтаже воздуховодов и легкого вентоборудования. С тяговым усилием до 32 кН при монтаже вентоборудования.

Ручные монтажные лебедки

Вертикальное (на высоту до 8 м) и горизонтальное перемещение воздуховодов и вентоборудования в пределах рабочей зоны

С тяговым усилием 5 и 12,5 кН при монтаже воздуховодов и легкого вентоборудования. С тяговым усилием до 50 кН - при монтаже вентоборудования

Электрические лебедки

Вертикальное (на высоту более 8 м) и горизонтальное перемещение воздуховодов и вентоборудования в пределах рабочей зоны

С тяговым усилием до 10 кН при монтаже воздуховодов и легкого вентоборудования, с тяговым усилием 32 кН при монтаже вентоборудования

Автопогрузчики, оборудованные вилочным подхватом

Погрузочно-разгрузочные и транспортные работы на строительной площадке. Подъемно-транспортные работы на монтаже вентоборудования

4091, 4092, 4055М, 4013, 4014

Автомобильные краны

Погрузочно-разгрузочные работы на строительной площадке и складах. Подъемно-транспортные работы при монтаже воздуховодов и вентоборудования на объектах

Краны МКА-6,3 грузоподъемностью 6,3 т; МКА-10М грузоподъемностью 10 т; КС-3571 грузоподъемностью 10 т; МКА-16 грузоподъемностью 16 т и др.

Стреловой монтажный кран на пневмоколесном ходу

Погрузочно-разгрузочные работы на строительной площадке. Подъемно-транспортные работы при монтаже воздуховодов и вентоборудования на объектах

Кран МКП-16 грузоподъемностью 16 т и др.

Стреловые монтажные краны на гусеничном ходу

Погрузочно-разгрузочные работы на строительной площадке. Подъемно-транспортные работы при монтаже воздуховодов и вентоборудования на объектах

Краны МКГ-6,3 грузоподъемностью 6,3 т; МКГ-10 грузоподъемностью 10 т; МКГ-16 грузоподъемностью 16 т и др.

Башенные краны

Погрузочно-разгрузочные и транспортные работы на строительной площадке. Подъемно-транспортные работы при монтаже воздуховодов и вентоборудования

Башенные краны, используемые генподрядчиком на строительной площадке

Козловые краны

Погрузочно-разгрузочные и транспортные работы на строительной площадке. Подъемно-транспортные работы на площадке укрупнительной сборки и при монтаже воздуховодов и вентоборудования

Козловые краны, используемые генподрядчиком на строительной площадке

Подъемники автомобильные гидравлические

Подъем и опускание слесарей-вентиляционников для монтажа воздуховодов и некоторых видов вентоборудования на отметках выше или ниже уровня площадки, на которой установлен гидроподъемник

АГП-12А, АГП-18, АГП-22 и АГП-28

Подмости выдвижные самоходные

Подъем слесарей-вентиляционников для монтажа воздуховодов и некоторых видов вентоборудования на высоте более 3 м. Подъемно-транспортные работы при монтаже воздуховодов и вентоборудования

ПВС-12.01

Подъемник телескопический гидравлический

Подъем слесарей-вентиляционников для монтажа воздуховодов и некоторых видов вентоборудования

ПТГ-12

2.8 Строповку вентиляционных коробов следует производить инвентарными грузозахватными средствами. Стропы выбираются в зависимости от вида, массы поднимаемого груза и способа строповки согласно таблице 5, основные стропы показаны на рисунке 1.

Один из вариантов строповки воздуховодов прямоугольного сечения приведен на рисунке 2.

Узлы воздуховодов длиной 12 м и более при подъеме в горизонтальном положении, как правило, стропят параллельными стропами или траверсами. Строповку воздуховодов следует производить так, чтобы можно было подать их к месту установки в положении, наиболее близком к проектному.

Таблица 5 - Виды стропов

Вид стропа

Диаметр каната, мм

Длина стропа, м

Грузоподъемность стропа, кг, при наклоне его к вертикали под углом, град

0

30

45

60

Облегченный с петлями

8,7; 11

4,5; 6

400; 600

350; 500

280; 400

200; 300

Облегченный с крюками

8,7

4

400

350

280

200

Четырехветвевой

13

2,5

-

800

600

400

а - облегченный строп с петлями; б - облегченный строп с крюками; в - четырехветвевой строп

Рисунок 1 - Стропы

Рисунок 2 - Вариант строповки воздуховода

При подъеме воздуховодов необходимо обеспечить их устойчивость в подвешенном положении. Места подвески груза должны быть расположены выше центра тяжести.

Поднимаемый груз следует удерживать от вращения оттяжками из пеньковых канатов диаметром 20 - 25 мм или оттяжками из стальных канатов диаметром 8 - 12 мм. Для горизонтальных укрупненных узлов воздуховодов следует применять две оттяжки, для вертикальных воздуховодов - одну.

2.9 Типовые схемы установки и крепления лебедок и отводных блоков приведены на рисунках 3 - 5.


а) за колонну здания; б) за кирпичную стену

Рисунок 3 - Крепление лебедок


Лебедки, применяемые для перемещения груза, должны быть загружены балластом, масса которого должна не менее чем в два раза превышать тяговое усилие лебедки. Балласт должен быть закреплен на раме лебедки. Конструкции, за которые крепятся лебедки и отводные блоки, должны быть рассчитаны на дополнительную нагрузку.

а - схема расположения отводного блока перед лебедкой; б - крепление отводного блока к анкеру;
в - крепление блока к консоли; 1 - блок; 2 - строп из стального каната; 3 - консоль;
4 - инвентарная металлическая подкладка

Рисунок 4 - Установка отводного блока

Рисунок 5 - Установка барабанной лебедки

2.10 На весь период монтажа должны быть оборудованы площадки для складирования воздуховодов.

Устройство приобъектного склада воздуховодов должно удовлетворять следующим основным требованиям:

- располагаться вблизи подъездных автомобильных дорог или железнодорожных путей;

- границы склада должны отстоять от дороги не менее чем на 1 м;

- находиться на минимальном расстоянии от объекта монтажа по возможности в зоне действия башенного крана;

- не мешать производству строительно-монтажных работ;

- площадки для хранения воздуховодов должны быть тщательно спланированы с уклоном 1 - 2° для отвода поверхностных вод, засыпаны дренирующим песком или гравием, а в необходимых случаях - иметь кюветы;

- проходы, проезды и погрузочно-разгрузочные площадки должны быть очищены от мусора, строительных отходов (в зимнее время - от снега и льда) и посыпаны песком, шлаком или золой;

- хранение вентизделий должно быть организовано с соблюдением требований безопасности работ и пожарной охраны;

- по углам открытого склада должны быть установлены заградительные столбы, вывешены предупредительные знаки для водителей автотранспорта и указатели с наименованием монтажного управления или участка и места нахождения приемщика грузов;

- склад должен быть освещен.

2.11 Складирование и хранение воздуховодов должно быть организовано в соответствии с действующими нормами и с соблюдением следующих требований:

- воздуховоды прямоугольного сечения должны укладываться в штабеля; прямые участки высотой не более 2,7, фасонные детали - не более 2 м;

- воздуховоды круглого сечения следует устанавливать вертикально;

- воздуховоды, доставляемые в инвентарных контейнерах, следует хранить в этих контейнерах на специально организованных контейнерных площадках. Хранить воздуховоды и другие изделия в железнодорожных контейнерах запрещается;

- каждый воздуховод при хранении следует укладывать на деревянные инвентарные подкладки;

- воздуховоды в штабелях следует размещать с учетом последовательности монтажа: штабеля и контейнеры - снабжать указателями;

- между штабелями должны быть оставлены проходы шириной не менее 1 м; через каждые три штабеля следует устраивать проезды для транспорта шириной 3 м.

2.12 Для внутриобъектного транспорта рекомендуется использовать вилочные погрузчики грузоподъемностью до 5 т или малогабаритные авто- и тракторные тягачи с прицепными тележками.

Перемещение воздуховодов по перекрытиям многоэтажных зданий осуществляется с помощью подъемно-транспортного оборудования или ручным транспортом.

2.13 До начала монтажа вентиляционных систем генеральным подрядчиком должны быть выполнены следующие работы:

- монтаж междуэтажных перекрытий, стен и перегородок;

- устройство фундаментов, оснований или площадок для установки вентиляторов, кондиционеров и другого вентиляционного оборудования;

- строительные конструкции вентиляционных камер приточных систем;

- гидроизоляционные работы в местах установки кондиционеров, приточных вентиляционных камер, мокрых фильтров;

- устройство полов (или соответствующей подготовки) в местах установки вентиляторов на пружинных виброизоляторах, а также «плавающие» основания для установки вентиляционного оборудования;

- устройство опор для установки крышных вентиляторов, выхлопных шахт и дефлекторов на покрытиях зданий;

- подготовлены отверстия в стенах, перегородках, перекрытиях и покрытиях, необходимые для прокладки воздуховодов;

- нанесены на внутренних и наружных стенах всех помещений вспомогательные отметки, равных проектным отметкам чистого пола плюс 500 мм;

- оштукатурены (или облицованы) поверхностей стен и ниш в местах прокладки воздуховодов;

- подготовлены монтажные проемы в стенах и перекрытиях для подачи крупногабаритного оборудования и воздуховодов и смонтированы кран-балки в вентиляционных камерах;

- установлены в соответствии с рабочей документацией закладные детали в строительных конструкциях для крепления оборудования и воздуховодов;

- обеспечена возможность включения электроинструментов, а также электросварочных аппаратов на расстоянии не более 50 м один от другого;

- остеклены оконные проемы в наружных ограждениях, утеплены входы и отверстия;

- выполнены мероприятия, обеспечивающие безопасное производство монтажных работ.

Приемка объекта под монтаж должна производиться работниками участка подготовки производства совместно с инженерно-техническими работниками монтажной организации с составлением акта.

2.14 Способ монтажа воздуховодов выбирается в зависимости от их положения (горизонтальное, вертикальное), размещения относительно конструкций (внутри или снаружи здания, у стены, у колонн, в межферменном пространстве, в шахте, на кровле здания) и характера здания (одно- или многоэтажное, промышленное, общественное и т.п.).

2.15 Монтаж металлических воздуховодов производится в следующей технологической последовательности:

- разметка мест установки средств крепления воздуховодов;

- установка средств крепления;

- согласования со строителями мест расположения и способов крепления грузоподъемных средств;

- установка грузоподъемных средств;

- доставка к месту монтажа деталей воздуховодов;

- проверка комплектности и качества доставленных деталей воздуховодов;

- сборка деталей воздуховодов в укрупненные блоки;

- установка блока в проектное положение и закрепление его;

- установка заглушек на верхних торцах вертикальных воздуховодов, расположенных на высоте до 1,5 м от пола.

2.16 Для соединения вентиляционных коробов прямоугольного сечения обычно используются фланцевые соединения и реечные. Прямоугольные фланцы изготовляются размером 100´150 - 1600´2000 мм.

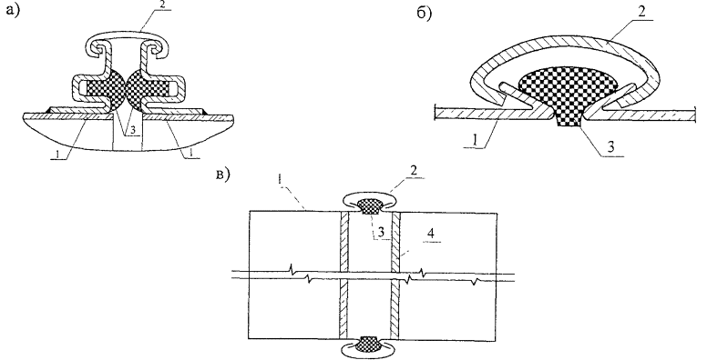
Конструкция бесфланцевого реечного соединения воздуховодов прямоугольного сечения приведена на рисунке 6.

Сборку участков воздуховодов в укрупненные блоки с помощью реечного соединения производят при предварительно установленных резиновых прокладках в ручье шин, как видно на рисунке 6а. Совмещение шин между собой и обеспечение соосности соединяемых воздуховодов выполняют с помощью оправки, вставляемой в отверстие монтажных угольников. Затем шины на одной из сторон стягивают фиксаторными клещами и на них на длину 10 - 15 мм надвигают рейку, после чего легкими ударами молотка через деревянную прокладку рейку забивают на всю длину. Соединительные рейки устанавливают сначала на вертикальных сторонах воздуховодов, а затем горизонтальных. При этом обеспечивается плотное прижатие резиновых прокладок между собой и герметичность соединения.

При установке реек на отбортованные концы воздуховодов профилированную резиновую прокладку устанавливают между торцами, как показано на рисунке 6б, после чего воздуховоды соединяют рейками, забиваемыми легкими ударами молотка.

При соединении прямоугольных воздуховодов с помощью Z- и С-образных реек (без применения резиновых прокладок) в целях герметизации стык снаружи должен быть промазан густотертой краской или разогретой до 50 °С мастикой «Бутэпрол», как показано на рисунке 6в.


а - с применением шин; б - с применением реек по отбортованным концам воздуховодов;
в - с помощью Z- и С-образных реек; 1 - воздуховод; 2 - соединительная рейка;
3 - резиновая уплотнительная прокладка Т-образной формы; 4 - густотертая краска

Рисунок 6 - Бесфланцевые реечные соединения воздуховодов прямоугольного сечения


2.17 Максимальная длина укрупненных блоков прямоугольных воздуховодов, монтируемых горизонтально и соединяемых на шинах и рейках, зависит от схемы расположения захватов и составляет 6 - 12 м. В случае применения специальных траверс длина блоков может быть увеличена до 15 м в зависимости от конструкции траверсы. Вертикальные воздуховоды монтируют укрупненными блоками в пределах 1 - 2 этажей здания.

2.18 Длина блока определяется размерами сечения и типом соединения воздуховодов, условиями монтажа и наличием грузоподъемных средств.

Длина укрупненных блоков горизонтальных; воздуховодов, соединяемых на фланцах, не должна превышать 20 м.

Схемы организации рабочей зоны при монтаже воздуховодов в промышленных зданиях и сооружениях даны на рисунках 7 - 13.

1 - контейнеры для воздуховодов; 2 - столы монтажные; 3 - подъемный рольганг

Рисунок 7 - Схема организации работ при монтаже воздуховодов подъемным

рольгангом в блоках покрытия на конвейере

1 - консоль с блоком; 2 - лебедка; 3 - автогидроподъемник; 4 - траверса; 5 - оттяжка; 6 - блок

Рисунок 8 - Схема организации рабочей зоны при монтаже воздуховодов по наружной стене здания


1 - лебедка; 2 - траверса; 3 - укрупненный узел воздуховода; 4 - подвески

Рисунок 9 - Схема организации рабочей зоны при монтаже горизонтальных воздуховодов в здании

1 - укрупненный узел воздуховода; 2 - траверса; 3 - автокран; 4 - автогидроподъемник

Рисунок 10 - Схема организации рабочей зоны при монтаже горизонтальных воздуховодов на эстакаде


1 - укрупненный узел воздуховода; 2 - полуавтоматический строп; 3 - лебедка 4 - блок; 5 - консоль; 6 - кронштейны; 7 - растяжка

Рисунок 11 - Схема организации рабочей зоны при монтаже вертикальных воздуховодов по наружной стене здания

Рисунок 12 - Схема организации рабочей зоны при монтаже вертикальных воздуховодов в здании методом «наращивания снизу»

1 - воздуховод; 2 - мачта; 3 - монтажно-тяговый механизм; 4 - растяжка; 5 - тяга;
6 - шарнир; 7 - подставка; 8 - хомут; 9 - инвентарный строп; 10 - подкадки

Рисунок 13 - Схема организации монтажной зоны при монтаже вертикальных воздуховодов

2.19 Воздуховоды должны монтироваться вне зависимости от наличия технологического оборудования в соответствии с проектными привязками и отметками. Присоединение воздуховодов к технологическому оборудованию должно производиться после его установки.

При монтаже воздуховодов необходимо выдерживать нормативные монтажные расстояния в местах сложных пересечений воздуховодов и других коммуникаций и раскладки воздуховодов в шахте, как показано на рисунках 14 - 16.

При размерах b и b1 от 100 до 500 ´ = 100 мм

»          »                   от 600 до 1600 ´ = 300 мм

Рисунок 14 - Минимальные монтажные расстояния от строительных конструкций до воздуховодов

Рисунок 15 - Минимальные монтажные расстояния от инженерных коммуникаций до воздуховодов

D иD¢, b1 и b¢1 - диаметры и сторона соответственно круглых и прямоугольных воздуховодов

Рисунок 16 - Минимальные монтажные расстояния между воздуховодами

Воздуховоды в шахтах, нишах и т.п. необходимо размещать таким образом, чтобы их было удобно монтировать и обслуживать.

2.20 Крепления горизонтальных металлических неизолированных воздуховодов (хомуты, подвески, опоры и др.) на бесфланцевом соединении следует устанавливать на расстоянии не более 4 м одно от другого при размерах большей стороны воздуховода прямоугольного сечения менее 400 мм и на расстоянии не более 3 м одно от другого - при размерах большей стороны воздуховода прямоугольного сечения 400 мм и более.

Крепления горизонтальных металлических неизолированных воздуховодов на фланцевом соединении прямоугольного сечения при размерах его большей стороны до 2000 мм включительно устанавливаются на расстоянии не более 6 м одно от другого Расстояния между креплениями изолированных металлических воздуховодов любых размеров поперечных сечений, а также неизолированных воздуховодов прямоугольного сечения при размерах его большей стороны более 2000 мм назначаются рабочей документацией.

Хомуты должны плотно охватывать металлические воздуховоды.

Крепления вертикальных металлических воздуховодов устанавливаются на расстоянии не более 4 м одно от другого.

Чертежи нетиповых креплений должны входить в комплект рабочей документации.

Крепление вертикальных металлических воздуховодов внутри помещений многоэтажных корпусов с высотой этажа до 4 м выполняются в междуэтажных перекрытиях.

Крепление вертикальных металлических воздуховодов внутри помещений с высотой этажа более 4 м на кровле здания назначаются проектом (рабочим проектом).

Крепление растяжек и подвесок непосредственно к фланцам воздуховода не допускается. Натяжение регулируемых подвесок должно быть равномерным.

Свободно подвешиваемые воздуховоды должны расчаливаться путем установки двойных подвесок через каждые две одинарные подвески при длине подвески от 0,5 до 1,5 м.

При длине подвесок более 1,5 м двойные подвески устанавливаются через каждую одинарную подвеску.

2.21 При монтаже вертикальных вентиляционных коробов в жилом многоэтажном комплексе до начала работ необходимо:

- выполнить работы по бетонированию монолитных участков вокруг проемов шахт на 1-м этаже и через каждые три этажа с оставлением проемов под венткороба. На остальных этажах вместо монолитных участков установить съемные настилы из деревянных щитов. Укладку щитов производить на деревянные прогоны из досок 50´150 мм в направлении «от себя», зафиксировав щиты от смещения сшивными планками;

- очистить от наплывов бетона железобетонные стены шахты;

- на каждом этаже оградить проемы защитным ограждением высотой 1,1 м. Стойки зафиксировать за бетонные стены с помощью обрезков уголка, приваренных сверху и снизу к стойкам параллельно ограждающим бетонным стенам;

- организовать место приема вертикальных стояков вентиляции в подвале;

- на последнем перекрытии установить и закрепить ручную лебедку и монтажный блок грузоподъемностью 1500 кг;

- выполнить освещение рабочих мест и подходов согласно ГОСТ 12.1.046-85 на каждом этаже.

Схема монтажа вертикального вентиляционного короба в жилом многоэтажном здании приведена на рисунке 17.

Варианты установки лебедки для подъема венткоробов показаны на рисунках 18 и 19.

2.22 Производство работ по монтажу вертикальных вентиляционных коробов в жилом многоэтажном комплексе происходит в следующем порядке:

- собирается в подвале или на первом этаже воздуховод длиной 12 м из шести секций длиной 2 м каждая, как показано на рисунке 20;

- каждая 12-ти метровая плеть поднимается за верхнюю секцию при помощи лебедки и монтажного блока;

- строповка груза, показанная на рисунке 20 (узел 2), производится крюком за петлю, приваренную к трубе, установленной внутри секции. Крюк закрепляется через овоидное звено к тросу лебедки;

Рисунок 17 - Схема монтажа вертикальных вентиляционных коробов в многоэтажном
жилом комплексе при помощи лебедки, установленной на перекрытии, и отводного блока

а) лебедка установлена на перекрытии; б) рамка под лебедку

Рисунок 18 - Первый вариант установки ручной лебедки

- после подъема первой плети, она закрепляется по проекту на хомут воздуховода, как показано на рисунке 20 (узел 1). Хомут закрепляется в монолитном перекрытии и к нему привариваются фланцы. Аналогичное крепление производится по всей шахте через этаж;

- после закрепления плети по проекту освобождается канат с крюком и опускается через закрепленный воздуховод вниз для строповки собранного в подвале или на первом этаже воздуховода.

а) лебедка установлена над проемом шахты; б) рамка под лебедку

Рисунок 19 - Второй вариант установки ручной лебедки

Соединение воздуховода производится на болтах и на сварке.

В процессе сборки каждых 6-ти секций производится временное опирание промежуточной секции на уголки, уложенные на перекрытие.

По мере подъема плети производится закрытие проемов шахты на каждом этаже при помощи деревянных настилов или профнастила.

Верхнюю секцию воздуховода необходимо подстыковать к венткоробам, установленным через проем в покрытии (методом наращивания сверху).

Рисунок 20 - Схема сборки плети венткороба из 6 секций

3 ТРЕБОВАНИЯ К КАЧЕСТВУ И ПРИЕМКЕ РАБОТ

3.1 Контроль качества работ по монтажу вентиляционных коробов должен осуществляться специалистами или специальными службами, входящими в состав строительной организации или привлекаемыми со стороны, оснащенными техническими средствами, обеспечивающими необходимую достоверность и полноту контроля.

3.2 Контроль качества работ осуществляют на всех стадиях технологической цепи, начиная от разработки проекта и кончая его реализацией на объекте на основе ППР и технологических карт. Контроль качества должен включать в себя входной контроль рабочей документации, конструкций, изделий, материалов и оборудования, операционный контроль отдельных монтажных процессов или производственных операций и оценку соответствия выполненных работ.

3.3 При входном контроле рабочей документации производится проверка ее комплектности и достаточности содержащейся в ней технической информации для производства работ.

При входном контроле изделий, материалов и оборудования проверяется внешним осмотром соответствие их требованиям стандартов или других нормативных документов и рабочей документации, а также наличие и содержание паспортов, сертификатов и других сопроводительных документов.

3.4 Воздуховоды и детали вентиляционных систем должны быть изготовлены в соответствии с рабочей документацией, монтажными чертежами и утвержденными в установленном порядке техническими условиями ТУ 36-736-78 «Воздуховоды металлические» и ТУ 36-2581-83 «Воздуховоды вентиляционные из металлопласта».

Допускаемые отклонения наружных размеров поперечных сечений воздуховодов не должны превышать величин, указанных в таблице 6.

Таблица 6 - Допускаемые отклонения наружных размеров поперечных сечений воздуховодов

Размеры сторон воздуховода прямоугольного сечения, мм

Отклонение, мм

100 - 250

-3

300 - 500

-4

600 - 1250

-6

1600 - 2000

-7

Неплоскостность стенок воздуховодов прямоугольного сечения не должна превышать величин, указанных в таблице 7.

Таблица 7 - Неплоскостность стенок воздуховодов прямоугольного сечения

Наружный размер стороны поперечного сечения прямоугольного воздуховода, мм

Неплоскостность, мм

Наружный размер стороны поперечного сечения прямоугольного воздуховода, мм

Неплоскостность, мм

100 - 250

5

600 - 1250

15

300 - 500

10

1600 - 2000

20

3.5 Торцы прямых участков воздуховодов должны быть перпендикулярны их осям или смежным поверхностям. Отклонение от перпендикулярности торца не должно превышать 10 мм на 1000 мм длины стороны поперечного сечения воздуховода.

3.6 Угловые размеры воздуховодов (отводов, узлов ответвлений, переходов и т.д.) должны соответствовать требованиям монтажных проектов. При этом допустимое отклонение не должно превышать ± 1° 30¢.

3.7 Соединительные детали, предназначенные для монтажа воздуховодов на фланцах и бесфланцевых соединениях (бандажных, реечных и др.), должны соответствовать требованиям технической документации на тип соединения, утвержденной в установленном порядке.

3.8 Контроль правильности основных размеров воздуховодов должен производиться по утвержденной технологии завода-изготовителя следующим инструментом:

- линейкой металлической (ГОСТ 427-75*);

- рулеткой измерительной (ГОСТ 7502-98);

- угольником поверочным 90° (ГОСТ 3749-77*);

- штангенциркулем (ГОСТ 166-89*);

- угломером (ГОСТ 5378-88);

- шаблонами, изготовленными на заводе-изготовителе.

3.9 Качество покрытий, швов, отбортовки, крепления соединительных изделий, крепежных деталей, элементов жесткости и шин, внешний вид изделий, а также комплектность, маркировка и упаковка проверяются визуально.

3.10 В комплект поставки воздуховодов должны входить изделия, указанные в монтажном проекте (ведомостях, эскизах), за исключением обеспыливающих и регулирующих устройств - циклонов, заслонок и клапанов (всех типов), шумоглушителей, изготовляемых по соответствующим типовым чертежам и ТУ и средства крепления.

В комплект воздуховодов, соединяемых на бесфланцевых соединениях, должны входить бандажи, рейки и другие детали, предусмотренные технической документацией на эти виды соединений, утвержденной в установленном порядке.

Каждый комплект воздуховодов должен сопровождаться монтажным проектом (ведомости, эскизы, схемы) в одном экземпляре и накладной предприятия-изготовителя с отметкой отдела технического контроля.

3.11 Изделия воздуховодов должны иметь маркировочные знаки, нанесенные на внутреннюю или наружную поверхность на расстоянии 100 - 300 мм от торца изделия масляной краской, отличающейся по цвету от основной краски.

Результаты проведения входного контроля должны быть занесены в «Журнал входного учета и контроля качества получаемых деталей, материалов, конструкций и оборудования».

3.12 Операционный контроль осуществляют непосредственно в процессе выполнения операций по монтажу вентиляционных коробов, а также сразу после завершения работ. При операционном контроле следует проверять соблюдение технологии монтажа вентиляционных коробов, соответствие выполняемых работ рабочим чертежам, строительным нормам, правилам и стандартам. Результаты операционного контроля должны фиксироваться в журнале работ.

Операционный контроль должен проводиться постоянно в процессе производства монтажных работ.

Карта операционного контроля монтажа металлических воздуховодов приведена в таблице 8.

Таблица 8 - Карта операционного контроля монтажа металлических воздуховодов

Технологический процесс

Контролируемые показатели

Измерительный инструмент

Вид контроля

1

2

3

4

Поставка деталей воздуховодов к месту монтажа

Проверка комплектности системы вентиляции (наличие регулирующих устройств, средств крепления и т.д.)

-

Постоянный 100 %. Визуально. Соответствие с комплектовочной ведомостью, эскизами

Разметка мест установки средств крепления воздуховодов

Шаг установки креплений в соответствии со СНиП 3.05.01-85

Рулетка l = 10 м

Постоянный 100 %

Шнур

Отвес М = 200 г

Сверление отверстий в строительных конструкциях

Глубина сверления

Метр стальной

Постоянный 100 %

Установка средств крепления

Прочность установки креплений

-

Постоянный 100 %. Визуально

Сборка в укрупненные узлы деталей воздуховодов, регулирующих и воздухораспределительных устройств на площадке

Правильность сборки в соответствии с проектом. Герметичность соединений

-

Визуально. Постоянный 100 %

Подъем на проектную отметку и соединение между собой укрупненных узлов воздуховодов с предварительным закреплением

Положение поперечных швов и разъемных соединений воздуховодов относительно строительных конструкций. Вертикальность стояков. Отсутствие изломов, кривизны на прямых участках воздуховодов

Отвес М = 200 г

Визуально. Постоянный 100 %

Выверка смонтированных воздуховодов и окончательное закрепление их

Горизонтальность установки воздуховодов и соблюдение уклонов в разводящих участках воздуховодов. Плотность охвата воздуховода хомутами. Надежность и внешний вид креплений

Метр металлический,

рулетка l = 10 м,

уровень l = 300 мм

Постоянный 100 %. Визуально

Присоединение воздуховодов к вентиляционному оборудованию

Правильность установки мягких вставок (отсутствие провиса)

 

Постоянный 100 %. Визуально

Опробование действия регулирующих устройств

Плавность работы регулирующих устройств

 

Выходной 100 %. Визуально

3.13 При оценке соответствия выполненных работ должна производиться проверка соответствия выполненных монтажных работ требованиям проектной и нормативно-технической документации и оценка качества работ.

3.14 При осуществлении контроля качества работ на отдельных стадиях производства монтажа вентиляционных коробов должны быть проверены:

- положение поперечных швов и разъемных соединений воздуховодов относительно строительных конструкций;

- вертикальность стояков;

- отсутствие изломов, кривизны и винтообразности на прямых участках воздуховодов;

- уклоны в разводящих участках воздуховодов, по которым транспортируется воздух с высокой относительной влажностью;

- тщательность и правильность поставки прокладок во фланцевых соединениях;

- надежность и внешний вид креплений воздуховодов, воздухораспределительных устройств, зонтов, местных отсосов (особое внимание должно быть обращено на крепления воздуховодов, подлежащих изоляции или уже изолированных);

- правильность установки мягких вставок;

- плавность работы регулирующих устройств и удобство управления ими;

- тщательность покраски воздуховодов и других элементов вентиляционных систем и соответствие вида покраски проекту.

3.15 Отклонение воздуховодов от вертикали не должно превышать 2 мм на 1 м длины воздуховода.

3.16 Воздуховоды, предназначенные для транспортирования увлажненного воздуха, следует монтировать так, чтобы в нижней части воздуховодов не было продольных швов.

Участки воздуховодов, в которых возможно выпадение росы из транспортируемого влажного воздуха, следует прокладывать с уклоном 0,01 - 0,015 в сторону дренирующих устройств.

3.17 Прокладки между фланцами воздуховодов не должны выступать внутрь воздуховодов.

3.18 Болты во фланцевых соединениях должны быть затянуты, все гайки болтов должны располагаться с одной стороны фланца. При установке болтов вертикально гайки должны располагаться с нижней стороны соединения.

3.19 Работы по монтажу вентиляционных коробов в промышленных, административных и жилых зданиях следует выполнять в соответствии с правилами производства и приемки работ согласно:

- СНиП 3.05.01-85 Внутренние санитарно-технические системы;

- СНиП 12-01-2004 Организация строительства;

- СНиП 12-03-2001 Безопасность труда в строительстве. Часть 1. Общие требования;

- СНиП 12-04-2002 Безопасность труда в строительстве. Часть 2. Строительное производство;

- СНиП 41-01-2003 Отопление, вентиляция и кондиционирование;

- ППБ 01-03 Правила пожарной безопасности в Российской Федерации.

4 ТРЕБОВАНИЯ БЕЗОПАСНОСТИ И ОХРАНЫ ТРУДА,
ЭКОЛОГИЧЕСКОЙ И ПОЖАРНОЙ БЕЗОПАСНОСТИ

4.1 Монтаж вентиляционных коробов должен производиться в соответствии с требованиями безопасности, санитарии и гигиены труда, устанавливаемыми государственными стандартами системы стандартов безопасности труда (ССБТ), строительными нормами и правилами по безопасности труда в строительстве, утвержденными Госстроем России, правилами и нормами, утвержденными организациями государственного надзора.

4.2 Перед допуском к работе по монтажу вентиляционных коробов руководители организаций обязаны обеспечить обучение и проведение инструктажа по безопасности труда на рабочем месте в соответствии с требованиями ГОСТ 12.0.004-90.

4.3 К выполнению работ на высоте допускаются лица не моложе 18 лет, прошедшие медицинский осмотр без противопоказаний к выполнению работ на высоте, имеющие профессиональные навыки, прошедшие обучение безопасным методам и приемам работ и получившие соответствующее удостоверение.

К выполнению самостоятельных верхолазных работ в соответствии с Перечнем тяжелых работ и работ с вредными или опасными условиями труда, при выполнении которых запрещается применение труда лиц моложе восемнадцати лет, допускаются лица (рабочие и инженерно-технические работники) не моложе 18 лет, прошедшие медицинский осмотр и признанные годными для выполнения верхолазных работ, имеющие стаж верхолазных работ не менее одного года и тарифный разряд не ниже третьего.

Работники, впервые допускаемые к верхолазным работам, в течение одного года должны работать под непосредственным надзором опытных работников, назначенных приказом по организации.

4.4 К электросварочным работам допускаются лица, прошедшие соответствующее обучение, инструктаж и проверку знаний правил безопасной работы с оформлением в специальном журнале и имеющие квалификационное удостоверение. К электросварочным работам на высоте не допускаются лица, имеющие медицинские противопоказания.

4.5 К работе с электрифицированным инструментом допускаются лица не моложе 18 лет, прошедшие медицинское освидетельствование, обученные правилам пользования инструментом, безопасности труда и имеющие группу по электробезопасности не ниже II, а для подключения и отключения электроточек с группой не ниже III. Весь электрифицированный инструмент подлежит учету и регистрации в специальном журнале. На каждом экземпляре инструмента должен стоять учетный номер. Наблюдение за исправностью и своевременным ремонтом электрифицированного инструмента возлагается на отдел главного механика строительной организации. Перед выдачей электрифицированного инструмента необходимо проверить его исправность (отсутствие замыкания на корпус, изоляцию у питающих проводов и рукояток, состояние рабочей части инструмента) и работу его на холостом ходу.

4.6 Ответственность за правильную организацию безопасного ведения работ на объекте возлагается на производителя работ и мастера.

4.7 При выполнении работ по монтажу вентиляционных коробов должны выполняться требования СанПиН 2.2.3.1384-03 «Гигиенические требования к организации строительного производства и строительных работ».

4.8 Допуск посторонних лиц, а также работников в нетрезвом состоянии на территорию строительной площадки, в производственные, санитарно-бытовые помещения и на рабочие места запрещается.

4.9 Работы по монтажу воздуховодов производятся по наряду-допуску на производство работ в условиях действия опасных и(или) вредных производственных факторов.

4.10 Монтаж вентиляционных коробов следует вести только при наличии проекта производства работ, технологических карт или монтажных схем. При отсутствии указанных документов монтажные работы вести запрещается.

4.11 Порядок выполнения монтажа вентиляционных коробов, определенный проектом производства работ, должен быть таким, чтобы предыдущая операция полностью исключала возможность производственной опасности при выполнении последующих. Монтаж воздуховодов должен, как правило, производиться крупными блоками с применением подъемных механизмов.

4.12 Под монтируемыми воздуховодами не должны находиться люди. Нельзя закреплять подвешиваемый воздуховод или блок воздуховодов за фермы, перекрытия и другие строительные конструкции в местах, не предусмотренных проектом производства работ.

4.13 Монтаж воздуховодов с лесов, подмостей и площадок, выполненных в соответствии с требованиями ГОСТ 24258-88, должен производиться не менее чем двумя рабочими.

4.14 Совмещения отверстий фланцев при соединении воздуховодов следует производить только оправками. Запрещается проверять совпадение отверстий соединяемых фланцев пальцами рук.

4.15 Не допускается выполнение работ по монтажу воздуховодов на кровле зданий во время гололеда, тумана, исключающего видимость в пределах фронта работ, грозы и ветра скоростью 15 м/с и более.

4.16 Для предотвращения раскачивания или закручивания поднимаемых блоков воздуховодов следует применять оттяжки из пенькового каната.

4.17 Работу по монтажу вентиляционных коробов разрешается производить только исправным инструментом. Гаечные ключи должны точно соответствовать размерам гаек и болтов, не иметь сбитых скосов на гранях и заусенцев на рукоятке. Не следует отвертывать или завертывать гайки ключом больших (по сравнению с головкой) размеров с подкладкой металлических пластин между гранями гайки и ключа, а также удлинять гаечные ключи путем присоединения другого ключа или трубы.

4.18 Рабочие места и участки работ при монтаже вентиляционных коробов в темное время суток должны быть освещены в соответствии с требованиями ГОСТ 12.1.046-85. Освещенность должна быть равномерной, без слепящего действия осветительных приспособлений на работающих. Производство работ в неосвещенных местах не допускается.

4.19 До начала работ по монтажу вентиляционных коробов места, опасные для работы и прохода людей, следует оградить, снабдить надписями и указателями, установить знаки безопасности по ГОСТ Р 12 4.026-2001, а при работе в ночное время обозначить световыми сигналами.

4.20 В проектах производства работ необходимо указывать опасные для людей зоны, в которых вредные факторы превышают предельно допустимые концентрации или предельно допустимые уровни.

4.21 Места монтажа должны быть хорошо освещены. Светильники общего освещения, присоединенные к электросети напряжением 127 и 220 В, должны устанавливаться на высоте не менее 2,5 м от уровня земли, пола, настила. При высоте подвеса менее 2,5 м светильники должны подсоединяться к сети напряжением не выше 42 В.

4.22 При монтаже воздуховодов в проектах производства работ следует предусматривать установку крепежных деталей, за которые монтажник воздуховодов может закрепиться при работе на высоте.

4.23 Вентиляционные заготовки металлических воздуховодов должны поставляться комплектно в соответствии с ТУ 36-736-78, не иметь перекосов, заусенцев и других дефектов, затрудняющих монтажные работы и могущих привести к травмам работающих с ними слесарей-вентиляционников.

4.25 При выполнении работ по окраске воздуховодов и их деталей, а также герметизации воздуховодов с применением составов, содержащих вредные вещества, следует соблюдать требования ПОТ РМ-017-2001 «Межотраслевые правила по охране труда при окрасочных работах», а также ГОСТ 12.3.016-87.

4.26 Эксплуатация строительных машин (подъемных механизмов, средств малой механизации), включая техническое обслуживание, должна осуществляться в соответствии с требованиями СНиП 12-03-2001 и инструкциями заводов-изготовителей. Эксплуатация грузоподъемных механизмов, кроме того, должна производиться с учетом ПБ 10-382-00 «Правила устройства и безопасной эксплуатации грузоподъемных кранов».

4.27 Места выполнения электросварочных работ открытой дугой должны быть ограждены с помощью несгораемых ширм, щитов и т.п.

4.28 При производстве электросварочных работ на открытом воздухе над установками и сварочными постами должны быть сооружены навесы из несгораемых материалов. При отсутствии навесов электросварочные работы во время дождя или снегопада должны быть прекращены.

4.29 Для предохранения от падающих при электросварке капель расплавленного металла и шлака под местом сварки в местах прохода людей необходимо устанавливать плотный помост, покрытый листами кровельного железа или асбестового картона.

4.30 При монтаже вентиляционных коробов на кровлях с уклоном более 20°, а также независимо от уклона на мокрых и покрытых инеем или снегом кровлях рабочие должны применять предохранительные пояса, а также трапы шириной не менее 0,3 м с поперечными планками для упора ног; трапы во время работы должны быть закреплены.

4.31 Погрузочно-разгрузочные работы следует выполнять в соответствии с ГОСТ 12.3.002-75*, ГОСТ 12.3.009-76*.

4.32 Погрузочно-разгрузочные работы необходимо выполнять механизированным способом при помощи подъемно-транспортного оборудования и средств малой механизации. Поднимать грузы вручную следует в исключительных случаях, соблюдая нормы, установленные действующими документами.

4.33 При погрузке и разгрузке вентиляционных заготовок воздуховодов и их деталей следует применять контейнеры. Во время подъема, опускания и перемещения контейнера рабочим нельзя находиться на нем или внутри него, а также на расположенных рядом контейнерах.

4.34 Строповку и расстроповку грузов следует производить в соответствии с ПБ 10-382-00.

4.35 Подача материалов, вентиляционных заготовок, оборудования на рабочие места должна осуществляться в технологической последовательности, обеспечивающей безопасность работ. Складировать заготовки и оборудование на рабочих местах следует таким образом, чтобы не создавалась опасность при выполнении работ, не были стеснены проходы и была бы возможность собирать воздуховоды в укрупненные блоки. Необходимо следить за правильным размещением оборудования и заготовок на перекрытиях, избегая сосредоточения и не превышая допустимых нагрузок на 1 м2 перекрытия.

4.36 Вентиляционные заготовки должны храниться в штабелях высотой не более 2,5 м на прокладках и подкладках. Крупногабаритное и тяжеловесное оборудование должно храниться в один ряд на подкладках.

4.37 Зона складирования заготовок и вентиляционного оборудования на строительной площадке должна быть ограждена и находиться в зоне действующего грузоподъемного крана. Площадка для складирования должна быть спланирована, иметь уклоны для стока воды, а в зимнее время очищаться от снега и льда.

4.38 Взрывоопасные или вредные лакокрасочные и другие материалы разрешается хранить на рабочих местах в количествах, не превышающих сменной потребности. Такие материалы необходимо хранить в плотно закрытой таре.

4.39 Горючие и легковоспламеняющиеся жидкости (керосин, бензин, а также смазочные материалы и красители) должны храниться в помещениях из несгораемых материалов или заглубленных в землю.

4.40 Между штабелями (стеллажами) на площадках и в складах должны быть предусмотрены проходы шириной не менее 1 м и проезды, ширина которых зависит от габаритов транспортных и погрузочно-разгрузочных средств, обслуживающих склад или площадку.

4.41 Руководители монтажных организаций обязаны обеспечить рабочих, инженерно-технических работников и служащих спецодеждой, спецобувью и другими средствами индивидуальной защиты в соответствии с нормативными требованиями.

4.42 Все лица, находящиеся на строительной площадке, обязаны носить защитные каски. Рабочие и инженерно-технические работники без защитных касок и других необходимых средств индивидуальной защиты к выполнению работ по монтажу воздуховодов не допускаются.

4.43 При работе на высоте монтажники систем вентиляции должны обязательно пользоваться предохранительными поясами.

4.44. Рабочие и служащие, получающие средства индивидуальной защиты (респираторы, противогазы, предохранительные пояса, каски и др.), обязательно должны быть обучены правилам пользования ими.

4.45 Все работы по монтажу вентиляционных коробов вести в присутствии и под руководством ответственных ИТР в соответствии с правилами производства и приемки работ согласно СНиП 3.05.01-85 при строгом соблюдении требований безопасности труда согласно:

- СНиП 12-01-2004 «Организация строительства»;

- СНиП 12-03-2001 «Безопасность труда в строительстве. Часть 1. Общие положения»;

- СНиП 12-04-2002 «Безопасность труда в строительстве. Часть 2. Строительное производство»;

- ППБ 01-03 «Правила пожарной безопасности в Российской Федерации»;

- СанПиН 2.2.3.1384-03 «Гигиенические требования к организации строительного производства и строительных работ»;

- СП 12-135-2003 «Безопасность труда в строительстве. Отраслевые типовые инструкции по охране труда».

5 ПОТРЕБНОСТЬ В МАТЕРИАЛЬНО-ТЕХНИЧЕСКИХ РЕСУРСАХ

5.1 Для выполнения работ по монтажу вентиляционных коробов могут быть использованы указанные в таблицах 9 и 10 механизмы, инструмент и приспособления.

Таблица 9 - Ведомость ручного инструмента, монтажных приспособлений, средств малой механизации и средств индивидуальной защиты

№ п/п

Наименование

Тип, марка, ГОСТ

Техническая характеристика

Количество на бригаду из 6 чел., шт.

1

2

3

4

5

1

Молоток слесарный стальной

 

Масса, кг                         0,5 - 1

2

2

Молоток кровельный

МКР-3

Масса, кг                         1,5

3

ГОСТ 11042-90

3

Кувалда кузнечная тупоносая

 

Масса, кг                         2 - 4

2

4

Зубило слесарное

ГОСТ 11401-75*

Длина, мм                     160 - 250

2

5

Ключи гаечные с открытым зевом двухсторонние

ГОСТ 7211-86*

Размер зева, мм:

 

8´10

6

12´13

6

13´14

6

17´19

6

22´24

2

27´30

2

32´36

2

6

Ключ гаечный трещоточный

ГОСТ 2839-80*

Размер зева сменных головок,

2

мм:

10, 12, 13, 14, 17, 19

7

Ключ гаечный разводной

СТД 961/7

Размер зева, мм                  30

1

8

Ключ газосварщика универсальный

ГОСТ 7275-75*

-

1

9

Отвертка слесарно-монтажная (комплект)

ГОСТ 17199-88

Длина, мм                     160 - 250

1

10

Плоскогубцы комбинированные

ГОСТ 5547-93

Длина, мм                     160 - 200

1

11

Напильники плоские квадратные, трехгранные, круглые, полукруглые с насечкой № 1, 2, 3(набор)

ГОСТ 1465-80*

Длина, мм                     150 - 400

1

12

Кернер

ГОСТ 7213-72*

Длина, мм                     125 - 160

2

13

Ножницы ручные для резки металла

ГОСТ 7210-75*

Длина, мм                     250 - 320

2

14

Чертилка

ГОСТ 24473-80*

Длина, мм                     150

2

15

Струбцина для сборки бандажного соединения

СТД 149/1

Максимальный зев, мм    150

6

16

Рамка ножовочная ручная

ГОСТ 17270-71*

Длина ножовочного полотна, мм                                 250 - 300

1

17

Тиски слесарные с ручным приводом

ГОСТ 4045-75*

-

1

18

Лом монтажный

ЛМ

Длина, мм                 560 - 1320

2

19

Щетка стальная прямоугольная

ТУ 494-01-104-76

Длина, мм                             310

1

20

Щетка-сметка

-

-

1

21

Метр складной металлический

-

Длина, мм                           1000

6

22

Линейка измерительная металлическая

ГОСТ 427-75*

Длина, мм                             500

1

23

Рулетка измерительная металлическая

ГОСТ 7502-98

Длина ленты, мм   5000 - 20000

1

24

Штангенциркуль

ШЦ-1

ГОСТ 166-89*

Предел измерения 125 мм

1

25

Бородки слесарные

ГОСТ 7214-72*

Длина, мм                     160 - 200

6

26

Циркуль разметочный

ГОСТ 24472-80*

Длина, мм                                                  250

1

27

Оправка удлиненная

СТД 931/2

Диаметр, мм                          16

6

28

Клещи для сборки бандажного соединения

СТД 153

Максимальный зев, мм                                                  120

4

29

Уровень строительный

УС2-II

ГОСТ 9416-83

-

1

30

Отвес стальной строительный

ГОСТ 7948-80

Масса, кг                                0,4

2

31

Резак инжекторный для ручной кислородной резки

ГОСТ 5191-79*

-

1

32

Горелка

ГОСТ 1077-79*

-

1

33

Редуктор баллонный для газопламенной обработки

ГОСТ 13861-89

-

1

34

Щиток сварщика

 

-

1

35

Монтажно-тяговый механизм

МТМ-1,6 или

Грузоподъемность, т         1,6

2

МТМ-3,2

Грузоподъемность, т         3,2

 

36

Блок монтажный

БМ-1,25

Грузоподъемность, т        1,25

2

37

Блок монтажный

БМ-2,5

Грузоподъемность, т        2,5

1

38

Домкрат реечный

ДР-3,2

Грузоподъемность, т        3,2

1

39

Домкрат реечный

ДР-5М

Грузоподъемность, т        5

1

40

Штепсельное соединение трехполюсное

ИЭ-9901А1

Напряжение, В                   380

1

41

Штепсельное соединение трехполюсное

ИЭ-9902АП

Напряжение, В                   42

1

42

Штепсельное соединение двухполюсное

ИЭ-9903

Напряжение, В                   250

1

43

Сверлильная машина

ИЭ-1035 или

Диаметр сверла, мм          14

1

ИЭ-1023

Диаметр сверла, мм          23

 

44

Шлифовальная машина электрическая

Ш-178-1 или

Диаметр шлифовального круга, мм                            180

1

WSBA-1400

Диаметр шлифовального круга, мм                            230

1

45

Киянка плоская

ТУ 36-1923-76

Габарит, мм                                   355´190´80

2

46

Каска строительная

ГОСТ 12.4.087-84

 

7

47

Рукавицы

ГОСТ 12.4.010-75*

 

7 пар

48

Пояс предохранительный для монтажников

ГОСТ Р 50849-96*

 

7

49

Комплект знаков по безопасности и охране труда

ГОСТ Р 12.4.026-2001

 

Компл.

50

Респиратор

«Лепесток»

ГОСТ 12.4.028-76*

 

7

Таблица 10 - Ведомость ручного инструмента, монтажных приспособлений и средств малой механизации периодической потребности

№ п/п

Наименование

Тип, марка, ГОСТ

Техническая характеристика

Количество на 100 рабочих, шт.

1

2

3

4

5

1

Сверлильная машина электрическая двухскоростная с электронным регулированием частоты вращения

ИЭ-1204Э или ИЭ-1207Э

Диаметр сверла, мм          14/9

0,5

Диаметр сверла, мм          14/9

 

2

То же, с электронным регулированием частоты вращения

ИЭ-1036Э

Диаметр сверла, мм (макс.)   9

1

3

Шлифовальная машина электрическая

ИЭ-2009

Диаметр шлифовального круга, мм                                          125

0,3

4

Шлифовальная машина электрическая, угловая

ИЭ-2106

Диаметр шлифовального круга, мм                                            80

0,3

5

Гайковерт электрический

ИЭ-3115Б

Диаметр резьбы, мм      12 - 30

10

Энергия удара, Дж                  25

6

Гайковерт электрический

ИЭ-3113А

Диаметр резьбы, мм            16

10

Момент затяжки, Н × м         125

7

Шуруповерт электрический

ИЭ-3602-А

Диаметр резьбы, мм 6

1,7

8

Шуруповерт с электронным регулированием частоты вращения

ИЭ-3604Э или ИЭ-3603Э

Диаметр резьбы, мм            6

 

Диаметр резьбы, мм            6

1,7

9

Перфоратор электрический

ИЭ-4712

Диаметр резьбы, мм              2

4

10

Перфоратор электрический

ИЭ-4709А

Диаметр резьбы, мм            2,5

9

11

Ножницы электрические

ИЭ-5502

Толщина разрезаемого листа, мм                                           1

2

12

Ножницы электрические

ИЭ-5803

Толщина разрезаемого листа, мм                                          0,85

1

13

Ножницы электрические

ИЭ-5405

Толщина разрезаемого листа, мм                                          2,5

2

14

Ножницы электрические

ИЭ-5404

Толщина разрезаемого листа, мм                                          1,6

1,5

15

Пила маятниковая

ПМ-3 00/400

Диаметр абразивного армированного круга, мм

0,3

                                      300, 400

16

Машина электрическая заточная

ИЭ-9702А

Диаметр круга, мм            100

3

17

Машина электрическая заточная

ИЭ-9703В

Диаметр круга, мм            100

2

18

Приспособление монтажное для перемещения грузов

ПМПГ-1

Грузоподъемность, т           1

17

19

Лебедка ручная в установочном корпусе

СТД 697

Грузоподъемность, т           0,5

9

20

Лебедка

ЛМ-1М

Грузоподъемность, т           1

9

21

Лебедка

ЛМ-3,2

Грузоподъемность, т           3,2

9

22

Компрессор передвижной

СО-7Б

Производительность, м/мин                                                 0,5

3

23

Краскораспылитель ручной пневматический

СО-71

Расход краски, л/мин           1,6

3

24

Лебедка ручная

СТД 999/1

Грузоподъемность, т           0,5

1

25

Домкрат гидравлический

ДГС-6,3

Грузоподъемность, т           6,3

0,3

26

Балансир

Б1

Грузоподъемность, кг, до 12,5

0,4

27

Балансир

Б2

Грузоподъемность, кг, до 20

0,4

28

Подкладка клиновая

ПР-3

Грузоподъемность, т           3

2

29

Подкладка клиновая

ПР-5

Грузоподъемность, т           5

2

30

Подкладка клиновая

ПР-10

Грузоподъемность, т           10

0,4

31

Предохранительное верхолазное устройство

ПВУ-2

Максимальная масса падающего груза, кг            100

2

32

Катушка монтажная

СТД 422

-

3

33

Блок монтажный

БМ-5

Грузоподъемность, т           5

3

34

Монтажно-тяговый механизм

МТМ-3,2

Грузоподъемность, т           3,2

8

5.2 В таблицах 11 и 12 приведены нормы расхода металлопроката и вспомогательных материалов на 100 м2 воздуховодов и отнесенных к ним элементов вентиляционных систем.

Таблица 11 - Нормы расхода металлопроката на 100 м2 воздуховодов

№ п/п

Материалы

Ед. изм.

Нормы расхода металлопроката на 100 м2 воздуховодов с отнесенными к ним вентиляционными изделиями

 

Прокат черного металла

 

 

 

Всего

т

1,87

 

В том числе:

 

 

1

Балки и швеллеры

»

0,03

2

Сталь крупносортная

»

0,09

3

Сталь среднесортная

»

0,13

4

Сталь мелкосортная

»

0,33

5

Сталь толстолистовая

»

0,1

6

Сталь тонколистовая толщиной более 1,9 мм

»

0,27

7

Сталь тонколистовая толщиной до 1,8 мм

»

0,46

8

Сталь кровельная черная

»

0,17

9

Сталь оцинкованная

»

0,29

Таблица 12 -Норма расхода вспомогательных материалов на 100 м2 воздуховода

№ п/п

Материалы

Ед. изм.

Нормы расхода вспомогательных материалов на 100 м2 воздуховодов из кровельной и тонколистовой стали (без элементов вентиляционных систем)

фальцевых

сварных

1

2

3

4

5

 

Изготовление

 

 

 

 

Сварочные материалы

 

 

 

1

Электроды

кг

3,38

10,08

2

Проволока сварочная

»

1

23

3

Газ углекислый

кг/м3

1,2

0,61

28

14,2

 

Покрасочные материалы

 

 

 

4

Грунт ГФ-020

кг

2468

2468

5

Сольвент

»

6,2

62

6

Растворитель

»

0,005

0005

7

Лак БТ 577

»

0,04

004

8

Гайки М12

»

0,369

0369

9

Мастика «Бутепрол»

»

1,7

-

 

Монтаж

 

 

 

 

Болты с гайками

 

 

 

10

Всего

»

8,51

11,22

 

В том числе

 

 

 

11

М6´20

»

1,15

2,35

12

М8´25

»

1,7

2,3

13

М10´30

»

3,65

4,56

14

М10´35

»

1,95

1,95

15

М10´40

»

0,06

0,06

16

Гайки М12

»

0,18

0,18

 

Сварочные материалы

 

 

 

17

Электроды

»

0,39

0,39

 

Прокладочные материалы

 

 

 

18

Резина листовая

»

5,69

9,25

19

Резина пористая

»

2,11

3,47

20

Резина профилированная

»

5,3

8,65

21

Асбест шнуровой

»

3,8

6,41

6 ТЕХНИКО-ЭКОНОМИЧЕСКИЕ ПОКАЗАТЕЛИ

6.1 Монтаж систем вентиляционных коробов должны выполнять рабочие соответствующих квалификаций, объединенные, как правило, в комплексные бригады и звенья. В этих бригадах для равномерной и полной загрузки рабочих рекомендуется широко практиковать совмещение профессий.

Состав комплексной бригады по монтажу воздуховодов с учетом возможности совмещения профессий приведен в таблице 13.

Таблица 13 - Состав комплексной бригады

Основная профессия

Рекомендуемая профессия для совмещения

Количество рабочих данного разряда

Общее количество рабочих

Монтажник систем вентиляции

 

 

7

5 - 6 разряда (бригадир)

Такелажник на монтаже 3 разряда

1

4 разряда

Электросварщик 3 разряда

1

Монтажник систем вентиляции:

 

 

4 разряда

 

1

3 разряда

Такелажник на монтаже 2 разряда

2

2 разряда

 

2

Примечание - Ответственные виды сварки необходимо поручать квалифицированному электросварщику.

6.2 В качестве примера монтажа вентиляционных коробов примем монтаж вертикальных стояков воздуховодов размером 800´800 мм площадью 100 м2 при помощи ручной лебедки.

6.3 Затраты труда и машинного времени на монтаж вентиляционных коробов подсчитаны по «Единым нормам и расценкам на строительные, монтажные и ремонтно-строительные работы», введенным в действие в 1987 г., и представлены в таблице 14.

Таблица 14 - Калькуляция затрат труда и машинного времени на монтаж вентиляционных коробов

Единица измерения 100 м2 вентиляционных коробов

№ п/п

Обоснование (ЕНиР и др. нормы)

Наименование технологических процессов

Ед. изм.

Объем работ

Норма времени

Затраты труда

рабочих, чел.-ч.

машиниста, чел.-ч. (работа машин, маш.-ч.)

рабочих, чел.-ч.

машиниста, чел.-ч. (работа машин, маш.-ч.)

1

Е9-1-46 № 1а

Сверление отверстий электрической сверлильной машиной в строительных конструкциях

100 отв.

0,5

4,3

-

2,2

-

2

Е1-2

Табл. 3 № 1аб

Доставка к месту монтажа деталей воздуховода

100 т

0,0083

1,8

1,8

(1,8)

0,034

0,034

(0,034)

3

Е10-5

Табл. 12 № 4в

Сборка воздуховодов в укрупненные блоки, установка средств крепления, подъем и установка блоков, соединение установленного блока с ранее смонтированным, выверка и окончательное закрепление системы

1 м2

100

0,62

-

62,0

-

4

Е10-13

Табл. 2г

Применит.

Установка заглушек на верхних торцах вертикальных воздуховодов

шт.

1

0,59

-

0,59

-

 

 

ИТОГО:

 

 

 

 

64,8

0,034

(0,034)

6.4 Продолжительность работ на монтаж вентиляционных коробов определяется графиком производства работ, представленным в таблице 15.

6.5 Технико-экономические показатели составляют:

- затраты труда, чел.-час.:

рабочих:                                             64,8

машиниста:                                       0,034

- продолжительность работ, час.        18


Таблица 15 - Календарный план производства работ

Измеритель конечной продукции - 100 м2 вентиляционных коробов


7 ПЕРЕЧЕНЬ НОРМАТИВНО-ТЕХНИЧЕСКОЙ ЛИТЕРАТУРЫ

1 СНиП 3.05.01-85 Внутренние санитарно-технические системы.

2 СНиП 12-01-2004 Организация строительства.

3 СНиП 12-03-2001 Безопасность труда в строительстве. Часть 1. Общие требования.

4 СНиП 12-04-2002 Безопасность труда в строительстве. Часть 2. Строительное производство.

5 СНиП 41-01-2003 Отопление, вентиляция и кондиционирование.

6 ГОСТ 12.0.004-90 ССБТ. Организация обучения безопасности труда. Общие положения.

7 ГОСТ 12.1.046-85 ССБТ. Строительство. Нормы освещения строительных площадок.

8 ГОСТ 12.3.002-75* ССБТ. Процессы производственные. Общие требования безопасности.

9 ГОСТ 12.3.009-76* ССБТ. Работы погрузочно-разгрузочные. Общие требования безопасности.

10 ГОСТ 12.3.016-87 ССБТ. Строительство. Работы антикоррозионные. Требования безопасности.

11 ГОСТ 12.4.010-75* ССБТ. Средства индивидуальной защиты. Рукавицы специальные. Технические условия.

12 ГОСТ 12.4.011-89 ССБТ. Средства защиты работающих. Общие требования и классификация.

13 ГОСТ Р 12.4.026-2001 ССБТ. Цвета сигнальные, знаки безопасности и разметка сигнальная. Назначение и правила применения. Общие технические требования и характеристики. Методы испытаний.

14 ГОСТ 12.4.059-89 ССБТ. Строительство. Ограждения предохранительные инвентарные. Общие технические условия.

15 ГОСТ 12.4.087-84 ССБТ. Строительство. Каски строительные. Технические условия.

16 ГОСТ 24258-88 Средства подмащивания. Общие технические условия.

17 ЕНиР. Единые нормы и расценки на строительные, монтажные и ремонтно-строительные работы. Сборник 1. Внутрипостроечные транспортные работы.

18 ЕНиР. Единые нормы и расценки на строительные, монтажные и ремонтно-строительные работы. Сборник 10. Сооружения систем вентиляции, кондиционирования воздуха, пневмотранспорта и аспирации.

19 ПБ 10-382-00 Правила устройства и безопасной эксплуатации грузоподъемных кранов. Госгортехнадзор России, М., 2000.

20 ППБ 01-03 Правила пожарной безопасности в Российской Федерации. МЧС России, М., 2003 г.

21 СП 12-135-2003 Безопасность труда в строительстве. Отраслевые типовые инструкции по охране труда.

22 ВСН 279-85 Инструкция по герметизации вентиляционных и санитарно-технических систем. М., 1985 г.

23 ВСН 353-86 Проектирование и применение воздуховодов из унифицированных деталей. М., 1986 г.

24 ВСН 470-89 Нормативы потребности в ручном инструменте, монтажных приспособлениях и средствах малой механизации для производства различных видов монтажных и специальных строительных работ. М., 1990 г.

25 Пособие по производству и приемке работ при устройстве систем вентиляции и кондиционирования воздуха (к СНиП 3.05.01-85). М., 1989 г.

26 ПОТ Р М-007-98 Правила по охране труда при погрузочно-разгрузочных работах и размещении грузов.

27 ПОТ Р М-012-2000 Межотраслевые правила по охране труда при работе на высоте.

28 ПОТ Р М-016-2001 Межотраслевые правила по охране труда (правила безопасности) при эксплуатации электроустановок.

29 ПОТ Р М-017-2001 Межотраслевые правила по охране труда при окрасочных работах.

30 ПОТ Р М-020-2001 Межотраслевые правила по охране труда при электросварочных и газосварочных работах.

31 СанПиН 2.2.3.1384-03 Гигиенические требования к организации строительного производства и строительных работ.