Меню
Навигация
Novatika

Технологическая карта на монтаж и демонтаж опалубки "ОПРУС" при бетонировании колонн здания

В карте приведены указания по организации и технологии монтажа и демонтажа опалубки "ОПРУС" при бетонировании колонн зданий, представлены схемы механизации, а также приведены данные по контролю качества и приемке работ, требования безопасности и охраны труда, экологической и пожарной безопасности при производстве работ. Карта предназначена для производителей работ, мастеров и бригадиров организаций, производящих бетонирование колонн зданий, а также работников технического надзора заказчика и инженерно-технических работников строительных и проектно-технологических организаций.

Обозначение: Технологическая карта 108-05 ТК
Название рус.: Технологическая карта на монтаж и демонтаж опалубки "ОПРУС" при бетонировании колонн здания
Статус: не установлен срок действия
Дата актуализации текста: 05.05.2017
Дата добавления в базу: 01.09.2013
Дата введения в действие: 11.02.2005
Утвержден: 11.02.2005 ОАО ПКТИпромстрой (PKTIpromstroy OAO )
Опубликован: ОАО ПКТИпромстрой (2005 г. )
Ссылки для скачивания:

ОТКРЫТОЕ АКЦИОНЕРНОЕ ОБЩЕСТВО
ПРОЕКТНО-КОНСТРУКТОРСКИЙ И ТЕХНОЛОГИЧЕСКИЙ
ИНСТИТУТ ПРОМЫШЛЕННОГО СТРОИТЕЛЬСТВА
ОАО ПКТИпромстрой

УТВЕРЖДАЮ

Генеральный директор, к.т.н.

____________ С.Ю. Едличка

«____» ____________ 2005 г.

ТЕХНОЛОГИЧЕСКАЯ КАРТА

НА МОНТАЖ И ДЕМОНТАЖ
ОПАЛУБКИ «ОПРУС»
ПРИ БЕТОНИРОВАНИИ
КОЛОНН ЗДАНИЯ

108-05 ТК

Главный инженер

________ А.В. Колобов

Начальник лаборатории

________ Б.И. Бычковский

2005

СОДЕРЖАНИЕ

Технологическая карта на монтаж и демонтаж опалубки «ОПРУС» при бетонировании колонн зданий является обязательным организационно-технологическим документом, регламентирующим правила производства работ по бетонированию колонн зданий.

В карте приведены указания по организации и технологии монтажа и демонтажа опалубки «ОПРУС» при бетонировании колонн зданий, представлены схемы механизации, а также приведены данные по контролю качества и приемке работ, требования безопасности и охраны труда, экологической и пожарной безопасности при производстве работ.

Технологическая карта предназначена для производителей работ, мастеров и бригадиров организаций, производящих бетонирование колонн зданий, а также работников технического надзора заказчика и инженерно-технических работников строительных и проектно-технологических организаций.

Технологическая карта разработана сотрудниками ОАО ПКТИпромстрой:

Савина О.А. - разработка технологической карты, компьютерная обработка и графика;

Черных В.В. - технологическое сопровождение разработки;

Бычковский Б.И. - разработка технологической карты, техническое руководство, корректура и нормоконтроль;

Колобов А.В. - общее техническое руководство разработкой технологических карт;

Едличка С.Ю., к.т.н., - общее руководство разработкой технологической документации;

Авторы будут признательны за предложения и возможные замечания по составу и содержанию настоящей карты.

Контактный телефон: (095) 214-14-72 Факс: (095) 214-95-53

E-mail: pkti@co.ru

http://www.pkti.co.ru

1 ОБЩИЕ ДАННЫЕ

1.1 Опалубка «ОПРУС-1» и ее модификация «ОПРУС-1М» представляют собой универсальную систему сборно-разборной переставной щитовой опалубки, предназначенной для возведения монолитных конструкций, в т.ч. колонн, при строительстве жилых, административных и промышленных зданий.

1.2 Использование опалубки «ОПРУС» позволяет производить укладку бетона в колонны высотой до 3,3 м с длиной грани до 0,50 м при соблюдении требований норм и стандартов по качеству выполняемых работ.

1.3 Технологическая карта, входящая в состав ППР, может использоваться при бетонировании колонн здания инженерно-техническими работниками и другими сотрудниками организации, ведущей строительные работы, в составе разработанного по тематике проекта производства работ.

1.4 При привязке карты к конкретным объектам и условиям производства работ подлежат уточнению объемы работ, потребности в материально-технических ресурсах, калькуляция затрат труда и машинного времени и календарный план производства работ.

1.5 Форма использования технологической карты предусматривает обращение ее в сфере информационных технологий с включением в базу данных по технологии и организации строительного производства автоматизированного рабочего места технолога строительного производства (АРМ ТСП), подрядчика и заказчика.

2 ОРГАНИЗАЦИЯ И ТЕХНОЛОГИЯ СТРОИТЕЛЬНОГО ПРОЦЕССА

2.1 Монтаж и демонтаж щитов опалубки «ОПРУС-1М» при возведении колонн здания следует осуществлять, соблюдая требования правил производства и приемки работ согласно СНиП 3.03.01-87 «Несущие и ограждающие конструкции», требования завода-изготовителя, изложенные в «Руководстве по эксплуатации опалубки».

2.2 Изготовленная на заводе и подготовленная к отправке потребителю опалубка должна быть фрагментарно собрана на заводе и испытана с целью контроля ее соответствия проекту. Схема фрагмента определяется заказчиком по согласованию с заводом-изготовителем. Программу испытаний разрабатывает организация-разработчик опалубки, завод-изготовитель и заказчик.

2.3 Приемка и установка опалубки, распалубливание монолитных колонн, очистка и смазка производятся в соответствии с проектом производства работ.

2.4 До начала производства работ по установке щитов опалубки колонн здания необходимо:

- выполнить все строительно-монтажные работы по возведению основания фундаментной плиты подземной части здания или междуэтажного перекрытия надземной части здания со сдачей этих работ по акту;

- выполнить геодезическую разбивку осей зданий с принятием их по акту согласно СНиП 3.01.03-84 «Геодезические работы в строительстве»;

- организовать площадки складирования щитов опалубки, подкосов, угловых элементов, консолей, выравнивающих балок, стержней, захватов и других элементов;

- организовать площадку укрупнительной сборки элементов опалубки. Все площадки складирования должны находиться в зоне действия крана, а элементы опалубки должны быть разложены по маркам и типоразмерам с учетом очередности монтажа;

- завезти на стройплощадку необходимые машины, механизмы, приспособления, оборудование и щиты опалубки;

- проверить комплектность и техническое состояние опалубки;

- выполнить противопожарные мероприятия;

- выполнить мероприятия, обеспечивающие безопасность производства работ.

2.5 Опалубка колонн «ОПРУС-1М» состоит из четырех щитов каркасной формы, четырех наружных углов и замков опалубки. Палуба щита выполнена из ламинированной фанеры толщиной 21 мм, закрываемой по каркасу щита. Каркас щита изготовлен из закрытого стального опалубочного профиля с вогнутым гофром. Соединение щитов между собой осуществляется посредством стержней, замков и выравнивающих балок.

2.6 Номенклатура щитов опалубки «ОПРУС-1М» позволяет бетонировать колонны высотой от 2,8 до 3,30 м, сечением от 300 до 800 мм и диаметром до 1000 мм.

Марки и типы щитов опалубки для колонн приведены в таблице 1.

Таблица 1 - Марки и типы щитов опалубки «ОПРУС-1М» для колонн

Высота щита, м

Марка, тип щита

Размеры, мм

Площадь щитов, м2

Масса одного щита, кг

2,8

ОР-1М.68.00.00.000СБ

2800´500

1,4

98,0

ОР-1М.69.00.00.000СБ

2800´450

1,26

89,0

ОР-1М.70.00.00.000СБ

2800´400

1,12

80,0

ОР-1М.71.00.00.000СБ

2800´300

0,84

71,0

ОР-1М.72.00.00.000СБ

2800´250

0,7

65,0

3,0

ОР-1М.05.00.00.000СБ

3000´500

1,50

105,4

Сб02-290-04

ОР-1М.06.00.00.000СБ

3000´450

1,35

95,8

Сб02-290-05

ОР-1М.07.00.00.000СБ

3000´400

1,2

85,5

Сб02-290-06

ОР-1М.08.00.00.000СБ

3000´300

0,9

76,4

Сб02-290-07

ОР-1М.09.00.00.000СБ

3000´250

0,75

70,4

Сб02-290-08

3,3

ОР-1М.50.00.00.000СБ

3300´500

1,63

116,0

ОР-1М.51.00.00.000СБ

3300´450

1,485

106,0

ОР-1М.52.00.00.000СБ

3300´400

1,32

95,0

ОР-1М.53.00.00.000СБ

3300´300

0,99

84,0

ОР-1М.54.00.00.000СБ

3300´250

0,825

77,0

Техническая документация разработана на опалубку следующих типов колонн, указанных в таблице 2.

Таблица 2 - Габариты колонн, изготовляемые в опалубке «ОПРУС-1М»

№ п/п

Габаритные размеры, мм

Обозначение

Площадь, м2

Масса, кг

Примечания

1

2

3

4

5

6

1

Опалубка 300´300´3000

ОР-1М.77

3,6

380

 

2

Опалубка 400´400´3000

ОР-1М.78

4,8

424

 

3

Опалубка 500´500´3000

ОР-1М.79

6,0

475

 

4

Опалубка 600´600´3000

ОР-1М.80

7,2

532

 

5

Опалубка 700´700´3000

ОР-1М.81

8,4

560

 

6

Опалубка 800´800´3000

ОР-1М.82

9,6

581

 

7

Опалубка 200´500´3000

ОР-1М.83

4,2

374

 

8

Опалубка 200´600´3000

ОР-1М.84

4,8

385

 

9

Опалубка 200´700´3000

ОР-1М.85

5,4

413

 

10

Опалубка 300´500´3000

ОР-1М.86

4,8

385

 

11

Опалубка 300´600´3000

ОР-1М.87

5,4

415

 

12

Опалубка 300´700´3000

ОР-1М.88

6,0

443

 

13

Опалубка Æ 800 мм высотой 3000 мм

ОР-1М.89

7,5

495

 

14

Опалубка Æ 900 мм высотой 3000 мм

ОР-1М.90

8,5

540

 

15

Опалубка Æ 1000 мм высотой 3000 мм

ОР-1М.91

9,4

576

 

2.7 Наружный угол 90° опалубки ОПРУС представляет собой конструкцию из двух профильных балок, представленных на рисунке 1, сваренных между собой. Плоскость колонн с использованием опалубки «ОПРУС-1М», как показано на рисунке 2, образуется с помощью наружных углов и стандартных элементов (панелей) различного сечения и высоты. Для соединения щитов между собой достаточно установить три замка на один вертикальных стык.

Рисунок 1 - Оснастка наружного угла 90° опалубки «ОПРУС-1М»

Рисунок 2 - Опалубка колонн «ОПРУС-1М»

2.8 В качестве опалубки колонн могут быть использованы и щиты, представленные в таблице 3.

Таблица 3 - Щиты опалубки для плоских стен и колонн

№ п/п

Артикул №

Размер в см Н´

Площадь, м2

Масса, кг

Примеч.

1

Бр-417.20СБ-02-50

300´135

4,05

177

 

2

Бр-417.20СБ-02-56

300´90

2,7

132

 

3

Бр-417.20СБ-02-55

300´75

2,25

119,7

 

4

Бр-417.20СБ-02-54

300´55

1,65

92

 

5

Бр-417.20СБ-02-53

300´50

1,50

85

 

6

Бр-417.20СБ-02-58

300´45

1,35

79,2

 

7

Бр-417.20СБ-02-52

300´40

1,2

76

 

8

Бр-417.20СБ-02-51

300´30

0,9

72

 

9

Бр-417.20СБ-02-57

300´25

0,75

60,2

 

2.9 Более простым вариантом формирования колонн является использование опалубки типа металлический «саркофаг», представляющей собой две разъемные по фланцам части, как правило, Г-образной формы для квадратного и прямоугольного сечения колонн и два полуцилиндра для колонн круглого сечения.

Установка такой опалубки производится при помощи болтов после установки обеих частей. Этими же болтами производится и отрыв разъемных элементов «саркофага» от бетонной поверхности колонн.

Перед сборкой «саркофага» металлическая палуба каждой разъемной части тщательно очищается от грязи и остатков бетона и смазывается той же смазкой, что и ламинированный слой фанеры опалубочных щитов.

2.10 При установке монтажных элементов щитов опалубки должны быть обеспечены:

- устойчивость и неизменяемость их положения на всех стадиях монтажа;

- безопасность производства работ;

- точность их положения с помощью постоянного геодезического контроля;

- прочность монтажных соединений.

2.11 Щиты опалубки устанавливаются одновременно на всей захватке длиной 20-30 м из расчета бетонирования колонн краном в объеме V = 25 - 30,0 м3 в смену.

Монтаж щитов опалубки выполнять в следующей технологической последовательности:

- очистить и смазать щиты опалубки;

- собрать отдельные щиты в Г-образную форму на площадке укрупнительной сборки;

- застропить и подать краном укрупненные щиты опалубки (Г-образные) к месту установки их в проектное положение;

- смонтировать щит Г-образной формы с раскреплением его двумя подкосами с выверкой в вертикальном положении;

- смонтировать второй щит опалубки Г-образной формы, соединяя его с первым угловым замком (по 3 шт. на один вертикальный стык).

Установку двух Г-образной формы щитов опалубки выполнять после установки арматурного каркаса колонны и сдачи его по акту. Для стягивания щитов при двухсторонней опалубке используется стержень диаметром 17 мм и фланцевая гайка со специальной резьбой, а между фанерой в стяжные отверстия устанавливаются две конусные втулки в полиэтиленовой трубке.

Крепление подкосов с помощью соединительного шарнира на функциональных распорках и расстроповку опалубки выполнять с площадки монтажника высотой Нр.н. = 1,50 м.

Консоль для лесов навешивается с помощью встроенного самофиксирующего замка в одну функциональную распорку и фиксируется с помощью одного фланцевого винта в другой функциональной распорке.

Настил можно крепить на консоли.

Стойка перил устанавливается во втулку, приваренную на консоли для лесов.

На рисунке 3 показан фрагмент плана типового этажа здания и разрез с размещением опалубки перекрытия при возведении колонн.

Рисунок 3 - Фрагмент плана типового этажа здания

Последовательность монтажа опалубки колонн дана на рисунке 4.

1 - установка первого Г-образного элемента щитов опалубки колонн с подкосами;

2 - установка второго Г-образного элемента щитов опалубки колонн;

3 - установка замковых соединений Г-образных элементов (на один вертикальный стык опалубки - 2 шт.).

Рисунок 4 - Последовательность монтажа опалубки колонн

2.12 Раскрепление щитов опалубки колонн выполняется с помощью наклонных опор (подкосов) с креплением их к первому Г-образному элементу щитов опалубки (2 шт.) самофиксирующим замком и фланцевым винтом.

2.13 Все марки щитов опалубки при разгрузке и доставке к месту их установки подаются краном с применением захвата грузоподъемностью Q = 1,50 т. Панель одинарную стропят за одну точку, а панель Г-образного профиля, состоящую из двух щитов - за две точки.

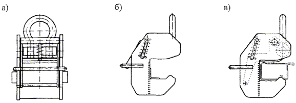
2.14 Для работы с захватом грузоподъемностью 1,5 т, предназначенным для строповки опалубки, согласно Руководству по эксплуатации и рисунку 5а общего вида необходимо:

- открыть до упора предохранительную скобу (рисунок 5б);

- установить захват на профиль так, чтобы его выступ полностью вошел в гофр;

- зафиксировать захват, установив предохранительную скобу в исходное положение (рисунок 5в).

Схемы строповки приведены на рисунке 6.

2.15 Крепление и фиксация каждого подкоса к плитам перекрытия осуществляется пристрелкой не менее двух дюбелей длиной 50 - 60 мм.


Рисунок 5 - Захват для опалубки «ОПРУС-1М»

Рисунок 6 - Схемы строповки элементов опалубки колонн


2.16 После установки и выверки щитов опалубки колонны в проектное положение при помощи винтов подкосов два Г-образных элемента опалубки соединяют угловыми замками, по 3 шт. на один вертикальный стык. Точность установки щита опалубки проверяют по отвесу и уровню.

2.17 Расстроповку щитов опалубки необходимо производить только после жесткого раскрепления их подкосами в двух направлениях с площадки монтажника Нр.н. = 1,50 м (проект 4624 ГП Мосоргстрой).

2.18 Установку консолей с перильным ограждением выполнять при отсутствии площадки монтажника, и только убедившись в надежности раскрепления щитов опалубки подкосами в двух направлениях согласно рисунку 3.

2.19 Демонтаж опалубки разрешается производить только после достижения бетоном требуемой прочности согласно СНиП 3.03.01-87 «Несущие и ограждающие конструкции».

2.19.1 Демонтаж опалубки колонн производить в обратной последовательности ее монтажу, укрупненными Г-образными панелями, предварительно выполнив их строповку.

Сначала снимают замки, при этом сторона, не подпираемая подкосами, должна сразу же фиксироваться от опрокидывания или удаляться.

Снятие опалубки следует производить только после предварительного отрыва от бетона.

После легкого натяжения стропов краном монтажники снимают подкосы, угловые замки и дают команду машинисту крана на подъем опалубки.

2.19.2 При перестановке щитов опалубки их удаляют вместе с консолями для мостков и настилом, затем очищают в вертикальном положении.

Освобожденные и очищенные щиты опалубки переносят краном к месту их новой установки.

Если опалубка в дальнейшем не будет применяться, то с блоков в горизонтальном положении демонтируют леса и подкосы, очищают палубу, после чего щиты складируют в установленных проектом производства работ местах.

2.19.3 Щиты опалубки колонн каждый раз после демонтажа надо очищать от налипшего цементного раствора.

Применение опалубки предусматривает обязательную очистку и смазку палубы щитов.

2.19.4 В качестве дополнительных средств подмащивания при установке и демонтаже щитов опалубки необходимо использовать площадку монтажника высотой Нр.н. = 1,50 м (проект 4624 ГП Мосоргстрой).

3 ТРЕБОВАНИЯ К КАЧЕСТВУ И ПРИЕМКЕ РАБОТ

3.1 Контроль качества по установке щитов опалубки колонн осуществляется мастером или прорабом.

3.2 Производственный контроль качества работ должен включать входной контроль рабочей документации, операционный контроль технологических процессов сборки опалубки и оценку соответствия смонтированных щитов опалубки нормативным требованиям.

3.3 При входном контроле рабочей документации должна производиться проверка ее комплектности и достаточности содержащейся в ней технической информации для производства работ.

При входном контроле строительных конструкций, изделий, материалов и оборудования следует проверять внешним осмотром их соответствие требованиям стандартов или других нормативных документов и рабочей документации, а также наличие и содержание паспортов, сертификатов и других сопроводительных документов.

3.4 Инвентарная опалубка «ОПРУС-1М» должна поставляться на объект комплектно в соответствии с заявочной спецификацией заказчика. Завод-изготовитель должен сопровождать комплект опалубки паспортом с руководством по эксплуатации.

3.5 Результаты входного контроля должны регистрироваться в «Журнале входного учета и контроля качества получаемых деталей, материалов, конструкций и оборудования».

3.6 При приемке установленной опалубки проверяется вертикальность щитов, а также установка крепежных подкосов и надежность крепления их к щитам собранной опалубки, смещение осей опалубки от проектного положения, правильность установки закладных деталей. Результаты проверки установленной опалубки регистрируются в «Журнале производства работ».

3.7 Точность изготовления и установки опалубки, а также допустимая прочность бетона при распалубливании должны соответствовать требованиям, приведенным в таблице 4.

Таблица 4 - Требования, предъявляемые к опалубке (СНиП 3.03.01-87)

Технические требования

Предельные отклонения

Контроль (метод, объем, вид регистрации)

1

2

3

Точность изготовления опалубки:

 

 

инвентарной

По рабочим чертежам и техническим условиям не ниже Н14; h14;

Технический осмотр регистрационный

±  по ГОСТ 25346-89 и ГОСТ 25347-82*; для формообразующих элементов - h14

Точность установки инвентарной опалубки:

±  по ГОСТ 25346-89 и ГОСТ 25347-82*

Измерительный, всех элементов, журнал работ

в том числе:

уникальных и специальных сооружений

Определяется проектом

 

малооборачиваемой и (или) неинвентарной при возведении конструкций, к поверхности которых не предъявляются требования точности

По согласованию с заказчиком может быть ниже

 

для конструкций, готовых под окраску без шпатлевки

Перепады поверхностей, в том числе стыковых, не более 2 мм

 

для конструкций, готовых под оклейку обоями

То же, не более 1 мм

 

Прогиб собранной опалубки: вертикальных поверхностей

1/400 пролета

Контролируется при заводских испытаниях и на строительной площадке

Минимальная прочность бетона незагруженных монолитных конструкций при распалубке поверхностей:

0,2 - 0,3 МПа

Измерительный по ГОСТ 10180-90; ГОСТ 18105-86*, журнал работ

вертикальных из условия сохранения формы

Минимальная прочность бетона при распалубке загруженных конструкций, в том числе от вышележащего бетона (бетонной смеси)

Определяется ППР и согласовывается с проектной организацией, обычно устанавливается 100 %

То же

3.7 Состав производственного контроля качества опалубочных работ приведен в таблице 5.

Таблица 5 - Состав операций и средств контроля

Вид контроля

Контролируемые операции

Контроль (метод, объем)

Документация

1

2

3

4

Входной

Проверить:

 

 

- наличие документов о качестве и использовании опалубки;

Визуальный

Паспорт (сертификат), общий журнал работ

 

- качество подготовки и отметки несущего основания;

То же

 

- наличие и состояние крепежных элементов, средств подмащивания

Визуальный, измерительный

 

Операционный

Контролировать:

 

 

- соблюдение порядка сборки щитов опалубки, установки крепежных элементов, средств подмащивания, закладных элементов;

Технический осмотр

Общий журнал работ (журнал бетонных работ)

 

- плотность сопряжения щитов опалубки между собой и с ранее уложенным бетоном;

Измерительный, всех элементов

 

 

- соблюдение геометрических размеров и проектных наклонов плоскостей опалубки;

То же

 

 

- надежность крепления щитов опалубки

Технический осмотр

 

Оценка качества

Проверить:

 

 

- соответствие геометрических размеров опалубки проектным;

Измерительный, всех элементов

Общий журнал работ (журнал бетонных работ)

 

- положение опалубки относительно разбивочных осей в плане и по вертикалям, в т.ч. обозначение проектных отметок верха бетонируемой конструкции внутри поверхности опалубки;

Измерительный

 

- правильность установки и надежного закрепления пробок и закладных деталей, а также всей системы в целом

Технический осмотр

 

3.8 Для проведения контроля качества опалубочных работ следует применять контрольно-измерительный инструмент: рулетку, линейку металлическую, отвес строительный, нивелир и теодолит, соответствующим образом аттестованные и поверенные в установленном порядке.

3.9 Операционный контроль должен осуществлять мастер (прораб), а также геодезист в процессе выполнения работ. Оценку соответствия осуществляют работники службы контроля качества работ, мастер (прораб), представители технадзора заказчика.

4 ТРЕБОВАНИЯ БЕЗОПАСНОСТИ И ОХРАНЫ ТРУДА, ЭКОЛОГИЧЕСКОЙ И ПОЖАРНОЙ БЕЗОПАСНОСТИ

4.1 При производстве опалубочных работ необходимо строго соблюдать требования СНиП 12-03-2001 «Безопасность труда в строительстве. Часть 1. Общие положения», СНиП 12-04-2002 «Безопасность труда в строительстве. Часть 2. Строительное производство» и государственных стандартов ССБТ.

4.2 Все рабочие, выполняющие опалубочные работы, должны иметь удостоверение на право производства данного вида работ, а также пройти первичный инструктаж на рабочем месте по безопасности труда в соответствии с требованиями ГОСТ 12.0.004-90.

4.3 При монтаже щитов опалубки особое внимание необходимо обратить на строгое соблюдение требований технологической карты по их установке, устойчивости при закреплении подкосами и правильность строповки.

4.4 Способы строповки элементов опалубки должны обеспечивать их подачу к месту установки в положении, близком к проектному.

На стройплощадке до начала работы необходимо регулярно проверять состояние захвата, но не реже 500 нагрузочных циклов. Превышение допустимой грузоподъемности может привести к остаточному удлинению и остаточной деформации, нарушающим надежность работы захвата.

Контролю подлежит и размер зева захвата. Если контрольный размер превышает 64 мм, то захват необходимо сразу же заменить. Это относится и к случаю, когда контрольный размер превышен только на одной полке захвата, как показано на рисунке 7.

Данные по проверке контрольных размеров заносятся в паспорта каждого из захватов.

Рисунок 7 - Критерий для выбраковки захвата

4.5 Элементы монтируемой опалубки во время перемещения должны удерживаться от раскачивания и вращения гибкими оттяжками.

4.6 Устанавливать щиты или панели опалубки следует с соблюдением следующих правил:

- устанавливаемые панели должны быть надежно скреплены;

- освобождать щит или панели опалубки от крюка крана разрешается после их надежного закрепления.

4.7 Приготовление и нанесение смазок на палубу опалубки необходимо производить с обязательным соблюдением всех условий санитарии и техники безопасности.

4.8 При установке опалубки в несколько ярусов каждый последующий ярус следует устанавливать только после закрепления нижнего яруса.

4.9 Ответственность за пожарную безопасность на строительной площадке, за соблюдение противопожарных требований, своевременное выполнение противопожарных мероприятий, обеспечение и исправное содержание средств пожаротушения несет начальник строительного участка, назначенный приказом по строительной организации.

4.10 К разборке опалубки колонн можно приступать только после достижения бетоном заданной в проекте прочности с разрешения производителя работ.

4.11 При производстве опалубочных работ запрещается:

- размещать на опалубке оборудование и материалы, не предусмотренные проектом производства работ, а также пребывание людей, непосредственно не участвующих в производстве работ, на настиле опалубки;

- работать неисправным инструментом и на неисправном оборудовании;

- ходить по смазанной поверхности палубы;

- складывать на подмостях или на рабочем настиле разбираемые элементы опалубки, а также сбрасывать их;

- работать с приставных лестниц;

- загромождать проходы и доступы к противопожарному инвентарю, огнетушителям и гидрантам;

- курить в местах, специально не отведенных для курения;

- разводить огонь на опалубке или устанавливать нагревательные электроприборы, которые не предусмотрены проектом производства работ;

- скопление людей на рабочем полу опалубки;

- допуск посторонних лиц на строящийся объект;

- одновременное производство работ в двух и более ярусах по одной вертикали без защитных устройств (настилов, навесов);

- производить работы на опалубке во время грозы или при силе ветра более шести баллов.

4.12 Приказом по строительному управлению назначить ответственного из числа ИГР за охрану труда и выдачу наряд-допуска и пожарную безопасность.

4.13 Все лица, находящиеся на строительстве, обязаны носить защитные каски.

4.14 При производстве опалубочных работ необходимо руководствоваться требованиями СП 12-135-2003 «Безопасность труда в строительстве. Отраслевые типовые инструкции по охране труда».

4.15 Рабочие, занятые на работах с электроинструментом, должны быть аттестованы на II группу электробезопасности.

4.16 Строповку грузов краном производить аттестованными стропальщиками.

4.17 На всех рабочих местах должны находиться щиты со схемами строповок.

4.18 Для крепления монтажных поясов при подстраховке рабочих по перекрытию уложить и надежно закрепить страховочные тросы. Площадку монтажника следует пристрелить к перекрытию дюбелями.

5 ПОТРЕБНОСТЬ В МАТЕРИАЛЬНО-ТЕХНИЧЕСКИХ РЕСУРСАХ

5.1 Потребность в машинах, оборудовании и механизмах для установки щитов опалубки при возведении колонн здания, приведенных в таблице 6, определяется с учетом объемов выполняемых работ и технических характеристик.

Таблица 6 - Ведомость потребности в машинах, механизмах, инструментах и приспособлениях

№ п/п

Наименование

Тип, марка, ГОСТ

Техническая характеристика

Назначение

Количество на звено, шт.

1

2

3

4

5

6

1

Кран

Согласно ППР

Монтаж и демонтаж опалубки

1

2

Машина ручная сверлильная электрическая

ИЭ-1035Э

 

Подготовительные, монтажные и демонтажные работы по установке опалубки

1

3

Машина ручная сверлильная пневматическая

ИП-1008

 

1

4

Гайковерт ручной электрический

ИЭ-3119

 

1

5

Машина ручная зачистная угловая пневматическая

ИП-2104

 

1

6

Установка компрессорная передвижная

СО-7Б

 

1

7

Ключи гаечные с открытыми зевами, двусторонние

ГОСТ 2839-80*

 

1

8

Лом монтажный

ЛМ-24

L = 1180 мм

1

Р = 4,2 кг

9

Кувалда кузнечная остроносая

ГОСТ 11402-75

 

2

10

Валик малярный

ВМ ГОСТ 10831-87

 

1

11

Щетка ручная из проволоки

 

 

1

12

Зубило слесарное

ГОСТ 7211-86*

 

2

13

Молоток плотничий с круглым бойком

МПЛ ГОСТ 2310-73*

 

 

2

14

Захват опалубки широкий

ОПРУС-1М

Грузоподъемность Q = 1,5 т

Строповка щитов опалубки

2

15

Строп кольцевой

CKK1-3,2/3000 ГОСТ 25573-82*

 

Перенос пакета щитов опалубки в горизонтальном положении с помощью фиксатора БР-417.02.68-146

2

 

16

Строп двухветвевой

2СК-3,2/2000 ГОСТ 25573-82*

L = 2,0 м

 

1

Q = 3,2 т

17

Строп одноветвевой

1СК-3,2/2000 ГОСТ 25573-82*

L = 2,0 м

Монтаж узких щитов

1

Q = 3,2 т

18

Строп четырехветвевой

4СК1-3,2/2000 ГОСТ 25573-82*

L = 2,0 м

Подъем и перемещение щитов опалубки

1

Q = 3,2 т

19

Лестница приставная

Р.ч. 3257.04

L = 3,0 м

Установка и крепление щитов опалубки в проектное положение

2

20

Площадка монтажника

4624 Мосоргстрой

Нр.н. = 1,5 м

 

2

Р = 28 кг

21

Стремянка

Пр. 0472.00

Нр.н. = 2,0 м

 

2

22

Ящик инструментальный 3-х секционный

Р.ч. 1.111.00

 

 

1

23

Ведро

ГОСТ 20558-82*

V = 8 - 10 л

 

3

24

Рулетка измерительная металлическая

РЗ-10 ГОСТ 7502-98

 

Для линейных измерений

1

25

Отвес стальной строительный

ОТ-400 ГОСТ 7948-80

 

 

2

26

Уровень строительный

УС4-500 ГОСТ 9416-83

 

 

1

27

Уровень гибкий водяной

ТУ 25-11-760-72

 

 

1

28

Шнур разметочный в корпусе

ТУ 22-4633-80

 

 

1

29

Шнур капроновый

ГОСТ 1765-89

 

 

2

30

Карандаш

Р-7

 

 

10

31

Метр складной деревянный

 

 

 

2

32

Рейка с отвесом

Р.ч. №175

 

 

1

33

Угольник металлический

ТУ 22-4400-79

500´240

 

2

34

Каска строительная

ГОСТ 12.4.087-84

 

 

3

6 ТЕХНИКО-ЭКОНОМИЧЕСКИЕ ПОКАЗАТЕЛИ

6.1 Работы по установке щитов опалубки колонн выполняются комплексной бригадой в следующем составе:

машинист крана                   5 разряда                  - 1 человек

плотники (такелажники)    4 разряда                  - 1 человек

                                               2 разряда                  - 1 человек

слесарь строительный         4 разряда                  - 1 человек

                                               3 разряда                  - 1 человек

                                               ИТОГО                     - 5 человек

6.2 Затраты труда и машинного времени подсчитаны из расчета установки опалубки колонны сечением 500´500 мм при высоте типового этажа здания Н = 3,0 м с использованием башенного крана.

Подсчет выполнен по «Единым нормам и расценкам на строительные, монтажные и ремонтно-строительные работы», сборник 4 «Монтаж сборных и устройство монолитных железобетонных конструкций», выпуск 1 «Здания и промышленные сооружения», введенным в действие в 1987 г., и приведен в таблице 7.

Таблица 7 - Калькуляция затрат труда и машинного времени на устройство опалубки монолитных колонн здания

Измеритель конечной продукции - 1 колонна

№ п/п

Обоснование (ЕНиР и др. нормы)

Наименование работ

Ед. изм.

Объем работ

Норма времени

Затраты труда

 

рабочих, чел.-ч.

машинистов, чел.-ч., (работа машин, маш.-ч.)

рабочих, чел.-ч.

машинистов, чел.-ч., (работа машин, маш.-ч.)

 

1

2

3

4

5

6

7

8

9

 

1

Е1-6

Подача щитов для укрупнительной сборки

100 т

0,005

23,0

11,5

0,1

0,06

 

№ 17 а, в

(11,5)

(0,06)

 

2

Е4-1-40

Укрупнение щитов площадью до 5 м2

1 м2

6,0

0,38

-

2,3

-

 

№ 1

 

3

Е1-7

Подача щитов опалубки башенным краном на высоту до 18 м

100 т

0,005

15,4

7,6

0,08

0,04

 

(7,6)

(0,04)

№ 28

 

а+в

 

б+г

 

4

Е4-1-34Б

Установка щитов опалубки в проектное положение с раскреплением их подкосами

1 м2

6,0

0,4

-

2,4

-

 

№ 2а

 

5

Е4-1-34Б

Демонтаж щитов опалубки

1 м2

6,0

0,15

-

0,9

-

 

№ 2б

 

6

Е1-7

Подача щитов опалубки башенным краном на площадку

100 т

0,005

15,4

7,6

0,08

0,04

 

№ 28

(7,6)

(0,04)

 

а+в

 

б+г

 

6.3 График производства работ приведен в таблице 8.

Таблица 8 - График производства работ

Измеритель конечной продукции - 1 колонна

6.4 Технико-экономические показатели при устройстве опалубки колонн здания общей площадью 100 м2 составят:

затраты труда, чел.-час.                                       - 5,86

затраты машинного времени, маш.-час.            - 0,14

продолжительность работ, часов                        - 2,54

7 ПЕРЕЧЕНЬ НОРМАТИВНО-ТЕХНИЧЕСКОЙ ЛИТЕРАТУРЫ

1 СНиП 3.01.03-84 Геодезические работы в строительстве.

2 СНиП 3.03.01-87 Несущие и ограждающие конструкции.

3 СНиП 12-01-2004 Организация строительства.

4 СНиП 12-03-2001 Безопасность труда в строительстве. Часть 1. Общие требования.

5 СНиП 12-04-2002 Безопасность труда в строительстве. Часть 2. Строительное производство.

6 ГОСТ 12.0.004-90 ССБТ. Организация обучения безопасности труда. Общие положения.

7 ГОСТ 12.3.002-75* ССБТ. Процессы производственные. Общие требования безопасности.

8 ГОСТ 12.4.010-75* ССБТ. Средства индивидуальной защиты. Рукавицы специальные. Технические условия.

9 ГОСТ 12.4.011-89 ССБТ. Средства защиты работающих. Общие требования и классификация.

10 ГОСТ Р 12.4.026-2001 ССБТ. Цвета сигнальные, знаки безопасности и разметка сигнальная. Назначение и правила применения. Общие технические требования и характеристики. Методы испытаний.

11 ГОСТ 12.4.087-84 ССБТ. Строительство. Каски строительные. Технические условия.

12 ГОСТ 5547-93 Плоскогубцы комбинированные. Технические условия.

13 ГОСТ 7211-86* Зубила слесарные. Технические условия.

14 ГОСТ 7502-98 Рулетки измерительные металлические. Технические условия.

15 ГОСТ 7948-80 Отвесы стальные строительные. Технические условия.

16 ГОСТ 9416-83 Уровни строительные. Технические условия.

17 ГОСТ 11042-90 Молотки слесарные стальные. Технические условия.

18 ГОСТ 25573-82* Стропы грузовые канатные для строительства. Технические условия.

19 ПБ 10-382-00 Правила устройства и безопасной эксплуатации грузоподъемных кранов. Госгортехнадзор России, М., 2000.

20 ППБ 01-03 Правила пожарной безопасности в Российской Федерации. МЧС России, М., 2003 г.

21 ЕНиР. Единые нормы и расценки на строительные, монтажные и ремонтно-строительные работы. Сборник 4. Монтаж сборных и устройство монолитных железобетонных конструкций. Выпуск 1. Здания и промышленные сооружения.

22 СП 12-135-2003 «Безопасность труда в строительстве. Отраслевые типовые инструкции по охране труда».

23 СанПиН 2.2.3.1384-03 «Гигиенические требования к организации строительного производства и строительных работ».