Меню
Навигация
Первая линия
Novatika

Карта трудового процесса строительного производства. Монтаж железобетонных подкрановых балок пролетом 12 м, массой до 10,7 т

Карта предназначена для организации труда рабочих при монтаже сборных железобетонных подкрановых балок серии КЭ-01-50 одноэтажных промышленных зданий массой до 10,7 т.

Обозначение: Технологическая карта КТ-4.1-6.3-77
Название рус.: Карта трудового процесса строительного производства. Монтаж железобетонных подкрановых балок пролетом 12 м, массой до 10,7 т
Статус: не установлен срок действия
Заменяет собой: КТ-4.1-6.3-68
Дата актуализации текста: 05.05.2017
Дата добавления в базу: 01.09.2013
Дата введения в действие: 01.01.1977
Утвержден: 01.01.1977 ВНИПИ труда в строительстве Госстроя СССР (VNIPI of Labor in Construction, USSR Gosstroy )
Ссылки для скачивания:

КАРТА ТРУДОВОГО ПРОЦЕССА СТРОИТЕЛЬНОГО ПРОИЗВОДСТВА

КТ-4.1-6.3-77

Разработана трестом Укрмонтажоргстрой * Минмонтажспецстроя УССР

Откорректирована и рекомендована ВНИПИ труда в строительстве Госстроя СССР для внедрения в строительное производство

МОНТАЖ ЖЕЛЕЗОБЕТОННЫХ ПОДКРАНОВЫХ БАЛОК ПРОЛЕТОМ 12 м, МАССОЙ ДО 10,7 т

Входит в комплект карт ККТ-4.1-4

Монтаж сборных железобетонных и бетонных конструкций каркасных зданий

Взамен КТ-4.1-6.3-68

* г. Киев-40, ул. Ровенская, 10а.

1. ОБЛАСТЬ И ЭФФЕКТИВНОСТЬ ПРИМЕНЕНИЯ КАРТЫ

1.1. Карта предназначена для организации труда рабочих при монтаже сборных железобетонных подкрановых балок серии КЭ-01-50 одноэтажных промышленных зданий массой до 10,7 т.

1.2. Показатели производительности труда

 

По карте

По ЕНиР

Выработка на 1 чел.-день, балок

1,60

1,23

Затраты труда на одну балку, чел.-ч

5,0

6,5

1.3. Снижение затрат труда и повышение выработки рабочих достигается за счет использования траверсы с приспособлением для механической расстроповки.

2. УСЛОВИЯ И ПОДГОТОВКА ВЫПОЛНЕНИЯ ПРОЦЕССА

2.1. К укладке подкрановых балок можно приступать после того, как бетон в стыках колонн с фундаментами достигнет 70 % проектной прочности.

2.2. До укладки балок необходимо: доставить на строительную площадку подкрановые балки и разложить их в зоне действия крана; очистить от грязи и ржавчины закладные детали; проверить геометрические размеры балок и нанести осевые риски на их торцы; проверить соответствие отметок консолей колонн проектным (при несоответствии отметок определить необходимую толщину подкладок под каждую из балок); заготовить подкладки; установить у колонн на месте монтажа балок лестницы с площадками; натянуть на высоте 2 - 2,2 м над консолями и закрепить между колоннами страховочный канат.

2.3. Работы следует выполнять, строго соблюдая правила техники безопасности и охраны труда рабочих согласно СНиП III-А.11-70, § 14.

3. ИСПОЛНИТЕЛИ, ПРЕДМЕТЫ И ОРУДИЯ ТРУДА

3.1. Исполнители:

монтажник конструкций (он же электросварщик) V разряда (М1) - 1

монтажник конструкций (он же электросварщик) IV разряда (М2) - 1

монтажники конструкций III разряда (М3, М4) - 2

Примечание. Машинист крана VI разряда в состав звена не входит.

3.2. Инструменты, приспособления и инвентарь

Наименование, назначение и основные параметры

ГОСТ, чертежа

Количество, шт.

Лом монтажный

ГОСТ 1405-72

2

Кувалда (4 кг)

ГОСТ 11402-65

1

Щетка стальная

Каталог-справочник ЦНИИТЭстроймаша, * стр. 83

2

Кисть-ручник

ГОСТ 10597-70

2

Зубило

ГОСТ 7211-72

2

Молоток слесарный

ГОСТ 2310-70

1

Комплект инструментов электросварщика

-

2

Рулетка

РС-20, ГОСТ 7502-69

1

Метр стальной

ГОСТ 7253-54

4

Траверса грузоподъемностью 15 т с приспособлением для механической расстроповки балок

Чертеж 3200М-55 Свердловского УМ треста Уралстальконструкция **

1

Строп двухветвевой грузоподъемностью 2 т для установки приставных лестниц (длина ветвей 4 м)

ГОСТ 5792-65

1

Лестница приставная длиной 7,8 м с площадкой

Чертежи 5627Т-30 и 5627Т-31 ПИ Промстальконструкция ***

2

Лестница приставная длиной 2 м

Чертеж 60 треста Укрмонтажоргстрой

2

Оттяжка из пенькового каната диаметром 25 мм, длиной 15 м

-

2

Канат стальной страховочный диаметром 11 мм, длиной 13 м, со струбциной

-

1

* 121019, Москва, Г-19, ул. Маркса и Энгельса, 7/10.

** г. Свердловск, ул. Мичурина, 21.

*** 125080, Москва, А-80, Волоколамское шоссе, 1.

4. ТЕХНОЛОГИЯ ПРОЦЕССА И ОРГАНИЗАЦИЯ ТРУДА

4.1. Операции по монтажу подкрановой балки выполняют в следующем порядке: подготовляют опорные площадки для укладки балки на колонны; стропят балку; поднимают, укладывают и выверяют ее; крепят балку к колонне, сваривая закладные детали; расстроповывают балку.

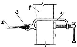
4.2. Организация рабочего места

 - рабочие места монтажников

1 - кран; 2 - оттяжка; 3 - приставные лестницы с площадками; 4 - подкрановая балка; 5 - траверса; 6 - страховочный канат; 7 - колонна


4.3. График трудового процесса


4.4. Описание операций

№ по графику

Наименование операций, их продолжительность, * исполнители и орудия труда; характеристика приемов трупа

1

2

1

ПОДНОСКА МАТЕРИАЛОВ И ИНСТРУМЕНТОВ; М1, М2 - 5 мин; М3, М4 - 7 мин

Монтажники подносят к месту монтажа подкрановой балки инструменты и вспомогательные материалы

2

УСТАНОВКА ПРИСТАВНОЙ ЛЕСТНИЦЫ; 11 мин; М3, М4; приставная лестница с площадкой, двухветвевой строп

По сигналу монтажника М3 машинист крана подает сначала крюк для навески стропа, а затем крюк со стропом для строповки лестницы. Монтажник М4 поднимается по лестнице и закрепляется на ней в том месте, где расположены монтажные петли. Держась за лестницу одной рукой, другой он заводит один крюк стропа в монтажную петлю лестницы. Аналогично он заводит в петлю второй крюк стропа, после чего спускается с лестницы. Затем по сигналу монтажника М3 машинист крана поднимает лестницу и подает ее к месту установки. Монтажники М3 и М4, взявшись за низ лестницы, устанавливают ее. Монтажник М3 поднимается по лестнице и расстроповывает ее

3

ОЧИСТКА ЗАКЛАДНЫХ ДЕТАЛЕЙ, ПРОВЕРКА РАЗМЕРОВ, НАНЕСЕНИЕ РИСОК; 9 мин; М1, М2; щетки, метры, кисти, рулетка

Монтажники М1 и М2, находясь у противоположных концов балки, стальными щетками очищают закладные детали от ржавчины и грязи, а затем с помощью рулетки проверяют геометрические размеры торца балки. Монтажник М1 при помощи метра определяет на торце балки место осевой линии и масляной краской наносит риску. Аналогичную операцию монтажник М2 выполняет на другом торце подкрановой балки

4

КРЕПЛЕНИЕ СТРАХОВОЧНОГО КАНАТА; 7 мин; М1, М2; канат со струбцинами, приставные лестницы длиной 2 м

Струбцина

1 - скоба; 2 - страховочный канат; 3 - коуш; 4 - колонна

Монтажники М1 и М2 поднимаются на монтажные площадки лестниц, установленных у соседних колонн, захватив с собой стальные подкладки и электросварочный инструмент. Затем с помощью пенькового каната они поднимают наверх страховочный. Один из монтажников поднимается на консоль колонны по лестнице длиной 2 м, установленной и закрепленной на площадке приставной лестницы, и, закрепившись предохранительным поясом за колонну, крепит струбциной страховочный канат на высоте 2 - 2,2 м от верха консоли

5

ПОДГОТОВКА МЕСТ УКЛАДКИ БАЛКИ НА КОЛОННАХ; 18 мин; М1, М2; инструменты электросварщика

Монтажник М1 укладывает стальные подкладки на колонну в том месте, где на нее будет опираться подкрановая балка. Затем он приваривает подкладки электросваркой. Монтажник М2 выполняет те же операции на соседней колонне

6

ПОДГОТОВКА КРАНА; 11 мин; М3, М4; рулетка, траверса

Монтажники М3 и М4 рулеткой отмеряют по оси движения крана его стоянку на середине пролета. По сигналу монтажника М3 машинист перемещает кран на намеченную стоянку и опускает крюк для снятия стропа. Монтажник М4 снимает серьгу стропа и заводит крюк в серьгу траверсы. Монтажник М3 помогает ему

7

СТРОПОВКА БАЛКИ, КРЕПЛЕНИЕ К НЕЙ ОТТЯЖЕК; 8 мин; М3, М4; траверса, оттяжки

Схема замка

1 - запорный палец; 2 - пружина запорного пальца; 3 - фиксатор; 4 - кольцо фиксатора; 5 - пружина фиксатора; 6 - палец фиксатора

Монтажник М3 дает машинисту крана сигнал подать траверсу к балке. Монтажник М4 берет в руки петлю стропа и конец оттяжки, а монтажник М3 - подвеску стропа и оттяжки. Затем они заводят оттяжку и строп под балку на расстоянии 0,5 - 0,8 м от ее края. Монтажник М4 перекидывает конец стропа через балку, после этого при помощи рукоятки оттягивает запорный палец замка, который автоматически устанавливается на фиксатор. Затем он правой рукой дергает кольцо фиксатора, освобождая запорный палец, и запирает петлю стропа в замке. Монтажник М3 берет в правую руку крюк стропа и закрепляет его на кольце оттяжки. Ту же операцию на противоположном конце балки выполняет монтажник М4

8

ПОДЪЕМ БАЛКИ; М1, М2 - 1 мин; М3, М4 - 7 мин; траверса, оттяжки

Монтажник М3 подает машинисту крана сигнал приподнять балку на 10 - 20 см. Убедившись в правильности и надежности строповки, он подает сигнал продолжать подъем. Монтажники М3 и М4 оттяжками удерживают балку от раскачивания и вращения. Балку, поднятую на 30 - 50 см выше опорных площадок, принимают монтажники М1 и М2, находящиеся на площадках приставных лестниц

9

УКЛАДКА БАЛКИ, ВЫВЕРКА ЕЕ; М1, М2 - 7 мин; М3, М4 - 15 мин; ломы, метры

Монтажник М3 поднимается по лестнице на площадку к монтажнику М1, а монтажник М4 - к монтажнику М2. По сигналу монтажника М3 машинист крана плавно опускает балку. Монтажники М2 и М4 с помощью ломов рихтуют один конец балки, а монтажники М1 и М3 - другой, добиваясь полного совпадения осевых рисок на балке и консолях колонн. Монтажники М3 и М4, находясь на площадках приставных лестниц у разных торцов балки, метрами уточняют расстояние между осью укладываемой балки и гранями колонн. Затем они поднимаются по приставным лестницам длиной 2 м на верхнюю поверхность балки, закрепляются предохранительными поясами за страховочный канат и выполняют там аналогичную операцию

10

ЭЛЕКТРОСВАРКА ЗАКЛАДНЫХ ДЕТАЛЕЙ; 20 мин; М1, М2; инструменты электросварщика

Выверив балку, монтажники приступают к электросварке монтажных стыков. Монтажник М2 на одном конце балки, а монтажник М1 на другом сваривают нижние закладные пластины балки с пластинами, заложенными в консолях колонн, и подкладками, уложенными на консолях

11

РАССТРОПОВКА БАЛКИ И СНЯТИЕ ОТТЯЖЕК; 3 мин; М3, М4

Надежно закрепив балку, монтажник М3 подает машинисту крана сигнал опустить траверсу до соприкосновения расстроповывающего устройства с верхней плоскостью балки. При дальнейшем опускание траверсы замки открываются, петли стропов выпадают из них и балка автоматически расстроповывается. Монтажник М4 берет в левую руку кольцо на оттяжке, в правую - крюк, отцепляет его и сбрасывает оттяжку вниз. На другом конце балки аналогичную операцию выполняет монтажник М3

* На одну балку.

СОДЕРЖАНИЕ