Стандарт распространяется на дыхательные аппараты с непрерывной подачей сжатого воздуха, предназначенные для использования с маской, полумаской, капюшоном, шлемом, костюмом, а также на дыхательные аппараты, используемые при абразивной обработке. Стандарт не распространяется на дыхательные аппараты для подводных, а также спасательных работ.
| Обозначение: | ГОСТ Р ЕН 14594-2011 |
| Название рус.: | Система стандартов безопасности труда. Средства индивидуальной защиты органов дыхания. Дыхательные аппараты с непрерывной подачей сжатого воздуха от магистрали. Требования, испытания, маркировка |
| Статус: | действует |
| Дата актуализации текста: | 05.05.2017 |
| Дата добавления в базу: | 01.09.2013 |
| Дата введения в действие: | 01.12.2012 |
| Утвержден: | 25.10.2011 Федеральное агентство по техническому регулированию и метрологии (490-ст) |
| Опубликован: | Стандартинформ (2012 г. ) |
| Ссылки для скачивания: |
ФЕДЕРАЛЬНОЕ АГЕНТСТВО
ПО ТЕХНИЧЕСКОМУ РЕГУЛИРОВАНИЮ И МЕТРОЛОГИИ
|
|
НАЦИОНАЛЬНЫЙ |
ГОСТ Р ЕН |
Система стандартов безопасности труда
СРЕДСТВА
ИНДИВИДУАЛЬНОЙ ЗАЩИТЫ
ОРГАНОВ ДЫХАНИЯ.
ДЫХАТЕЛЬНЫЕ АППАРАТЫ С НЕПРЕРЫВНОЙ
ПОДАЧЕЙ СЖАТОГО ВОЗДУХА
ОТ МАГИСТРАЛИ
Требования, испытания, маркировка
EN 14594:2005
Respiratory protective devices - Continuous flow compressed air line breathing
apparatus - Requirements, testing, marking
(IDT)
|
|
Москва Стандартинформ 2012 |
Цели и принципы стандартизации в Российской Федерации установлены Федеральным законом от 27 декабря 2002 г. № 184-ФЗ «О техническом регулировании», а правила применения национальных стандартов Российской Федерации - ГОСТ Р 1.0-2004 «Стандартизация в Российской Федерации. Основные положения»
Сведения о стандарте
1 ПОДГОТОВЛЕН Техническим комитетом по стандартизации средств индивидуальной защиты ТК 320 «СИЗ» на основе собственного аутентичного перевода на русский язык европейского регионального стандарта, указанного в пункте 4
2 ВНЕСЕН Техническим комитетом по стандартизации средств индивидуальной защиты ТК 320 «СИЗ»
3 УТВЕРЖДЕН И ВВЕДЕН В ДЕЙСТВИЕ Приказом Федерального агентства по техническому регулированию и метрологии от 25 октября 2011 г. № 490-ст
4 Настоящий стандарт идентичен европейскому региональному стандарту ЕН 14594:2005 «Средства индивидуальной защиты органов дыхания. Дыхательные аппараты с непрерывной подачей от магистрали сжатого воздуха. Требования, испытания, маркировка» (EN 14594:2005 «Respiratory protective devices - Continuous flow compressed air line breathing apparatus - Requirements, testing, marking»).
Наименование настоящего стандарта изменено относительно наименования указанного европейского регионального стандарта для приведения в соответствие с ГОСТ Р 1.5-2004 (пункт 3.5).
При применении настоящего стандарта рекомендуется использовать вместо ссылочных европейских региональных стандартов соответствующие им национальные стандарты, сведения о которых приведены в дополнительном приложении ДА
5 ВВЕДЕН ВПЕРВЫЕ
Информация об изменениях к настоящему стандарту публикуется в ежегодно издаваемом информационном указателе «Национальные стандарты», а текст изменений и поправок - в ежемесячно издаваемых информационных указателях «Национальные стандарты». В случае пересмотра (замены) или отмены настоящего стандарта соответствующее уведомление будет опубликовано в ежемесячно издаваемом информационном указателе «Национальные стандарты». Соответствующая информация, уведомление и тексты размещаются также в информационной системе общего пользования - на официальном сайте Федерального агентства по техническому регулированию и метрологии в сети Интернет
СОДЕРЖАНИЕ
Система стандартов безопасности труда
СРЕДСТВА
ИНДИВИДУАЛЬНОЙ ЗАЩИТЫ ОРГАНОВ ДЫХАНИЯ.
ДЫХАТЕЛЬНЫЕ АППАРАТЫ С НЕПРЕРЫВНОЙ ПОДАЧЕЙ СЖАТОГО ВОЗДУХА
ОТ МАГИСТРАЛИ
Требования, испытания, маркировка
Occupational safety standards system. Respiratory protective
devices. Continuous flow compressed air line breathing
apparatus. Requirements, testing, marking
Дата введения - 2012-12-01
Настоящий стандарт распространяется на дыхательные аппараты с непрерывной подачей сжатого воздуха, предназначенные для использования с маской, полумаской, капюшоном, шлемом, костюмом, а также на дыхательные аппараты, используемые при абразивной обработке.
Настоящий стандарт не распространяется на дыхательные аппараты для подводных, а также спасательных работ.
В настоящем стандарте использованы нормативные ссылки на следующие стандарты. В случае датированных ссылок применяется только указанная версия. В случае недатированных ссылок применяется последняя версия ссылочного документа (включая все изменения).
ЕН 132 Средства индивидуальной защиты органов дыхания. Определения терминов и пиктограммы (EN 132, Respiratory protective devices - Definitions of terms and pictograms)
EH 134 Средства индивидуальной защиты органов дыхания. Номенклатура составных частей (EN 134, Respiratory protective devices - Nomenclature of components)
EH 136 Средства индивидуальной защиты органов дыхания. Маски полнолицевые. Требования, испытания, маркировка (EN 136, Respiratory protective devices - Full face masks - Requirements, testing, marking)
EH 140 Средства индивидуальной защиты органов дыхания. Полумаски и четверть маски. Требования, испытания, маркировка (EN 140, Respiratory protective devices - Half masks and quarter masks - Requirements, testing, marking)
EH 148-1 Средства индивидуальной защиты органов дыхания. Резьбовые соединения для лицевых частей. Часть 1. Стандартные резьбовые соединения (EN 148-1, Respiratory protective devices - Threads for facepieces - Standard thread connection)
EH 148-2 Средства индивидуальной защиты органов дыхания. Резьбовые соединения для лицевых частей. Центральное резьбовое соединение (EN 148-2, Respiratory protective devices - Threads for facepieces - Part 2: Centre thread connection)
EH 148-3 Средства индивидуальной защиты органов дыхания. Резьбовые соединения для лицевых частей. Резьбовое соединение М 45×3 (EN 148-3, Respiratory protective devices - Threads for facepieces - Part 3: Tread connection M 45×3)
EH 166 Средства индивидуальной защиты глаз. Общие технические условия (EN 166, Personal eye protection - Specifications)
EH 169 Средства индивидуальной защиты глаз. Светофильтры для сварочных и аналогичных работ. Требования к коэффициенту пропускания и рекомендации для применения (EN 169, Personal eye protection - Filters for welding and related techniques - Transmittance requirements and recommended use)
EH 170 Средства индивидуальной защиты глаз. Светофильтры ультрафиолетовые. Требования к коэффициенту пропускания и рекомендации для применения (EN 170, Personal eye protection - Ultraviolet filters - Transmittance requirements and recommended use)
EH 171 Средства индивидуальной защиты глаз. Светофильтры инфракрасные. Требования к коэффициенту пропускания и рекомендации для применения (EN 171, Personal eye protection - Infrared filters - Transmittance requirements and recommended use)
EH 379 Средства индивидуальной защиты глаз. Автоматические светофильтры для сварки (EN 379, Personal eye protection - Automatic welding filters)
EH 397 Защитные каски для промышленности (EN 397, Industrial safety helmets).
EH 12021 Средства индивидуальной защиты органов дыхания. Сжатый воздух для дыхательных аппаратов (EN 12021, Respiratory protective devices - Compressed air for breathing apparatus)
EH 12941 Средства индивидуальной защиты органов дыхания. СИЗОД фильтрующие с принудительной подачей воздуха, используемые со шлемом или капюшоном. Общие технические требования, методы испытаний, маркировка (EN 12941, Respiratory protective devices - Powered filtering devices incorporating a helmet or a hood - Requirements, testing, marking)
EH 13274-1 Средства индивидуальной защиты органов дыхания. Методы испытаний. Определение подсоса под лицевые части и коэффициента проникания (EN 13274-1, Respiratory protective devices - Methods of test - Part 1: Determination of inward leakage and total inward leakage)
EH 13274-2 Методы испытаний. Определение эксплуатационных свойств (EN 13274-2, Respiratory protective devices - Methods of test - Part 2: Practical performance tests)
EH 13274-3 Средства индивидуальной защиты органов дыхания. Методы испытаний. Определение сопротивления дыханию (EN 13274-3, Respiratory protective devices - Methods of test - Part 3: Determination of breathing resistance)
EH 13274-4 Средства индивидуальной защиты органов дыхания. Методы испытаний. Устойчивость к воспламенению (EN 13274-4, Respiratory protective devices - Methods of test - Part 4: Flame tests)
EH 13274-6 Средства индивидуальной защиты органов дыхания. Методы испытаний. Определение содержания диоксида углерода во вдыхаемом воздухе (EN 13274-6, Respiratory protective devices - Methods of test - Part 6: Determination of carbon dioxide content of the inhalation air)
EH ИСО 4674 (все части). Материалы текстильные с каучуковым или полимерным покрытием. Определение сопротивления раздиру (EN ISO 4674(all parts), Rubber-or plastics-coated fabrics - Determination of tear resistance)
EH ИСО 7854 Материалы текстильные с каучуковым или полимерным покрытием. Определение устойчивости к повреждению при многократном изгибе (ИСО 7854) (EN ISO 7854, Rubber-or plastics-coated fabrics - Determination of resistance to damage by flexing (ISO 7854))
EH ИСО 8031 Резиновые и пластмассовые шланги и шланги в сборе. Определение электрического сопротивления (ИСО 8031) (EN ISO 8031, Rubber and plastics hoses and hose assemblies - Determination of electrical resistance (ISO 8031))
EH ИСО 13934-2 Текстиль. Свойства тканей при растяжении. Часть 2. Определение максимального усилия грэб-методом (ИСО 13934-2) (EN ISO 13934-2, Textiles - Tensile properties of fabrics - Part 2: Determination of maximum force using the grab method (ISO 13934-2))
EH ИСО 14877 Одежда защитная при работе с аппаратом для абразивной обработки (для пескоструйных работ) с использованием гранулированного абразива (ISO 14877:2002) (EN ISO 14877, Protective clothing for abrasive blasting operations using granular abrasives (ISO 14877))
В настоящем стандарте применены номенклатура в соответствии с ЕН 134, термины по ЕН 132, а также следующие термины с соответствующими определениями:
3.1 дыхательный аппарат с непрерывной подачей сжатого воздуха от магистрали, предназначенный для использования с маской, полумаской, костюмом, капюшоном или шлемом (continuous flow compressed air line breathing apparatus for use with a face mask, half mask, suit, hood or helmet): Неавтономный аппарат, используемый с лицевой частью, надев которую, пользователь снабжается воздухом для дыхания от источника сжатого воздуха под максимальным давлением 10 бар.
3.2 лицевая часть (facepiece): Лицевая часть, соответствующая требованиям ЕН 136, ЕН 140, или капюшон/шлем/костюм.
3.3 передвижная система подачи сжатого воздуха (mobile compressed air supply system): Система подачи, которая может включать в себя компрессор, фильтры, баллоны сжатого воздуха для использования в качестве передвижного источника воздуха для дыхания.
3.4 режим минимального расхода (minimum flow condition): Присущие конструкции параметры, заданные изготовителем, которые определяют самый минимальный расход.
Примечание - К этим параметрам могут относиться максимальная длина шланга подачи сжатого воздуха, максимальное число соединений в шланге подачи сжатого воздуха, внутренний диаметр шланга и давление в линии нагнетания.
3.5 режим максимального расхода (maximum flow condition): Присущие конструкции параметры, заданные изготовителем, которые определяют максимальный расход.
Примечание - К этим параметрам могут относиться минимальная длина шланга подачи сжатого воздуха, внутренний диаметр шланга и давление в линии нагнетания.
3.6 защитный костюм (костюм) (suit): Одежда, закрывающая голову и туловище пользователя, необязательно вместе со ступнями и кистями рук, в которой вентиляция устроена таким образом, что выдыхаемый воздух и избыток воздуха полностью или частично выводятся через края одежды в окружающую атмосферу через один или более клапанов выдоха.
3.7 абразивная обработка (abrasive blasting operation): Метод обработки поверхностей направленной струей абразивных материалов, в процессе которого оператор абразивной обработки и обрабатываемый материал находятся в замкнутом пространстве или на открытом воздухе, оператор абразивной обработки подвергается прямому воздействию абразивных материалов, рикошетирующих от обрабатываемого материала, носителя абразивных материалов и образующейся пыли.
3.8 абразивные материалы (abrasives): Гранулированные материалы, с большой скоростью направляемые на поверхность обрабатываемого материала для его поверхностной обработки.
3.9 дыхательный аппарат для использования при абразивной обработке (breathing apparatus for use in abrasive blasting operations): Защитный капюшон с ударопрочным лицевым щитком и накидкой, закрывающей плечи и верхнюю часть грудной клетки, с подачей пользователю воздуха для дыхания из источника, не носимого пользователем.
3.10 комплект для абразивной обработки (abrasive blasting combination): Комбинация защитной одежды для защиты от рисков, возникающих при операциях по абразивной обработке, и надлежащего оборудования для защиты органов дыхания.
Дыхательный аппарат, на который распространяется действие настоящего стандарта, позволяет обеспечивать пользователя воздухом для дыхания в соответствии с требованиями ЕН 12021, с непрерывной подачей воздуха под лицевую часть через шланг подачи воздуха. Дыхательный аппарат может включать клапан-регулятор расхода, носимый пользователем. Шланг подачи сжатого воздуха соединяет пользователя с источником сжатого воздуха.
Избыток воздуха и выдыхаемый воздух поступают в окружающую атмосферу.
Примечание - Соответствие требованиям ЕН 12021 может быть обеспечено системой подачи воздуха для дыхания или дополнительным устройством, таким как система фильтрации сжатого воздуха.
Дыхательные аппараты классифицируют по максимальному уровню подсоса под лицевую часть, указанному в таблице 1, и по требованиям прочности, приведенным ниже.
Таблица 1 - Классификация
|
Максимальный коэффициент подсоса, % |
|
|
1А и 1В |
10,00 |
|
2А и 2В |
2,00 |
|
3А и 3В |
0,50 |
|
4А и 4В |
0,05 |
Устройства класса А могут соответствовать менее жестким требованиям настоящего стандарта, предъявляемым к прочности дыхательных аппаратов. Устройства класса В должны отвечать более высоким требованиям, предъявляемым к прочности дыхательных аппаратов; шланг подачи сжатого воздуха аппарата испытывают на воспламеняемость.
Устройства класса 4А комплектуют либо маской в соответствии с требованиями ЕН 136, либо капюшоном/шлемом/костюмом.
Устройства класса 4В комплектуют маской в соответствии с требованиями ЕН 136 или аппаратом, пригодным для использования при абразивной обработке.
Все дыхательные аппараты для использования при абразивной обработке должны соответствовать требованиям класса 4В.
Все значения величин, приведенные в настоящем стандарте, - номинальные. Допускается отклонение ±5 % указанного значения температуры, не оговоренного в настоящем стандарте как максимальное или минимальное. При этом температура окружающей среды при испытаниях, если это не оговорено особо, должна находиться в диапазоне от 16 °С до 32 °С. Все другие значения температур следует устанавливать с точностью ±1 °С. При ссылках на пункт испытания применяют все требования подпунктов этого пункта, если не указано иное.
Требования настоящего стандарта учитывают взаимодействие между пользователем, средством индивидуальной защиты органов дыхания и, по возможности, условиями работы, в которых используют средство защиты органов дыхания. Дыхательный аппарат должен соответствовать требованиям 6.3, 6.9 и 6.10.
Испытания проводят в соответствии с 7.3.
6.3.1 Все материалы, используемые в конструкции дыхательного аппарата, должны обладать устойчивостью к воздействию тепла и механической прочностью. Испытания проводят в соответствии с 7.3 при соблюдении всех условий, указанных в 7.7, требованиями паспорта безопасности, если это применимо, и декларации изготовителя в отношении материалов, использованных в конструкции устройства.
Испытания проводят в соответствии с 7.2.
6.3.2 Незащищенные детали дыхательных аппаратов для абразивных работ, которые могут подвергаться ударному воздействию в процессе использования, не должны быть изготовлены из алюминия, магния, титана или сплавов этих металлов.
Испытания проводят в соответствии с 7.2.
6.3.3 Для изготовления дыхательных аппаратов применяют материалы, разрешенные органами здравоохранения для использования в контакте с кожей и вдыхаемым воздухом.
(Материалы, которые могут вступить в контакт с кожей пользователя или влиять на качество воздуха для дыхания, не должны вызывать раздражение кожи или не должны иметь другие неблагоприятные последствия для здоровья и должны иметь разрешение на применение.)
Испытания проводят в соответствии с 7.2.
6.3.4 Поверхности всех деталей аппарата, которые могут вступить в контакт с пользователем, не должны иметь острых кромок и заусенцев.
Испытания проводят в соответствии с 7.2 и 7.3.
Все материалы не должны иметь видимых повреждений после чистки и дезинфекции с использованием химических реагентов и процедур, указанных изготовителем.
Испытания проводят в соответствии с 7.2.
Дыхательный аппарат должен быть таким, чтобы его можно было носить без дискомфорта. Пользователи не должны испытывать напряжения, связанного с ношением аппарата. Аппарат должен минимально стеснять движения пользователя в согнутом положении или при работе в ограниченном пространстве.
Практические эксплуатационные свойства собранного аппарата должны быть испытаны в реальных условиях. Эти испытания служат для проверки аппарата на наличие недостатков, которые нельзя выявить в ходе испытаний, описанных в других разделах.
Если при выполнении какого-либо действия любым из испытателей он не смог закончить выполнение этого действия из-за того, что аппарат оказался непригодным для тех целей, для которых он предназначен, аппарат считают не прошедшим испытание.
Испытания проводят в соответствии с 7.3.
6.6.1 Общие положения
Компоненты аппарата должны легко сниматься для чистки, осмотра и испытания. Все съемные соединения должны легко соединяться и затягиваться по возможности руками. В ходе штатной эксплуатации и технического обслуживания все используемые средства уплотнения должны оставаться на месте при разъединении соединений и разъемов.
Испытания проводят в соответствии с 7.2 и 7.3.
6.6.2 Разъемы
Конструкцией аппарата должно быть предусмотрено, чтобы перекручивание шлангов подачи воздуха под лицевую часть и шлангов подачи сжатого воздуха не влияло на его подгонку или эксплуатационные свойства, а также не приводило к разъединению шлангов. В шланге подачи сжатого воздуха должно быть предусмотрено как минимум одно вертлюжное соединение. Разъемы должны препятствовать случайному прекращению подачи воздуха.
Испытания проводят в соответствии с 7.2 и 7.3.
6.6.3 Прочность соединений соединительного шланга низкого давления
Соединения шланга подачи воздуха к лицевой части и на поясе должны выдерживать приложенную силу 50 Н для устройств класса А и 250 Н - для устройств класса В.
Испытания проводят в соответствии с 7.4.
6.6.4 Соединение между дыхательным аппаратом и маской
Соединение между дыхательным аппаратом и маской должно обеспечиваться постоянным, специальным или резьбовым соединением. В случае использования резьбового соединения оно должно либо соответствовать требованиям ЕН 148-1, либо, если используется любой другой тип резьбового соединения, должно быть несопрягаемым с резьбой, соответствующей требованиям ЕН 148-1, ЕН 148-2 или ЕН 148-3.
Резьбовые соединения, соответствующие требованиям ЕН 148-2 или ЕН 148-3, не следует использовать с аппаратом, отвечающим требованиям настоящего стандарта.
Испытания проводят в соответствии с 7.2.
6.6.5 Соединение аппарата с капюшоном/шлемом/костюмом
Соединение между аппаратом и капюшоном/шлемом/костюмом должно обеспечиваться постоянным, специальным или резьбовым соединением.
Резьбу, соответствующую требованиям ЕН 148-1, ЕН 148-2 и ЕН 148-3, не следует использовать для соединения с капюшоном/шлемом/костюмом. Если используют резьбовое соединение, то следует исключить возможность установления соединения с использованием резьбы, соответствующей требованиям ЕН 148-1, ЕН 148-2 или ЕН 148-3.
Испытания проводят в соответствии с 7.2.
6.6.6 Недопустимые (неприемлемые) соединения
Необходимо предусматривать невозможность соединения шланга подачи сжатого воздуха непосредственно со шлангом подачи воздуха под лицевую часть или самой лицевой частью.
Испытания проводят в соответствии с 7.2.
Должны быть предусмотрены ремни крепления к туловищу или пояс, к которым должны крепиться шланг подачи сжатого воздуха, соединительный шланг среднего давления (если предусмотрен) и соединительный шланг низкого давления (если предусмотрен). Пряжки не должны скользить, ремни крепления к туловищу или пояс не должны иметь повреждений.
Устройства класса А должны быть рассчитаны на приложение силы 250 Н, устройства класса В - на приложение силы 1000 Н.
Испытания проводят в соответствии с 7.2, 7.3 и 7.6.
После проведения испытаний в соответствии с 7.7.1, 7.7.2, а также дополнительно 7.7.3 и возврата к комнатной температуре дыхательный аппарат должен соответствовать всем эксплуатационным требованиям настоящего стандарта, за исключением 6.9.
Аппараты, специально предназначенные для хранения в условиях, выходящих за предельные значения диапазонов, указанных в 7.7.1, следует готовить к хранению и маркировать соответствующим образом. Аппараты, специально предназначенные для использования при температурах ниже 0 °С, должны удовлетворительно работать при этих температурах.
Испытания проводят в соответствии с 7.7.
6.9.1 Требования 6.9.2 и 6.9.3 не предъявляются к источнику сжатого воздуха, например к передвижным системам подачи сжатого воздуха, но относятся к шлангу подачи сжатого воздуха.
Испытания проводят в соответствии с 7.8.1.
6.9.3 Во всех случаях, когда аппарат предназначен изготовителем для использования в условиях с высоким риском воспламенения, незащищенные детали должны быть испытаны в соответствии с 7.8.2. Горение незащищенных деталей не должно продолжаться более 5 с после извлечения из пламени, аппарат должен быть маркирован в соответствии с разделом 8.
Испытания проводят в соответствии с 7.8.2.
6.10.1 Общие положения
Требования 6.18 применяют одновременно ко всем аппаратам, подключенным к мобильной системе подачи сжатого воздуха. Если воздухоснабжение нескольких пользователей осуществляется от одного редуктора давления, испытания проводят с подключением одного аппарата к дыхательной машине и подаче на все остальные аппараты непрерывного потока воздуха расходом 160 дм3/мин.
Передвижные системы подачи сжатого воздуха должны подавать воздух для дыхания в соответствии с ЕН 12021 и быть оборудованы редукторами давления, манометрами, клапаном сброса избыточного давления и устройством предупредительной сигнализации, которое может носить пользователь.
Испытания проводят в соответствии с 7.2.
6.10.2 Редуктор давления
Редуктор и характеристики системы подачи сжатого воздуха, включающей шланг (шланги) подачи сжатого воздуха, должны соответствовать требованиям 6.14 и 6.18.
Если конструкцией предусмотрена возможность изменения давления на выходе, то регулирование редуктора давления должно быть невозможным без специального инструмента, а на манометре должен быть обозначен диапазон давлений.
Испытания проводят в соответствии с 7.2 и 7.3.
6.10.3 Клапан сброса избыточного давления
Дыхательный аппарат должен быть снабжен клапаном сброса избыточного давления. Клапан сброса избыточного давления должен поддерживать среднее давление, не превышающее 30 бар, в системе, обеспечивающей подачу сжатого воздуха, или менее, если это оговорено изготовителем. При работающем клапане сброса избыточного давления сопротивление дыханию при вдохе и выдохе не должно превышать 25 мбар.
Если оборудование смонтировано в корпусе, поток воздуха из клапана сброса избыточного давления не должен существенно уменьшаться.
Испытания проводят в соответствии с 7.2 и 7.9.
В дыхательном аппарате должно быть предусмотрено устройство предупредительной сигнализации, срабатывающее при остаточном объеме воздуха не менее чем на 5 мин нормальной работы для каждого пользователя. Должна быть обеспечена подача всего остатка воздуха под давлением выше минимального рабочего давления используемого аппарата и при расходе - не менее установленного изготовителем минимального расчетного расхода.
Если изготовителем предусмотрена эксплуатация оборудования без наблюдателя (помощника) за работой системы подачи сжатого воздуха, то устройство предупредительной сигнализации должен носить сам пользователь.
Если изготовителем предусмотрена эксплуатация оборудования с наблюдателем за работой системы подачи сжатого воздуха, то устройство предупредительной сигнализации должно предупреждать наблюдателя (помощника) и/или пользователя.
Испытания проводят в соответствии с 7.2 и 7.15.
При установленном давлении срабатывания устройства предупредительной сигнализации ±5 бар длительность предупредительного сигнала должна составлять не менее 15 с для непрерывного сигнала, не менее 60 с - для прерывистого сигнала, после чего сигнал должен повторяться.
Испытания проводят в соответствии с 7.2 и 7.15.
6.11.2 Звуковое устройство предупредительной сигнализации
Если конструкцией предусмотрено звуковое устройство предупредительной сигнализации, уровень звука должен составлять не менее 90 дБА при измерении у уха, ближнего к устройству, для пользователя или на расстоянии 1 м от передвижной системы подачи сжатого воздуха для наблюдателя (помощника). Сигнал может быть непрерывным или прерывистым.
При установленном давлении срабатывания устройства предупредительной сигнализации ±5 бар длительность предупредительного сигнала громкостью 90 дБА должна составлять не менее 15 с для непрерывного сигнала, не менее 60 с - для прерывистого сигнала, после чего сигнал должен повторяться, пока давление не снизится до 10 бар, или до среднего давления, указанного изготовителем.
Для устройства с прерывистым сигналом пиковое звуковое давление должно составлять не менее 90 дБА. Частотный диапазон должен находиться в пределах 2000 - 4000 Гц.
Скачок воздушного потока, который может быть вызван предупредительным сигналом, не должен снижать объем остатка воздуха до уровня, при котором время для эвакуации становится меньше времени, регламентированного в 6.11.1. Работа устройства предупредительной сигнализации не должна влиять на подачу воздуха пользователю.
6.12.1 Сопротивление скручиванию
Для устройств класса А шланг подачи сжатого воздуха сгибается под прямым углом и к нему прикладывают силу 250 Н. Уменьшение воздушного потока не должно превышать 10 %.
Для устройств класса В шланг подачи сжатого воздуха должен сохранять форму ровной петли, близкой к окружности, и спирали, образованной из этой петли. В ходе испытания он не должен деформироваться до состояния, в котором поток воздуха через него уменьшается более чем на 10 %, при этом первоначальный поток воздуха измеряют для ровного ненагруженного шланга.
Испытания проводят в соответствии с 7.10.
6.12.2 Прочность на смятие (сжатие)
Уменьшение воздушного потока при испытании под нагрузкой 250 Н - для устройств класса А и 1000 Н - для устройств класса В не должно превышать 10 %. Испытания проводят в соответствии с 7.11.
6.12.3 Прочность
Шланг подачи сжатого воздуха, соединения и клапан-регулятор расхода (если предусмотрен) не должны отделяться от соединений, пояса или ремней крепления к туловищу при приложении силы 250 Н для устройств класса А и 1000 Н - для устройств класса В.
Испытания проводят в соответствии с 7.2 и 7.6.
6.12.4 Гибкость
Находясь под максимальным рабочим давлением, шланг подачи сжатого воздуха должен быть способен намотаться на один оборот на барабан диаметром 300 мм.
Испытания проводят в соответствии с 7.2.
Шланги подачи сжатого воздуха, для которых указано, что они устойчивы к повреждению при контакте с горячими поверхностями и кипятком, при испытании не должны проявлять признаков повреждения или отказа, а качество воздуха не должно существенно изменяться.
Испытания проводят в соответствии с 7.12.
6.12.6 Электростатические свойства
Шланги подачи сжатого воздуха, для которых указано, что они являются антистатическими, при измерении в соединенном состоянии должны иметь электрическое сопротивление более 103 Ом и менее 108 Ом.
Испытания проводят в соответствии с ЕН ИСО 8031.
6.12.7 Разъемы
Если на выходе шланга подачи сжатого воздуха предусмотрено ручное соединение, оно должно включать самоуплотняющийся разъем для прекращения подачи воздуха при отсоединении от линии.
Испытания проводят в соответствии с 7.2.
6.12.8 Сопротивление давлению
Шланг подачи сжатого воздуха и разъемы устройств класса В должны без последствий выдерживать давление 30 бар в течение 15 мин. Устройства класса А должны выдерживать давление 20 бар в течение 15 мин.
Испытания проводят в соответствии с 7.1.
6.12.9 Устойчивость к воспламенению
6.12.9.1 Горение шланга подачи сжатого воздуха не должно продолжаться более 5 с после извлечения из пламени.
Испытания проводят в соответствии с 7.8.1.
6.12.9.2 Только для устройств класса В: если аппарат предназначен изготовителем для использования в условиях с высоким риском воспламенения, горение шланга не должно продолжаться более 5 с после извлечения из пламени; шланг должен быть маркирован в соответствии с разделом 8.
Испытания проводят в соответствии с 7.8.2.
6.12.10 Рабочая длина (только для устройств класса А)
Максимальная рабочая длина прямого шланга подачи сжатого воздуха - 10 м. Эффективную рабочую длину спирального шланга подачи сжатого воздуха следует определять при приложении силы 50 Н, и она не должна превышать 10 м при этом усилии.
Испытания проводят в соответствии с 7.2.
6.13.1 Сопротивление скручиванию
Шланги подачи воздуха под лицевую часть (если предусмотрены) должны быть гибкими и устойчивыми к скручиванию.
Испытания проводят в соответствии с 7.2 и 7.3.
6.13.2 Прочность на сжатие
Воздушный поток в процессе испытаний не должен уменьшаться более чем на 10 % минимального расчетного расхода, установленного изготовителем. Через 5 мин после окончания испытания шланги не должны быть деформированы.
Испытания проводят в соответствии с 7.5.
Клапан-регулятор расхода, если он предусмотрен, должен либо быть настроен заранее, либо легко регулироваться пользователем для подачи воздуха в необходимом режиме. Возможность непреднамеренного снижения расхода ниже минимального расчетного расхода, установленного изготовителем, должна быть исключена. Если собранный аппарат находится в режиме минимального расхода, то расход должен соответствовать минимальному расчетному расходу, установленному изготовителем для регламентированного им диапазона давлений подачи. Если устройство находится в режиме максимального расхода, то следует выполнять требования к сопротивлению дыханию, установленные в 6.18.
Испытания проводят в соответствии с 7.3 и 7.20.
Все части (элементы), требующие манипуляций со стороны пользователя, должны быть легкодоступными и легко отличаться друг от друга на ощупь. Конструкцией всех подгоняемых (регулируемых) частей (элементов) и средств управления должно быть предусмотрено, чтобы их настройка не могла случайно измениться в процессе использования. Части (элементы), подгонка (регулировка) которых пользователем не предусмотрена, должны регулироваться (подгоняться) только с помощью инструмента.
Испытания проводят в соответствии с 7.2 и 7.3.
6.16.1 Маски и полумаски
Маски должны соответствовать требованиям ЕН 136, полумаски - требованиям ЕН 140.
Испытания проводят в соответствии с 7.2.
6.16.2 Капюшон/шлем/костюм
6.16.2.1 Общие положения
Конструкцией капюшона/шлема/костюма должно быть предусмотрено его легкое надевание и снятие. Для устройств класса А эффективная масса капюшона/шлема, надеваемых на голову, не должна превышать 1,5 кг. При необходимости могут быть предусмотрены ремни крепления на голове, которые должны прочно и комфортно удерживать капюшон/шлем/костюм в требуемом положении.
В случае нештатной ситуации, например при отсутствии воздуха или его значительном избыточном давлении, должен обеспечиваться легкий доступ к окружающему воздуху или должна использоваться предусмотренная аварийная система.
Испытания проводят в соответствии с 7.3 и 7.22.
6.16.2.2 Линзы или смотровые экраны
Линза(ы) или смотровые экраны должны надежно крепиться к капюшону/шлему/костюму.
Линза(ы) или смотровые экраны не должны искажать зрение, что определяется в ходе испытаний практических эксплуатационных свойств.
Запотевание смотрового экрана не должно существенно ухудшать зрение.
При использовании средств против запотевания линза(ы) или смотровые экраны должны быть совместимыми с компонентами капюшона/шлема/костюма, не должны вызывать раздражение кожи или другие неблагоприятные воздействия на здоровье в предполагаемых условиях использования.
Механическую прочность смотрового экрана следует испытывать в соответствии с 7.16. Капюшоны/шлемы/костюмы, используемые при абразивной обработке, должны соответствовать ЕН 166 (подпункт 7.2.2) при энергии ударного воздействия не ниже В (среднеэнергетический удар) в соответствии с таблицей 7 ЕН 166. После испытания капюшон/шлем/костюм должен соответствовать требованиям 6.17.
При выполнении испытаний практических эксплуатационных свойств аппарата, описанных в 7.3, поле зрения должно быть приемлемым.
Если предусмотрен внешний смотровой экран и/или защитный кожух, то их удаление не должно ухудшать защиту органов дыхания и при этом следует выполнять требования 6.17. Если для устройств, используемых при абразивной обработке, предусмотрен внешний смотровой экран и (или) защитный кожух, удерживаемый в шарнирной оправе, то должно быть предусмотрено средство фиксации оправы в закрытом положении.
Испытания проводят в соответствии с 7.2, 7.3 и 7.16.
Если дополнительно предусмотрена защита от некоторых видов неионизирующего излучения, то смотровые экраны (линзы) должны соответствовать требованиям ЕН 166, ЕН 169, ЕН 170, ЕН 171 или ЕН 379.
Если средство защиты от неионизирующего излучения составляет одно целое с аппаратом, на который распространяется настоящий стандарт, то поле зрения следует измерять в соответствии с ЕН 12941 (пункт 7.4) и указывать только для сведения. Аппарат должен также соответствовать требованиям ЕН 166, ЕН 169, ЕН 170, ЕН 171 или ЕН 379.
6.16.2.3 Устройство сброса избыточного давления
Аппарат в сборе может быть оснащен одним или несколькими устройствами сброса избыточного давления. Капюшоны, в которых используют обтюрацию вокруг шеи, должны иметь, по меньшей мере, одно устройство для сброса избыточного давления. Конструкцией устройства сброса избыточного давления и/или клапана выдоха в сборе должны быть предусмотрены простота техобслуживания и правильность замены.
Устройство для сброса избыточного давления и клапаны выдоха (если предусмотрены) должны быть защищены или быть устойчивыми к загрязнению и механическим повреждениям. Они могут быть закрытыми или включать другие устройства, необходимые для выполнения требований 6.17. Если используют устройства для сброса избыточного давления и/или клапаны выдоха, они должны функционировать надлежащим образом при любой ориентации.
После непрерывного потока выдыхаемого воздуха в течение (1 ± 0,1) мин расходом 160 дм3/мин и с учетом максимального расчетного расхода, установленного изготовителем, клапаны выдоха должны продолжать работать и соответствовать требованиям 6.17.
Испытания проводят в соответствии с 7.14 и 7.17.
Корпус устройства для сброса избыточного давления и/или клапана выдоха должен быть прикреплен к капюшону таким образом, чтобы он выдерживал осевую растягивающую силу 50 Н в течение (10 ± 1) с.
Испытания проводят в соответствии с 7.2 и 7.19.
6.16.2.4 Материал капюшона (исключая смотровые экраны и обтюрацию на шее)
6.16.2.4.1 Устойчивость к растрескиванию при многократном сгибании
Для устройств класса В устойчивость к растрескиванию при многократном сгибании должна быть не ниже 5000 циклов. Наличие видимых повреждений после испытаний не допускается.
Испытания проводят в соответствии с ЕН ИСО 7854 (пункт 7.2, метод В).
6.16.2.4.2 Сопротивление раздиру
Для устройств класса В сопротивление раздиру материала капюшона должно быть более 20 Н для образцов, вырезанных под углом 90° друг к другу.
Испытания проводят в соответствии с ЕН ИСО 4674 (метод А1).
6.16.2.4.3 Прочность швов
Для устройств класса В прочность швов должна быть более 30 Н.
Испытание проводят в соответствии с ЕН ИСО 13934-2.
6.16.2.5 Уровень шума под капюшоном/шлемом/костюмом
Уровень шума, сопутствующий подаче воздуха в капюшон/шлем/костюм, измеренный под капюшоном/шлемом/костюмом рядом с ушами пользователя, не должен превышать 80 дБА.
Испытания проводят в соответствии с 7.18.
6.16.2.6 Уровень шума под лицевой частью аппарата для использования при абразивной обработке
Если уровень шума превышает 80 дБА, изготовитель должен представить в своей документации информацию о средствах защиты органов слуха, которыми следует пользоваться.
6.16.2.7 Средства защиты головы (дополнительно)
Если в устройствах для использования при абразивной обработке дополнительно предусмотрены средства защиты головы, такие устройства должны соответствовать требованиям амортизации и прониканию, регламентируемых ЕН 397 (пункты 5.1.1 и 5.1.2) соответственно при испытаниях, проводимых при температуре окружающей среды в соответствии с 6.1.
Среднеарифметический коэффициент подсоса для любого из 10 испытателей в любом из испытаний не должен превышать максимальные коэффициенты, указанные в таблице 1, при испытании в минимальных расчетных условиях, установленных изготовителем.
Испытания проводят в соответствии с 7.14.
6.18.1 Аппараты с маской/полумаской
6.18.1.1 Сопротивление при вдохе
Сопротивление при вдохе не должно превышать 4,5 мбар.
Испытания проводят в соответствии с 7.17.
6.18.1.2 Сопротивление при выдохе
Сопротивление при выдохе не должно превышать 10 мбар.
Испытания проводят в соответствии с 7.17.
6.18.2 Аппараты с капюшоном/шлемом/костюмом
6.18.2.1 Сопротивление на вдохе
Давление внутри капюшона/шлема/костюма не должно опускаться ниже атмосферного ни при каких условиях.
Испытания проводят в соответствии с 7.17.
6.18.2.2 Сопротивление на выдохе
Сопротивление на выдохе не должно превышать 5 мбар.
Испытания проводят в соответствии с 7.17.
6.19.1 При наличии подачи воздуха
Испытывают дыхательные аппараты всех классов. При испытаниях аппарата в режиме минимального расчетного расхода, установленного изготовителем, содержание диоксида углерода во вдыхаемом воздухе не должно превышать среднего значения, равного 1 % (по объему).
Испытание проводят в соответствии с 7.13.
6.19.2 При отсутствии подачи воздуха
Испытывают капюшоны/шлемы/костюмы классов 1 и 2, не оснащенные устройством предупреждения о низком расходе. На все другие устройства это требование не распространяется. При испытаниях аппарата в режиме отсутствия подачи воздуха содержание диоксида углерода во вдыхаемом воздухе не должно превышать среднего значения, равного 3 % (по объему).
Испытания проводят в соответствии с 7.13.
Шланг подачи сжатого воздуха, разъемы, клапан-регулятор расхода (если предусмотрен) и соединительный шланг низкого давления (если предусмотрен) испытывают на герметичность погружением в воду в течение 1 мин при максимальном расчетном рабочем давлении в аппарате. Во время испытания воздух должен выходить из соединения соединительного шланга низкого давления или лицевой части. Это испытание проводят непосредственно перед испытаниями, предусмотренными 7.6, и сразу после испытаний, предусмотренных 7.6, и в последующем после завершения всех лабораторных испытаний, за исключением испытаний на устойчивость к воспламенению.
В процессе испытаний не должно наблюдаться появление воздушных пузырей.
Испытания проводят в соответствии с 7.2 и 7.6.
В аппарате должно быть предусмотрено средство, позволяющее пользователю проверить перед использованием, достигнут или превышен минимальный расчетный расход, регламентированный изготовителем.
Все капюшоны/шлемы/ костюмы классов 3 и 4 должны быть оснащены средством предупреждения о низком расходе. Капюшоны/шлемы/костюмы классов 1 и 2, не соответствующие требованиям 6.19.2, должны быть оснащены средством предупреждения о низком расходе, которое незамедлительно привлекает внимание пользователя в процессе использования в случае, если минимальный расчетный расход воздуха, регламентированный изготовителем, не обеспечивается.
Испытания проводят в соответствии с 7.15.
Если в аппарате предусмотрено звуковое устройство предупредительной сигнализации, уровень звукового давления должен составлять не менее 90 дБА при измерении рядом с ушами пользователя. Частотный диапазон устройства предупредительной сигнализации должен находиться в пределах 2000 - 4000 Гц.
После испытания в соответствии с 7.21 аппарат, предназначенный для использования при абразивной обработке, должен отвечать требованиям 6.17.
Перед выполнением испытаний, в которых принимают участие люди, нужно учесть все национальные нормативы, касающиеся историй болезни, медицинского осмотра и наблюдения испытателей.
Если применение специальных средств измерений или методов испытаний не оговаривается, то используют общепринятые (установленные) средства измерений и методы испытаний.
Испытания на устойчивость к воспламенению, предусмотренные в 7.8, выполняют на двух образцах, не прошедших процедуру предварительной подготовки к испытанию, которые для дальнейших испытаний не используют.
Перед проведением остальных испытаний для двух образцов должна быть выполнена процедура подготовки к испытаниям, описанная в 7.7. Оба испытуемых образца должны удовлетворять требованиям во всех испытаниях. Испытания на герметичность проводят на предварительно подготовленных к испытанию образцах после всех других испытаний, кроме испытания на практические эксплуатационные свойства. Испытания на практические эксплуатационные свойства проводят на двух образцах, прошедших предварительную подготовку к испытанию, после завершения всех других испытаний, не считая испытаний на устойчивость к воспламенению.
В таблице 2 указаны виды испытаний и номера пунктов с соответствующими требованиями.
Таблица 2 - Сводная таблица испытаний
|
Заголовок подраздела |
Температурный режим в соответствии с 6.8 |
Номер пункта |
|
|
Визуальный контроль |
Да |
||
|
Практические испытания эксплуатационных свойств |
Да |
||
|
Прочность соединений соединительного шланга низкого давления |
Да |
||
|
Сопротивление смятию соединительного шланга низкого давления |
Да |
||
|
Прочность шланга подачи сжатого воздуха, ремней крепления к туловищу и соединений |
Да |
||
|
Испытание на устойчивость к хранению |
Да |
||
|
Устойчивость к воспламенению |
Нет |
||
|
Клапан сброса избыточного давления |
Да |
||
|
Сопротивление скручиванию шланга подачи сжатого воздуха |
Да |
||
|
Сопротивление смятию шланга подачи сжатого воздуха |
Да |
||
|
Термостойкость шланга подачи сжатого воздуха |
Да |
||
|
Определение содержания диоксида углерода во вдыхаемом воздухе |
Да |
||
|
Определение коэффициента подсоса под дыхательный аппарат |
Да |
||
|
Средства предупреждения |
Да |
||
|
Механическая прочность линз или смотровых экранов (капюшонов/шлемов/костюмов) |
Да |
||
|
Сопротивление дыханию |
Да |
||
|
Уровень шума внутри капюшона/шлема/костюма |
Да |
||
|
Прочность крепления клапана выдоха (капюшона/шлема/костюма) |
Да |
||
|
Скорость потока подаваемого воздуха |
Да |
||
|
Защитная одежда |
Да |
Визуальный контроль проводят до лабораторных испытаний или испытаний практических эксплуатационных свойств. Он может включать в себя некоторые операции по разборке в соответствии с инструкциями изготовителя по техническому обслуживанию. Визуальный контроль должен включать в себя оценку маркировки устройства, предоставляемой изготовителем информации и всех паспортов безопасности (если применимо) или деклараций на материалы, использованные в его конструкции.
7.3.1 Общие положения
Практические испытания эксплуатационных свойств следует выполнять согласно ЕН 13274-2 с использованием двух аппаратов и четырех испытателей. Допускается использование только аппаратов, прошедших лабораторные испытания. План испытаний приведен далее.
Испытатели 1 и 2 используют аппарат 1, испытатели 3 и 4 - аппарат 2.
7.3.2 Подготовка аппарата к испытаниям
Перед каждым испытанием необходимо проверить аппарат на герметичность.
Далее следует убедиться, что воздух подается из систем или баллонов сжатого воздуха под давлением в установленном диапазоне значений. Шланг подачи сжатого воздуха должен иметь максимальную длину, установленную изготовителем, включая максимальное число разрешенных соединений.
7.3.3 Условия испытания
Все испытания выполняют в условиях окружающей среды, которые регистрируют.
7.3.4 Испытания с имитацией эксплуатации
Для имитации практического использования аппарата выполняют следующие действия. Испытания выполняют в течение 30 мин общего рабочего времени. Испытания выполняют непрерывно при использовании аппарата.
Последовательность выполнения действий и их длительность остаются на усмотрение испытательной лаборатории. Отдельные действия должны быть организованы так, чтобы оставалось достаточно времени на выполнение необходимых измерений.
Для устройств класса А:
- действие № 5 по ЕН 13274-2,
- действие № 3 по ЕН 13274-2,
- действие № 10 по ЕН 13274-2,
- действие № 14 по ЕН 13274-2,
а также либо
- действие № 18 по ЕН 13274-2, либо
- действие № 19 по ЕН 13274-2.
Для устройств класса В:
- действие № 15 по ЕН 13274-2,
- действие № 4 по ЕН 13274-2,
- действие № 3 по ЕН 13274-2,
- действие № 10 по ЕН 13274-2,
- действие № 12 по ЕН 13274-2,
- действие № 16 по ЕН 13274-2.
Если действия выполнены менее чем за 30 мин, то в течение оставшегося времени испытатель перемещается пешком со скоростью 6 км/ч.
7.3.5 Регистрируемая информация
Результаты оценок регистрируют в соответствии с ЕН 13274-2. В процессе испытаний устройство субъективно оценивает каждый пользователь, после испытания испытатели индивидуально и наедине дают ответы на вопросы согласно ЕН 13274-2 (пункт 6.6). Если при выполнении какого-либо действия любой из испытателей не смог закончить выполнение этого действия из-за того, что аппарат оказался непригодным для тех целей, для которых он предназначен, аппарат считают не прошедшим испытание.
7.3.6 Практические испытания эксплуатационных свойств при низких температурах
7.3.6.1 Температура холодильной камеры
Температура холодильной камеры для этих испытаний должна составлять от минус 6 °С до минус 9 °С в соответствии с ЕН 13274-2 (пункт 6.5).
7.3.6.2 Испытание предварительно охлажденного аппарата
Два аппарата подвергают чистке в соответствии с информацией изготовителя, всю излишнюю жидкость удаляют встряхиванием. Затем аппараты готовят к использованию и охлаждают в холодильной камере не менее 2 ч и не более 3 ч.
Два тепло одетых испытателя надевают каждый свой аппарат в холодильной камере. Для устройств класса А, для которых испытание проводят непрерывно и не снимая аппарата в течение 20 мин, необходимо выполнить действия 5 и 14 по ЕН 13274-2.
Для устройств класса В необходимо выполнить испытания в соответствии с действием 17 ЕН 13274-2, перечисления а), b) и с).
7.3.6.3 Испытание аппарата при температуре окружающей среды
Два аппарата готовят к использованию кондиционированием при температуре окружающей среды.
Два тепло одетых испытателя надевают каждый свой аппарат и входят в холодильную камеру. Для устройств класса А, для которых испытание проводят непрерывно с надетым аппаратом в течение 20 мин, необходимо выполнить действия 5 и 14 по ЕН 13274-2.
Для устройств класса В необходимо выполнить испытания в соответствии с действием 17 ЕН 13274-2, перечисления а), b) и с).
Соединяют шланг подачи воздуха с лицевой частью и с поясом или ремнями крепления к туловищу. Подвешивают лицевую часть (не за ремни креплений) и в течение 10 с прилагают силу 50 Н для устройств класса А и 250 Н - для устройств класса В к поясу или к ремням крепления к туловищу в направлении стрелок, показанных на рисунке 1.
Осматривают аппарат на наличие признаков повреждений.
7.5.1 Принцип метода испытаний
Через шланг подачи воздуха, подвергшегося воздействию силы с установленным значением, подают поток воздуха с установленным расходом. Измеряют изменение расхода воздуха.
7.5.2 Испытательное оборудование
Для испытаний используют две квадратные металлические пластины размером 100×100 мм или круглые пластины диаметром 100 мм и толщиной не менее 10 мм (как показано на рисунке 5). Одна пластина закреплена, а другая перемещается под прямым углом к плоскости первой пластины. Перемещающаяся пластина должна нагружаться таким образом, чтобы обеспечивать приложение силы 50 Н к шлангу подачи воздуха, вложенному между пластинами (см. рисунок 5).
7.5.3 Порядок проведения испытания
Помещают соединительный шланг низкого давления посередине между двумя пластинами и подают через шланг воздух с минимальным расчетным расходом, установленным изготовителем. Прикладывают силу 50 Н (с учетом массы самой подвижной пластины) к шлангу и снова измеряют расход воздуха. Рассчитывают уменьшение расхода.
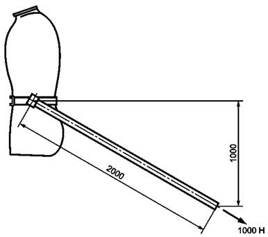
Пояс или ремни крепления к туловищу вместе с соединениями и клапаном-регулятором расхода (если имеется) крепят к туловищу манекена в вертикальном положении. К шлангу подачи сжатого воздуха прикладывают силу 250 Н в течение 1 мин для устройств класса А и 1000 Н - в течение 5 мин для устройств класса В под углом к манекену, как показано на рисунке 2.
7.7.1 Предварительная подготовка
Подготовку аппарата выполняют в следующей последовательности:
a) 4 - 16 ч при температуре (60 ± 3) °С и относительной влажности не менее 95 % или при указанных изготовителем максимальных температуре и влажности в зависимости от того, какая температура выше.
b) 4 - 16 ч при температуре (минус 30 ± 3) °С или при указанном изготовителем минимальном значении в зависимости от того, какая температура ниже.
Затем аппарат должен оставаться в условиях окружающей среды (не менее 4 ч) до дальнейших испытаний.
7.7.2 Лабораторные испытания после предварительной подготовки
После подготовки в соответствии с 7.7.1 подключают аппарат к дыхательной машине при нормальной температуре и влажности воздуха лаборатории. Для аппарата устанавливают режим минимального расхода, дыхательная машина работает с расходом 50 дм3/мин (25 циклов/мин; 2,0 дм3/ход) не менее 30 мин.
По истечении этого периода необходимо проверить, выполняются ли требования 6.18.
7.7.3 Лабораторное испытание при температуре минус 15 °С
Выдерживают аппарат, предназначенный и маркированный для использования при температурах ниже 0 °С, не менее 4 ч при температуре (минус 15 ± 3) °С. Подключают аппарат к дыхательной машине. Для аппарата устанавливают режим минимального расхода, дыхательная машина работает с расходом 50 дм3/мин (25 циклов/мин; 2,0 дм3/ход) не менее 30 мин. Дыхательная машина должна находиться вне системы с контролируемой температурой.
По истечении этого периода проверяют, выполняются ли требования 6.18.
7.8.1 Выполняют испытания на устойчивость к воспламенению в соответствии с ЕН 13274-4 (метод 3).
7.8.2 Выполняют испытания на устойчивость к воспламенению в соответствии с ЕН 13274-4 (метод 2).
Подсоединяют аппарат с лицевой частью к дыхательной машине и к муляжу головы.
Для дыхательной машины устанавливают режим работы 25 циклов/мин и 2 дм3/ход.
При отключенной дыхательной машине подсоединяют средство измерения расхода воздуха к выходу клапана сброса избыточного давления и подают воздух на ту часть редуктора, где установлен клапан сброса избыточного давления. Постепенно увеличивают давление воздуха, пока расход на клапане сброса избыточного давления не составит максимальное указанное значение. При достижении этого значения включают дыхательную машину и измеряют сопротивление дыханию в соответствующей точке измерения давления.
7.10.1 Устройства класса А
Принцип метода испытаний представлен на рисунке 4.
Устанавливают на подающем конце шланга подачи сжатого воздуха минимальное номинальное давление и убеждаются, что клапан-регулятор расхода (если он установлен) открыт полностью. Присоединяют к шлангу подачи сжатого воздуха средство измерения расхода воздуха.
Устанавливают шланг подачи сжатого воздуха вокруг правого угла радиусом 10 мм и зажимают один конец шланга. Измеряют расход в шланге. Прикладывают к прямому концу шланга силу 250 Н в течение 30 с и снова измеряют расход воздуха. Вычисляют процентное уменьшение воздушного потока.
7.10.2 Устройства класса В
Принцип метода испытаний показан на рисунке 3.
Устанавливают на подающем конце шланга подачи сжатого воздуха минимальное номинальное давление и убеждаются, что клапан-регулятор расхода (если он установлен) открыт полностью. Присоединяют к шлангу подачи сжатого воздуха средство измерения расхода воздуха.
Помещают шланг по всей его длине на горизонтальную поверхность с одной петлей диаметром (300 ± 10) мм. Вытягивают концы петли по касательной к контуру в плоскости петли так, чтобы шланг выглядел как прямая линия. Можно зажать один конец петли и тянуть другой конец.
Следят за тем, как развертывается шланг, и измеряют расход в распрямленном шланге.
Вычисляют процентное уменьшение расхода воздушного потока.
7.11.1 Принцип метода испытаний
При установленном расходе воздуха в шланге подачи сжатого воздуха прикладывают указанную силу к шлангу и измеряют изменение расхода воздуха.
7.11.2 Аппарат
a) Для испытаний используют две квадратные металлические пластины размером 100×100 мм или круглые пластины диаметром 100 м и толщиной не менее 10 мм. Одна пластина закреплена, а другая перемещается под прямым углом к плоскости другой пластины. Перемещающаяся пластина должна выдерживать приложение силы от 250 до 1000 Н для воздействия на шланг подачи воздуха, вложенный между пластинами (см. рисунок 5).
b) Расходомер.
7.11.3 Процедура проведения испытаний
Помещают шланг подачи сжатого воздуха по центру между двумя пластинами и подают по шлангу воздух с минимальным номинальным значением расхода или с расходом 120 дм3/мин в зависимости от того, какое значение будет меньше. Записывают значение расхода.
Прикладывают силу 250 Н для устройств класса А или 1000 Н - для устройств класса В (которое включает воздействие, оказываемое, в том числе, самой подвижной пластиной) на подвижную пластину и снова измеряют расход воздуха. Вычисляют уменьшение расхода воздушного потока в процентах, см. 7.5.3.
При максимальном расчетном давлении (по данным производителя) в шланге подачи сжатого воздуха и полностью закрытом клапане-регуляторе расхода подают воздух в шланг подачи сжатого воздуха. Отрезок шланга подачи сжатого воздуха длиной около 100 мм помещают на горячую пластину температурой (130 ± 15) °С, а остальную часть шланга погружают в кипящую воду.
Через 15 мин снимают шланг подачи сжатого воздуха с горячей пластины и извлекают его из кипящей воды, проверяют наличие признаков повреждений и качество воздуха, проходящего через шланг.
Устанавливают минимальный расход воздуха, поступающего на аппарат, измеряют содержание диоксида углерода в соответствии с ЕН 13274-6.
7.14.1 Метод определения коэффициента подсоса
Определение коэффициента подсоса проводят в соответствии с ЕН 13274-1.
7.14.2 Методика определения коэффициента подсоса
7.14.2.1 Подготовка изделий
Устанавливают расход воздуха, соответствующий минимальному расчетному значению по данным производителя, в дыхательный аппарат. Обеспечивают постоянное измерение тест-вещества (коэффициента подсоса) в зоне дыхания.
7.14.2.2 Подбор и число испытателей
Для определения коэффициента подсоса используют два метода, а именно: метод с использованием хлорида натрия и метод с использованием гексафторида серы. Общий принцип испытаний одинаков для обоих тест-веществ. Используемое тест-вещество зависит от типа испытуемого аппарата. Выбирают испытуемое вещество в соответствии с данными, приведенными в таблице 3. Если очевидно, что аппарат сообщается с окружающей атмосферой, то испытания проводят с использованием хлорида натрия. Если непористость материала вызывает сомнения, то испытания проводят с использованием тест-вещества - гексафторида серы.
В протоколе испытаний приводят данные о пористости материала.
Таблица 3 - Тип аппарата, число испытателей и тестовое вещество при определении коэффициента подсоса
|
Тип обтюрации, использованной в аппарате |
Тестовое вещество |
Число испытателей |
|
Явно сообщается с атмосферой или непористая по результатам испытаний в соответствии с ЕН 13274-1 (раздел 7) |
Гексафторид серы или хлорид натрия |
10 10 |
|
Пористая, что установлено в процессе испытаний в соответствии с ЕН 13274-1 (раздел 7) |
Гексафторид серы |
10 |
7.14.2.3 Число образцов, упражнений и использование дополнительных вентиляторов
7.14.2.3.1 Для капюшонов/шлемов/костюмов
Проводят испытания двух комплектов аппаратов с участием пяти испытателей для каждого из аппаратов. Один комплект аппарата испытывают в состоянии после поставки для получения пяти значений коэффициента подсоса. Другой комплект испытывают после предварительной подготовки, как это приведено в 7.7.1, также для получения пяти значений коэффициента подсоса. Перед проведением испытаний на определение подсоса для обоих аппаратов проводят испытания на механическую прочность в соответствии с 7.16. Отобранные испытатели должны быть знакомы с использованием подобного оборудования. Среди испытателей должны быть мужчины и женщины.
Примечание - Методика испытаний одинакова для обоих тестовых веществ.
Испытателей информируют о том, что если они желают поправить лицевую часть в ходе испытания, то они могут это сделать. Однако если такое происходит, соответствующий раздел испытания повторяют, дав системе время на стабилизацию.
Регулируют расход в соответствии с минимальным расчетным значением по данным производителя.
Выполняют упражнения согласно ЕН 13274-1 (пункт 9.3.11, перечисления b), с) и е)) при включенном дополнительном вентиляторе, чтобы обеспечивался дополнительный поток воздуха со скоростью 2 м/с в направлении передней, боковых и задней сторон изделия по очереди.
Повторяют процедуру с другими девятью испытателями, но для упражнений по ЕН 13274-1 (пункт 9.3.11, перечисления b), с) и е)) используют дополнительный поток воздуха со скоростью 2 м/с только в одном направлении. Убеждаются, что в испытаниях обоих аппаратов участвуют по пять испытателей. Это обеспечит получение четырех комплектов результатов для каждого из направлений дополнительного потока воздуха, в соответствии с таблицей 4.
Таблица 4 - План эксперимента для упражнений по ЕН 13274-1 (пункт 9.3.11, перечисления b), с) и е))
|
Упражнение |
Номер испытателя |
||||||||||
|
1 |
2 |
3 |
4 |
5 |
6 |
7 |
8 |
9 |
10 |
||
|
Спереди |
b) |
X |
X |
X |
X |
||||||
|
с) |
X |
X |
X |
X |
|||||||
|
е) |
X |
X |
X |
X |
|||||||
|
Сбоку |
b) |
X |
X |
X |
X |
||||||
|
с) |
X |
X |
X |
X |
|||||||
|
е) |
X |
X |
X |
X |
|||||||
|
Сзади |
b) |
X |
X |
X |
X |
||||||
|
с) |
X |
X |
X |
X |
|||||||
|
е) |
X |
X |
X |
X |
|||||||
|
X - испытание проведено, измерения выполнены. |
|||||||||||
Таким образом, для 10 испытателей будут получены четыре комплекта результатов для каждого направления воздушного потока.
7.14.2.3.2 Маски
Выбирают десять испытателей (чисто выбритых, без бороды или бакенбардов) с типичными чертами лица (без существенных отклонений). Предполагается, что люди с существенными отклонениями типичных черт лица не должны использовать маски. Таких людей не привлекают к участию в испытании масок.
В протоколе испытаний описывают лица десяти испытателей (исключительно в информационных целях), указав четыре размера (в миллиметрах), которые представлены в ЕН 13274-1 (рисунок 7).
Если изделия выпускаются разных размеров, испытатели должны подобрать наиболее подходящий размер в соответствии с инструкциями производителя. При испытаниях дыхательных аппаратов, оснащенных масками, не требуется использовать дополнительные вентиляторы.
7.15.1 Аппараты
7.15.1.1 Муляж головы/туловища Шеффилда, присоединенный к всасывающему устройству переменной мощности и расходомеру (как показано на рисунках 8 - 10).
7.15.1.2 Легкий пластиковый пакет, обеспечивающий герметизацию капюшона/шлема/костюма и дыхательного шланга.
7.15.2 Методика проведения испытания
7.15.2.1 Надевают капюшон/шлем/костюм/маску на муляж, присоединенный к всасывающему устройству и расходомеру.
7.15.2.2 Подсоединяют систему подачи воздуха и индикатор слабого потока в соответствии с информацией производителя.
7.15.2.3 Полностью закрывают подающий вентиль (если установлен) и регулируют давление подачи на входе шланга подачи сжатого воздуха так, чтобы сработал индикатор слабого потока.
7.15.2.4 Герметизируют капюшон/шлем/костюм и дыхательный шланг с помощью легкого пластикового пакета.
7.15.3 Протокол испытаний
7.15.3.1 Отражают, есть ли превышение минимального расчетного значения расхода по данным производителя, измеренного в соответствии с 7.15.2.5.
7.15.3.2 Указывают средний уровень звукового давления и частоту сигнала, измеренные в соответствии с 7.15.2.6.
Испытания механической прочности проводят с использованием установленного на муляж полного комплекта капюшон/шлем/костюм. Расход воздуха, подаваемого в капюшон, должен соответствовать минимальному расчетному значению. Установку регулируют таким образом, чтобы стальной шарик диаметром 22 мм и массой приблизительно 44 г, размещенный на высоте 130 см, ударял по центру линзы (смотрового экрана).
7.17.1 Общие положения
При измерении сопротивления дыханию аппарата с использованием маски со стандартным резьбовым соединением в соответствии с ЕН 148-1 дополнительно используют устройство, показанное на рисунке 7.
7.17.2 Сопротивление при вдохе
Для аппарата устанавливают минимальный расход воздуха. Убеждаются, что часть шланга подачи сжатого воздуха скручена с внутренним диаметром 300 мм.
Измеряют сопротивление при вдохе для всего аппарата, включая маску, в соответствии с ЕН 13274-3 (метод 2, процедура Е).
7.17.3 Сопротивление при выдохе
Для аппарата устанавливают максимальный расход воздуха. Убеждаются, что шланг подачи сжатого воздуха выпрямлен, насколько это возможно.
Измеряют сопротивление при выдохе в соответствии с ЕН 13274-3 (метод 2, процедура Н).
7.18.1 Принцип метода
Аппарат надевают на манекен и измеряют уровень шума, дБА, внутри устройства.
7.18.2 Аппараты
7.18.2.1 Микрофон, который можно установить внутри капюшона/шлема/костюма.
7.18.2.2 Характеристики шумомеров описаны, например, в ЕН 61672-1 (тип 1 или 2).
7.18.2.3 Манекен (туловище), на котором устанавливают муляж Шеффилда, показан на рисунке 12.
7.18.3 Методика испытаний
7.18.3.1 Калибруют шумомер в соответствии с инструкциями производителя.
7.18.3.2 Крепят микрофоны в положениях, показанных на рисунке 13.
7.18.3.3 Устанавливают аппарат на манекен.
7.18.3.4 Подают в капюшон/шлем/костюм воздух при предельных значениях давления и расхода, указанных производителем. Измеряют уровень звукового давления в местах расположения обоих ушей. Шумомер настраивают на индикацию средневзвешенной частоты А.
7.18.3.5 Убеждаются, что уровень фона в испытательной лаборатории не менее чем на 10 дБА ниже измеренного уровня звукового давления. При необходимости настраивают уровень фона в соответствии с этим условием и повторяют измерение.
7.18.3.6 Включают в отчет данные о максимальном и минимальном уровнях шума, создаваемого аппаратом.
Крепят капюшон/шлем/костюм на муляже и прикладывают в осевом направлении силу 50 Н к клапану выдоха в течение 10 с. Типовая установка для испытания прочности клапана представлена на рисунке 6. Проверяют крепление на предмет обнаружения признаков повреждения или ослабления капюшона/шлема/костюма.
7.20.1 Принцип метода
Поток воздуха в устройстве измеряют при нулевом избыточном (атмосферном) давлении.
7.20.2 Аппарат:
a) муляж Шеффилда, оборудованный трубкой для отбора проб и втулкой для измерения сопротивления воздушному потоку;
b) побудитель расхода с требуемыми характеристиками;
c) средства регулирования побудителя расхода, например регулятор мощности двигателя или регулятор расхода воздуха;
d) расходомер;
e) микроманометр.
7.20.3 Методика проведения испытаний
7.20.3.1 Аппарат со специальным соединительным устройством
Устанавливают лицевую часть на муляж Шеффилда и регулируют побудитель расхода таким образом, чтобы давление, измеренное на муляже, было равно нулю. Воздух должен проходить от муляжа через расходомер. Аппарат должен работать с минимальным расходом (см. рисунок 8).
Записывают значение, измеренное расходомером. Записывают значение давления подачи, при котором обеспечивается минимальный расход.
7.20.3.2 Аппарат со стандартными резьбовыми соединениями (ЕН 148-1)
Присоединяют шланг подачи воздуха к испытательному оборудованию, показанному на рисунке 7.
Подают воздух через шланг подачи воздуха и испытательное оборудование на расходомер и побудитель расхода. Регулируют расход так, чтобы давление на испытательном оборудовании было равно нулю (см. рисунок 7), при этом аппарат должен работать при минимальном расходе воздуха.
Записывают значение, измеренное расходомером. Записывают значение давления подачи, при котором обеспечивается минимальный расход воздуха.
Для защитной одежды при проведении эксплуатационных пескоструйных испытаний используют методику, описанную в ЕН ИСО 14877. Испытания на воспламеняемость проводят в соответствии с ЕН 13274-4 (подпункт 7.8.1, метод 3).
Для одежды типа 3 проводят дополнительное пескоструйное испытание в соответствии с ЕН ИСО 14877 (пункт 5.4).
В соответствии с указаниями производителя устанавливают аппарат, включая лицевую часть, на муляж. Убеждаются в отсутствии помех, которые могут поддерживать или отягощать детали лицевой части.
Отсоединяют лицевую часть от аппарата и крепят свободный конец шланга, подающего воздух под лицевую часть к пружинным весам таким образом, чтобы соединение аппарата с весами находилось на одном уровне с соединением лицевой части. Еще раз убеждаются в отсутствии помех. Записывают показания пружинных весов, добавив массу лицевой части для получения значения эффективной массы, создающей нагрузку на голову.
8.1 На все части одной модели аппарата наносят маркировку, идентифицирующую тип. Маркировка должна быть четкой, различимой и долговечной. Заменяемые пользователем элементы и части аппарата, требующие особой осторожности в обращении, должны легко определяться. Для элементов, на которые нельзя корректно нанести маркировку, соответствующие данные указывают в информации, предоставляемой изготовителем.
Примечание - Информацию о маркировке элементов см. в приложении А.
8.2 Если на надежность работы элементов может влиять старение, указывают дату (хотя бы год) изготовления элементов. Для элементов, на которые нельзя нанести маркировку, соответствующие данные указывают в руководстве по эксплуатации.
8.3 Маркировка аппарата, за исключением шланга подачи сжатого воздуха, должна включать в себя:
- номер настоящего стандарта и классификацию аппарата;
- допустимую расчетную температуру хранения аппарата или соответствующую пиктограмму в соответствии с ЕН 132, если температура отличается от значений, указанных в настоящем стандарте;
- год производства (четыре цифры);
- наименование производителя, торговую марку или другие способы идентификации;
- текст «см. информацию, предоставленную производителем» или соответствующую пиктограмму;
- если это применимо, маркировку «F» для обозначения соответствия аппарата дополнительным требованиям, приведенным в 6.9.3.
8.4 Маркировка шланга подачи сжатого воздуха (минимальная) должна включать в себя:
- номер по каталогу изготовителя или идентификацию типа производителя;
- год изготовления;
- наименование изготовителя, торговую марку или другие средства идентификации, включая соответствующую маркировку «А»: «Пригоден для применения с устройствами класса А»;
- маркировку «Н» (термостойкий) для обозначения соответствия шланга требованиям 6.12.5, если это применимо;
- маркировку «S» (антистатический) для обозначения соответствия шланга требованиям 6.12.6, если это применимо;
- маркировку «F» для обозначения соответствия шланга дополнительным требованиям 6.9.3, если это применимо.
8.5 Пиктограмму абразивной обработки (см. рисунок 11) наносят на одежду, подвергаемую абразивной обдувке. Маркировка - согласно ЕН 340. Маркировка должна включать в себя обозначение типа (тип 2 или 3). Маркировка должна быть четкой, различимой и долговечной.
9.1 Ко всем аппаратам при поставке прилагают информацию изготовителя на официальном языке(ах) страны, для которой она предназначена. Эта информация позволяет квалифицированному и обученному персоналу использовать аппарат. Информация должна содержать данные об области применения и инструкции по надлежащей установке, уходу, обслуживанию и хранению. Информация должна четко и однозначно описывать допустимые комбинации элементов, используемых для устройств определенного класса.
Примечание - Инструкции по обслуживанию рекомендуют поставлять отдельно от информации, предоставляемой изготовителем.
9.2 Другая информация должна включать в себя:
- правильный выбор и подгонку лицевой части;
- возможность хранения при высоких или низких температурах;
- максимальную длину шланга подачи сжатого воздуха и максимальное число шлангов подачи сжатого воздуха, которые можно объединять для обеспечения указанной длины;
- диапазон давления подаваемого на аппарат воздуха;
- максимальное рабочее давление в шланге подачи сжатого воздуха;
- максимальный и минимальный расходы (дм3/мин) воздуха, подаваемого на аппарат;
- предупреждения о недостаточной степени защиты, которую аппарат может обеспечивать в некоторых высокотоксичных средах;
- предупреждение о том, что при очень напряженной работе пользователя давление под лицевой частью может стать отрицательным при пиковых значениях скорости вдоха;
- предупреждение о необходимости обеспечения подачи воздуха для дыхания в соответствии с ЕН 12021;
- предупреждение о том, что содержание влаги в воздухе для дыхания необходимо поддерживать в пределах, указанных в ЕН 12021, чтобы исключать замерзание аппарата;
- предупреждение о недопустимости использования кислорода или обогащенного кислородом воздуха;
- рекомендацию для пользователей о проверке достаточной производительности системы подачи воздуха (или для каждого пользователя, подключенного к системе, в соответствии с инструкциями производителя);
- текст: «В тех случаях, когда это применимо, маркировка «F» указывает, что аппарат и шланг подачи сжатого воздуха можно использовать в зонах с повышенным риском воспламенения»;
- информацию о термостойкости и/или антистатических свойствах шланга подачи сжатого воздуха, если это применимо;
- информацию о чистке и дезинфекции;
- предупреждение на устройствах, подсоединенных к мобильной системе подачи сжатого воздуха, о необходимости использования устройств (по данным производителя) с помощником в соответствии с инструкциями о предупредительных устройствах. Также должно быть включено примечание о том, что при использовании средств защиты слуха или шумопоглощающего оборудования возможно ухудшение слышимости предупредительных сигналов;
- предупреждение о недопустимости подсоединения устройства к разъемам системы трубопроводов газов, отличных от воздуха для дыхания; предупреждение о риске подсоединения к другим опасным системам на рабочем месте, например к системе Найтрокс (Nitrox);
- любую другую информацию, предоставляемую поставщиком;
- допустимое максимальное число пользователей, одновременно подключаемых к мобильной системе подачи сжатого воздуха.
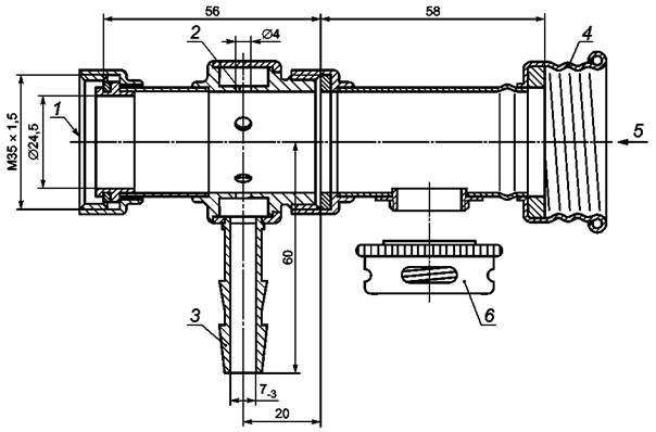
Рисунок 1 - Установка для испытания прочности соединений соединительного шланга низкого давления
Размеры в миллиметрах
Рисунок 2 - Устройство для испытания прочности пояса или ремня шланга подачи сжатого воздуха и разъемов
1 - подача воздуха; 2 - направление движения; 3 - зажимы; 4 - шланг; 5 - расходомер
Рисунок 3 - Устройство для испытания сопротивления скручиванию шланга подачи сжатого воздуха (класс В)
Размеры в миллиметрах
1 - шланг; а - направление движения; b - сечение детали X
Рисунок 4 - Устройство для испытания сопротивления скручиванию шланга подачи сжатого воздуха (класс А)
Рисунок 5 - Устройство для испытания сопротивления сжатия шланга подаче сжатого воздуха
1 - муляж головы; 2 - прижимные ленты
Рисунок 6 - Типовая установка для испытания прочности установки клапана выдоха
Размеры в миллиметрах
1 -
подсоединение дыхательной машины; 2 - пять отверстий;
3 - точка
измерений сопротивления дыханию;
4 - разъем
(ЕН 148-1); 5 - подсоединение аппарата;
6 - клапан
выхода с сопротивлением 3 мбар при синусоидальном потоке 25×2 дм /мин
Рисунок 7 - Испытательное оборудование для измерения сопротивления дыханию
1 - вход шланга для
подачи воздуха под лицевую часть; 2 - микроманометр; 3 - расходомер;
4 - регулятор
подачи; 5 - всасывающее устройство; 6 - выход; 7 - регулятор подачи
Рисунок 8 - Типовая установка для измерения расхода подачи воздуха под лицевую часть

1 -
микроманометр; 2 - неплотно прилегающая
лицевая часть;
3 - соединительный
шланг низкого давления; 4 - легкий пластиковый пакет;
5 - расходомер; 6 - регулятор подачи; 7 - выход;
8 - всасывающее устройство; 9 - регулятор подачи
Рисунок 9 -
Типовая установка для измерения расхода подачи
воздуха
при использовании неплотно прилегающей лицевой части
1 - микроманометр; 2
- соединительный шланг низкого давления; 3 - расходомер;
4 - регулятор подачи; 5 - побудитель расхода; 6 -
выход; 7 - регулятор подачи
Рисунок 10 - Типовая установка для измерения расхода подачи воздуха и
сопротивления дыханию (шлем/капюшон/костюм с шейным
обтюратором)
Рисунок 11 - Пиктограмма маркировки защитной одежды для абразивной обработки
Рисунок 12 - Муляж туловища
Размеры в миллиметрах
Рисунок 13 - Расположение микрофонов
При возможности рекомендуется выполнить маркировку следующих компонентов и узлов системы.
|
Компоненты/части (элементы) комплекта |
Маркировка деталей |
Дата производства |
Примечание |
|
Редуктор |
+ |
+ |
|
|
Перепускной клапан |
+ |
- |
|
|
Клапан-регулятор расхода |
+ |
- |
|
|
Дыхательный шланг (если установлен) |
+ |
+ |
|
|
Диск вдыхательного клапана (если установлен)1) |
+ |
+ |
|
|
Диск клапана выдоха1) |
+ |
+ |
|
|
Маска |
В соответствии со стандартом |
||
|
Пояс/ремень1) |
- |
- |
|
|
Давление среды в соединительном шланге (если установлен) |
- |
+ |
|
|
Шланг подачи сжатого воздуха |
+ |
+ |
|
|
Капюшон1) |
- |
+ |
|
|
Емкость (камера) для сжатого воздуха |
Согласно соответствующим стандартам |
||
|
Клапан емкости (камеры) сжатого воздуха |
Согласно соответствующим стандартам |
||
|
Условные обозначения: «+» - маркировка обязательна. «-» - маркировка необязательна. 1) Для элементов, на которые нельзя корректно нанести маркировку, соответствующие данные следует указывать в информации, предоставленной производителем. Компоненты частей комплекта не следует маркировать, если часть комплекта может быть идентифицирована. Компоненты, не поставляемые производителем в качестве запасных частей, не нужно маркировать, но соответствующие данные следует указать в информации, предоставленной производителем. |
|||
Таблица ДА.1