Стандарт устанавливает методы измерения: - электрического тока синусоидальной и несинусоидальной формы, который может протекать через тело человека и, - тока, протекающего по защитному проводнику. Методы, рекомендуемые для измерения тока прикосновения, основываются на изучении возможных последствий воздействия тока, протекающего через тело человека. В стандарте измерение тока, протекающего по цепям, имитирующим комплексное сопротивление тела человека, рассматривается как измерение тока прикосновения. Эти схемы необязательно в равной степени применимы в отношении тел животных. В область применения стандарта не входит подробная характеристика или описание последствий воздействия конкретных пороговых значений электрического тока на тело человека. Стандарт применим к оборудованию классов защиты от поражения электрическим током I, II и III. Методы измерения, установленные стандартом, не предназначены для использования применительно: - токам прикосновения, длительность воздействия которых составляет менее 1 с; - тока, возникающим при использовании медицинских электроприборов по МЭК 60601-1; - переменным токам при частотах не ниже 15 Гц; - переменным токам в сочетании с постоянными токами (использование единой схемы для комплексного отображения воздействия переменных токов в сочетании с постоянными не исследовалось); - токам, превышающим установленные пороговые значения, обусловливающие возникновение электрических ожогов.
| Обозначение: | ГОСТ Р МЭК 60990-2010 |
| Название рус.: | Методы измерения тока прикосновения и тока защитного проводника |
| Статус: | действует |
| Дата актуализации текста: | 05.05.2017 |
| Дата добавления в базу: | 01.09.2013 |
| Дата введения в действие: | 01.01.2012 |
| Утвержден: | 30.11.2010 Федеральное агентство по техническому регулированию и метрологии (716-ст) |
| Опубликован: | Стандартинформ (2011 г. ) |
| Ссылки для скачивания: |
ФЕДЕРАЛЬНОЕ АГЕНТСТВО
ПО ТЕХНИЧЕСКОМУ РЕГУЛИРОВАНИЮ И МЕТРОЛОГИИ
|
|
НАЦИОНАЛЬНЫЙ |
ГОСТ Р мэк |
МЕТОДЫ ИЗМЕРЕНИЯ ТОКА
ПРИКОСНОВЕНИЯ
И ТОКА ЗАЩИТНОГО ПРОВОДНИКА
IEC 60990:1999
Methods of measurement of touch current and protective conductor current
(IDT)
|
|
Москва Стандартинформ 2011 |
Цели и принципы стандартизации в Российской Федерации установлены Федеральным законом от 27 декабря 2002 г. № 184-ФЗ «О техническом регулировании», а правила применения национальных стандартов Российской Федерации - ГОСТ Р 1.0-2004 «Стандартизация в Российской Федерации. Основные положения»
Сведения о стандарте
1 ПОДГОТОВЛЕН Федеральным государственным унитарным предприятием «Всероссийский научно-исследовательский институт стандартизации и сертификации в машиностроении» (ВНИИНМАШ) с участием специалистов Московского института энергобезопасности и энергосбережения на основе собственного аутентичного перевода на русский язык стандарта, указанного в пункте 4
2 ВНЕСЕН Техническим комитетом по стандартизации ТК 331 «Низковольтная коммутационная аппаратура и комплектные устройства распределения, защиты, управления и сигнализации»
3 УТВЕРЖДЕН И ВВЕДЕН В ДЕЙСТВИЕ Приказом Федерального агентства по техническому регулированию и метрологии от 30 ноября 2010 г. № 716-ст
4 Настоящий стандарт идентичен международному стандарту МЭК 60990:1999 «Методы измерения тока прикосновения и тока защитного проводника» (IEC 60990:1999 «Methods of measurement of touch current and protective conductor current»).
При применении настоящего стандарта рекомендуется использовать вместо ссылочных международных стандартов соответствующие им национальные стандарты Российской Федерации, сведения о которых приведены в дополнительном приложении ДА
5 ВВЕДЕН ВПЕРВЫЕ
Информация об изменениях к настоящему стандарту публикуется в ежегодно издаваемом информационном указателе «Национальные стандарты», а текст изменений и поправок - в ежемесячно издаваемых указателях «Национальные стандарты». В случае пересмотра (замены) или отмены настоящего стандарта соответствующее уведомление будет опубликовано в ежемесячно издаваемом информационном указателе «Национальные стандарты». Соответствующая информация, уведомление и тексты размещаются также в информационной системе общего пользования - на официальном сайте Федерального агентства по техническому регулированию и метрологии в сети Интернет
Содержание
Настоящий стандарт подготовлен методом прямого применения международного стандарта МЭК 60990:1999 «Методы измерения тока прикосновения и тока защитного проводника» в целях нормативного обеспечения требований ГОСТ 12.1.038-82 «Система стандартов безопасности труда. Электробезопасность. Предельно допустимые значения напряжений прикосновения и токов» в части методов контроля и измерений токов прикосновения.
Международный стандарт МЭК 60990 имеет статус базовой публикации по безопасности в соответствии с Руководством МЭК 104 «Руководство по разработке стандартов по безопасности и использованию базовых и групповых стандартов МЭК по безопасности» и предназначен для использования техническими комитетами по стандартизации при разработке стандартов на электрооборудование в соответствии с принципами, изложенными в Руководстве ИСО/МЭК 51 «Руководство по включению в стандарты требований по безопасности».
Применение положений настоящего стандарта в Российской Федерации направлено на повышение безопасности при проектировании, монтаже и эксплуатации электрооборудования и электроустановок в части защиты людей и животных от поражения электрическим током.
Действующий в настоящее время межгосударственный стандарт ГОСТ 12.1.038-82 «Система стандартов безопасности труда. Электробезопасность. Предельно допустимые значения напряжений прикосновения и токов» устанавливает предельно допустимые значения напряжений и токов прикосновения в нормальном и аварийном режимах бытовых и производственных электроустановок напряжением до 1000 В с глухозаземленной (TN, ТТ) или изолированной (IT) нейтралью, а также производственных электроустановок напряжением свыше 1000 В для всех режимов нейтрали. Стандарт не устанавливает конкретных методов измерения тока прикосновения и тока защитного проводника для конкретных видов оборудования, установленного в системах электроснабжения. При наличии допустимых норм напряжений и токов прикосновения, установленных в ГОСТ 12.2.038-82, соблюдение этих норм на практике осложняется тем, что нормативно не установлены методы измерений токов прикосновения и токов в защитных проводниках низковольтных электроустановок.
В настоящее время приведенные в ГОСТ 12.1.038-82 допустимые значения напряжений прикосновения и токов следует подвергнуть пересмотру с учетом того, что в рамках МЭК приняты и действуют международные стандарты в статусе технических отчетов:
МЭК/ТО 60479-1:2005, поправка № 1:2006 «Воздействие электрического тока на людей и домашних животных. Часть 1. Общие положения» (Effects of currant on human beings and livestock- Part 1: General aspects);
МЭК/ТО 60479-2:2007 «Воздействие электрического тока на людей и домашних животных. Часть 2. Специальные аспекты» (Effects of currant on human beings and livestock - Part 2: Special aspects);
МЭК/ТО 60479-3:1998 «Воздействие электрического тока на людей и домашних животных. Часть 3. Воздействие тока, проходящего через тело домашних животных» (Effects of currant on human beings and livestock - Part 3: Effects of currents passing through the body of livestock);
МЭК/ТО 60479-4:2004 «Воздействие электрического тока на людей и домашних животных. Часть 4. Воздействие разрядов молнии на человека и домашних животных» (Effects of currant on human beings and livestock - Part 4: Effects of lightning strokes on human beings and livestock);
МЭК/ТО 60479-5:2007 «Воздействие электрического тока на людей и домашних животных. Часть 5. Пороговые значения напряжения прикосновения для психологических воздействий» (Effects of currant on human beings and livestock - Part 5: Touch voltage threshold values for physiological effects).
В вышеперечисленных стандартах в отличие от норм ГОСТ 12.1.038-82 установлены нормы, исходя из выявленных на практике различных реакций человеческого организма на воздействие электрического тока. Наиболее значительными из этих реакций являются: ощущение, физиологическая реакция, эффект неотпускания и электрический ожог, что приводит к необходимости установления различных допустимых пороговых значений, в том числе с учетом воздействия электрического тока с различными частотами.
В настоящем стандарте приводятся измерительные схемы, имитирующие протекание электрического тока для простой модели организма человека [невзвешенный ток и модели при реакциях ощущения, физиологической реакции и реакции неотпускания (взвешенный ток, характеризующийся пиковыми значениями тока прикосновения и изменяющийся в зависимости от частоты тока)]. Цепи для измерения ощутимого тока, тока физиологической реакции и тока неотпускания легко настраиваются на различные частоты и конфигурируются таким образом, чтобы могли задаваться и контролироваться определенные пороговые значения частоты и мощности.
Однако такие реакции, как электрический ожог, обусловлены среднеквадратическим действующим значением тока прикосновения и относительно мало зависят от частоты. Для оборудования, при эксплуатации которого существует вероятность возникновения электрических ожогов, требуется проведение двух отдельных измерений: первого - для определения пиковых значений, при которых могут возникать электрические удары, и второго - для определения среднеквадратических действующих значений, при которых могут возникать электрические ожоги.
В некоторых случаях требуется измерение тока защитного проводника оборудования в нормальных условиях эксплуатации. К таким случаям относятся:
- выбор защитного устройства по дифференциальному току;
- обеспечение соответствия требованиям МЭК 60364-7-707 (пункт 471.3.3).
Ток защитного проводника измеряют путем подключения амперметра с малым импедансом последовательно с защитным заземляющим проводником оборудования.
В настоящем стандарте установлены методы и порядок проведения испытаний оборудования для проверки тока прикосновения в соответствии с техническими требованиями стандартов на конкретное оборудование в процессе его эксплуатации через определенные промежутки времени его использования (периодические испытания) и после ремонта или модернизации (см. приложение К).
Технические комитеты по стандартизации при разработке стандартов по требованиям безопасности на конкретные группы электрооборудования должны установить вид возможного воздействия электрического тока на тело человека и его пороговые значения и установить схемы и условия проведения необходимых измерений, основанные на настоящем стандарте. Примерами использования положений стандарта МЭК 60990:1999, равно как и требований настоящего стандарта, являются МЭК 60335-1 (раздел 13) «Ток утечки и электрическая прочность при рабочей температуре» и ГОСТ Р МЭК 60065-2009 ( приложение D).
При использовании приложения J техническим комитетам по стандартизации при разработке стандартов по требованиям безопасности на конкретные группы электрооборудования следует учитывать дополнительные типы заземления систем распределения электроэнергии переменного тока, приведенные в МЭК 60364-1:2005.
Методы и условия испытаний и измерений, а также предъявляемые к ним требования, изложенные в настоящем стандарте, не могут применяться, если на них не будет дана специальная ссылка в стандартах на конкретное оборудование.
ГОСТ Р МЭК 60990-2010
НАЦИОНАЛЬНЫЙ СТАНДАРТ РОССИЙСКОЙ ФЕДЕРАЦИИ
МЕТОДЫ ИЗМЕРЕНИЯ ТОКА ПРИКОСНОВЕНИЯ
И ТОКА ЗАЩИТНОГО ПРОВОДНИКА
Methods of measurement of touch current and protective conductor current
Дата введения - 2012-01-01
Настоящий стандарт устанавливает методы измерения:
- электрического тока синусоидальной и несинусоидальной формы, который может протекать через тело человека, и
- тока, протекающего по защитному проводнику.
Методы, рекомендуемые для измерения тока прикосновения, основываются на изучении возможных последствий воздействия тока, протекающего через тело человека.
В настоящем стандарте измерение тока, протекающего по цепям, имитирующим комплексное сопротивление тела человека, рассматривается как измерение тока прикосновения. Эти схемы необязательно в равной степени применимы в отношении тел животных.
В область применения настоящего стандарта не входит подробная характеристика или описание последствий воздействия конкретных пороговых значений электрического тока на тело человека.
Информация, касающаяся воздействия тока, протекающего через тело человека или домашнего животного, на основе которой могут быть сделаны выводы о предельных допустимых значениях, содержится в комплексе стандартов МЭК 60479.
Настоящий стандарт применим к оборудованию классов защиты от поражения электрическим током I, II и III.
Методы измерения, установленные настоящим стандартом, не предназначены для использования применительно:
- к токам прикосновения, длительность воздействия которых составляет менее 1 с;
- к токам, возникающим при использовании медицинских электроприборов по МЭК 60601-1;
- к переменным токам при частотах ниже 15 Гц;
- к переменным токам в сочетании с постоянными токами (использование единой схемы для комплексного отображения воздействия переменных токов в сочетании с постоянными не исследовалось);
- к токам, превышающим установленные пороговые значения, обусловливающие возникновение электрических ожогов.
В настоящем стандарте использованы нормативные ссылки на следующие стандарты: МЭК 60050 (195) Международный электротехнический словарь. Глава 195. IEC 60050 (195), International Electrotechnical Vocabulary (IEV) - Chapter 195: Earthing and protection against electric shock
МЭК 60050 (604) Международный электротехнический словарь. Глава 604. Производство, передача и распределение электрической энергии. Эксплуатация
IEC 60050 (195), International Electrotechnical Vocabulary (IEV)- Chapter 604: Generation, transmission and distribution of electricity - Operation
МЭК 60309-1:1997 Вилки, штепсельные розетки и соединительные устройства промышленного назначения. Часть 1. Общие требования
IEC 60309-1:1997, Plugs, socket-outlets and couplers for industrial purposes - Part 1-General requirements
МЭК 60364-4-41:1992 Электроустановки низковольтные. Часть 4. Требования по обеспечению безопасности. Раздел 41. Защита от поражения электрическим током
IEC 60364-4-41:1992*, Electrical installations of buildings - Part 4: Protection for safety - Chapter 41: Protection against electric shock
МЭК 60364-7-707 Электроустановки низковольтные. Часть 7. Требования к специальным электроустановкам. Раздел 707. Заземление установок оборудования обработки информации
IEC 60364-7-707:1984, Electrical installations of buildings - Part 7: Requirements for special installations or locations - Section 707: Earthing requirements for the installations of data processing equipment
МЭК 60479-1:1994 Воздействие электрического тока на людей и домашних животных. Часть 1. Общие положения
IEC 60479-1:1994*, Effect of current on human beings and livestock - Part 1: General aspects
МЭК 60536:1976 Классификация электротехнического и электронного оборудования по способу защиты от поражения электрическим током
IEC 60536:1976, Classification of electrical and electronic equipment with regard to protection against electric shock
МЭК 60536-2:1992 Классификация электротехнического и электронного оборудования по способу защиты от поражения электрическим током. Часть 2. Руководство для пользователей по защите от поражения электрическим током
IEC 60536-2:1992, Classification of electrical and electronic equipment with regard to protection against electric shock - Part 2: Guidelines to requirements for protection against electric shock
МЭК 61140:1997 Защита от поражения электрическим током. Общие положения по безопасности, обеспечиваемой электрооборудованием и электроустановками в их взаимосвязи
IEC 61140:1997**, Protection against electric shock - Common aspects for installation and equipment
ИСО/МЭК 51 Руководство по включению в стандарты требований по безопасности
ISO/IEC Guide 51:1990, Guideline for the inclusion of safety aspects in standards
МЭК 104:1997 Руководство по разработке стандартов по безопасности и использованию базовых и групповых стандартов МЭК по безопасности
IEC Guide 104:1997**, Guide to the drafting of safety standards and role of committees with safety pilot functions and safety group functions
* Ссылочные стандарты заменены на МЭК 60364-4-41:2005, МЭК 60479-1:2005 соответственно. Для однозначного соблюдения требований настоящего стандарта, выраженных в датированных ссылках, рекомендуется использовать только данный ссылочный стандарт.
** Ссылочные стандарты заменены на МЭК 61140:2001, МЭК 104:2010 соответственно. Для однозначного соблюдения требований настоящего стандарта, выраженных в датированных ссылках, рекомендуется использовать только данный ссылочный стандарт.
В настоящем стандарте применены следующие термины с соответствующими определениями:
3.1 ток прикосновения: Электрический ток, проходящий через тело человека или животного при прикосновении к одной или более доступным прикосновению частям электроустановки или оборудования.
3.2 ток защитного проводника: Ток, который протекает по защитному проводнику.
3.3 оборудование: Определение согласно соответствующему стандарту на данное оборудование. Если определение в соответствующем стандарте на оборудование отсутствует, см. приложение А.
3.4 захватываемая деталь: Деталь оборудования, от которой через руку человека может передаваться ток, который способен вызывать мышечное сокращение вокруг этой детали и не дает возможность ее отпустить. Детали, которые предназначены для захвата всей ладонью, считаются захватываемыми без необходимости проводить дальнейшие исследования (см. приложение Н).
3.5 электрический ожог: Ожог кожи или органов вследствие протекания тока по их поверхности или через них.
(МЭС 604-04-18)
Требования к условиям окружающей среды на месте проведения испытаний должны соответствовать тем требованиям, которые указаны в стандарте на испытуемое оборудование. Если указаны пороговые значения тока прикосновения менее среднеквадратического действующего значения 70 мкА или пикового значения 100 мкА или если оборудование имеет большие экранирующие элементы, которые могут приводиться в действие высокочастотными сигналами, техническим комитетам по стандартизации, специализирующимся на соответствующих видах оборудования, следует руководствоваться требованиями, приведенными в приложении В.
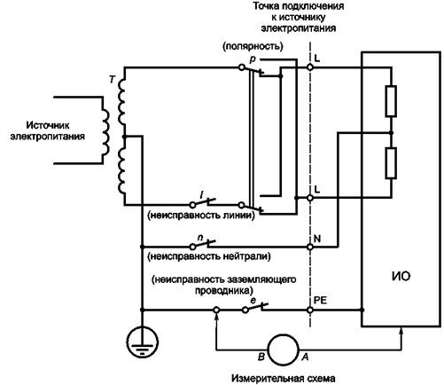
Использование изолирующего трансформатора для проведения испытаний необязательно. Однако для обеспечения максимальной безопасности следует использовать испытательный изолирующий трансформатор (T2 на рисунке 2, T на рисунках 6 и 14) и заземлять основной вывод защитного заземления испытуемого оборудования (ИО). Необходимо учитывать любую емкостную утечку в трансформаторе. В качестве альтернативы заземлению ИО вторичная обмотка испытательного трансформатора и ИО могут оставаться незаземленными (плавающими), и в этом случае учитывать емкостную утечку в испытательном трансформаторе не требуется.
Если трансформатор Т не используют, то следует устанавливать ИО на изолирующую стойку и принимать надлежащие меры безопасности ввиду того, что корпус ИО может оказаться под опасно высоким напряжением.
Оборудование, предназначенное для подключения к системе распределения электроэнергии с типом заземления ТТ или TN, должно быть испытано с минимальным напряжением между нейтралью и заземлением.
Примечание - Описание различных систем распределения электроэнергии приведено в приложении J.
Защитный проводник и заземленный нейтральный проводник для ИО должны иметь разность напряжений, составляющую менее 1 % линейного напряжения (см. рисунок 1). Локальный трансформатор, приведенный в 4.2, будет обеспечивать соблюдение этого требования.
В иных случаях, когда разность напряжений составляет не менее 1 %, могут быть использованы другие методы, которые позволяют избежать погрешностей измерения, обусловленных таким напряжением, например:
- подключение контактного электрода В измерительного прибора к нейтральному выводу ИО вместо проводника защитного заземления источника электропитания (см. 6.1.2);
- подключение заземляющего вывода ИО к нейтральному проводнику вместо проводника защитного заземления источника электропитания.
Рисунок 1 - Пример заземленной нейтрали, прямая подача электропитания
Рисунок 2 - Пример заземленной нейтрали испытательным изолирующим трансформатором
Измерения проводят по одной из схем, приведенных на рисунках 3 - 5.
Примечание - Пояснения к этим трем схемам приведены в приложениях Е, F и G.
Используют схему, показанную на рисунке 4.
Используют схему, показанную на рисунке 5, если основное внимание уделяется неотпусканию (невозможности отпускания) и если соблюдаются все перечисленные ниже условия:
Rs= 1500 0м;
RB= 500 Ом;
Cs= 0,22 мкФ
Рисунок 3 - Измерительная схема. Невзвешенный ток прикосновения
Взвешенный ток прикосновения (ощущение/физиологическая
реакция) =
(пиковое
значение)
|
Rs=1500 Ом; |
R1 = 10000 Ом; |
|
Rв = 500 Ом; |
С1 = 0,022 мкФ |
|
Cs = 0,22 мкФ; |
|
Рисунок 4 - Измерительная схема. Ток прикосновения, взвешенный для ощущения и физиологической реакции
Взвешенный ток прикосновения (неотпускание) =
(пиковое значение)
|
Rs = 1500 Oм; |
Rз = 20000 Ом; |
|
RB = 500 Ом; |
С2 = 0,0062 мкФ; |
|
Cs = 0,22 мкФ; |
С3 = 0,0091 мкФ |
|
R2= 10000 Ом; |
|
Примечание - При использовании этой схемы следует соблюдать особые условия (см. 5.1.2).
Рисунок 5 - Измерительная схема. Ток прикосновения, взвешенный для неотпускания
- ток - переменный, и в стандарте на изделие его пороговое значение составляет более 2,0 мА для среднеквадратического действующего значения или более 2,8 мА - для пикового значения;
- на оборудовании имеется захватываемая деталь;
- предполагается, что будет затруднительно отпустить руку от захватываемой детали вследствие протекания тока через ладонь и руку [подробная информация представлена в Е.3 (приложение Е) и приложении Н)].
В противном случае используют схему, показанную на рисунке 4.
Используют измерительную схему для невзвешенного тока прикосновения, приведенную на рисунке 3.
Применяют любую из вышеуказанных трех схем. Если не указано иное в стандарте на оборудование, постоянный ток без пульсаций означает ток с амплитудой пульсаций менее 10 %.
Если иное не указано в стандарте на оборудование, измерительные электроды должны представлять собой:
- пружинный зажим или
- металлическую фольгу 10 × 20 см для имитации кисти руки человека. Если используют клейкую металлическую фольгу, то клейкий материал должен быть токопроводящим.
Измерительные электроды следует подсоединять к контрольным выводам A и В измерительной схемы.
ИО должно быть полностью собрано и готово к использованию в максимальной конфигурации; в тех случаях, когда это необходимо, оно должно подключаться к внешним источникам электрического напряжения в соответствии с указаниями фирмы-изготовителя для единичного образца оборудования.
Оборудование, предназначенное для питания от нескольких источников электроэнергии, из которых в данный момент требуется только один (например, источник бесперебойного питания), следует испытывать только с одним подключенным источником.
Оборудование, требующее электропитания одновременно от двух или более источников, следует испытывать с подключением всех источников электропитания, но с не более чем одним подключением к защитному заземлению.
Примечание - Информация о системах распределения электроэнергии заземления систем приведена в приложении J.
Оборудование подключают, как это показано на рисунках 6 и 14, и в соответствующих случаях согласно требованиям 5.4.2 - 5.4.4.
Технические комитеты по стандартизации в стандартах на оборудование должны предусматривать необходимость указания фирмой-производителем тип заземления системы распределения электроэнергии (TN, ТТ, IT), для подключения к которой оборудование предназначено.
Если в стандартах на оборудование установлено, что его следует использовать только при условии подключения к определенным системам распределения электроэнергии с определенным типом заземления, то оборудование должно быть испытано только при подключении к указанным системам.
Оборудование, предназначенное для подключения только к системам распределения электроэнергии с типом заземления TN или ТТ, должно соответствовать требованиям 5.4.2. Оборудование, предназначенное для подключения к системам с типом заземления IT, должно соответствовать требованиям 5.4.3 и может также подключаться к системам TN или ТТ.
При испытаниях оборудования классов 0 и II (см. МЭК 60536-2) использование защитных проводников, показанных на рисунках 6 и 14, во внимание не принимают.
Рисунок
6 - Испытательная конфигурация. Однофазное оборудование в системе с типом
заземления TN или ТТ
с соединением звездой
Примечание - Обмотка с отводом от средней точки может быть одной из ветвей треугольника при подключении источника электропитания таким способом.
Рисунок 7
- Испытательная конфигурация. Однофазное оборудование в системе с типом
заземления TN или ТТ
с заземлением средней точки
Рисунок
8 - Испытательная конфигурация. Однофазное оборудование подключается между
фазами в системе
с типом заземления TN или ТТ с соединением звездой
Примечание - Сопротивление 1000 Ом должно быть рассчитано на отказы в системе электроснабжения.
Рисунок
9 - Испытательная конфигурация. Однофазное оборудование подключается между
фазой и нейтралью
в системе с типом заземления IT с соединением звездой
Рисунок
10 - Испытательная конфигурация. Однофазное оборудование подключается между
фазами в системе
с типом заземления IT с соединением звездой
Рисунок
11 - Испытательная конфигурация. Трехфазное оборудование в системе с типом заземления
TN или ТТ
с соединением звездой 
Примечание - Сопротивление 1000 Ом должно быть рассчитано на отказы в системе электроснабжения.
Рисунок
12 - Испытательная конфигурация. Трехфазное оборудование в системе с типом
заземления IT
с соединением звездой
Рисунок 13 - Испытательная конфигурация. Соединение треугольником без заземления
Примечание - В тех случаях, когда в состав оборудования входят компоненты как с трехфазной нагрузкой, так и однофазной с заземлением средней точки, и указывается заземляемая сторона, переключатель g должен оставаться в положении, обозначенном для заземляемой стороны.
Рисунок
14 - Испытательная конфигурация. Трехфазное оборудование в системе с
треугольным соединением
и заземлением средней точки
Трехфазное оборудование подключают к трехфазной системе распределения электроэнергии, в которой используют соединение звездой с заземленной нейтралью. Однофазное оборудование подключают между фазой и нейтралью системы распределения электроэнергии с заземленной нейтралью или в тех случаях, когда это оговаривается фирмой-изготовителем, между фазами системы распределения электроэнергии, в которой используют соединение звездой с заземлением средней точки (см. рисунки 6, 8 и 11).
Трехфазное оборудование подключают к соответствующей трехфазной системе электропитания с типом заземления IT. Однофазное оборудование подключают между фазой и нейтралью или в тех случаях, когда это оговаривается фирмой-изготовителем, между фазами (см. рисунки 9, 10, 12 и 13).
Однофазное оборудование подключают к источнику электропитания с заземлением вывода от средней точки (см. рисунки 7 и 14).
Трехфазное оборудование подключают к соответствующему источнику электропитания с соединением треугольником (см. рисунок 14).
Напряжение электропитания измеряют на питающих выводах оборудования.
Оборудование, рассчитанное на одно определенное напряжение, следует испытывать при том напряжении, на которое оно рассчитано, плюс соответствующий рабочий допуск на возможные колебания напряжения.
Оборудование, рассчитанное на определенный номинальный диапазон напряжения сети, испытывают при самом высоком напряжении этого диапазона плюс соответствующий рабочий допуск на колебания напряжения.
Рабочий допуск определяет комитет по оборудованию или фирма-производитель, если это потребуется (например, 0 %, + 6 % или + 10 %).
Оборудование, рассчитанное на различные номинальные напряжения или диапазоны напряжений, в котором используют переключатель напряжений, настраивают на самое высокое номинальное напряжение или диапазон напряжений, а затем испытывают, как описано выше. В тех случаях, когда для переключения напряжения необходима более сложная процедура, чем пересоединение обмоток трансформатора, могут потребоваться дополнительные испытания для определения наиболее неблагоприятного варианта.
Если по каким-либо причинам затруднительно испытывать оборудование при нормативном напряжении, допускается испытывать его при любом напряжении в пределах номинального диапазона для данного оборудования, а затем подсчитывают результаты испытаний.
Максимальную номинальную частоту используют для электропитания или в качестве альтернативы. При проведении испытаний измерения могут быть скорректированы расчетным путем для проведения расчета для определения оценочного значения тока при наиболее неблагоприятном варианте.
Технические комитеты по стандартизации могут исключить необходимость измерения тока прикосновения на некоторых доступных в процессе эксплуатации деталях оборудования исходя из принципа ограничения напряжения в соответствии с МЭК 60364-4-41. В этом случае проводят измерения доступного напряжения и затем, если потребуется, взвешенного и невзвешенного тока прикосновения в соответствии с требованиями настоящего пункта.
Опасность электрического ожога возникает при постоянном или высокочастотном токе (например, более 30 кГц для тока прикосновения 3,5 мА). При более низких частотах основную проблему представляют физиологическая реакция и неотпускание. В тех случаях, когда существуют опасения в связи с возможным возникновением таких реакций, измеряют невзвешенное среднеквадратическое действующее значение тока прикосновения (см. рисунок 3) в дополнение к измерению ощутимого тока или тока физиологической реакции (см. рисунок 4), или отпускающего тока (см. рисунок 5).
Для максимального увеличения значений тока при проведении измерений измерительная схема должна меняться путем подключения и отключения компонентов, являющихся частью оборудования, в пределах, допустимых инструкциями по эксплуатации и установке изделия, разработанными фирмой-производителем.
Контрольные переключатели e, д, l, п и р, приведенные на рисунках 6 и 14, должны переключаться, как это предусмотрено в 6.2, при независимом изменении условий, перечисленных в 6.1.2 и 6.2.1, для достижения максимального измеряемого значения. Не все требования этих пунктов и измерительных схем в равной мере применимы ко всякому оборудованию, и обязанностью технических комитетов по стандартизации является их правильный подбор для конкретного оборудования.
Для измерения тока прикосновения между одновременно доступными деталями, а также между доступными деталями и землей, следует использовать соответствующие измерительные электроды (см. 5.2), измерительную схему (см. 5.1) и измерительный прибор (см. G.4) в соответствии с требованиями к системам, приведенным на рисунках 6 и 14 (см. 5.4).
Электрод вывода А следует подсоединять по очереди к каждой доступной детали.
При каждом подсоединении электрода вывода А электрод вывода В должен быть сначала подсоединен к земле, а затем по очереди подсоединен к каждой из остальных доступных деталей.
Для систем электропитания с заземленным фидером электрод вывода В вместо подключения к защитному проводнику может быть подсоединен непосредственно к заземленному фидеру в месте сопряжения ИО с источником электропитания. Такое подключение допускается использовать, даже если разность напряжений между защитным проводником и заземленным фидером составляет более 1 % межфазного напряжения (см. 4.2).
Испытания проводят путем присоединения вывода А измерительной схемы по очереди к каждой незаземленной или доступной токопроводящей детали цепи при испытательных переключателях l, п и е в замкнутом состоянии.
Измерения проводят во всех возможных условиях эксплуатации изделия.
К возможным условиям эксплуатации изделия относят, например, состояние при включенном сетевом выключателе, режим ожидания, режим пуска, нагрев, состояния при различных установках органов управления, за исключением органов управления напряжением электропитания.
Однофазное оборудование следует испытывать при прямой и обратной полярностях (переключатель p).
Трехфазное оборудование следует испытывать в условиях чередования фаз, если только эксплуатация оборудования не зависит от чередования фаз.
На оборудование, не имеющее заземления, требования 6.2.2 не распространяются.
Для оборудования, имеющего защитное заземление или функциональное заземление, вывод Л измерительного прибора подсоединяют к заземляющему выводу оборудования ИО.
Измерения проводят при каждом из возможных условий возникновения неисправности, перечисленных в 6.2.2.1 - 6.2.2.8. Такие условия следует моделировать каждое в отдельности, но при этом следует учитывать все условия, которые могут возникать как последствия первоначальной неисправности. Перед моделированием условий какой-либо неисправности оборудование следует приводить в исходное состояние (т.е. не иметь неисправностей или косвенных повреждений).
В случаях, когда в трехфазном оборудовании используют сетевой балансный фильтр, ток на землю теоретически равен нулю. Однако это нормально, если при разбалансе компонентов и напряжений фильтра возникает конечное значение тока, максимальное значение которого не может быть измерено при типовых испытаниях. Более высокие нескомпенсированные токи будут возникать в результате выхода из строя конденсатора на одной фазе. Технические комитеты по стандартизации должны уделять внимание испытаниям такого оборудования, при этом должна предусматриваться замена преднамеренно выведенного из строя фильтра (удаление одного конденсатора) наряду с имитацией выхода из строя защитного заземления (см. 6.2.2.1).
Аналогичные подходы следует применять при симметричном размещении других компонентов, таких как разрядники для защиты от перенапряжений, подключаемые между фазными проводниками и землей.
Трехфазное оборудование следует испытывать в условиях установленного чередования фаз, если эксплуатация оборудования не зависит от чередования фаз.
В зависимости от типа оборудования различают несколько степеней безопасности, обеспечиваемой защитным проводником в соответствии с МЭК 61140.
Ненадежно заземляемое однофазное оборудование испытывают в условиях выхода из строя защитного заземления (переключатель е) в сочетании с прямой и обратной полярностью (переключатель р).
Ненадежно заземляемое трехфазное оборудование испытывают в условиях выхода из строя защитного заземления (переключатель е).
Если иначе не будет решено техническим комитетом по стандартизации для конкретного вида оборудования, требования 6.2.2.1 не распространяются на надежно заземляемое оборудование (примеры приведены в МЭК 60364-7-707), которое подключают к источнику электропитания посредством неразъемного соединения или с помощью вилок и розеток промышленного назначения по МЭК 60309-1.
6.2.2.2 Неисправность № 2
Однофазное оборудование испытывают при разомкнутой нейтрали (переключатель п), неповрежденном заземлении и прямой полярности, и еще раз при обратной полярности (переключатель р).
6.2.2.3 Неисправность № 3
Оборудование, предназначенное для использования в системах с типом заземления IT, испытывают в условиях, когда поочередно каждый из фазных проводов замыкается на землю (переключатель g).
6.2.2.4 Неисправность № 4
Трехфазное оборудование испытывают в условиях поочередного размыкания каждого из фазных проводов (переключатели l).
6.2.2.5 Неисправность № 5
Однофазное оборудование, предназначенное для использования в системах энергоснабжения с типом заземления IT или трехфазных системах с соединением треугольником, испытывают в условиях трехфазной системы электроснабжения, при этом поочередно каждую из фаз замыкают на землю (переключатель g) в сочетании с прямой и обратной полярностью (переключатель р) и каждый из фазных проводов поочередно размыкают (переключатели l) в сочетании с прямой и обратной полярностью (переключатель р).
6.2.2.6 Неисправность № 6
Трехфазное оборудование, предназначенное для использования в системах энергоснабжения с соединением треугольником и заземлением средней точки, испытывают в условиях системы электроснабжения с соединением треугольником путем поочередного заземления средней точки каждой из сторон треугольника (переключатель g).
Оборудование, в состав которого входят как трехфазные, так и заземляемые в средней точке цепи, которые не могут быть установлены независимо и имеют определенную требующую заземления ветвь, испытывают только при том положении переключателя д, которое соответствует заземляемой ветви.
6.2.2.7 Неисправность № 7
Технический комитет по стандартизации может предусмотреть необходимость имитации других неисправностей для конкретного вида оборудования, если существует вероятность того, что они могут привести к возрастанию тока прикосновения.
Доступные токопроводящие детали, которые могут иметь только случайное электрическое соединение с другими деталями, испытывают как при их электрическом соединении с другими деталями, так и при их отсоединении от других деталей. Более подробная информация о случайно соединяемых деталях приведена в приложении С.
Напряжения U2 и U3, показанные на рисунках 4 и 5, -это взвешенные по частоте значения U1 таким образом, что единичная эквивалентная низкой частоте индикация тока прикосновения в результате для всех частот составляет более 15 Гц. Эти взвешенные значения тока прикосновения принимают в качестве максимальных значений U2 и U3, измеряемых во время процедуры, приведенной в разделе 6, поделенных на 500 Ом. Эти максимальные значения сравнивают с пороговыми значениями для ощущения, физиологической реакции и неотпускания, которые указывают в технических характеристиках оборудования (например, пороговое значение 50 или 60 Гц).
Измерения в целях определения пороговых значений постоянного тока осуществляют аналогичным образом, но в расчет принимают значение U1, поделенное на 500 Ом (см. приложение G).
В тех случаях, когда существует опасение возникновения электрического ожога (см. 6.1), измеряют невзвешенное среднеквадратическое действующее значение или значение постоянного тока прикосновения. Оно рассчитывается исходя из среднеквадратического действующего значения напряжения U1, которое измеряется на выводах сопротивления 500 Ом измерительной схемы, показанной на рисунке 3.
Воздействие тока прикосновения также зависит от площади контакта с человеческим телом и продолжительности контакта. Соотношение между этими параметрами и определение пороговых значений тока прикосновения не входят в область распространения настоящего стандарта (см. приложение D, пункт D.3).
Примечание - Электрические ожоги возникают в результате рассеяния электроэнергии при протекании тока через сопротивление, создаваемое кожей и телом человека. Электрическое оборудование может вызывать также другие формы ожога, например, возникающие в результате образования электрической дуги или воздействия побочных продуктов электрической дуги.
Требования к измерению тока защитного проводника и измеряемые его значения не имеют прямого отношения к проблемам, решаемым в процессе измерения тока прикосновения; и по этой причине соответствующие пороговые значения и методы измерения рассматривают отдельно.
В совместно используемой системе заземления токи защитного отдельного оборудования объединяются не арифметически. Поэтому ток защитного проводника группы оборудования, заземленной единым защитным заземляющим проводником, не может надежно вычисляться исходя из знания токов защитного проводника отдельного оборудования. Следовательно, измерения, которые проводятся на отдельном оборудовании, имеют ограниченное применение, и ток защитного проводника соответствующей группы оборудования следует измерять в совместно используемом защитном заземляющем проводнике.
Ток защитного проводника измеряют после установки оборудования путем подсоединения амперметра с малым импедансом (например, 0,5 Ом) последовательно с защитным проводником. Измерение тока защитного проводника осуществляют во всех нормальных режимах эксплуатации оборудования и системы распределения электроэнергии.
Если иное не установлено стандартом на оборудование, оно определяется как имеющее единое подключение к источнику электропитания.
Оборудование может быть одиночным блоком или состоять из физически отдельных, электрически соединенных блоков (см. рисунок А.1). Источник электропитания может находиться внутри оборудования (например, источник солнечной энергии или аккумуляторная батарея).
Кабельные разводки в соответствии с положениями 5.4 также рассматриваются как часть оборудования.
Рисунок А.1 - Оборудование
Использование токопроводящей поверхности
В тех случаях, когда указываются пороговые значения тока прикосновения (с частотным взвешиванием или без) ниже среднеквадратического действующего значения 70 мкА или пикового значения 100 мкА или когда испытуемое оборудование имеет значительную емкостную связь с наружными поверхностями, которые могут приводиться в движение при высоких частотах (например, генераторы высокочастотных сигналов и приборы для измерения напряжения), целесообразно измерять ток, который передается через емкостную связь на токопроводящую поверхность, находящуюся ниже или напротив поверхности оборудования. Если оборудование испытывают таким образом, то оно должно быть расположено на токопроводящей поверхности, которая, в свою очередь, должна находиться на изолирующей поверхности (см. рисунок В.1).
Токопроводящая поверхность по площади и периметру должна быть такой же или больше, чем прилегающая к ней поверхность оборудования.
Измерения проводят согласно требованиям раздела 6, при этом токопроводящую поверхность испытывают в качестве доступной детали.
Измерения повторяют по мере того, как токопроводящая поверхность располагается рядом с другими поверхностями оборудования, которые при его последующей эксплуатации могут прилегать к какой-либо внешней токопроводящей поверхности.
Для обеспечения защиты от электромагнитных помех может потребоваться установка оборудования (в том числе токопроводящая поверхность, если ее используют) на расстоянии 0,5 м от других проводников или другого оборудования.
Рисунок В.1 - Платформа оборудования
Случайно соединяемые детали - это доступные токопроводящие детали, которые не имеют ни надежного соединения с землей или с каким-либо номинальным напряжением, ни полной изоляции от них. К случайно соединяемым деталям, например, относятся:
- двери и механизмы, устанавливаемые на механических шарнирах;
- наклейки, имеющие доступные токопроводящие поверхности (например, из металлической фольги);
- детали, которые устанавливаются на окрашенных или анодированных поверхностях;
- рычаги управления.
Одни образцы оборудования могут иметь случайно соединяемую деталь, которая эффективно заземлена или соединена с другой цепью. В других та же самая деталь может быть изолирована от земли и других цепей. Поскольку в целом неясно, в каком случае ток прикосновения будет выше, согласно требованиям 6.2.2 ток прикосновения следует измерять в обоих случаях, для того чтобы найти самый неблагоприятный из них. Тем не менее, когда преобладающая частота ниже 100 Гц, наиболее неблагоприятной, по всей вероятности, будет такая ситуация, когда случайно соединяемая часть будет соединяться с другими частями.
При разработке процедур, приведенных в настоящем стандарте, был сделан ряд допущений относительно пороговых значений тока, которые следует учитывать в своей работе комитетам по стандартизации.
Для конкретизации измерительных схем, приведенных на рисунках 3 - 5, потребуется осуществить выбор необходимых данных, установленных в МЭК 60479-1.
Значения тока, которые приведены в настоящем приложении, используют только в качестве примера. Они приведены ниже в целях оказания содействия техническим комитетам в выборе пороговых значений тока для оборудования.
D.1 Примеры пороговых значений
D.1.1 Фибрилляция желудочков сердца
Пороговое значение не установлено.
Принято исходить из того, что пороговые значения, которые выбираются для тока прикосновения, должны быть значительно ниже порога, при котором наступает фибрилляция желудочков сердца.
Среднеквадратическое действующее значение 10 мА является приблизительным средним пороговым значением отпускающего тока. Для взрослого населения в соответствии с МЭК 60479-1 среднеквадратическое действующее значение составляет 5 мА. Влияние частоты показано на рисунке F.3.
D.1.3 Физиологическая реакция
Пороговое среднеквадратическое действующее значение физиологической реакции для низких частот в соответствии с МЭК 60479-1 составляет приблизительно 0,5 мА. Между порогами физиологической реакции и неотпускания могут устанавливаться различные другие пороговые значения.
D.1.4 Порог ощущения
Ток прикосновения может ощущаться на уровне нескольких микроампер. Если ток прикосновения не является настолько высоким, чтобы вызывать непроизвольную реакцию, результатом которой могут стать вредные последствия, то его не считают опасным.
D.1.5 Ограничения к применению
Метод измерения, приведенный в настоящем стандарте, может применяться, если стандартом на конкретный вид оборудования не предусмотрено применение иного метода.
Среднеквадратическое действующее значение 0,25 мА (половинное значение порога физиологической реакции) применяют для оборудования класса II в соответствии с требованиями МЭК 60065, МЭК 60950 и МЭК 60335-1. Влияние частоты показано на рисунке F.2.
Пороговые значения ниже 0,25 мА указывают для некоторых медицинских приборов. Для таких приборов метод измерения, приведенный в настоящем стандарте, может не обеспечивать точное моделирование импеданса человеческого тела (см. Е.1, приложение Е).
D.2 Выбор пороговых значений
Следует уделять внимание точному определению различных пороговых значений для нормальных условий эксплуатации (1) и неисправных состояний (2).
В МЭК 60479-1 приводится информация о воздействии электрического тока при прохождении через человеческое тело.
Пороговые значения тока, как правило, выражаются в максимальных значениях постоянного и переменного токов при частотах до 100 Гц. Одни и те же методы измерения, приведенные в настоящем стандарте, применяют для неотпускания, физиологической реакции и некоторых других случаев. Измерительные схемы учитывают воздействие тока более высокой частоты на человеческое тело и имитируют понижение импеданса тела по мере возрастания частоты. Неотпускание, физиологическую реакцию и ощущение определяют пиковыми значениями тока, взвешенного по частоте. Для электрического ожога существенное значение имеют среднеквадратические действующие значения. В рамках настоящего стандарта влияние частоты на возникновение электрических ожогов будет незначительным, поскольку преобладающими отрицательными реакциями на воздействие тока при низких частотах будут физиологическая реакция и неотпускание.
Для большинства оборудования не потребуется устанавливать пороговые значения, при которых наступает фибрилляция желудочков сердца, поскольку физиологическая реакция и неотпускание, которые могут происходить при более низких пороговых значениях тока прикосновения, почти всегда предотвращают фибрилляцию желудочков сердца. Исключение может составлять случай, когда кратковременный импульс тока может пройти через человеческое тело (слишком короткий импульс, чтобы вызывать неотпускание). При этом реакцию на такой импульс тока опасной не считают.
Для захватываемых деталей максимальное пороговое значение постоянного тока будет тем же самым, что и для неотпускания (см. D.1.2), за исключением условий, при которых возникает электрический ожог. Однако электрический ожог становится преобладающим фактором при высоких частотах. Между порогами физиологической реакции и неотпускания может возникать второстепенная угроза безопасности, которая может быть вызвана внезапностью или непроизвольной мышечной реакцией, но при этом не предполагается, что протекание тока через тело причинит прямую травму. Такой ток может считаться допустимым в условиях одиночной неисправности (например, при повреждении заземления).
Для тока малой продолжительности иногда используется пороговое значение выше, чем для неотпускания, при условии, что оно значительно ниже порогового значения для фибрилляции желудочков сердца и электрического ожога. Для таких измерений, пока идут работы над созданием специальной модели импеданса человеческого тела при малой площади соприкосновения (перспективная разработка), используют схему, приведенную на рисунке 3.
Схему, приведенную на рисунке 4, используют для измерения пороговых значений физиологической реакции, пока идут работы над созданием специальной модели импеданса человеческого тела при малой площади соприкосновения (перспективная разработка).
Пороговые значения для тока прикосновения низкой частоты, которые приводятся в других публикациях МЭК, основаны на следующих соображениях:
- пороговые значения для физиологической реакции и более низкие пороговые значения:
необходимость избежать непроизвольной реакции, которая может привести к серьезным последствиям (например, падению с лестницы, выпусканию из рук или отбрасыванию оборудования), пороговые значения физиологической реакции, как правило, составляют: среднеквадратическое действующее - 0,5 мА, пиковое - 0,7 мА для синусоидального тока,
пороговое среднеквадратическое действующее значение ниже 0,25 мА (пиковое 0,35 мА) указывается в тех случаях, когда пользователь особо чувствителен или когда возникает экологический или биологический риск;
- пороговое значение для неотпускания:
ощущение и до некоторой степени физиологическая реакция допустимы в качестве признака первоначальной неисправности, когда применяют пороговое значение для неотпускания,
по расчетным данным пороговое среднеквадратическое действующее значение тока неотпускания для мужчин и женщин составляет 16 и 10,5 мА соответственно,
некоторые люди имеют более низкий порог неотпускания, например, сообщается, что для 99,5 % мужчин и женщин среднеквадратическое действующее значение этого порога составляет 9 и 6 мА соответственно и предполагается, что пороговые значения для детей еще ниже,
при некоторых условиях одиночной неисправности пороговые значения для неотпускания могут приравниваться к пороговым значениям для физиологического реагирования, действующим при нормальных условиях эксплуатации (когда неисправности отсутствуют).
На некоторых типах оборудования при первом включении может возникать начальный ток прикосновения, который быстро уменьшается по мере работы оборудования.
D.3 Возникновение электрических ожогов под воздействием тока прикосновения
Не существует общепринятого порогового значения тока прикосновения, которое позволило бы предотвращать возникновение электрических ожогов во всех случаях. Большое значение имеют другие параметры, такие как площадь соприкосновения с человеческим телом и продолжительность соприкосновения. Взаимосвязь между этими параметрами требует дальнейшего исследования. Безопасные пороговые значения могут быть выражены в единицах измерения этих двух или других дополнительных параметров.
Метод измерения тока прикосновения для анализа условий возникновения электрического ожога приведен в 7.2.
В некоторых случаях используют следующее пороговое значение:
- среднеквадратическое действующее значение 500 мА (в случае неисправности).
Считают, что ожоги кожи начинают возникать при плотности среднеквадратических действующих значений тока 300 - 400 мА/см2 .
Схемы, используемые для измерения тока прикосновения
Значения тока, которые приведены в настоящем приложении, используют только в качестве примера.
Схемы, показанные на рисунках 3 - 5, предназначены для измерения тока прикосновения с использованием пороговых значений, которые обычно используются техническими комитетами по стандартизации: например, от среднеквадратических действующих 100 мкА и пиковых 140 мкА до среднеквадратических действующих 10 мА и пиковых 14 мА для переменного и постоянного токов, охватывая частотный диапазон до 1 МГц для синусоидальных, различных по частоте и несинусоидальных сигналов.
Е.1 Схема сопротивления тела человека (см. рисунок 3)
Схема, приведенная на рисунке 3, предназначена:
- для имитации сопротивления тела человека;
- для осуществления измерений, показывающих уровень тока прикосновения, который может протекать через тело человека, если тело соприкасается с оборудованием подобным образом.
Rв имитирует внутреннее сопротивление тела человека.
Rsи Cs имитируют полное сопротивление кожи в двух точках соприкосновения. Значение Cs определяется исходя из площади соприкосновения кожи. Чем больше площадь соприкосновения, тем более высокие значения (например, 0,33 мкФ) могут быть использованы.
Что касается электрического ожога, значение тока прикосновения составляет среднеквадратическое действующее значение U1, разделенное на 500 Ом.
Е.2 Схема для измерения тока ощущения, физиологической реакции (и сопротивления тела человека) (см. рисунок 4)
Ощущение и физиологическая реакция тела человека - результат прохождения электрического тока через внутренние части тела.
Для точного измерения требуются расчет и компенсация изменений частоты, при которой происходят эти реакции. Схема, приведенная на рисунке 4, имитирует сопротивление тела человека и обеспечивает обработку сигналов, позволяющую следить за частотными характеристиками тела для токов, вызывающих непроизвольную реакцию. Принято исходить из того, что форма частотной характеристики для физиологической реакции и ощущения одинакова, и данные для определения частотной характеристики фактически были получены путем проведения испытаний на пороге ощущения.
Данную измерительную схему используют для пороговых значений тока вплоть до порогового значения тока неотпускания при 50 и 60 Гц и при более высоких частотах, вплоть до взвешенного эквивалента, среднеквадратическое действующее значение которого составляет приблизительно 2 мА при 50 и 60 Гц. Использование данной схемы для измерения более высоких пороговых значений ограничивается расчетом значений тока неотпускания и необходимостью взвешивания различных частот, если основное внимание уделяется определению значений, при которых возможно отпускание (см. Е.3).
Ток прикосновения переменного или постоянного тока для ощущения или физиологической реакции равен пиковому значению U2, разделенному на 500 Ом.
Е.3 Схема для измерения тока неотпускания (и сопротивления тела человека) (см. рисунок 5)
Неспособность отпустить какой-либо предмет вызывается прохождением электрического тока через внутренние части тела (например, через мышцы).
Воздействие частоты на пороге неотпускания отличается от ее воздействия на порогах ощущения и физиологической реакции или при электрическом ожоге. Это особенно касается частот свыше 1 кГц.
Схема, показанная на рисунке 5, имитирует сопротивление тела человека и обеспечивает весовую обработку сигналов, позволяющую следить за частотными характеристиками реагирования тела на токи, которые могут вызывать судорогу мышц (непроизвольное мышечное сокращение), и тем самым неспособность отпустить захватываемые части. Ток прикосновения для порога неотпускания равен пиковому значению U3, разделенному на 500 Ом.
Построение и пределы применения измерительной схемы
Схемы, приведенные на рисунках 3 - 5, предназначены для воспроизведения измеримой реакции на напряжение, которая приблизительно будет соответствовать кривым, отображенным на рисунках F.1 - F.3. Для упрощения измерительных схем допускаются незначительные отклонения на изгибах кривых между 300 Гц и 10 кГц.
В тех случаях, когда определяют пороговые значения для электрического ожога, ток прикосновения также измеряют без оценки по частоте. Критерии, устанавливаемые для электрического ожога, перевесят критерии, относящиеся к ощущению, физиологической реакции или неотпусканию, если среднеквадратическое действующее пороговое значение тока для электрического ожога будет превышено до того, как будут достигнуты взвешенные пиковые пороговые значения для ощущения, физиологической реакции и неотпускания. Это обычно происходит в диапазоне 30 - 500 кГц в зависимости от формы кривой тока и используемых пороговых значений. Если такие частоты не являются преобладающими, то измерение порогового значения для электрического ожога не требуется.
Рисунок F.1 - Частотный коэффициент для электрического ожога
Рисунок F.2 - Частотный коэффициент для ощущения и физиологической реакции
Рисунок F.3 - Частотный коэффициент для неотпускания ГОСТ Р МЭК 60990-2010
Конструкция и применение приборов для измерения тока прикосновения
G.1 Принципы подбора компонентов
Подбор компонентов для схем измерения тока прикосновения, приведенных на рисунках 3 - 5, во многом зависит от их использования, т.е. от уровней тока и частот, которые предстоит измерять, а также возможных допусков и способности работать при заданных мощностях.
Измерительные схемы и приборы, а также технические характеристики, описание которых приведено в настоящем стандарте, подходят как для синусоидальных форм кривой тока прикосновения простого оборудования, так и для несинусоидальных форм кривой тока прикосновения сложных изделий, которые могут генерировать высокие частоты. Для определенных видов оборудования может не потребоваться, чтобы измерительная схема обеспечивала измерения в полном диапазоне постоянного тока до 1 МГц или чтобы она выдерживала уровни входной мощности, которые в конкретных изделиях использовать не предполагается. Более простые измерительные схемы и приборы допускается использовать вместо специальных схем и приборов при условии, что характеристики цепи обеспечивают идентичные показания.
Эта информация предназначена для того, чтобы отметить особенности, на которые следует обратить внимание при подборе в измерительных схемах каждого из компонентов.
G.1.1 Рассеиваемая мощность и индуктивность Rs и Rв
Мощность рассеивания для резисторов Rs и Rв определяют двумя факторами. Один из них - это возможность перегрузки при постоянном токе или низких частотах. Если, например, требуется при напряжении до 240 В и частоте 50 или 60 Гц обеспечить перегрузку по мощности рассеивания, то резистор Rs должен выдерживать 21,6 Вт, и резистор Rв - 7,2 Вт в течение, как минимум, короткого промежутка времени без изменения значения. Если перегрузки во внимание не принимают, то металлопленочные резисторы мощностью рассеивания 0,5 или 1 Вт могут обеспечивать надлежащую точность наряду с низким температурным коэффициентом и длительной стабильностью.
По результатам подбора вышеуказанных компонентов на измерительную схему следует нанести надлежащие соответствующие обозначения.
Резистор Rв также может рассеивать мощность высокочастотных токов, что может оказаться необходимым для некоторых видов изделий. Например, если измеряют ток порядка 500 мА, опасный с точки зрения причинения ожога, на резисторе Rв может рассеиваться мощность 125 Вт.
Существуют мощные проволочные резисторы, которые могут выдерживать необходимую мощность рассеивания, если контролируют до допустимых уровней такие факторы, как точность и индуктивные погрешности. Мощные резисторы с классом точности + 1 % и + 5 % легкодоступны. Индуктивность измерялась на типовых проволочных резисторах, рассчитанных на 12 и 20 Вт, и составила около 30 мкН для значения сопротивления 1000 Ом. Два таких резистора, соединенных параллельно, дают сопротивление 500 Ом, а индуктивность вызывает повышение сопротивления на 2 % до 510 Ом при частоте 1 МГц. Значения резистора Rs и конденсатора Cs обусловливают высокочастотные характеристики схемы Rs/Rв. Индуктивность, равная 1 мН, которая значительно выше, чем следует ожидать, при последовательном соединении с Rs (1500 Ом) вызывает погрешность менее 0,2 % при частоте 1 МГц.
G.1.2 Конденсатор Cs
Рекомендуется использовать пленочные конденсаторы из фольги. Для конденсатора Cs может потребоваться такое номинальное напряжение, при котором он мог бы выдерживать кратковременные перегрузки, например 250 В переменного тока или 400, 600 В постоянного тока. Пленочные конденсаторы, рассчитанные на постоянный ток, обычно без сбоев будут выдерживать пиковые напряжения переменного тока, равные номинальному значению для постоянного тока, в течение коротких промежутков времени. Если индуктивность Cs и ее соединения следует контролировать для работы при частотах порядка 1 МГц, могут потребоваться два или три параллельно соединенных конденсатора для обеспечения точности и необходимых частотных характеристик.
У пленочных конденсаторов на 0,1 мкФ, рассчитанных на 250 В переменного тока, был проверен резонанс при частоте около 3 МГц. Из-за относительно высокой индуктивности таких компонентов при частоте 1 МГц могут ожидаться погрешности порядка 3 %. Уменьшения индуктивных погрешностей можно добиться путем параллельного соединения конденсаторов емкостью менее 0,1 мкФ.
G.1.3 Резисторы R1, R2 и R3
Металлопленочные резисторы будут обеспечивать надлежащие рабочие характеристики в условиях перегрузки и при частотах до 1 МГц. Если необходима способность выдерживать перегрузки (см. G.1.1), то резисторы R1 и R2 должны быть рассчитаны на 1 Вт рассеиваемой мощности.
G.1.4 Конденсаторы С1, С2 и С3
Рекомендуется использовать пленочные конденсаторы из фольги. При частотах до 1 МГц индуктивность конденсаторов этого типа, как правило, не настолько велика, чтобы вызывать значительные погрешности. Допустимое значение погрешности конденсаторов может быть скорректировано путем параллельного соединения двух или более конденсаторов меньшей емкости.
G.2 Вольтметр
Для обеспечения приемлемых рабочих характеристик в диапазоне частот до 1 МГц измерениях U1, U2 и U3, используют вольтметр, который:
- реагирует на постоянный ток - для измерения напряжения постоянного тока;
- реагирует на переменный ток - для измерения среднеквадратических действующих значений напряжения переменного тока и пиковых значений напряжения переменного тока;
- имеет входное сопротивление не менее 1 МОм;
- имеет входную емкость не более 200 пФ для измерения переменного тока;
- для измерения напряжения переменного тока работает в частотном диапазоне от 15 Гц до 1 МГц и более, если испытывается оборудование, работающее при более высоких частотах;
- имеет незаземленный или дифференциальный вход с подавлением синфазных сигналов минимум 40 дБ в диапазоне до 1 МГц.
В пункте G.1 приведена информация, касающаяся возможного использования более простых приборов для испытания отдельных видов оборудования.
G.3 Точность
Общая точность схемы измерения тока прикосновения и используемого в ней вольтметра зависит от точности характеристик резисторов и конденсаторов, в том числе их частотных характеристик, а также импеданса и точности самого вольтметра. На точность измерений влияют также емкость, создаваемая между компонентами схемы, и индуктивность выводов.
У вольтметра есть входное сопротивление и входная емкость. При постоянном токе или низких частотах вольтметр с входным сопротивлением 1 МОм, используемый в измерительных схемах, которые приведены на рисунках 4 и 5, будет показывать значения на 1 % меньше из-за деления напряжения установленным в измерительной схеме резистором на 10000 Ом. На высоких частотах входная емкость вольтметра, которая, как правило, составляет 30 пФ, при прямом параллельном соединении с выходной емкостью измерительной схемы может повлиять на индикацию таким образом, что она будет на 0,15 % ниже в схеме, показанной на рисунке 4, и на 0,33 % ниже в схеме, показанной на рисунке 5.
G.4 Калибровка и применение измерительных приборов
Рабочие характеристики собранной схемы для измерения тока прикосновения или прибора для измерения тока прикосновения могут быть определены путем сопоставления считываемых данных с расчетными идеальными значениями в пределах всего диапазона интересующих частот (см. L.1, приложение L). Рекомендуется фиксировать погрешность на каждой частоте, при которой проводят измерение, и использовать для этого достаточно большое количество образцов каждого из измерительных приборов. Следует осуществлять сбор и обработку данных о погрешностях для установления полей допусков, в пределах которых предполагается проводить будущие измерения. Может быть определена статистическая достоверность, с которой будет указываться ширина полей допусков. Если используют только один образец прибора, имеющий специфическую конструкцию, поле допуска может соответствовать фактическим данным о погрешностях.
Установление полей допусков обеспечивает при измерениях воспроизводимую индикацию того, не нарушаются ли для испытуемого оборудования пороговые значения измеряемого тока прикосновения. Это осуществляется следующим образом.
Фирмам - производителям оборудования рекомендуется прибавлять поле допусков к считываемым показаниям и сравнивать сумму с предельными значениями. Соблюдение этой рекомендации предотвратит отбраковку испытательными лабораториями оборудования, заявленного как удовлетворяющее требованиям к предельным значениям тока прикосновения. Испытательные лаборатории вычитают поле допусков из считываемых показаний и сравнивают разность с предельными значениями. Это обеспечивает гарантию того, что они не будут отбраковывать оборудование, которое фактически удовлетворяет требованиям к предельным значениям. Допуски на приборы, используемые испытательными лабораториями, должны быть достаточно низкими, для того чтобы обеспечивалось соответствие разности между предельными значениями и пороговыми значениями для нежелательного физиологического воздействия.
Если необходимо, поле допусков измерительной схемы может сделать более узким, например, путем:
- подбора элементов схемы;
- подгонки параметров элементов схемы с помощью подключения одного или нескольких элементов параллельно;
- уменьшения до минимума длины проводов и количества острых изгибов (для снижения индукции);
- уменьшения до минимума количества участков с близким расположением деталей (для уменьшения емкостей между элементами схемы).
Рекомендуется, чтобы фирмы - производители оборудования уменьшали до минимума уровни тока прикосновения. Конструирование оборудования, на котором могут возникать токи прикосновения, близкие к их пороговым значениям, считается порочной практикой из-за определенного воздействия, которое на токи прикосновения могут оказывать допуски на элементы схем, эксплуатация и старение оборудования, а также окружающая среда. Если ток прикосновения, создаваемый оборудованием, приближается к своему пороговому значению, необходимо с особой тщательностью подходить к обеспечению точности измерений и калибровке измерительных приборов. Если ток прикосновения не приближается к своему пороговому значению, то для приборов, используемых фирмой-производителем, будет допустимо более широкое поле допусков.
G.5 Учетные записи
В соответствии с ИСО 10012-1, подраздел 4.8, по каждому измерительному прибору следует вести учетные записи. В этих учетных записях должны содержаться данные, необходимые для последующей калибровки прибора в соответствии с существующей системой подтверждения метрологической пригодности измерительного оборудования (см. G.6), а также данные о каких бы то ни было ограничениях для его применения.
Примечание - Определение системы подтверждения метрологической пригодности измерительного оборудования (в настоящем стандарте сокращенно - «системы подтверждения») дается в ИСО 10012-1, подраздел 3.1.
Измерительные приборы, используемые для сертификации оборудования, должны проходить стандартную процедуру подтверждения их точности (см. L.2, приложение L).
Н.1 Захватываемая деталь
В настоящем стандарте используется понятие захватываемая деталь (см. 5.1.2 условия использования измерительной схемы, показанной на рисунке 5). В большинстве случаев принято считать, что определение, которое дается в 3.4, является достаточным, тем не менее, остается желательным, чтобы было достигнуто согласие по данному определению.
В международной практике не существует согласия по определению захватываемой детали. В целях содействия изучению данного вопроса и исключительно в качестве примера испытательное устройство приведено в Н.2.
Н.2 Пример испытательного устройства
Чтобы определить, является ли какая-либо деталь захватываемой деталью, проводят измерения ее доступности с помощью устройства для испытания захватываемой детали, показанного на рисунке Н.1. Испытательное устройство может накладываться с любой стороны и в любом месте, которое может быть захвачено ладонью. Деталь является захватываемой, если выполняются следующие условия:
- для тех деталей, которые могут быть обхвачены ладонью:
при наложении ладони имеется зазор минимум 12 мм между данной деталью и любой другой деталью,
зазор имеет ширину минимум 60 мм, чтобы обеспечивался доступ по ширине ладони,
края испытательного устройства (см. рисунок Н.1) совпадают или перекрывают края детали;
- для тех деталей, которые ладонь полностью обхватить не может, таких как большие трубки или рукоятки, устройство для испытания захватываемой детали накладывается вдоль детали так, чтобы оставалось не более 30 мм до крайней части детали независимо от того, из какого материала изготовлена эта ее крайняя часть;
- в тех случаях, когда деталь имеет плоскую поверхность, расстояние между краями плоской поверхности в направлении ее обжатия пальцами ладони не превышает 100 мм.
Н.3 Обоснование
При выработке определения и критериев захватываемой детали были приняты во внимание следующие отправные моменты.
Н.3.1 Испытательное устройство
Устройство для испытания захватываемой детали необходимо для моделирования параметров, таких как толщина ладони, минимальная длина пальцев, минимальная ширина ладони, ее минимальная ширина вместе с большим пальцем, максимальная длина ладони и суммарная длина. Испытательное устройство должно быть гибким с обеих сторон, для того чтобы можно было имитировать захват правой и левой рукой.
Испытательное устройство, показанное на рисунке Н.1, которое изготавливают из гибкого пенопласта толщиной 12 мм.
Н.3.2 Длина контакта
Считается, что для непроизвольного захвата необходимо, чтобы минимальная длина контакта, расположенного рядом с ладонью, составляла 60 мм. Человек должен быть способен оторвать руку от небольших деталей, таких как байонетный соединитель, даже если существует риск возникновения на таких деталях токов прикосновения, превышающих уровень, на котором происходит неотпускание.
Н.3.3 Охватываемое расстояние
Максимальным охватываемым расстоянием, в пределах которого может возникнуть неспособность отпустить деталь, считают длину ладони плюс 30 мм. Большие детали, которые не могут быть захвачены с силой, достаточной для того, чтобы их невозможно было отпустить, не считают захватываемыми.
Н.3.4 Плоские поверхности
Плоские поверхности, ширина которых больше ширины ладони, составляющей 100 мм, не считают захватываемыми с достаточной силой, чтобы возник эффект неотпускания.
Н.3.5 Объединение нескольких деталей
В тех случаях, когда две или несколько деталей расположены рядом, то вместе они могут считаться захватываемой деталью, если при этом соблюдаются все соответствующие критерии.
Н.3.6 Доступные детали
Доступные детали, которые не удовлетворяют критериям, предъявляемым к захватываемым деталям, считаются деталями с большими или малыми поверхностями соприкосновения. На них могут возникать несколько более высокие токи прикосновения, поскольку условия, при которых происходит эффект неотпускания, создаваться не будут.
Материал: пластина из гибкого пенопласта толщиной 12 мм
Рисунок Н.1 - Устройство для испытания захватываемой детали
Системы распределения электроэнергии переменного тока
(см. пункт 5.4)
J.1 Введение
В МЭК 60364-3 системы распределения электроэнергии переменного тока подразделяют на системы TN, ТТ и IT в зависимости от соотношения токоведущих проводников и метода заземления. В настоящем приложении разъясняется классификация этих систем по типам и символы, которые служат для их обозначения. Несколько примеров по каждому типу приведены на рисунках; могут существовать и другие конфигурации.
Пояснения к рисункам:
- чаще всего системы энергоснабжения обеспечивают питание однофазного и трехфазного оборудования, но для упрощения приводятся примеры только с однофазным оборудованием;
- источниками электропитания могут быть вторичные обмотки трансформаторов, генераторы с приводом от двигателя или системы бесперебойного питания;
- некоторые рисунки могут служить в качестве иллюстрации размещения трансформаторов внутри здания пользователя, и граница здания представляет собой грунт, на котором это здание стоит;
- некоторые системы электроснабжения заземляются в дополнительных точках, например в точках ввода электропитания в здания пользователей (см. МЭК 60364-4-41, подпункт 413.1.3.1, примечание 1).
Ниже приводятся различные типы подключения оборудования; в указанное количество проводов не входят проводники, используемые исключительно для заземления:
- однофазное, 2-проводное;
- однофазное, 3-проводное;
- двухфазное, 3-проводное;
- трехфазное, 3-проводное;
- трехфазное, 4-проводное.
Используемые символы имеют следующее значение:
- первая буква -характер заземления системы электроснабжения:
Т - означает прямое соединение одной точки с землей,
I - означает, что система изолирована от земли или одна точка соединена с землей через импеданс;
- вторая буква - заземление оборудования:
Т - означает непосредственное электрическое соединение оборудования с землей, независимо от возможного заземления какой-либо точки системы электроснабжения,
N - означает непосредственное электрическое соединение оборудования с точкой заземления системы электроснабжения (в системах переменного тока точка заземления системы электроснабжения, как правило, является нейтральной точкой или, если нейтральная точка отсутствует, фазным проводником);
- последующие буквы, если таковые есть: соотношение нейтрального и защитного проводников:
S - означает, что защитная функция обеспечивается проводником, отдельным от нейтрального или
заземляющего (или в системах переменного тока, заземленной фазы) провода,
С - означает, что функции нейтрали и защитного проводника совмещены в одном проводнике (PEN-npoводнике).
J.2 Системы электроснабжения TN
Системы электроснабжения TN заземляются напрямую. Элементы оборудования, требующие заземления, соединяются защитными заземляющими проводниками. Принято считать, что существует три типа систем электроснабжения TN:
- система электроснабжения TN-S, у которой во всей системе используется отдельный защитный проводник;
- система электроснабжения TN-C-S, у которой в части системы функции нейтрали и защитного проводника совмещены в одном проводнике;
- система электроснабжения TN-C, у которой во всей системе функции нейтрали и защитного проводника совмещены в одном проводнике.
На некоторые системы электроснабжения TN питание подается с вторичной обмотки трансформатора, имеющего заземленную среднюю точку (нейтраль). Системы, в которых имеются два фазных проводника и один нейтральный, обычно называются однофазными трехпроводными системами электроснабжения.

Нейтраль и защитные проводники разделены

Рисунок J.1 - Примеры системы энергоснабжения TN-S

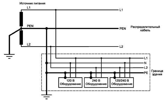
Примечание - Точка, в которой PEN-проводник разделяется на защитный заземляющий и нейтральный проводники, может находиться на входе в здание или в распределительных щитах внутри здания.
Рисунок J.2 - Пример системы энергоснабжения TN-C-S

Функции нейтрального и защитного проводников совмещены в одном проводнике (PEN)
Рисунок J.3 - Пример системы энергоснабжения TN-C

Функции защитного и нейтрального проводников совмещены
в одном проводнике (PEN). Эта система широко
используется в Северной Америке с напряжением 120/240 В.
Рисунок J.4 - Пример однофазной трехпроводной системы энергоснабжения TN-C
J.3 Системы электроснабжения ТТ
Системы электроснабжения ТТ имеют одну заземляемую напрямую точку; элементы оборудования, требующие заземления, соединяются в помещениях пользователей с заземляющими электродами, которые электрически независимы от заземляющих электродов системы распределения электроэнергии.

Заземленная нейтраль и независимое заземление оборудования
Рисунок J.5 - Пример системы электроснабжения ТТ с тремя фазами и нейтралью

Заземленная фаза и независимое заземление оборудования
Рисунок J.6 - Пример трехфазной системы электроснабжения ТТ
J.4 Системы электроснабжения IT
Системы электроснабжения IT изолируют от земли, за исключением того, что одна точка может быть соединена с землей через определенный импеданс или ограничитель напряжения. Элементы оборудования, требующие заземления, соединяют с заземляющими электродами в помещениях пользователей.

Нейтраль может быть соединена с землей через импеданс или ограничитель напряжения или изолирована от земли
Эта система широко используется, когда она изолирована от земли; на некоторых установках во Франции - с импедансом на землю и напряжением 230/400 В; в Норвегии - с ограничителем напряжения, нераспределенной нейтралью и межфазным напряжением 230 В.
Рисунок J.7 - Пример системы электроснабжения IT с тремя фазами (и нейтралью)

Система может быть изолирована от земли
Рисунок J.8 - Пример трехфазной системы электроснабжения IT
В настоящем приложении описаны методы и порядок проведения испытаний оборудования для проверки тока прикосновения в соответствии с техническими требованиями стандарта на конкретное оборудование в процессе его эксплуатации (периодические испытания) и после ремонта или модернизации.
Цель таких испытаний состоит в том, чтобы силами технических специалистов или другого специально обученного персонала с достаточной степенью точности проверить соответствующие параметры изделия, используя при этом несложные процедуры. Результаты измерений должны быть легкочитаемыми. Измерительное оборудование должно быть экономичным и простым в применении в реальных условиях эксплуатации.
Испытания проводят в соответствии с процедурами, описанными в настоящем стандарте, и измерительной схемой, показанной на рисунке 4. Испытания проходят в условиях окружающей среды, соответствующих реальным условиям эксплуатации изделия или условиям на том участке предприятия, где оно размещается.
Оборудование испытывается отдельно без каких-либо внешних подключений, за исключением электропитания от сети.
Измеряют ток прикосновения, который должен быть на уровне или ниже уровня порогового значения, определяемого стандартом на оборудование, при этом:
- если пороговое значение указано для постоянного тока, следует измерить значение постоянного тока и сравнить его с пороговым значением;
- если пороговое значение указано для пикового значения тока, следует измерить среднеквадратическое действующее значение тока, умножить результат на 1,414 и сравнить с пороговым пиковым значением;
- если пороговое значение указано как среднеквадратическое действующее значение тока, следует измерить среднеквадратическое действующее значение тока и сравнить его с пороговым среднеквадратическим действующим значением.
Проведение испытаний для измерения токов, при которых может возникнуть электрический ожог, не требуется.
Технические характеристики и калибровка
L.1 Рабочие характеристики и первоначальная калибровка схемы и приборов
Измеренные отношения входного напряжения к входному току (входной импеданс) и выходного напряжения к входному току (передаточный импеданс или реакция схемы) сравниваются с идеальными значениями, рассчитанными исходя из номинальных значений параметров элементов схем, показанных на рисунках 3 - 5. Следует проявлять осторожность при размещении элементов схемы испытательного оборудования для того, чтобы емкость между элементами схемы, индуктивность вводов и выводов и характеристики измеряющего напряжение прибора не оказывали существенного влияния на отношения напряжение/ток.
Для каждого прибора определяют поле допусков, позволяющее выявить возможную недостоверность измерений при различных частотах. Характеристики измерительной схемы, если потребуется, могут быть скорректированы в сторону сужения поля допусков.
Примечания
1 Определение недостоверности измерений дано в ИСО 10012-1, подраздел 3.7.
2 Рекомендации по корректировке рабочих характеристик измерительной схемы даны в G.4.
Рабочие характеристики измерительной схемы проверяют путем пропускания синусоидального тока переменной частоты через вход прибора, контрольные выводы А и В, показанные на рисунках 3 - 5. Входной ток I, входное напряжение U и выходные напряжения U1, U2 или U3 измеряют при различных частотах. Если выходное напряжение измеряют тем же самым вольтметром, который будут использовать во время всех измерений, проводимых на оборудовании, и который пройдет все процедуры, связанные с подтверждением его метрологической пригодности (см. L.2).
Таблица L.1 - Расчетное входное и передаточное сопротивления схемы для измерения невзвешенного тока прикосновения (см. рисунок 3)
|
Входное сопротивление U/I |
Передаточное сопротивление U/I |
|
|
20 |
1998 |
500 |
|
50 |
1990 |
500 |
|
60 |
1986 |
500 |
|
100 |
1961 |
500 |
|
200 |
1857 |
500 |
|
500 |
1434 |
500 |
|
1000 |
979 |
500 |
|
2000 |
675 |
500 |
|
5000 |
533 |
500 |
|
10000 |
509 |
500 |
|
20000 |
502 |
500 |
|
50000 |
500 |
500 |
|
100000 |
500 |
500 |
|
200000 |
500 |
500 |
|
500000 |
500 |
500 |
|
1000000 |
500 |
500 |
Таблица L.2 - Расчетное входное и передаточное сопротивления схемы для измерения тока прикосновения на уровне ощущения или физиологической реакции (см. рисунок 4)
Таблица L.3 - Расчетное входное и передаточное сопротивления схемы для измерения неотпускающего тока прикосновения (рисунок 5)
|
Входное сопротивление U/I |
Передаточное сопротивление U3/I |
|
|
20 |
1998 |
500 |
|
50 |
1990 |
499 |
|
60 |
1986 |
499 |
|
100 |
1961 |
496 |
|
200 |
1858 |
484 |
|
500 |
1434 |
427 |
|
1000 |
976 |
340 |
|
2000 |
667 |
251 |
|
5000 |
515 |
144,3 |
|
10000 |
487 |
79,9 |
|
20000 |
479 |
41,2 |
|
50000 |
477 |
16,63 |
|
100000 |
476 |
8,32 |
|
200000 |
476 |
4,16 |
|
500000 |
476 |
1,666 |
|
1000000 |
476 |
0,833 |
L.2 Калибровка в системе подтверждения метрологической пригодности измерительного оборудования
Примечание - Определение системы подтверждения метрологической пригодности измерительного оборудования (в настоящем стандарте сокращенно - «системы подтверждения») приведено в ИСО 10012-1, пункт 3.1.
Каждый прибор, используемый для определения пригодности оборудования, должен в плановом порядке калиброваться в системе подтверждения его метрологической пригодности согласно ИСО 10012-1, чтобы обеспечивалась гарантия того, что не произошло смещения его рабочих характеристик за пределы допустимых погрешностей. При этом следует исходить из поля допусков и других данных, отраженных в учетных записях при первоначальной калибровке конкретного измерительного прибора (см. L.1).
Если на каком-либо измерительном приборе произошло смещение рабочих характеристик за пределы допустимых погрешностей, измерения параметров оборудования, осуществленные с использованием данного прибора после последней калибровки, проведенной в целях подтверждения его метрологической пригодности, должны быть проверены для контроля их достоверности.
Калибровку в системе подтверждения метрологической пригодности измерительного оборудования осуществляют в два этапа.
L.2.1 Измерение входного сопротивления
Измеряют входное сопротивление постоянного тока, и его значение сопоставляется с идеальным значением (2000 Ом) и значением, определенным при первоначальной калибровке.
Примечание - Это измерение предотвращает возможность того, что в результате смещения входного импеданса одновременно со смещением реакции прибора произойдет добавление или взаимная компенсация погрешностей.
L.2.2 Измерение рабочих характеристик прибора
Входное сопротивление и выходное сопротивление (или показываемые на приборе миллиамперы) измеряют при разных частотах и отношениях при необходимости сравнивания с данными таблиц L.4 - L.6. Если это возможно, выходное сопротивление измеряют тем же самым вольтметром, который будет использован для первоначальной калибровки и во время всех измерений параметров оборудования для сертификации. Достаточно провести измерения на нескольких частотах всего интересующего диапазона частот. Входные напряжения должны быть такими, чтобы при соблюдении номинальной мощности внутренних компонентов схемы на выходе обеспечивалась индикация в диапазоне пороговых значений тока прикосновения, для чего этот измерительный прибор и предназначен.
Примечание - Таблицы L.4 - L.6 составлены на основе таблиц L.1 - L.3 соответственно, но для упрощения процедуры подтверждения метрологической пригодности представление данных позволяет избежать необходимости измерения входного тока при высоких частотах.
Таблица L.4 - Отношение выходного напряжения к входному напряжению на схеме для измерения тока прикосновения (см. рисунок 3)
|
Отношение выходного напряжения к входному напряжению |
Отношение входного напряжения к выходному напряжению |
Индикация входного напряжения на миллиампер |
|
|
20 |
0,250 |
4,00 |
2,00 |
|
50 |
0,251 |
3,98 |
1,99 |
|
60 |
0,252 |
3,97 |
1,99 |
|
100 |
0,255 |
3,92 |
1,96 |
|
200 |
0,269 |
3,72 |
1,86 |
|
500 |
0,349 |
2,87 |
1,43 |
|
1000 |
0,511 |
1,96 |
0,979 |
|
2000 |
0,740 |
1,35 |
0,675 |
|
5000 |
0,937 |
1,07 |
0,533 |
|
10000 |
0,983 |
1,02 |
0,509 |
|
20000 |
0,996 |
1,00 |
0,502 |
|
50000 |
0,999 |
1,00 |
0,500 |
|
100000 |
1,00 |
1,00 |
0,500 |
|
200000 |
1,00 |
1,00 |
0,500 |
|
500000 |
1,00 |
1,00 |
0,500 |
|
1000000 |
1,00 |
1,00 |
0,500 |
Таблица L.5 - Отношение выходного напряжения к входному напряжению на схеме для измерения тока прикосновения на уровне ощущения и физиологической реакции (см. рисунок 4)
|
Частота, Гц |
Отношение выходного напряжения к входному напряжению |
Отношение входного напряжения к выходному напряжению |
Индикация входного напряжения на миллиампер |
|
20 |
0,250 |
4,00 |
2,00 |
|
50 |
0,251 |
3,99 |
2,00 |
|
60 |
0,251 |
3,99 |
1,99 |
|
100 |
0,252 |
3,96 |
1,98 |
|
200 |
0,259 |
3,87 |
1,93 |
|
500 |
0,282 |
3,54 |
1,77 |
|
1000 |
0,292 |
3,43 |
1,71 |
|
2000 |
0,246 |
4,06 |
2,03 |
|
5000 |
0,133 |
7,50 |
3,75 |
|
10000 |
0,0708 |
14,1 |
7,06 |
|
20000 |
0,0360 |
27,8 |
13,9 |
|
50000 |
0,0145 |
69,2 |
34,6 |
|
100000 |
0,00723 |
138 |
69,1 |
|
200000 |
0,00362 |
277 |
138 |
|
500000 |
0,00145 |
691 |
346 |
|
1000000 |
0,000723 |
1382 |
691 |
Таблица L.6 - Отношение выходного напряжения к входному напряжению на схеме для измерения неотпускающего тока прикосновения (см. рисунок 5)
|
Отношение выходного напряжения к входному напряжению |
Отношение входного напряжения к выходному напряжению |
Индикация входного напряжения на миллиампер |
|
|
20 |
0,250 |
4,00 |
2,00 |
|
50 |
0,251 |
3,99 |
1,99 |
|
60 |
0,251 |
3,98 |
1,99 |
|
100 |
0,253 |
3,95 |
1,98 |
|
200 |
0,261 |
3,83 |
1,92 |
|
500 |
0,298 |
3,36 |
1,68 |
|
1000 |
0,348 |
2,87 |
1,44 |
|
2000 |
0,377 |
2,65 |
1,33 |
|
5000 |
0,280 |
3,57 |
1,79 |
|
10000 |
0,164 |
6,09 |
3,04 |
|
20000 |
0,0860 |
11,6 |
5,81 |
|
50000 |
0,0349 |
28,7 |
14,3 |
|
100000 |
0,0175 |
57,2 |
28,6 |
|
200000 |
0,00874 |
114 |
57,2 |
|
500000 |
0,00350 |
286 |
143 |
|
1000000 |
0,00175 |
572 |
286 |
Таблица ДА.1
|
Обозначение ссылочного международного стандарта |
Степень соответствия |
Обозначение и наименование соответствующего национального стандарта |
|
МЭК 60050 (195) |
IDT |
ГОСТ Р МЭК 60050-195-2005 «Заземление и защита от поражения электрическим током. Термины и определения» |
|
МЭК 60309-1:1997 |
MOD |
ГОСТ Р 51323.1-99 (МЭК 60309-1-99) «Вилки, штепсельные розетки и соединительные устройства промышленного назначения. Часть 1. Общие требования» |
|
МЭК 60364-4-41:1992 |
MOD |
ГОСТ Р 50571.3-2009 (МЭК 60364-4-41:2005) «Электроустановки низковольтные. Часть 4-41. Защита от поражения электрическим током» |
|
МЭК 60364-7-707:1984 |
MOD |
ГОСТ Р 50571.22-2000 (МЭК 60364-7-707-84 «Электроустановки зданий. Часть 7. Требования к специальным электроустановкам. Раздел 707. Заземление установок оборудования обработки информации» |
|
МЭК 60479-1:1994 |
- |
* |
|
МЭК 60536 |
- |
* |
|
МЭК 60536-2:1992 |
IDT |
ГОСТ Р МЭК 60536-2-2001 «Классификация электротехнического и электронного оборудования по способу защиты от поражения электрическим током. Часть 2. Руководство для пользователей по защите от поражения электрическим током» |
|
МЭК 61140:1997 |
IDT |
ГОСТ Р МЭК 61140-2000 «Защита от поражения электрическим током. Общие положения по безопасности, обеспечиваемой электрооборудованием и электроустановками в их взаимосвязи» |
|
Примечание - В настоящем стандарте использованы следующие условные обозначения степени соответствия стандартов: - IDT - идентичные стандарты; - MOD - модифицированные стандарты. |
||
|
МЭК 60065:1998 |
Аудио-, видео- и аналогичная электронная аппаратура. Требования безопасности (IEC 60065:1998, Audio, video and similar electronic apparatus - Safety requirements) |
|
МЭК 60335-1:1976 |
Безопасность бытовых и аналогичных электрических приборов. Часть 1. Общие требования (IEC 60335-1:1997, Safety of household and similar electrical appliances - Part 1: General requirements) |
|
МЭК 60364-3:1993 |
Электрические установки зданий. Часть 3. Оценка основных характеристик (IEC 60364-3:1993, Electrical installations of buildings - Part 3: Assessment of general characteristics) |
|
МЭК 60601-1:1988 |
Изделия медицинские электрические. Часть 1. Общие требования безопасности (IEC 60601:1988, Medical electrical equipment- Part 1: General requirements for safety) |
|
МЭК 60950:1991 |
Безопасность оборудования информационных технологий, в том числе офисного электрического оборудования (IEC 60950:1991, Safety information technology equipment, including electrical business equipment) |
|
МЭК 61010-1:1990 |
Безопасность электрических контрольно-измерительных приборов и лабораторного оборудования. Часть 1. Общие требования (IEC 61010-1:1990, Safety requirements for electrical equipment for measurement, control and laboratory use - Part 1: General requirements) |
|
ИСО 10012-1:1992 |
Требования по обеспечению качества измерительного оборудования. Часть 1. Система метрологического подтверждения пригодности для измерительного оборудования (IEC 10012-1:1992, Quality assurance requirements for measuring equipment-Part 1: Metrological confirmation system for measuring equipment) |
Ключевые слова: методы измерений; ток прикосновения; электрический ожог; захватываемая деталь; измерительное оборудование