Стандарт организации является нормативным документом, устанавливающим технические требования к ремонту турбогенераторов серий Т и ТС, направленные на обеспечение промышленной безопасности тепловых электрических станций, экологической безопасности, повышение надежности эксплуатации и качества ремонта; устанавливает технические требования, объем и методы дефектации, способы ремонта, методы контроля и испытаний к составным частям и турбогенераторам серий Т и ТС в целом в процессе ремонта и после ремонта; устанавливает объемы, методы испытаний и сравнения показателей качества отремонтированных турбогенераторов серий Т и ТС с их нормативными и доремонтными значениями; распространяется на капитальный ремонт турбогенераторов серий Т и ТС; предназначен для применения генерирующими компаниями, эксплуатирующими организациями на тепловых электростанциях, ремонтными и иными организациями, осуществляющими ремонтное обслуживание оборудования электростанций.
| Обозначение: | СТО 70238424.29.160.20.014-2009 |
| Название рус.: | Турбогенераторы единой серии Т. Групповые технические условия на капитальный ремонт. Нормы и требования |
| Статус: | организационно-ограниченного применения |
| Дата актуализации текста: | 05.05.2017 |
| Дата добавления в базу: | 01.09.2013 |
| Дата введения в действие: | 11.01.2010 |
| Утвержден: | 17.12.2009 НП ИНВЭЛ (90) |
| Опубликован: | НП ИНВЭЛ (2009 г. ) |
| Ссылки для скачивания: |
Некоммерческое Партнерство «Инновации в электроэнергетике»
|
|
СТАНДАРТ |
СТО |
ТУРБОГЕНЕРАТОРЫ ЕДИНОЙ СЕРИИ Т
Групповые
технические условия на капитальный ремонт
Нормы и требования
Дата введения - 2010-01-11
Москва
2010
Цели и принципы стандартизации в Российской Федерации установлены Федеральным законом от 27 декабря 2002 г. «О техническом регулировании», а правила разработки и применения стандартов организации - ГОСТ Р 1.4-2004 «Стандартизация в Российской Федерации. Стандарты организаций. Общие положения»
Настоящий стандарт устанавливает технические требования к ремонту турбогенераторов серии Т и требования к качеству отремонтированных турбогенераторов.
Стандарт разработан в соответствии с требованиями к стандартам организаций электроэнергетики «Технические условия на капитальный ремонт оборудования электростанций. Нормы и требования», установленными в разделе 7 СТО «Тепловые и гидравлические электростанции. Методика оценки качества ремонта энергетического оборудования».
Применение настоящего стандарта, совместно с другими стандартами ОАО РАО «ЕЭС России» и НП «ИНВЭЛ» позволит обеспечить выполнение обязательных требований, установленных в технических регламентах по безопасности технических систем, установок и оборудования электрических станций.
1 РАЗРАБОТАН Закрытым акционерным обществом «Центральное конструкторское бюро Энергоремонт» (ЗАО «ЦКБ Энергоремонт»)
2. ВНЕСЕН Комиссией по техническому регулированию НП «ИНВЭЛ»
3. УТВЕРЖДЕН И ВВЕДЕН В ДЕЙСТВИЕ Приказом НП «ИНВЭЛ» от 17.12.2009 № 90
4. ВВЕДЕН ВПЕРВЫЕ
СОДЕРЖАНИЕ
СТАНДАРТ ОРГАНИЗАЦИИ НП «ИНВЭЛ»
Турбогенераторы единой серии Т
Групповые технические условия на капитальный ремонт
Нормы и требования
Дата введения - 2010-01-11
Настоящий стандарт организации:
- является нормативным документом, устанавливающим технические требования к ремонту турбогенераторов серий Т и ТС, направленные на обеспечение промышленной безопасности тепловых электрических станций, экологической безопасности, повышение надежности эксплуатации и качества ремонта;
- устанавливает технические требования, объем и методы дефектации, способы ремонта, методы контроля и испытаний к составным частям и турбогенераторам серий Т и ТС в целом в процессе ремонта и после ремонта;
- устанавливает объемы, методы испытаний и сравнения показателей качества отремонтированных турбогенераторов серий Т и ТС с их нормативными и доремонтными значениями;
- распространяется на капитальный ремонт турбогенераторов серий Т и ТС;
- предназначен для применения генерирующими компаниями, эксплуатирующими организациями на тепловых электростанциях, ремонтными и иными организациями, осуществляющими ремонтное обслуживание оборудования электростанций.
В настоящем Стандарте использованы нормативные ссылки на следующие Стандарты и другие нормативные документы:
Федеральный закон РФ от 27.12.2002 № 184-ФЗ «О техническом регулировании»
ГОСТ 27.002-89 Надежность в технике. Основные понятия. Термины и определения
ГОСТ 10-88 Нутромеры микрометрические. Технические условия
ГОСТ 166-89 Штангенциркули. Технические условия
ГОСТ 427-75 Линейки измерительные металлические. Технические требования
ГОСТ 533-2000 Машины электрические вращающиеся. Турбогенераторы. Общие технические условия
ГОСТ 577-68 Индикаторы часового типа с ценой деления 0,01 мм. Технические условия
ГОСТ 6507-90 Микрометры. Технические условия
ГОСТ 8026-92 Линейки поверочные. Технические условия
ГОСТ 8925-68 Щупы плоские для станочных приспособлений. Конструкция
ГОСТ 9378-93 Образцы шероховатости поверхности (сравнения). Общие технические условия
ГОСТ 9467-75 Электроды покрытые металлические для ручной дуговой сварки конструкционных и теплоустойчивых сталей. Типы
ГОСТ 15467-79 Управление качеством продукции. Основные понятия. Термины и определения
ГОСТ 16504-81 Система государственных испытаний продукции. Испытания и контроль качества продукции. Основные термины и определения
ГОСТ 18322-78 Система технического обслуживания и ремонта техники. Термины и определения
ГОСТ 25706-83 Лупы. Типы, основные параметры. Общие технические требования
СТО утвержден Приказом ОАО РАО «ЕЭС России» № 275 от 23.04.2007 Тепловые и гидравлические станции. Методики оценки качества ремонта энергетического оборудования
СТО 17330282.27.010.001-2008 Электроэнергетика. Термины и определения
СТО 70238424.29.240.01.008-2009 Электрические сети. Ремонт и техническое обслуживание оборудования, зданий и сооружений. Организация производственных процессов. Нормы и требования
СТО 17230282.27.100.006-2008 Ремонт и техническое обслуживание оборудования, зданий и сооружений электрических станций и сетей. Условия выполнения работ подрядными организациями. Нормы и требования
СТО 70238424.29.160.20.001-2009 Турбогенераторы. Общие технические условия на капитальный ремонт. Нормы и требования
Примечание - При пользовании настоящим стандартом целесообразно проверить действие ссылочных стандартов и классификаторов в информационной системе общего пользования - на официальном сайте национального органа Российской Федерации по стандартизации в сети Интернет или по ежегодно издаваемому информационному указателю «Национальные стандарты», который опубликован по состоянию на 1 января текущего года, и по соответствующим ежемесячно издаваемым информационным указателям, опубликованным в текущем году. Если ссылочный документ заменен (изменен), то при пользовании настоящим стандартом следует руководствоваться замененным (измененным) документом. Если ссылочный документ отменен без замены, то положение, в котором дана ссылка на него, применяется в части, не затрагивающей эту ссылку.
3.1 Термины и определения
В настоящем стандарте применены термины по Федеральному закону РФ от 27.12.2002 № 184-ФЗ «О техническом регулировании», ГОСТ 15467, ГОСТ 16504, ГОСТ 18322, ГОСТ 27.002, СТО 17330282.27.010.001-2008, а также следующие термины с соответствующими определениями:
3.1.1 требование: Норма, правила, совокупность условий, установленных в документе (нормативной и технической документации, чертеже, стандарте), которым должны соответствовать изделие или процесс.
3.1.2 характеристика: Отличительное свойство. В данном контексте характеристики физические (механические, электрические, химические) и функциональные (производительность, мощность ...).
3.1.3 характеристика качества: Присущая характеристика продукции, процесса или системы, вытекающая из требований.
3.1.4 качество отремонтированного оборудования: Степень соответствия совокупности присущих оборудованию характеристик качества, полученных в результате выполнения его ремонта, требованиям, установленным в нормативной и технической документации.
3.1.5 качество ремонта оборудования: Степень выполнения требований, установленных в нормативной и технической документации, при реализации комплекса операций по восстановлению исправности или работоспособности оборудования или его составных частей.
3.1.6 оценка качества ремонта оборудования: Установление степени соответствия результатов, полученных при освидетельствовании, дефектации, контроле и испытаниях после устранения дефектов, характеристикам качества оборудования, установленным в нормативной и технической документации.
3.1.7 технические условия на капитальный ремонт: Нормативный документ, содержащий требования к дефектации изделия и его составных частей, способы ремонта для устранения дефектов, технические требования, значения показателей и нормы качества, которым должно удовлетворять изделие после капитального ремонта, требования к контролю и испытаниям оборудования в процессе ремонта и после ремонта.
3.1.8 эксплуатирующая организация: Организация, имеющая в собственности, хозяйственном ведении имущество электростанции, осуществляющая в отношении этого имущества права и обязанности, необходимые для ведения деятельности по безопасному производству электрической и тепловой энергии в соответствии с действующим законодательством.
3.1.9 оценка соответствия: Прямое или косвенное определение соблюдения требований к объекту оценки соответствия.
3.2 Обозначения и сокращения
ВК - визуальный контроль;
ИК - измерительный контроль
Карта - карта дефектации и ремонта;
КИ - контрольные испытания;
НК - неразрушающий контроль;
НТД - нормативная и техническая документация;
УЗД - ультразвуковая дефектоскопия;
ЦД - цветная дефектоскопия;
Ra - среднее арифметическое отклонение профиля;
Rz - высота неровностей профиля по десяти точкам.
4.1 Подготовка турбогенераторов к ремонту, вывод в ремонт, производство ремонтных работ и приемка из ремонта должны производиться в соответствии с нормами и требованиями СТО 70238424.29.240.01.008-2009.
Требования к ремонтному персоналу, гарантиям производителя работ по ремонту установлены в СТО 17330282.27.100.006-2008.
4.2 Выполнение требований настоящего стандарта определяет оценку качества отремонтированных турбогенераторов. Порядок проведения оценки качества ремонта турбогенераторов устанавливается в соответствии с СТО, утвержденным Приказом ОАО РАО «ЕЭС России» № 275 от 23.04.2007.
4.3 Настоящий стандарт применяется совместно с СТО 70238424.29.160.20.001-2009.
4.4 Требования настоящего стандарта, кроме капитального, могут быть использованы при среднем и текущем ремонтах турбогенераторов. При этом учитываются следующие особенности их применения:
- требования к составным частям и турбогенератору в целом в процессе среднего или текущего ремонта применяются в соответствии с выполняемой номенклатурой и объемом ремонтных работ;
- требования к объемам и методам испытаний и сравнению показателей качества отремонтированного турбогенератора с их нормативными и доремонтными значениями при среднем ремонте применяются в полном объеме;
- требования к объемам и методам испытаний и сравнению показателей качества отремонтированного турбогенератора с их нормативными и доремонтными значениями при текущем ремонте применяются в объеме, определяемом техническим руководителем электростанции и достаточным для установления работоспособности турбогенератора.
4.5 При расхождении требований настоящего стандарта с требованиями других НТД, выпущенных до утверждения настоящего стандарта, необходимо руководствоваться требованиями настоящего стандарта.
При внесении предприятием-изготовителем изменений в конструкторскую документацию на турбогенераторы и при выпуске нормативных документов органов государственного надзора, которые повлекут за собой изменение требований к отремонтированным составным частям и турбогенератору в целом, следует руководствоваться вновь установленными требованиями вышеуказанных документов до внесения соответствующих изменений в настоящий стандарт.
4.6 Требования настоящего стандарта распространяются на капитальный ремонт турбогенераторов в течение полного срока службы, установленного в НТД на поставку турбогенераторов или в других нормативных документах. При продлении в установленном порядке продолжительности эксплуатации турбогенераторов сверх полного срока службы, требования стандарта на ремонт применяются в разрешенный период эксплуатации с учетом требований и выводов, содержащихся в документах на продление продолжительности эксплуатации.
5.1 Группа турбогенераторов серий Т и ТС включает турбогенераторы Т-25-2Г, Т-25-2П, Т-32, ТС-20 и ТС- 63-2.
Общий вид турбогенераторов серий Т и ТС, приведены на рис 5.1а и 5.1б. Основные характеристики и параметры турбогенераторов серий Т и ТС приведены в таблице 5.1.
5.2 Стандарт разработан на основе конструкторской, нормативной и технической документации завода-изготовителя.
1 - статор; 2 - щит наружный;
3 - щит внутренний; 4 - ротор; 5 - уплотнение;
6 - подшипник изолированный; 7 - возбудитель; 8 - воздухоохладитель; 9 -
вывода.
Рисунок 5.1а - Общий вид турбогенератора Т-25-2
1 - статор; 2 - щит наружный;
3 - щит внутренний; 4 - ротор; 5 - уплотнение;
6 - подшипник изолированный; 7 - траверса; 8 - воздухоохладитель; 9 - вывода.
Рисунок 5.1б - Общий вид турбогенератора Т-32
Таблица 5.1 Основные характеристики и параметры генераторов серий Т и ТС
|
Т-32 |
ТС-20 |
Т-25-2Г |
Т-25-2П |
ТС-63-2 |
|
|
Полная мощность, кВ∙А |
4000 |
25000 |
31250 |
31250 |
78750 |
|
Активная мощность, кВт |
32000 |
20000 |
25000 |
25000 |
63000 |
|
Коэффициент мощности |
0,8 |
0,8 |
0,8 |
0,8 |
0,8 |
|
Напряжение, В |
6300/10500 |
6300/10500 |
6300/10500 |
6300/10500 |
6300/10500 |
|
Ток статора, А |
3666/2199 |
2291/1375 |
2864/1718 |
2864/1718 |
7217/4330 |
|
Частота, Гц |
50 |
50 |
50 |
50 |
50 |
|
Частота вращения, об/мин |
3000 |
3000 |
3000 |
3000 |
3000 |
|
Коэффициент полезного действия, % |
98,4 |
97,7 |
98,0 |
98,0 |
98,4 |
|
Статическая перегружаемость, о.е. |
1,87/181 |
1,878/1,802 |
1,87/1,8 |
1,87/1,8 |
1,87/1,8 |
|
Маховой момент ротора, т∙м2 |
- |
4 |
- |
- |
- |
|
Максимальный вращающий момент при коротком замыкании в обмотке статора |
- |
15,1/14,25 |
15,52 |
15,52 |
- |
|
Критическая частота вращения, об/мин |
- |
1600/4200 |
- |
- |
- |
|
Соединение фаз обмотки статора |
|
|
|
|
|
|
Число выводов обмотки статора |
6 |
6 |
6 |
6 |
9 |
|
Допустимая минимальная температура охлаждающего воздуха, °С |
22 |
22 |
22 |
22 |
22 |
|
Наибольшее эксплуатационное избыточное давление холодной воды в газоохладителях, кгс/см2 |
4 |
4 |
4 |
4 |
4 |
|
Температура холодной воды |
|||||
|
номинальная, °С |
33 |
33 |
33 |
33 |
33 |
|
наименьшая, °С |
15 |
15 |
15 |
15 |
15 |
|
Номинальный расход воды через газоохладители, м3/час |
150 |
230 |
250 |
250 |
250 |
5.3 Турбогенераторы серий Т и ТС предназначены для выработки электроэнергии при непосредственном соединении с паровыми или газовыми турбинами (турбогенераторы Т-25-2Г, ТС-20) турбинами на тепловой электростанции.
Форма исполнения турбогенераторов серий Т и ТС - горизонтальные на фундаментной плите с одним стояковым подшипником (с двумя стояковыми подшипниками для турбогенератора Т-25-2Г и ТС-20). Опорные подшипники со стороны турбины поставляются предприятием-изготовителем турбины.
Подшипники генераторов со стороны возбудителя стоякового типа имеют шаровой самоустанавливающийся вкладыш. Смазка подшипника - принудительная. Масло подается под избыточным давлением из напорного маслопровода турбины.
Турбогенераторы выполнены с косвенным, воздушным охлаждением обмотки и сердечника статора.
Циркуляция охлаждающего воздуха внутри корпуса осуществляется с помощью вентиляторов на валу генератора по замкнутому циклу с охлаждением его во встроенных воздухоохладителях. Циркуляция воды в охладителях осуществляется насосами по замкнутому контуру, включающему водо-водяной теплообменник. Генераторы также допускают работу и без водо-водного теплообменника по проточной схеме водоснабжения с устройством рециркуляции. Для осушки охлаждающего воздуха может использоваться холодильная установка.
Корпус статора сварной, неразъемный и разделен на отсеки для осуществления замкнутой двухструйной, вентиляции внутри корпуса.
Для охлаждения воздуха на верхних наклонных стенках корпуса установлены два продольно-горизонтальных или вертикальных воздухоохладителя.
Сердечник статора собран на клиньях из сегментов электротехнической стали толщиной 0,5 мм, покрытых изолирующим лаком, и имеет радиальные каналы для перемещения охлаждающего воздуха.
Клинья сердечника статора приварены к поперечным кольцам корпуса статора.
В пазы сердечника статора уложены стержни статорной обмотки. Изоляция стержней - термореактивная. Начала и концы обмотки выведены наружу через 6 выводов (кроме ТС-63-2, где 9 выводов).
Обмотки статоров в пазах закреплены клиньями. Лобовые части обмотки - корзиночного типа.
С торцов корпус закрыт внутренними и наружными щитами. Внутренние щиты разделяют зоны повышенного и пониженного давления охлаждающего воздуха. Для предотвращения попадания масла и пыли внутрь статора на наружных щитах установлены уплотнения с поддувом воздуха из зоны высокого давления, а для восполнения утечки воздуха через неплотности статора - фильтры. Для предотвращения конденсации паров воды, увлажнения изоляции и уменьшения коррозии во время остановки генератора в статоре установлены 4 съемных блока электронагревателей с питанием от источника переменного тока 220 В общей мощностью 4 кВт. Внутри корпуса, в зоне лобовых частей, установлены датчики, сигнализирующие о наличии воды в корпусе.
В нижней части корпуса сбоку установлены фланцы для присоединения холодильной установки, которые также как и дренажный трубопровод выведены наружу через фундаментную плиту.
Ротора турбогенераторов изготовлены из цельных поковок специальной стали, обеспечивающей механическую прочность при всех режимах работы генератора. Обмотки роторов выполнены из полосовой меди с присадкой серебра.
Роторные бандажные кольца консольного типа, имеют посадку на заточку бочки ротора и выполнены из специальной немагнитной стали.
Лобовые части обмотки ротора изолированы от бандажных и упорных колец стеклотекстолитом.
Для облегчения условий работы генераторов в асинхронных и несимметричных режимах в роторах применена двухслойная демпферная обмотка, представляющая собой короткозамкнутые катушки, изготовленные из медной ленты и уложенные в пазах ротора под клин и под бандажные кольца в лобовых частях.
Генераторы имеет двухструйную воздушную систему вентиляции по замкнутому циклу. Холодный воздух нагнетается двумя центробежными вентиляторами, расположенными на виду ротора генератора, из межщитового пространства в зону лобовых частей статора. В половину подпазовых каналов (через один) с каждой стороны ротора из межщитового пространства воздух попадает через окна в кольце вентилятора и, пройдя по всей длине ротора по подпазовым каналам, выходит в зону лобовых частей статора через радиальные каналы в упорном кольце. Через вторую половину подпазовых каналов воздух движется встречно (за исключением некоторых турбогенераторов типа ТС-20, у которых подпазовые каналы не выполняются, а поступающий под лобовые части обмотки и охлаждающий их воздух выбрасывается через шлицы в большем зубе в воздушный зазор между ротором и расточкой статора).
В зоне лобовых частей воздух, прошедший через систему подпазовых каналов роторов и центробежный вентилятор, смешивается и далее движется по двум струям. Одна струя воздуха, сняв потери с лобовых частей обмотки статора через воздуховоды в корпусе, попадает в выгороженную стенками среднюю часть сердечника статора, далее направляется через вентиляционные каналы к воздушному зазору и возвращается к стенке статора по вентиляционным каналам крайних отсеков.
Другая струя воздуха из зоны лобовых частей проходит через зазор между ротором и статором и по вентиляционным каналам крайних отсеков выходит за пределы железа статора.
Нагретый воздух из крайних отсеков далее охлаждается в двух воздухоохладителях и направляется вновь в межщитовое пространство, замыкая цикл движения.
Контроль теплового состояния обмотки и сердечника статора, а также охлаждающей среды производится термопреобразователями сопротивления.
Другие некоторые конструктивные особенности турбогенераторов серий Т и ТС приведены в таблице 5.2.
Таблица 5.2 Конструктивные особенности генераторов серий Т и ТС
|
ТС-20 |
ТС-63-2 |
Т-25-2П Т-25-2Г |
Т-32 |
|
|
Вентиляторы |
а) Центробежные |
Осевые |
Осевые |
Центробежные |
|
б) Осевые |
||||
|
Контактные кольца |
а) есть |
есть |
нет |
есть/нет |
|
б) есть/нет |
5.4 Наибольшие допустимые температуры отдельных узлов и охлаждающего газа турбогенераторов серий Т и ТС при номинальных давлении и температуре охлаждающих сред приведены в таблице 5.3.
Таблица 5.3 Наибольшие допустимые температуры
|
Наибольшая температура, °С, измеренная |
||
|
по сопротивлению обмотки |
термометрами сопротивления |
|
|
Обмотка статора |
- |
130 |
|
Обмотка ротора |
145 |
- |
|
Сердечник статора |
- |
130 |
|
Холодный газ после воздухоохладителя |
- |
не более 55 |
5.5 Конструктивные характеристики, рабочие параметры и назначение турбогенераторов должны соответствовать ГОСТ 533.
Требования к метрологическому обеспечению ремонта, маркировке составных частей, крепежным и уплотнительным деталям, контактным соединениям, материалам и запасным частям, применяемым при ремонте, определяются в соответствии с требованиями раздела 6 СТО 70238424.29.160.20.001-2009.
Перечень рекомендуемых средств измерения приведен в приложении А.
Допускается замена контрольного инструмента на инструмент класса точности не ниже класса точности инструмента, указанного в приложении А.
Требования к составным частям, установленные в настоящем Стандарте, должны применяться совместно с соответствующими требованиями к составным частям СТО 70238424.29.160.20.001-2009 и СО 34.45-51.300-97 [1].
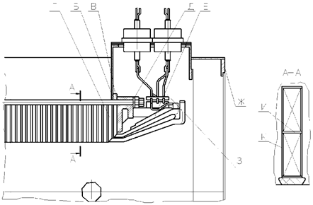
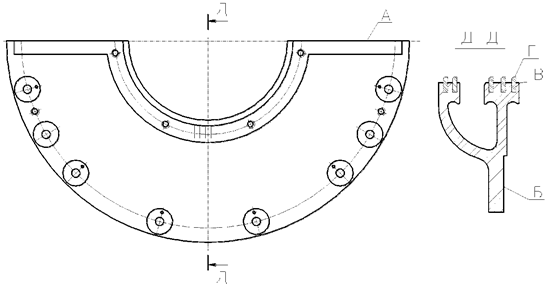
Дефектацию и ремонт составных частей статора необходимо производить в соответствии с картами 1 - 3.
Статор поз. 1 рисунка 5.1
Количество на изделие, шт. - 1

Статор турбогенератора Т-25-2

Статор турбогенератора ТС-20

Статор турбогенератора Т-32-2В3
|
Обозначение |
Возможный дефект |
Метод установления дефекта |
Контрольный инструмент |
Заключение и рекомендуемый способ ремонта |
Технические требования после ремонта |
|
Б |
Нарушение целостности (трещины, изломы) стяжных ребер |
ТО |
Лупа |
Сварка |
Оценка качества ремонтной сварки должна соответствовать конструкторской документации |
|
В |
Смещение нажимных пальцев |
ТО |
- |
1. Закрепление в первоначальном положении |
Смещение нажимных пальцев не допускается |
|
Г |
Разрушение, оплавления сегментов активной стали |
ТО, ИК, КИ |
Термометры шкала 0 - 100 °C Амперметр Ваттметр Частотомер Лупа |
1. Удаление поврежденного участка 2. Зачистка и травление кислотой 3. Установка клиньев-заполнителей |
1. Поврежденный участок должен быть полностью удален 2. После зачистки и травления лаковая пленка между сегментами должна просматриваться сплошными линиями 3. Активную сталь статора испытать в соответствии с СО 34.45-51.300-97 [1] 4. Обмотку статора испытать в соответствии с СО 34.45-51.300-97 [1] |
|
Г |
Следы местных перегревов, контактной коррозии активной стали |
ТО, ИК, КИ |
Термометры шкала 0 - 100 °C Амперметр Вольтметр Ваттметр |
1. Зачистка 2. Травление кислотой |
1. После зачистки и травления лаковая пленка между сегментами сердечника должна просматриваться сплошными линиями |
|
- |
- |
- |
Частотомер |
3. Восстановление активной стали в соответствии с ТТИ 388500.345.25201.00125 |
2. Активную сталь статора испытать в соответствии с СО 34.45-51.300-97 [1] |
|
Г |
Нарушения защитного покрытия активной стали |
ТО |
- |
1. Очистка 2. Покрытие двумя слоями лака ЛАЛЭ-7М |
Поверхность защитного покрытия активной стали должна быть без отслаивания, ровной и без подтеков лака |
|
Д |
Ослабление плотности прессовки активной стали |
ТО, ИК, КИ |
Щупы. Набор № 2 Термометры шкала 0 - 100 °C Амперметр Вольтметр Ваттметр Динамометрический ключ |
1. Установка клиньев-заполнителей 2. Подтяжка гаек нажимного кольца 3. Восстановление плотности прессовки в соответствии с инструкцией ТТИ 388500.345.25201.00125 |
1. Щуп от усилия руки не должен входить между сегментами активной стали на глубину более 1 мм на участке не ближе 100 мм от нажимного кольца 2. Гайки нажимного кольца должны быть затянуты и закреплены от самоотвинчивания 3. Активную сталь статора испытать в соответствии СО 34.45-51.300-97 [1] 4. Обмотку статора испытать в соответствии с СО 34.45-51.300-97 [1] |
|
Е |
Ослабление крепления деталей расклиновки лобовой части обмотки статора. |
ТО, КИ |
- |
1. Подтягивание крепежных деталей 2. Установка дистанционных распорок с прокладками на клее 3. Бандажировка стержней лобовой части обмотки статора 4. Заполнение зазоров между деталями крепления и обмоткой статора препрегом |
1. Деформация, повреждение покровной ленты на стержнях и шинах после подтягивания не допускается 2. Обмотку статора испытать в соответствии с СО 34.45-51.300-97 [1] |
|
Е |
Ослабление, обрыв шнуровых бандажей |
ТО, ИК, КИ |
Термометр шкала 0 - 100 °С Амперметр Вольтметр Ваттметр Частотомер |
Замена бандажей |
Обмотку статора испытать в соответствии с СО 34.45-51.300-97 [1] |
|
Е |
Истирание изоляции лобовых частей обмотки статора |
ТО, ИК, КИ |
Термометр шкала 0 - 100 °С Амперметр Вольтметр Ваттметр Частотомер |
1. Восстановление изоляции 2. Закрепление лобовых частей обмотки статора |
Обмотку статора испытать в соответствии с СО 34.45-51.300-97 [1] |
|
Ж |
Нарушение плоскостности торцовой поверхности корпуса статора под щит |
ТО, ИК |
Щупы. Набор № 2 Штангенциркуль Образцы шероховатости поверхности (рабочие) |
Шабровка |
1. Допуск плоскостности торцовых поверхностей корпуса относительно общей прилегающей поверхности наружного щита не более 0,1 мм 2. Шероховатость поверхности должна быть не более Rz = 32 мкм |
|
З |
Нарушение защитного покрытия обмотки статора, соединительных и выводных шин |
ТО, ИК, КИ |
Термометр шкала 0 - 100 °С Амперметр Вольтметр Ваттметр Частотомер |
1. Очистка 2. Покрытие двумя слоями эмали ГФ-92ХС |
1. Поверхность защитного покрытия обмотки статора, соединительных и выводных шин должна быть ровной, без отслаиваний и подтеков 2. Обмотку статора испытать в соответствии с СО 34.45-51.300-97 [1] |
|
З |
Обрыв термопреобразователей с соединительными проводами |
КИ |
Мегаомметр на напряжение по согласованию с АО «Привод-электромеханик» |
1. Пайка припоем ПОС-40 2. Замена проводки теплоконтроля |
Сопротивление изоляции должно быть не менее 1,0 МОм |
|
И |
Ослабление плотности крепления обмотки статора по высоте паза |
ТО, перемещение клиньев от руки, простукивание молотком |
- |
Переклиновка с установкой под клин дополнительных прокладок |
1. Допускается не более 10 % ослабленных клиньев в средней части статора 2. Допускается разновысотность клиньев в одном пазу, но не более 1,5 мм |
|
К |
Ослабление плотности крепления обмотки статора по ширине паза |
ТО, ИК |
Набор уплотнительных ножей |
Переклиновка паза с установкой между стенкой паза и стороной стержня, набегающей по направлению вращения ротора, дополнительной прокладки |
Зазор между стенкой паза и стержнем должен быть не более 0,3 мм |
7.2.1 На поверхности статора (обмотке, сердечнике и корпусе) не должно быть загрязнений.
7.2.2 Защитное покрытие поверхности расточки активной стали электроизоляционной эмалью должно быть равномерным, без отслоений.
7.2.3 Статорная обмотка, соединительные и выводные шины должны быть покрыты электроизоляционной маслостойкой эмалью.
7.2.4 Увлажнение обмотки статора не допускается. Необходимость сушки устанавливается СО 34.45-51.300-97 [1].
7.2.5 Соединительные шпильки изоляционных накладок крепления лобовых частей статорной обмотки не должны касаться изоляции обмотки.
7.2.6 Не допускается более 10 % ослабленных средних клиньев, но не более трех подряд в одном пазу.
Концевые клинья и два к ним прилегающие с каждой стороны паза должны быть установлены плотно и иметь дополнительное крепление согласно требованиям конструкторской документации.
Пазы должны быть переуплотнены (переклинены), если количество ослабленных клиньев в них превышает допустимое.
7.2.7 Допустимый зазор в стыках клиньев - не более 3,0 мм, не чаще, чем через 10 клиньев.
Допускается разновысотность клиньев в одном пазу не более 1,5 мм
Карта дефектации и ремонта 2
Щит наружный поз. 2 рисунка 5.1
Количество на изделие, шт. - 12 (Т-25-2, ТС-20)
- 8 (Т-32)

Щит наружный Т-25-2 и ТС-20

Щит наружный Т-32
|
Обозначение |
Возможный дефект |
Метод установления дефекта |
Контрольный инструмент |
Заключение и рекомендуемый способ ремонта |
Технические требования после ремонта |
|
В, Г, Д, Е |
Трещины, сколы, наклепы |
ТО, ИК |
Лупа Образцы шероховатости поверхности (рабочие) |
Шлифовка |
Шероховатость поверхности не более Rz = 32 мкм |
|
№ 1, |
Нарушение сварного соединения (трещины любой протяженности и глубины) |
ТО |
Лупа |
Зачистка, заварка (тип шва по конструкторской документации) |
Трещины, непровары не допускаются |
Щит внутренний поз. 3 рисунка 5.1
Количество на изделие, шт. - 4 (ТС-20)
- 2 (Т-32-2В3)

Щит внутренний ТС-20

Щит внутренний Т-32-2В3
|
Обозначение |
Возможный дефект |
Метод установления дефекта |
Средство измерения |
Заключение и рекомендуемые методы ремонта |
Требования после ремонта |
|
А |
Трещины, сколы, наклепы |
ТО, ИК |
Штангенциркуль Образцы шероховатости поверхности (рабочие) |
1. Зачистка 2. Шлифовка |
1. Допуск неплоскостности не более 0,1 мм 2. Шероховатость поверхности не более Rz = 32 мкм |
|
Б |
Трещины, сколы, наклепы |
ТО, ИК |
Образцы шероховатости поверхности (рабочие) |
1. Зачистка 2. Шлифовка |
Шероховатость поверхности не более Rz = 63 мкм |
|
В |
Вмятины, трещины, наклепы |
ТО, ИК |
Образцы шероховатости поверхности (рабочие) |
1. Местная выборка |
Шероховатость поверхности не более Rz = 63 мкм |
|
Г |
Вмятины, трещины, сколы |
ТО, ИК |
Образцы шероховатости поверхности (рабочие) |
Зачистка |
1. Допуск неплоскостности не более 0,1 мм 2. Шероховатость поверхности не более Rz = 32 мкм |
|
Г |
Нарушение сварного соединения (трещины любой протяженности и глубины) |
ТО |
Лупа |
Зачистка, заварка (тип шва по конструкторской документации) |
Трещины, непровары не допускаются |
Дефектацию и ремонт составных частей ротора необходимо производить в соответствии с картами 4 - 6.

1 - бандаж, 2 - центрирующее
кольцо, 3 - вентилятор,
4 - контактные кольца с токоподводом, 5 - обмотка ротора.
Рисунок 7.1а - Ротор ТС-20

1 - обмотка ротора; 2 - бандаж; 3 - вентилятор.
Рисунок 7.1б - Ротор Т-25-2

1 - бандаж, 2 - центрирующее
кольцо, 3 - вентилятор,
4 - контактные кольца с токоподводом, 5 - обмотка.
Рисунок 7.1в - Ротор Т-32
Ротор поз. 4 рисунка 5.1
Количество на изделие, шт. - 1

Ротор ТС-20

Ротор Т-25-2Г(П)

Ротор Т-32
|
Обозначение |
Возможный дефект |
Метод установления дефекта |
Контрольный инструмент |
Заключение и рекомендуемый способ ремонта |
Технические требования после ремонта |
|
А Б В Г Д |
Износ, риски, забоины |
ТО, ИК |
Лупа Профилометр мод. 296 Индикатор ИЧ 0,5 кл. 01 Образцы шероховатости поверхности (рабочие) |
1. Проточка 2. Шабровка |
1. Шероховатость поверхности не более Ra = 2,0 мкм 2. Допуск плоскостности поверхности не более 0,02 мм 3. Допуск торцового биения поверхности не более 0,03 мм |
|
Износ, риски, забоины |
ТО, ИК |
Лупа Индикатор Микрометр Профилометр мод. 296 Образцы шероховатости поверхности (рабочие) |
1. Проточка 2. Шлифовка |
1. Шероховатость поверхности не более Ra = 1,25 мкм 2. Допуск радиального биения поверхности не более 0,10 мм |
|
|
Е Ж И |
Износ, риски, забоины |
ТО, ИК |
Лупа. Индикатор Микрометр Профилометр мод. 296 Образцы шероховатости поверхности (рабочие) |
1. Проточка 2. Шлифовка |
1. Шероховатость поверхности не более Ra = 0,50 мкм 2. Допуск цилиндричности не более 0,03 мм 3. Допуск радиального биения поверхности не более 0,02 мм 4. Допуск круглости не более 0,03 мм |
|
М |
Нарушение корпусной изоляции обмотки ротора |
ИК, КИ |
Мегаомметр на 1000 В |
Замена корпусной изоляции Сушка изоляции |
Сопротивление изоляции не менее 2 кОм при температуре 75 °С. Изоляция должна выдерживать испытание повышенным напряжением частотой 50 Гц в соответствии с СО 34.45-51.300-97 [1] |
|
Н |
Нарушение витковой изоляции обмотки ротора |
ИК, КИ |
Мегаомметр на 500 В Миллиамперметр, амперметр, вольтметр кл. 1,0 |
Замена витковой изоляции |
Сопротивление изоляции не менее 2 кОм при температуре 75 °С Изоляция должна выдерживать испытания повышенным напряжением частотой 50 Гц в соответствии с СО 34.45-51.300-97 [1] |
|
К |
Трещины в лопатке, изъязвления |
УЗД |
Дефектоскоп ультразвуковой ДУК-11 ИМ |
Замена лопатки |
- |
7.4.1 На поверхностях ротора не должно быть загрязнений.
7.4.2 Не допускаются подгары и оплавления торцовых и боковых поверхностей пазовых клиньев и сопрягаемых поверхностей зубцов вала ротора.
7.4.3 Внешним признаком дефекта при установленных клиньях являются следы нагревания (отслаивание эмали, цвета побежалости).
7.4.4 Не допускается ослабление крепления балансировочных грузов.
7.4.5 Покрытие поверхностей ротора по инструкции в соответствии с конструкторской документацией завода изготовителя.
7.4.6 Техническое состояние ротора должно соответствовать требованиям конструкторской и эксплуатационной документации.
7.4.7 Ослабленные концевые пазовые клинья не допускаются.
7.4.8 Ослабление встречных пазовых клиньев не допускается.
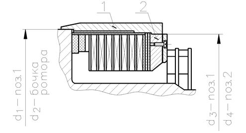
Дефектацию и ремонт бандажного узла ротора необходимо производить в соответствии с картами 5 - 6.
1 - бандажное кольцо; 2 - упорное кольцо
Рисунок 7.2а - Бандажный узел ротора турбогенератора ТС-20

1 - бандажное кольцо; 2 - упорное кольцо
Рисунок 7.2б - Бандажный узел ротора турбогенератора Т-25-2

1 - бандажное кольцо. 2 - упорное кольцо
Рисунок 7.2в - Бандажный узел ротора турбогенератора Т-32
Таблица 7.1 Натяги в деталях бандажного узла турбогенераторов серий Т и ТС
размеры в миллиметрах
|
Тип турбогенератора |
Бандажное кольцо-бочка ротора |
Бандажное кольцо-упорное кольцо |
||||
|
d1 |
d2 |
Натяг |
d3 |
d4 |
Натяг |
|
|
ТС-20-2 |
844+0,090 |
845,4-0,06 |
1,4-0,146 |
776+0,090 |
777,5-0,06 |
1,5-0,146 |
|
Т-25-2 |
934+0,090 |
935,8-0,06 |
1,8-0,146 |
934+0,090 |
935,8-0,06 |
1,8-0,146 |
|
Т-32 |
934+0,090 |
935,8-0,06 |
1,8-0,146 |
866,0+0,090 |
868,1-0,06 |
2,1-0,146 |
|
ТС-63-2 |
934+0,090 |
935,8-0,06 |
1,8-0,146 |
934+0,090 |
935,8-0,06 |
1,8-0,146 |
|
Примечание - Проводить дублирующий и эксплуатационный контроль состояния посадочных натягов на собранном бандажном узле по методике, приведенной в СО 153-34.45.513-07 [2] |
||||||
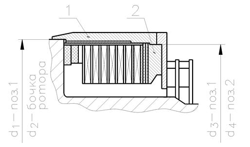
Кольцо бандажное поз. 1 рисунка 7.2
Количество на изделие, шт. - 2

Бандажное кольцо серии Т
|
Обозначение |
Возможный дефект |
Метод установления дефекта |
Контрольный инструмент |
Заключение и рекомендуемые методы ремонта |
Требования после ремонта |
|
А |
Сколы, трещины, коррозионное растрескивание, раковины, подгары |
ТО, ИК, УЗД |
Профилометр мод. 296 Штангенциркуль Дефектоскоп ультразвуковой ДУК-11 ИМ |
Устранение дефектов по СО 153-34.45.513-07 [2] |
1. Ослабление натягов недопустимо 2. Допуск конусности поверхности не более 0,03 мм 3. Допуск овальности поверхности не более 0,2 мм 4. Радиальное биение поверхности относительно общей оси не более 0,1 мм 5. Шероховатость поверхности не более Ra = 2,0 мкм. |
|
Б |
Вмятины, трещины |
ТО, ИК |
Штангенциркуль Образцы шероховатости поверхности (рабочие) |
1. Проточить на глубину не более 1,5 мм. 2. Шлифовка. 3. Выборка местная. |
Шероховатость поверхности не более Rz = 16 мкм. |
|
В |
Сколы, трещины, риски, царапины, забоины |
ТО |
Лупа Штангенциркуль |
1. Местная выборка. 2. Проточка. |
1. Глубина местной выборки не должна превышать 1,5 мм. 2. Глубина проточки не более 1,0 мм. |
|
Г |
Сколы, трещины, коррозионное растрескивание, раковины, подгары. |
ТО, ИК |
Профилометр мод. 296. Штангенциркуль Дефектоскоп ультразвуковой ДУК-11 ИМ. |
Устранение дефектов по СО 153-34.45.513-07 [2] Проточить на глубину не более 1,0 мм. |
1. Допуск конусности поверхности не более 0,03 мм. 2 Допуск овальности поверхности не более 0,2 мм. 3. Радиальное биение поверхности относительно общей оси не более 0,1 мм. 4. Шероховатость поверхности не более Ra = 2,0 мкм. |
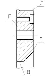
Кольцо упорное поз. 2 рисунка 7.2
Количество на изделие, шт. - 2

Центрирующее кольцо Т-25-2Г(П)

Центрирующее кольцо Т-32

Центрирующее кольцо ротора ТС-20
|
Обозначение |
Возможный дефект |
Метод установления дефекта |
Контрольный инструмент |
Заключение и рекомендуемые методы ремонта |
Требования после ремонта |
|
Г, Ж |
Риски, забоины |
ТО, ИК, УЗД |
Лупа Штангенциркуль Индикатор часового типа ИЧ 0,5 кл. 01 Образцы шероховатости поверхности Дефектоскоп ультразвуковой ДУК-11 ИМ |
1. Проточить на глубину не более 1,0 мм 2. Шлифовка |
1. Торцевое биение поверхностей относительно оси поверхности В не более 0,1 мм 2. Шероховатость поверхности не более Rz = 40 мкм |
|
Д |
Трещины, риски, забоины, подгары, наклепы |
ТО, ИК, УЗД |
Лупа Штангенциркуль Индикатор часового типа ИЧ 0,5 кл. 01 Образцы шероховатости поверхности (рабочие) Дефектоскоп ультразвуковой ДУК-11 ИМ |
1. Проточка 2. Шлифовка 3. Установка прокладки из фольги толщиной не более 1 мм на диаметр |
1. Соответствие требованиям СО 153-34.45.513-07 [2] 2. Радиальное биение поверхности относительно оси поверхности В не более 0,1 мм 3. Допуск конусности поверхности не более 0,05 мм 4. Допуск овальности поверхности не более 0,05 мм 5. Шероховатость поверхности не более Ra = 2,5 мкм |
|
Е |
Трещины, риски, забоины, подгары, наклепы |
ТО, ИК |
Лупа Штангенциркуль Образцы шероховатости поверхности (рабочие) |
1. Проточка на глубину не более 1,0 мм 2. Шлифовка 3. Установка прокладки из фольги |
Шероховатость поверхности не более Rz = 40 мкм |
7.6.1 Радиальное биение поверхностей А, Б и Г относительно их общей оси не более 0,1 мм.
7.6.2 В местах пересечения цилиндрических поверхностей с поверхностями конусов обеспечить плавный переход.
7.6.3 Шероховатость поверхностей всех переходных радиусов Rz = 25 мкм.
7.6.4 Подгары на носике, трещины и проявления контактной коррозии на посадочных поверхностях, трещины коррозионного растрескивания любого участка недопустимы.
7.6.5 После окончательной обработки произвести дефектоскопию внутренней и наружной поверхностей бандажного кольца ультразвуковым дефектоскопом ДУК-11 ИМ.
7.6.6 Заполнение зазора, образовавшегося после общей проточки внутренней непосадочной поверхности, производится листами стеклотекстолита марки СТЭФ в два и более слоев по толщине. Листы стеклотекстолита укладываются между верхним и нижним слоями подбандажной изоляции.
Дефектацию и ремонт контактного узла ротора необходимо производить в соответствии с картами 7 - 9.
1 - контактные кольца; 2, 3 - токоведущий болт; 4, 5 - контактный винт.
Рисунок 7.3 - Контактные кольца с токопроводом
Таблица 7.2 - Размеры и натяги узла контактных колец
мм
|
Тип турбогенератора |
Посадка втулки на вал |
Посадка контактного кольца на изоляцию |
Натяг на конт. кольце |
Наружный диаметр контактного кольца |
|
|
Д1 |
Д2 |
Д3/Д4 |
Д3 - Д4 |
Д5 |
|
|
ТС-20 |
190 |
185 |
230/230,7 |
0,58 - 0,70 |
315,0 |
Кольцо контактное поз. 1 рисунка 7.3
Количество на изделие, шт. - 2

|
Обозначение |
Возможный дефект |
Метод установления дефекта |
Контрольный инструмент |
Заключение и рекомендуемые методы ремонта |
Требования после ремонта |
|
А |
Износ рабочей поверхности колец под щеткой на глубину более 0,5 мм, неравномерный износ, подгар, эрозия, забоины, радиальное биение более 0,03 мм |
ТО, ИК |
Микрометр Профилометр мод. 296 Индикатор ИЧ 0,5 кл. 01 Образцы шероховатости поверхности (рабочие) |
1. Проточка 2. Шлифовка 3. Замена кольца |
1. Допустимый диаметр не менее 310 мм 2. Шероховатость поверхности не более Ra = 1,25 мкм 3. Допуск радиального биения поверхности относительно оси не более 0,03 мм 4. Допуск цилиндричности не более 0,02 мм |
|
Б |
Уменьшение глубины спиральной канавки до h < 3 мм |
ИК |
Штангенциркуль Профилометр мод. 296 Образцы шероховатости поверхности (рабочие) |
1. Нарезка канавки 2. Замена кольца |
1. Допустимая глубина не менее 3 мм 2. Шероховатость поверхности не более Ra = 2,5 мкм 3. Минимальный допустимый диаметр контактных колец не менее 310 мм |
Карта дефектации и ремонта 8
Токоведущий болт поз. 2, 3 рисунка 7.3
Количество на изделие, шт. - 4

|
Обозначение |
Возможный дефект |
Метод установления дефекта |
Контрольный инструмент |
Заключение и рекомендуемый способ ремонта |
Технические требования после ремонта |
|
А Б В |
Нарушение серебряного покрытия контактных поверхностей. |
ВК ТО, ИК |
Лупа |
Серебрение контактных поверхностей покрытия - 6 мкм. |
Допустимое нарушение серебряного покрытия не более 10 % площади контактной поверхности. |
|
Нарушение резьбовой поверхности более одного витка. |
ВК ТО, ИК |
Лупа |
Замена болта токоведущего |
Нарушение резьбовой поверхности не допускаются. |
|
|
Деформация по длине болта токоведущего. |
ВК ТО ИК |
- |
Замена болта токоведущего |
Деформация по длине болта не допускается. |
|
|
Дефекты изоляционного покрытия болта токоведущего. |
ВК то |
Лупа |
Замена изоляционного покрытия. |
Дефекты изоляционного покрытия не допускаются. |
Контактный винт поз. 4, 5 рисунка 7.3
Количество на изделие, шт. - 4

|
Обозначение |
Возможный дефект |
Метод установления дефекта |
Контрольный инструмент |
Заключение и рекомендуемый способ ремонта |
Технические требования после ремонта |
|
А Б |
Нарушение серебряного покрытия контактной поверхности |
ВК, ИК |
Лупа ЛАЗ-10 |
Серебрение контактных поверхностей Толщина покрытия - 6 мкм |
Допустимое нарушение серебряного покрытия не более 10 % площади контактной поверхности |
|
Трещины в резьбовой части винта контактного |
ВК, ИК |
Лупа ЛАЗ-10 |
Замена винта контактного |
Не допускаются трещины в резьбовой части |
|
|
Б |
Выкрашивание, срывы резьбы |
ВК |
- |
Замена винта контактного |
Допускаются на длине не более 1 витка |
|
- |
Выступы от деформации смятия шлица опорной поверхности |
ВК, ИК |
Штангенциркуль ШЦ1-125-0,1 |
Запиловка заподлицо с поверхностью головки, восстановление формы шлица |
Не допускается смятие шлицев более 1 мм по ширине |
|
- |
Отклонение от перпендикулярности опорной поверхности головки и резьбовой части |
ВК, ИК |
Поверочный угольник УПП-1-160 |
Замена |
Допуск перпендикулярности - не более 0,5 мм |
7.8.1 Радиальный зазор между винтом и изолирующей коробкой недопустим.
Зазор устранить изоляционными прокладками, обеспечив натяг 0,2 мм.
7.8.2 Допуск радиального биения рабочей поверхности контактных колец относительно оси - 0,015 мм
7.8.3 Токоведущий болт затянуть моментом, указанным в таблице 7.3.
7.8.4 Винт контактный с метрической резьбой М20 затянуть с моментом 55 Н∙м (550 кгс∙см), но не более момента затяжки токоведущих болтов.
Таблица 7.3 - Моменты затяжки токоведущих болтов различных диаметров
|
Средний диаметр, мм |
Шаг, мм |
Рабочая длина, мм |
Моменты затяжки, Н∙м (кгс∙см) |
|
|
3/4 |
25 |
1,814 |
14 - 17 |
20 - 25 (200 - 250) |
|
1 |
32 |
2,209 |
15 - 18 |
28 - 35 (280 - 350) |
|
11/4 |
40 |
2,209 |
16 - 20 |
50 - 60 (500 - 600) |
|
11/2 |
46 |
2,209 |
18 - 23 |
70 - 85 (700 - 850) |
|
2 |
58 |
2,209 |
20 - 30 |
130 - 160 (1300 - 1600) |
Дефектацию и ремонт лопатки вентилятора (см. рисунок 7.4) необходимо проводить в соответствии с картами 10 - 11.
Величины натягов при посадке вентилятора приведены в таблице 7.4.
1 - лопатка вентилятора, 2 - втулка вентилятора, 3 - вал ротора.
Рисунок 7.4 - Лопатка вентилятора
Таблица 7.4 Величины натягов при посадке вентилятора
|
Натяг, мм |
Заводской натяг, мм |
|
Δ = d1 - d2 |
0,8 - 0,686 |
Лопатка вентилятора поз. 1 рисунка 7.4
Количество на изделие, шт. - 2 комплекта

|
Обозначение |
Возможный дефект |
Метод установления дефекта |
Контрольный инструмент |
Заключение и рекомендуемый способ ремонта |
Технические требования после ремонта |
|
А |
«Следы» модельного литья, поры, раковины, трещины, эрозионный износ, забоины и сколы. |
ВК ТО ИК |
Лупа Цветная дефектоскопия |
Способ ремонта см. п. 7.10.4 |
Т.Т. см. п. 7.10.3 |
|
Б |
Контактная коррозия |
ВК ТО, ИК Электроиндуктивная дефектоскопия |
Лупа. Дефектоскоп ДНМ-500, ДНМ-2000, ППД-1. Микрометр МРИ 1000-0,01 |
1. Проточка. 2. Шлифовка. 3 Местная выборка |
1. Допустимая шероховатость Ra ≤ 2,0 мкм. 2. Допуск радиального биения относительно оси вращения - 0,1 мм. 3. Допуск профиля продольного сечения - 0,03 мм. |
|
В, Г |
Трещины, подплавления, цвета побежалости |
ВК ТО, ИК Дефектоскопия цветная. Дефектоскопия магнитопорошковая |
Лупа |
1. Зачистка. 2. Выборка. 3. Замена. |
1. Допустимая шероховатость Rz ≤ 40 мкм. 2. Допуск торцового биения относительно оси вращения - 0,1 мм. |
Втулка вентилятора поз. 2 рисунка 7.4
Количество на изделие, шт. - 2

|
Обозначение |
Возможный дефект |
Метод установления дефекта |
Контрольный инструмент |
Заключение и рекомендуемый способ ремонта |
Технические требования после ремонта |
|
В, Г |
Контактная коррозия |
ВК ТО, ИК, Электроиндуктивная дефектоскопия. |
Лупа. Дефектоскоп ДНМ-500, ДНМ-2000, ППД-1. Микрометр |
1. Проточка. 2. Шлифовка. 3 Местная выборка |
1. Допустимая шероховатость Ra ≤ 2,0 мкм. 2. Допуск радиального биения относительно оси вращения - 0,1 мм. 3. Допуск профиля продольного сечения - 0,03 мм. |
|
Д |
Трещины, подплавления, цвета побежалости |
ВК ТО, ИК Дефектоскопия цветная. Дефектоскопия магнитопорошковая |
Лупа. |
1. Зачистка. 2. Выборка. 3. Замена. |
1. Допустимая шероховатость Rz ≤ 40 мкм. 2. Допуск торцового биения относительно оси вращения - 0,1 мм. |
7.10.1 Гайки корончатые не должны иметь трещин, должны быть затянуты до упора и застопорены шплинтами.
7.10.2 Натяг ступицы вентилятора на вал ротора в соответствии с табл. 7.5.
7.10.3 Лопатки центробежных вентиляторов не должны иметь трещин, раковин и замятий.
7.10.4 На лопатках не допускаются следующие дефекты:
- «следы» от моделей или местные незаполнения контура более 2 мм и единичные наплывы металла высотой более 2 мм на необрабатываемых частях лопаток;
- одиночные поры и раковины диаметром и глубиной более 2 мм и сосредоточенные поры и раковины диаметром и глубиной более 1 мм на необрабатываемых частях лопаток;
- трещины и неслитины, распространяющиеся в глубь металла, в основном в местах перехода пера в основание лопатки;
- следы эрозионного износа игольчатой формы на набегающей кромке пера от воздействия паров и капель влаги и масла;
- механические забоины и сколы по кромке пера, превышающие 3 мм в глубину тела пера, а также деформации перьев лопаток, нанесенные посторонним предметом.
7.10.5 С помощью шлифовального круга удаляются дефекты, указанные в п. 7.10.4 настоящего Стандарта.
Выборки металла должны иметь плавный переход к основной поверхности, радиус перехода должен быть не менее 8 мм.
Наибольшая допустимая глубина выборок металла на рабочей поверхности лопаток (включая и место перехода пера в основание) в направлении, нормальном к поверхности, не должна превышать 6 мм. При этом местное утончение пера лопатки не должно превышать половины его толщины, указанной на чертеже, а общая площадь выбранного металла в любом сечений лопатки, параллельном ее основанию, не должна быть более 3 см2.
Глубина выборок металла в основании лопатки и в местах перехода набегающей и сбегающей кромок пера в основание не должна превышать 8 мм.
Поверхности выбранных участков обрабатываются с чистотой поверхности 5-го класса (Rz - 20 мкм), после чего проводится цветная дефектоскопия.
Дефектацию и ремонт составных частей уплотнения вала ротора необходимо проводить в соответствии с картой 12.
Уплотнение вала ротора поз. 5 рисунка 5.1
Количество на изделие, шт. - 4

Уплотнение турбогенератора ТС-20

Уплотнение турбогенератора Т-25-2

Уплотнение турбогенератора Т-32
|
Обозначение |
Возможный дефект |
Метод установления дефекта |
Контрольный инструмент |
Заключение и рекомендуемый способ ремонта |
Технические требования после ремонта |
|
Б |
Вмятины, наклепы, трещины, сколы |
ТО, ИК |
Лупа Образцы шероховатости поверхности (рабочие) |
1. Местная выборка 2. Покрытие грунтовкой |
1. Шероховатость поверхности не более Rz = 32 мкм 2. Покрытие грунтовкой ФЛ-03К коричневой У1, В3 по инструкции завода-изготовителя |
|
В |
Вмятины, наклепы, сколы, трещины |
ТО, ИК |
Лупа Образцы шероховатости поверхности (рабочие) |
Местная выборка |
Шероховатость поверхности не более Rz = 32 мкм |
|
Г |
Трещины, сколы, наклепы |
ТО, ИК |
Лупа Штангенциркуль Образцы шероховатости поверхности (рабочие) |
Местная выборка |
1. Смещение от горизонтальной оси не более 0,5 мм 2. Шероховатость поверхности не более Rz = 32 мкм |
|
Г |
Неплотное прилегание поверхностей разъема |
ТО, ИК |
Лупа Линейка 300 Штангенциркуль Щупы. Набор № 2 |
Шабровка |
1. В свободном состоянии (фланцы разъема не затянуты) щуп толщиной 0,03 мм не должен входить в разъем на глубину более 3 мм 2. После шабровки должно быть не менее десяти пятен касания на площади 25×25 мм |
|
Д, Е, Ж, З, И, К, Л |
Вмятины, сколы, наклепы. |
ТО, ИК |
Лупа Штангенциркуль Образцы шероховатости поверхности (рабочие). |
1. Местная выборка. 2. Покрытие грунтовкой. |
1. Шероховатость поверхности не более Rz = 32 мкм. 2. Покрытие грунтовкой ФЛ-03К коричневой У1, В3 по инструкции завода-изготовителя. |
|
М, Н |
Вмятины, сколы, трещины. |
ТО, ИК |
Лупа Образцы шероховатости поверхности (рабочие). |
Зачистка. |
1. Шероховатость поверхности не более Rz = 32 мкм. |
|
О |
Вмятины, трещины, сколы. |
ТО, ИК |
Штангенциркуль Образцы шероховатости поверхности (рабочие) Щупы. Набор № 2 Лупа. |
1. Замена. 2. Зачистка. |
1. Шероховатость поверхности не более Ra = 2,5 мкм. 2. Зазор между ножами и валом ротора должен быть в пределах 0,1 - 0,2 мм. |
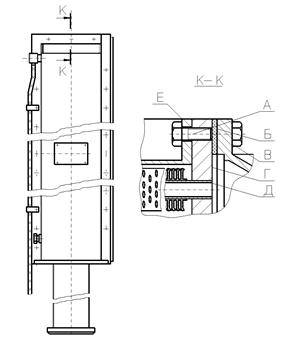
Дефектацию и ремонт подшипника ротора, щеточно-контактного аппарата, концевых выводов и воздухоохладителей необходимо проводить в соответствии с картами 13 - 19.
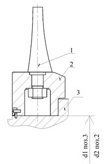
1 - крышка, 2 - маслоуловитель, 3 - вкладыш подшипника, 4 - стояк подшипника.
Рисунок 7.5 - Подшипник изолированный Т-25-2
Крышка подшипника поз. 1 рисунка 7.5
Количество на изделие, шт. - 2

|
Обозначение |
Возможный дефект |
Метод установления дефекта |
Контрольный инструмент |
Заключение и рекомендуемый способ ремонта |
Технические требования после ремонта |
|
А |
Риски, забоины |
ТО, ИК, проверка прилегания на краску |
Образцы шероховатости поверхности (рабочие) Лупа Штангенциркуль |
1. Запиловка 2. Шабровка |
1. Шероховатость поверхности Ra = 1,0 мкм 2. Допуск плоскостности 0,1 мм на длине 1000 мм 3. После шабровки должно быть не менее десяти пятен касания на площади 25×25 мм |
|
Б |
Риски, забоины |
ТО, ИК |
Щупы. Набор № 2 |
1. Запиловка 2. Шабровка |
1. Зазор между крышкой и вкладышем в соответствии с картой 11 2. Шероховатость поверхности не более Ra = 2,0 мкм |
|
В, Г, Д |
Риски, забоины |
ТО, ИК |
Лупа Образцы шероховатости поверхности (рабочие) |
1. Запиловка 2. Шабровка |
Шероховатость поверхности не более Rz = 80 мкм |
Карта дефектации и ремонта 14
Маслоуловитель поз. 2 рисунка 7.5
Количество на изделие, шт. - 2

|
Обозначение |
Возможный дефект |
Метод установления дефекта |
Контрольный инструмент |
Заключение и рекомендуемый способ ремонта |
Технические требования после ремонта |
|
А |
Неплотное прилегание поверхностей разъема |
ТО, ИК, проверка прилегания «на краску» |
Лупа. Щупы. Набор № 2 Линейка - 500 Штангенциркуль |
Шабровка |
1. В свободном состоянии (фланцы разъема не затянуты болтами) щуп толщиной 0,03 мм не должен входить в разъем на глубину более 3 мм 2. После шабровки должно быть не менее десяти пятен касания на площади 25×25 мм |
|
Б |
Риски, забоины |
ТО, ИК |
Лупа. Образцы шероховатости поверхности (рабочие) |
1. Запиловка 2. Шабровка |
Шероховатость поверхности не более Ra = 0,63 мкм |
|
В |
Риски, забоины |
ТО, ИК |
Лупа. Образцы шероховатости поверхности (рабочие) |
1. Запиловка 2. Шабровка |
Шероховатость поверхности не более Rz = 32 мкм |
|
Г |
Износ уплотняющих колец |
ТО, ИК |
Образцы шероховатости поверхности (рабочие) Щупы. Набор № 2 Скоба измерительная СИ-500 |
1. Замена |
Шероховатость поверхности не более Rz = 80 мкм |
Карта дефектации и ремонта 15
Вкладыш подшипника поз. 3 рисунка 7.5
Количество на изделие, шт. - 1

|
Обозначение |
Возможный дефект |
Метод установления дефекта |
Контрольный инструмент |
Заключение и рекомендуемый способ ремонта |
Технические требования после ремонта |
|
А |
Неплотное прилегание поверхностей разъема |
ТО, ИК, проверка прилегания «на краску» |
Лупа Линейка - 300 Штангенциркуль Щупы. Набор № 2 |
Шабровка |
1. В свободном состоянии (фланцы разъема не затянуты) щуп толщиной 0,03 мм не должен входить в разъем на глубину более 3 мм. 2. После шабровки должно быть не менее десяти пятен касания на площади 25×25 мм |
|
А |
Риски, забоины |
ТО, ИК |
Лупа Образцы шероховатости поверхности (рабочие) Профилометр мод. 296 |
1. Запиловка 2. Шабровка |
Шероховатость поверхности не более Ra = 2,0 мкм |
|
Б |
Риски, забоины, оплавления, износ. |
ТО, ИК |
Лупа Нутромер НМ-500 Щупы. Набор № 2 Образцы шероховатости поверхности (рабочие) Профилометр мод. 296 Свинцовая скрутка |
1. Перезаливка баббитовой поверхности 2. Наплавка 3. Проточка 4. Шлифовка 5. Шабровка |
1. Проточка баббитовой поверхности в соответствии с конструкторской документацией завода-изготовителя 2. Шероховатость поверхности не более Ra = 1,0 мкм 3. При шабровке выдерживать зазоры, указанные на карте 11 |
|
В |
Риски, забоины |
ТО, ИК |
Лупа Образцы шероховатости поверхности (рабочие) |
1. Запиловка 2. Шабровка |
Шероховатость поверхности не более Ra = 1,0 мкм |
|
Г |
Риски, забоины |
ТО, ИК |
Лупа Образцы шероховатости поверхности (рабочие) |
1. Запиловка 2. Шабровка |
Шероховатость поверхности не более Ra = 2,0 мкм |
|
Д |
Риски, забоины |
ТО, ИК |
Лупа Образцы шероховатости поверхности (рабочие) |
1. Запиловка 2. Шабровка |
Шероховатость поверхности не более Rz = 32 мкм |
Карта дефектации и ремонта 16
Стояк подшипника поз. 4 рисунка 7.5
Количество на изделие, шт. - 1

|
Обозначение |
Возможный дефект |
Метод установления дефекта |
Контрольный инструмент |
Заключение и рекомендуемый способ ремонта |
Технические требования после ремонта |
|
А |
Риски, забоины |
ТО, ИК, проверка прилегания на краску |
Лупа Образцы шероховатости поверхности (рабочие) Штангенциркуль |
1. Запиловка 2. Шабровка |
1. Шероховатость поверхности Ra = 2,0 мкм 2. Допуск плоскостности поверхности 0,1 мм на длине 1000 мм 3. После шабровки должно быть не менее десяти пятен касания на площади 25×25 мм |
|
Б |
Риски, забоины |
ТО, ИК |
Лупа Образцы шероховатости поверхности (рабочие) Профилометр мод. 296 Щупы. Набор № 2 |
1. Запиловка 2. Шабровка |
Зазор между стояком и вкладышем в соответствии с картой 11 Шероховатость поверхности Ra = 1,0 мкм |
|
В, Г |
Риски, забоины |
То, ИК |
Лупа Образцы шероховатости поверхности (рабочие) |
1. Запиловка 2. Шабровка |
Шероховатость поверхности Rz = 32 мкм |
|
Д |
Риски, забоины |
То, ИК |
Лупа Образцы шероховатости поверхности (рабочие) Штангенциркуль |
1. Запиловка 2. Шабровка |
1. Шероховатость поверхности Rz = 32 мкм 2. Допуск плоскостности поверхности 0,2 мм на длине 1000 мм |
7.13.1 Технические требования на зазоры, натяги и смещения между сопрягаемыми поверхностями составных частей подшипника и маслозащитных устройств, а также прилегание между ними должны соответствовать требованиям конструкторской документации.
7.13.2 Механические повреждения, расслаивания, набухания и подгары изоляционных деталей подшипника не допускаются.
7.13.3 Ослабленное крепление маслозащитных колец и маслозащитных устройств не допускается.
7.13.4 Трещины и непровары в корпусе подшипника и маслопроводах не допускаются.
7.13.5 Плоскости разъемов маслозащитных устройств должны совпадать с плоскостью разъема корпуса подшипника.
7.13.6 Сопротивление изоляции, измеренное относительно фундаментной плиты, при полностью собранных маслопроводах при отсутствии контакта между подшипником и шейкой вала ротора должно быть не менее 1 МОм в соответствии с СО 34.45-51.300-97 [1].
Карта дефектации и ремонта 17
Траверса поз. 7 рисунка 5.1
Количество на изделие, шт. - 1

|
Обозначение |
Возможный дефект |
Метод установления дефекта |
Контрольный инструмент |
Заключение и рекомендуемый способ ремонта |
Технические требования после ремонта |
|
А |
Неисправность нажимного механизма щеткодержателя (ослабленное нажатие, трещины и излом пружины, усилие больше допустимого) |
ТО, ИК |
Лупа Динамометр пружинный указывающий типа ДПУ-0,01-2 |
1. Замена нажимного механизма |
1. Усилие нажатия пружины должно быть 15 ± 1,5 Н (1,53 ± 0,153) кгс |
|
А |
Повышенный нагрев ЩКА, ускоренный износ щеточного механизма (усилие нажимного механизма больше допустимого) |
ТО |
- |
Замена нажимного механизма |
- |
|
Б |
Нарушение крепления токоведущего провода в теле щетки, наличие цветов побежалости на проводниках |
ТО |
- |
Замена щетки |
- |
|
В, Г |
Повреждения корпуса щеткодержателя (деформация, задиры, забоины на внутренней поверхности, оплавления и т.п.) |
ТО, ИК |
Лупа Штангенциркуль Щупы. Набор № 2 |
1. Правка корпуса щеткодержателя 2. Опиловка, пригонка и доводка внутренней поверхности щеткодержателя 3. Замена щеткодержателя |
1. Размеры корпуса должны соответствовать требованию СТП 5ВЖ 112013-95 2. Заусенцы, задиры и острые кромки на внутренней поверхности щеткодержателя не допускаются 3. Шероховатость внутренней поверхности должна быть не более Rz = 2,0 мкм 4. Двусторонний зазор «а» между внутренней поверхностью щеткодержателя и боковой поверхностью щетки должен быть в пределах 0,1 - 0,4 мм 5. Перемещение щетки в щеткодержателе должно быть свободным, без заеданий |
|
Д |
Неравномерный износ, единичные нарушения рабочей поверхности щетки (риски, царапины, эрозия и т.п.), износ щетки до длины не менее 25 мм. Трещины, сколы и выкрашивание более чем 10 % рабочей поверхности щетки. |
ТО, ИК |
Лупа Штангенциркуль |
1. Притирка рабочей поверхности щетки по рабочей поверхности контактного кольца 2. Замена щетки |
1. «Зеркальный» натир должен быть не менее чем на 90 % рабочей поверхности щетки 2. Длина щетки должна быть не менее 25 мм |
|
Е |
Износ боковой поверхности щетки более чем на 0,1 мм Трещины, сколы, выкрашивание более чем 20 % боковой поверхности щетки |
ТО, ИК |
Лупа Щупы. Набор № 2 |
Замена щетки |
Двусторонний зазор «а» между боковой поверхностью щетки и внутренней поверхностью щеткодержателя должен быть не более 0,4 мм |
Карта дефектации и ремонта 18
Воздухоохладители поз. 8 рисунка 5.1
Количество на изделие, шт. - 4

Воздухоохладитель турбогенератора Т-25-2

Воздухоохладитель турбогенератора Т-32
|
Обозначение |
Возможный дефект |
Метод установления дефекта |
Контрольный инструмент |
Заключение и рекомендуемый способ ремонта |
Технические требования после ремонта |
|
А |
Нарушение плотности резьбового соединения |
ТО, ИК |
Лупа Калибры резьбовые Щупы. Набор № 2 |
1. Затяжка, стопорение крепежных деталей 2. Замена крепежных деталей |
1. Не допускается ослабление плотности соединения 2. Требования к крепежным деталям по п. 2.10 |
|
Б |
Нарушение плотности соединения поверхностей трубных досок и крышек |
ТО, ИК, КИ |
Динамометрический ключ |
1. Тарированная затяжка 2. Замена прокладки |
Воздухоохладитель испытать гидравлическим давлением 0,6 МПа (5,88 кгс/см2) в течение 30 мин |
|
В |
Нарушение покрытия наружных поверхностей трубных досок |
ТО |
Лупа |
1. Очистка 2. Покрытие эмалью |
Наружные поверхности трубных досок после очистки должны быть покрыты одним слоем эмали ГФ 92ХС |
|
Г |
Наличие отложений на внутренних стенках охлаждающих трубок |
ТО |
- |
1. Очистка 2. Промывка |
Внутренняя поверхность трубок должна быть очищена |
|
Д |
Течи трубок, нарушение плотности развальцовки трубок в трубных досках |
ТО |
- |
Заглушка трубок, замена воздухоохладителя |
Допустимое количество заглушенных трубок в каждом охладителе не более 5 % от общего количества трубок |
|
Е |
Нарушение покрытия поверхностей воздухоохладителей |
ТО |
Лупа |
1. Очистка 2. Покрытие эмалью |
Поверхности воздухоохладителя, кроме таблички на крышке и трубок, должны быть покрыты эмалью ПФ-133 |
7.14.1 На наружных поверхностях трубок, трубных досок и крышек воздухоохладителя не должно быть загрязнений, следов влаги и масла.
7.14.2 Внутренние поверхности крышек, соприкасающихся с водой, покрыть водостойкой эмалью.
7.14.3 Наружные поверхности корпуса и крышек воздухоохладителя покрыть маслостойкой эмалью.
7.14.4 Техническое состояние отремонтированного воздухоохладителя должно соответствовать требованиям конструкторской документации и СО 34.45-51.300-97 [1].
Вывода обмотки статора поз. 9 рисунка 5.1
Количество на изделие, шт. - 6

|
Обозначение |
Возможный дефект |
Метод установления дефекта |
Контрольный инструмент |
Заключение и рекомендуемый способ ремонта |
Технические требования после ремонта |
|
А |
Забоины, подгары, нарушение серебряного покрытия контактной поверхности концевого вывода |
ВК ИК |
Линейка измерительная I-300. Штангенциркуль |
1. Зачистка 2. Опиловка. 3. Серебрение |
1. На контактной поверхности концевого вывода допускается забоины с одной стороны на площади не более 40 мм2 2. Шероховатость поверхности - не более Ra = 25 мкм 3. Подгары, отслаивания покрытия контактной поверхности концевых выводов допускаются на площади не более 2550 мм2 4. Толщина серебряного покрытия не должна превышать 6 - 9 мкм |
|
Б Г |
Нарушение газоплотности концевого вывода |
ВК КИ |
Манометр М 1,0 МПа-1 |
1. Замена прокладок. 2. Шлифовка торцов изолятора. 3. Замена изолятора |
Нарушение газоплотности не допускается |
|
В |
Сколы, трещины, повреждение глазури |
ВК |
- |
Замена изолятора |
- |
|
Д |
Нарушение электрической прочности изоляции концевого вывода |
ВК КИ |
Стенд испытательный СИВ-700/60-55. Мегаомметр 2500 В |
1. Восстановление изоляции. 2. Замена уплотнительных шайб, колец, фарфорового изолятора |
Изоляция концевого вывода должна выдержать электрические испытания согласно п. 7.15.3 |
|
Е |
Задиры, деформация колец |
ВК |
- |
1. Рихтовка колец. 2. Замена колец |
Задиры, деформация колец недопустимы |
7.15.1 Стержень концевого вывода должен выдержать испытания на прочность и герметичность водой при давлении 2450 кПа (25 кгс/см2) в течение 1 ч. Течи не допускаются.
7.15.2 Собранный концевой вывод должен выдержать испытания на газоплотность избыточным давлением воздуха 0,5 МПа. Концевой вывод считается выдержавшим испытание, если при давлении 0,3 МПа падение давления не превышает 0,5 мм рт. ст./ч.
7.15.3 Изоляция концевого вывода должна выдержать электрические испытания напряжением промышленной частоты U = 70 кВ в течение 1 мин.
7.15.4 Смещение оси стержня вывода относительно оси изолятора не должно быть более 2 мм.
Эскизы зазоров и натягов генератора Т-25-2

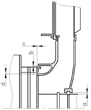
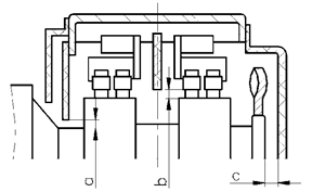
Рисунок 8.1 - Установка вентилятора (сторона турбины)
Таблица 8.1 - Величины установочных зазоров в щитах вентиляторов генератора Т-25-2
размеры в миллиметрах
|
Место замера |
а |
b |
c |
d |
k |
|
по вертикальной оси |
3 |
0,3 - 0,4 |
0,4 - 0,79 |
15,5 |
0,25 - 1,45 |
|
по горизонтальной оси |
0,2 - 0,3 |
Таблица 8.2 - Величины установочных зазоров в щитах вентиляторов генератора ТС-63-2;
размеры в миллиметрах
|
Место замера |
а |
b |
c |
d |
k |
|
по вертикальной оси |
- |
- |
- |
- |
2,0 - 2,70 |
|
по горизонтальной оси |
- |

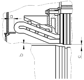
Рисунок 8.2 - Установка вентилятора (сторона возбудителя)
Таблица 8.3 - Величины установочных зазоров в щитах вентиляторов генератора Т-25-2
размеры в миллиметрах
|
Место замера |
b |
c |
d |
k |
|
по вертикальной оси |
0,3 - 0,4 |
0,4 - 0,79 |
20,5 |
0,25 - 1,45 |
|
по горизонтальной оси |
0,2 - 0,3 |
Таблица 8.4 - Величины установочных зазоров в щитах вентиляторов генератора ТС-63-2
размеры в миллиметрах
|
Место замера |
а |
b |
с |
d |
k |
|
по вертикальной оси |
- |
- |
- |
- |
2,0 - 2,70 |
|
по горизонтальной оси |
- |

Рисунок 8.3 - Щиты вентилятора (ст. турбины) турбогенераторов Т-32 и ТС-20

Рисунок 8.4 - Щиты вентилятора (ст. возбудителя) турбогенераторов Т-32 и ТС-20
Таблица 8.5 - Величины установочных зазоров в щитах вентиляторов генератора Т-32
размеры в миллиметрах
|
Место замера |
а |
b |
с |
d |
|
ст. возбудителя |
0,1 - 0,2 |
3 - 4 |
2 - 2,8 |
0,1 - 0,2 |
|
ст. турбины |
7 - 8 |
Таблица 8.6 - Величины установочных зазоров в щитах вентиляторов генератора ТС-20-2;
размеры в миллиметрах
|
Место замера |
а |
b |
с |
d |
|
ст. возбудителя |
1,5 - 2,3 |
2 - 2,6 |
3 - 4 |
0,1 - 0,2 |
|
ст. турбины |
7 - 9 |

Рисунок 8.5 - Установка ротора турбогенератора Т-32 (ст. турбины)

Рисунок 8.6 - Установка ротора турбогенератора Т-32 (ст. возбудителя)
Таблица 8.7 - Установка статора турбогенераторов
размеры в миллиметрах
|
Тип генератора |
Место замера |
а |
b |
с |
|
Т-32 |
ст. возбудителя |
35 - 37 |
30 min |
35 - 37 |
|
ст. турбины |
46 min |
|||
|
Т-25-2 |
ст. возбудителя |
39 - 41 |
38,5 |
98 |
|
ст. турбины |
114 |
|||
|
ТС-20 |
ст. возбудителя |
34 - 35 |
30 min |
70 min |
|
ст. турбины |
90 min |
|||
|
ТС-63-2 |
ст. возбудителя |
44 - 46 |
40 |
50 min |
|
ст. турбины |

Рисунок 8.7 - Установка траверсы турбогенератора Т-32
Таблица 8.8 - Величины установочных зазоров в щеточно-контактном аппарате турбогенераторов серии Т
размеры в миллиметрах
|
Место замера |
а |
b |
с |
|
По вертикальной оси |
2 - 3 |
2 - 3 |
16 min |

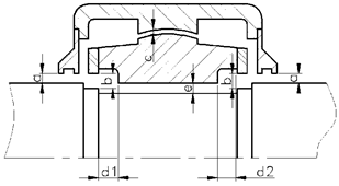
Рисунок 8.8 - Подшипник ротора генератора Т-32 и Т-25-2
Таблица 8.9 - Величины установочных зазоров в подшипнике турбогенераторов Т-32 и Т-25-2
размеры в миллиметрах
|
Место замера |
а |
b |
с |
d1 |
d2 |
е |
|
По вертикальной оси |
0,3 - 0,4 |
0,956 - 1,006 |
0 - 0,03 |
12,5 - 13,0 |
2,5 - 3,0 |
0,4 - 0,5 |
|
По горизонтальной оси |
0,2 - 0,3 |
0,418 - 0,503 |
0 - 0,015 |
0,2 - 0,25 |
Таблица 8.10 - Величины установочных зазоров в подшипнике генератора ТС-63-2
размеры в миллиметрах
|
Место замера |
а |
b |
с |
d1 |
d2 |
е |
|
По вертикальной оси |
0,21 - 0,26 |
0,5 - 0,6 |
0 - 0,03 |
21 - 22 |
8 - 10 |
0,5 - 0,59 |
|
По горизонтальной оси |
0,2 - 0,3 |
0,25 - 0,3 |
0 - 0,015 |
0,25 - 0,30 |
Таблица 8.11 - Величины установочных зазоров в подшипнике генератора ТС-20
размеры в миллиметрах
|
Место замера |
а |
b |
с |
d1 |
d2 |
е |
|
По вертикальной оси |
0,1 - 0,25 |
0,9 - 1,2 |
0 - 0,03 |
21 - 22 |
8 - 10 |
0,5 - 0,59 |
|
По горизонтальной оси |
0,45 - 0,6 |
0 - 0,015 |
0,25 - 0,30 |
8.1 Сборка турбогенератора должна производиться по конструкторской или ремонтной документации на турбогенератор и формулярам зазоров для каждой сборочной единицы.
8.2 К сборке допускаются составные части, удовлетворяющие требованиям настоящего Стандарта и НТД на конкретный турбогенератор.
8.3 Трубки, гибкие шланги и каналы перед сборкой турбогенератора должны быть продуты сжатым воздухом.
8.4 При соединении составных частей турбогенератора через изолирующие детали сопротивление изоляции должно при необходимости контролироваться периодически в процессе сборки.
8.5 Контактные поверхности токоведущих частей должны быть очищены и обезжирены.
8.6 Перед установкой ротора, газоохладителей, щитов и других составных частей, перед закрытием смотровых люков необходимо дополнительно проверить закрепление деталей и отсутствие посторонних предметов на собранных и собираемых составных частях.
8.7 При вращении ротора валоповоротным устройством и турбиной не должны прослушиваться звуки, свидетельствующие об ударах, заеданиях и касаниях в турбогенераторе.
8.8 На собранном турбогенераторе не допускаются:
- ослабленное крепление статора к фундаменту;
- ослабленное крепление опорных подшипников к фундаменту;
- ослабленное крепление фундаментных плит;
- ослабленное крепление и обрыв заземлителя корпуса статора;
- ослабленное крепление трубопроводов, кожухов и других деталей, закрепленных на наружной поверхности корпуса статора;
- течи воды и масла из соединений.
8.9 Выполнение пусковых операций на турбогенераторе при снятых и незакрепленных деталях не допускается, за исключением пусков для балансирования ротора и проведения специальных испытаний; в последнем случае должны быть приняты меры против попадания в турбогенератор посторонних предметов и масла, а также приняты меры по закреплению временно установленных составных частей и приспособлений.
8.10 Допускается изменение параметров турбогенератора в сторону повышения эффективности использования на основании конструкторской документации и результата испытаний.
В исключительных случаях по согласованию с Заказчиком допускается ухудшение параметров в связи с выявлением отклонений состояния отдельных составных частей. При этом должно быть установлено время, на которое допускаются измененные параметры, и намечены мероприятия по приведению их в нормативное значение.
Объемы, методы испытаний и сравнения показателей качества отремонтированных турбогенераторов с их нормативными и доремонтными значениями определяются и производятся в соответствии с разделом 9 СТО 70238424.29.160.20.001-2009.
Требования к обеспечению безопасности определяются в соответствии с разделом 10 СТО 70238424.29.160.20.001-2009.
11.1 Оценка соответствия соблюдения технических требований, объема и методов дефектации, способов ремонта, методов контроля и испытаний к составным частям и турбогенераторам в целом нормам и требованиям настоящего Стандарта осуществляется в форме контроля в процессе ремонта и при приемке в эксплуатацию.
11.2 В процессе ремонта производится контроль за выполнением требований настоящего Стандарта к составным частям и турбогенераторам в целом при производстве ремонтных работ, выполнении технологических операций ремонта и поузловых испытаниях.
При приемке в эксплуатацию отремонтированных турбогенераторов производится контроль результатов приемо-сдаточных испытаний, работы в период подконтрольной эксплуатации, показателей качества, установленных оценок качества и отремонтированных турбогенераторов и выполненных ремонтных работ.
11.3 Результаты оценки соответствия характеризуются оценками качества отремонтированного турбогенератора и выполненных ремонтных работ.
11.4 Контроль соблюдения норм и требований настоящего Стандарта осуществляют органы (Департаменты, подразделения, службы), определяемые генерирующей компанией.
11.5 Контроль соблюдения норм и требований настоящего Стандарта осуществляется по правилам и в порядке, установленном генерирующей компанией.
(Рекомендуемое)
Перечень средств измерений
Таблица А.1
|
Наименование средств измерения |
Условное обозначение средств измерения |
|
Индикаторы часовые |
Индикатор ИЧ 10 Б Кл. 0 ГОСТ 577 |
|
Линейки измерительные |
500 ГОСТ 427 |
|
Линейки поверочные |
Линейка ШД-0-630 ШД-1-1600 ГОСТ 8026 |
|
Лупа |
ЛП1-4× ГОСТ 25706 |
|
Микрометры |
Микрометр ГОСТ 6507 |
|
Набор щупов |
Набор щупов № 2. Кл. 1 № 3. Кл. 1 ТУ 2-034-225-87 |
|
Нутромеры микрометрические |
Нутромер НМ 500 ГОСТ 10 |
|
Образцы шероховатости |
Образец шероховатости ГОСТ 9378 |
|
Штангенциркули |
Штангенциркуль ГОСТ 166 |
[1] СО 34.45-51.300-97 Объем и нормы испытаний электрооборудования
Ключевые слова: турбогенераторы, качество ремонта, технические условия
|
Руководитель организации-разработчика ЗАО «ЦКБ Энергоремонт» |
||
|
Генеральный директор |
А.В. Гондарь |
|
|
Руководитель разработки Заместитель генерального директора |
Ю.В. Трофимов |
|
|
Исполнители Главный конструктор |
Л.А. Дугинов |