Рекомендации распространяются на все стальные вертикальные резервуары с концентрацией солей в дренажной воде более 0,3 %
| Обозначение: | Р 154-77 |
| Название рус.: | Рекомендации по протекторной защите днищ стальных резервуаров от коррозии, вызываемой дренажной водой и технология монтажа протекторов в действующих резервуарах |
| Статус: | действует |
| Заменяет собой: | «Рекомендации по протекторной защите днищ стальных резервуаров от коррозии, называемой дренажной (подтоварной) водой» |
| Дата актуализации текста: | 05.05.2017 |
| Дата добавления в базу: | 01.09.2013 |
| Утвержден: | 27.12.1973 ВНИИСТ (VNIIST ) |
| Опубликован: | Ротапринт ВНИИСТа (VNIIST Copy Center 1977 г. ) |
| Ссылки для скачивания: |
МИНИСТЕРСТВО
СТРОИТЕЛЬСТВА ПРЕДПРИЯТИЙ
НЕФТЯНОЙ И ГАЗОВОЙ ПРОМЫШЛЕННОСТИ
ВСЕСОЮЗНЫЙ
НАУЧНО ИССЛЕДОВАТЕЛЬСКИЙ
ИНСТИТУТ
ПО СТРОИТЕЛЬСТВУ
МАГИСТРАЛЬНЫХ
ТРУБОПРОВОДОВ
ВНИИСТ
РЕКОМЕНДАЦИИ
ПО ПРОТЕКТОРНОЙ ЗАЩИТЕ ДНИЩ
СТАЛЬНЫХ РЕЗЕРВУАРОВ ОТ КОРРОЗИИ
ВЫЗЫВАЕМОЙ ДРЕНАЖНОЙ ВОДОЙ.
И ТЕХНОЛОГИЯ МОНТАЖА
ПРОТЕКТОРОВ
В ДЕЙСТВУЮЩИХ РЕЗЕРВУАРАХ
МОСКВА - 1977
В настоящих Рекомендациях освещены вопросы расчета, проектирования, технологии монтажа и эксплуатации электрохимической защиты днищ стальных резервуаров от коррозии, вызываемой дренажной (подтоварной) водой. Особенно большое внимание в Рекомендациях уделено вопросам осуществления протекторной защиты без проведения огневых работ в резервуаре.
При составлении Рекомендаций использованы материалы исследований ВНИИСТа, Управления Приволжскими магистральными нефтепроводами, а также учтен опыт защиты резервуаров Жирновского районного нефтепроводного управления я Крымского товарно-транспортного управления.
Рекомендации разработаны сотрудниками ВНИИСТа: Н.П. Глазовым, В.И. Глазковым, Т.И. Маняхиной, В.К. Уткиным и начальником Центральной службы катодной защиты Управления Приволжскими магистральными нефтепроводами П.Б. Финкельштейном.
Замечания и предложения по Рекомендациям просьба направлять по адресу: Москва, 105058, Окружной пр., 19, лаборатория электрозащиты.
СОДЕРЖАНИЕ
|
ВНИИСТ |
Рекомендации
по протекторной |
Р 154-77 |
Коррозия днищ и нижних поясов стальных цилиндрических резервуаров, вызываемая подтоварной водой, наносит значительный ущерб народному хозяйству.
В нефти ряда месторождений Советского Союза содержится значительное количество минерализованной воды, входящей в состав нефтяных эмульсий. При разрушении эмульсии естественным путем или на электрообессоливающих установках вода, скапливаясь внизу резервуара, вызывает интенсивную коррозию днищ и нижних поясов. Хотя эта вода периодически дренируется, непрерывная закачка новых порций нефти или нефтепродуктов в резервуар пополняет ее запасы у днища. Днища и нижние пояса резервуаров, контактирующие с сильно минерализованной дренажной водой, в результате сквозных проржавлений уже через четыре - шесть лет выходят из строя и требуют частичной или полной замены.
Защита днищ резервуаров от коррозии различного рода покрытиями не обеспечивает их сохранности на длительный срок. Электрохимический метод защиты резервуаров с помощью протекторов является наиболее эффективным, простым и экономически целесообразным.
В настоящее время применяется один из видов электрохимической защиты - протекторная защита днищ резервуаров от коррозии, вызываемой подтоварной водой. Протекторная защита надежно предохраняет металлические конструкции от коррозии и проста в эксплуатации.
|
Внесены
лабораторной |
Утверждены
ВНИИСтом |
Разработаны
взамен |
Недостатком протекторной защиты, осуществляемой в соответствии с Рекомендациями [6], является то, что смена протекторов требует не только опорожнения, но и подготовки резервуара для проведения в нем огневых работ. В подготовку резервуара к огневым работам входит зачистка и пропарка, что значительно удорожает протекторную защиту. В настоящих Рекомендациях рассмотрены в основном вопросы осуществления протекторной защиты без проведения огневых работ в резервуаре. Это позволят быстро заменять сработавшиеся протекторы и вводить защиту на действующих резервуарах, не дожидаясь взвода его на капитальный ремонт, без проведения трудоемких и дорогостоящих подготовительных работ.
1.1. Настоящие рекомендации распространяются на все стальные вертикальные резервуары с концентрацией солей в дренажной воде более 0,3 %.
1.2. Принцип действия протекторной защиты заключается в создании защитного потенциала на днище при протекании тока в гальванической паре днище-протектор. Стационарный потенциал протектора имеет более отрицательное значение, чем потенциал металла днища. При замыкании цепи днище-протектор последний становится анодом, а днище-катодом. Ток, стекая с протектора, проходят через электролит (дренажную воду), входит в днище и прекращает или ограничивает действие коррозионных элементов на его поверхности, а следовательно, и коррозионное разрушение днища (рис. 1).
1.3. Технология монтажа протекторной защиты несложна, не связана с использованием токсичных материалов и тщательной подготовкой поверхности. Протекторная защита проста и надежна в эксплуатации.
1.4. В качестве протекторного материала рекомендуется использовать магниевый сплав марки М1-4, состав которого праведен в табл. 1.
1.5. Типоразмеры и масса рекомендуемых протекторов приведены в табл. 2, а электрохимические параметры этих протекторов в табл. 3.
|
Основные компоненты, % |
Примеси, % (не более) |
||||||
|
Al |
Zn |
Mn |
Mq |
Si |
Fe |
Ni |
Cu |
|
5,0 - 7,0 |
2,0 - 3,0 |
0,15 - 1,0 |
Остальное |
0,05 |
0,003 |
0,001 |
0,004 |

Рис. 1. Принципиальная схема протекторной защиты
от коррозии днища резервуара:
1 - протектор; 2 - изолирующий экран; 3 - днище резервуара;
4 - изолированный проводник; 5 - электролит; 6 - штуцер
|
Тип протектора* |
Размеры, мм |
Масса (округленно), кг |
Рабочая поверхность, м2 |
|||
|
диаметр |
высота |
с изоляционным покрытием |
без изоляционного покрытия |
|||
|
по краю |
в средней части |
|||||
|
ПМР-5 |
280 |
60 |
40 |
5 |
0,14 |
0,121 |
|
ПМР-10 |
400 |
70 |
40 |
10 |
0,285 |
0,247 |
|
ПМР-20 |
400 |
140 |
80 |
20 |
0,33 |
0,267 |
________
*Протекторы типа ПМР изготовляются в опытном цехе Титано-магниевого комбината (адрес: г. Березники, Пермской области, Центр, опытный цех, инженер Кашкаров А.З.).
|
Тип протектора |
Стационарный потенциал по медносульфатному электроду, В |
Практическая токоотдача |
|
|
А/ч |
А/год |
||
|
ПМР-5 |
1,6 |
6800 |
0,7 |
|
ПМР-10 |
1,6 |
13500 |
1,5 |
|
ПМР-20 |
1,6 |
27000 |
3,0 |

Конструкция протектора ПМР-20 из магниевого сплава МЛ-4 представлена на рис. 2 (размеры приведены в мм).
1.6. Протекторы размещаются на днище так, чтобы величина защитного потенциала «резервуар-дренажная вода» в промежутках между протекторами и по краям днища резервуара была не менее заданного минимального защитного потенциала.
1.7. Без осуществления противокоррозионных мер (протекторной защиты) вводить в эксплуатацию резервуары не рекомендуется.
2.1. При определении количества протекторов для защиты днища и нижнего пояса резервуара необходимо иметь следующие исходные данные:
удельное электрическое сопротивление дренажной воды (или суммарную концентрацию солей);
площадь днища и нижнего пояса, контактирующих с дренажной водой;
уровень дренажной воды;
переходное сопротивление «днище-электролит»;
радиус изолирующего экрана.
2.2. Радиус защитного действия одного протектора при кольцевом расположении их по днищу рассчитывается по формуле
|
|
α - постоянная распространения тока в слое дренажной воды, 1/м,
|
|
ρэ - удельное электрическое сопротивление электролита, Ом⋅м;
h - средняя высота уровня дренажной (подтоварной) воды в резервуаре, м;
R0 - переходное сопротивление днище-электролит, Ом⋅м2 (определяется по рис. 3);
rэ - радиус изолирующего экрана протектора, м;
|
rэ ≈ rп + 3hэ; |
u0- наложенная разность потенциалов днище-электролит в точке дренажа, В;
uм - минимальная защитная разность потенциалов днище-электролит, В;
hэ - высота изолирующего экрана, м.
Рис. 3. Зависимость переходного сопротивления
«днище-электролит»
R0 от удельного электрического
сопротивления ρэ
2.3. Величина минимальной защитной разности потенциалов определяется из условия обеспечения заданного срока службы сооружения по формуле
|
|
где Р - необходимая степень защиты резервуара, %;
|
|
Здесь δ0 - допустимое коррозионное уменьшение толщины днища или нижнего пояса боковой поверхности, мм;
Kв - скорость внутренней коррозии резервуара, мм/год;
Тн - планируемый срок службы сооружения, год.
Величина uм для ориентировочных расчетов может быть определена по табл. 4.
|
Степень защищенности сооружения (Р), % |
Необходимое для защиты смещение потенциала (uм), В |
Отношение необходимой защитной плотности тока к скорости коррозии (в одинаковых размерностях) |
|
10 |
0,0026 |
0,159 |
|
20 |
0,0056 |
0,307 |
|
30 |
0,0069 |
0,497 |
|
40 |
0,0127 |
0,694 |
|
50 |
0,0178 |
0,917 |
|
60 |
0,023 |
1,18 |
|
70 |
0,0302 |
1,53 |
|
80 |
0,0404 |
2,04 |
|
90 |
0,058 |
3,07 |
|
95 |
0,075 |
4,43 |
|
97 |
0,088 |
5,76 |
|
98 |
0,0985 |
7,01 |
|
99 |
0,116 |
9,99 |
|
99,5 |
0,133 |
14,2 |
|
99,8 |
0,1565 |
22,2 |
|
99,9 |
0,174 |
31,6 |
2.4. Средняя высота уровня дренажной воды определяется по формуле
|
|
где hi - высота уровня дренажной воды, измеренная через равные промежутки времени, м;
n - число измерений в течение одного или нескольких технологических циклов.
2.5. Максимальная скорость внутренней коррозии резервуара может быть рассчитана по следующему приближенному выражению:
|
|
2.6. Удельное электрическое сопротивление ρэ определяется по методике, приведенной в приложении 1, или по графику (приложение 2).
2.7. Количество протекторов для защиты резервуара определяется по формуле
|
|
где D - диаметр резервуара, м;
S - поверхность, защищаемая одним протектором, м2.
Количество протекторов, необходимое для защиты резервуара, может быть определено по таблице (приложение 3).
2.8. При кольцевом расположении протекторов поверхность, защищаемая одним протектором, равна
|
S = πr2. |
Величина S может быть найдена по графикам рис. 4.
2.9. При наличии изоляционного покрытия на днище и боковых стенках резервуара количество протекторов уменьшается в K раз:
|
|
где R0 из - переходное сопротивление днище-электролит при наличии изоляционного покрытия.
Для ориентировочных расчетов можно принять k = 3.
2.10. Тип протектора рекомендуется выбирать с учетом общей концентрации солей в дренажной воде: от 0,3 до 1,5 % - протектор ПМР-5, от 1,5 до 3,5 % - ПМР-10, более 3,5% - ПМР-2М При высоте уровня дренажной воды, равной или меньше 0,15 м, протекторы ПМР-20 применять не рекомендуется.
2.11. Сила тока протектора определяется по формуле
|
|
Рис. 4. Зависимость зоны защиты протектора от удельного
электрического
сопротивления электролита при уровне дренажной воды:
h1 = 0,15 м; h2 = 0,25 м; h3
= 0,5 м; h4 = 1,0 м
где unq - разность потенциалов протектор-днище при разомкнутой цепи. Для магниевых протекторов обычно принимается равной 1 В;
rп - радиус протектора, м;
Rпр - сопротивление проводника, Ом;
Rпол - поляризационное сопротивление протектора, Ом⋅м2 (табл. 5);
Sn - рабочая поверхность протектора, м2;
Ky - поправочный коэффициент, зависящий от уровня дренажной воды (определяется по табл. 6).
|
|
где lпр - длина проводника, м;
Sпр - сечение проводника, мм2;
ρпр - удельное электрическое сопротивление материала провода, Oм⋅мм2/м.
|
Удельное сопротивление дренажной воды (ρэ), Ом⋅м |
Поляризационное сопротивление протектора (Rпол), Ом⋅м2 |
Удельное сопротивление дренажной воды (ρэ), Ом⋅м |
Поляризационное сопротивление протектора (Rпол), Ом⋅м2 |
|
2 |
0,94 |
0,23 |
0,50 |
|
1 |
0,87 |
0,15 |
0,40 |
|
0,6 |
0,77 |
0,08 |
0,27 |
|
0,4 |
0,68 |
0,06 |
0,20 |
|
0,3 |
0,60 |
|
|
Сила тока магниевых протекторов в зависимости от удельного электрического сопротивления электролита (концентрации солей) и высоты его уровня может быть определена по графикам (рис. 5, 6, 7).
2.12. Продолжительность работы протектора определяется по формуле
|
|
где Т - продолжительность работы протектора, годы;
G - касса магниевого протектора, кг.
|
Уровень дренажной воды (h), м |
Поправочный коэффициент (Kу) |
||
|
ПМР-5 |
ПМР-10 |
ПМР-20 |
|
|
0,05 |
2,86 |
5,71 |
6,68 |
|
0,07 |
2,22 |
3,51 |
4,0 |
|
0,10 |
1,89 |
2,38 |
2,56 |
|
0,15 |
1,56 |
1,925 |
1,79 |
|
0,20 |
1,29 |
1,7 |
1,54 |
|
0,25 |
1,22 |
1,45 |
1,43 |
|
0,30 |
1,18 |
1,37 |
1,335 |
|
0,35 |
1,14 |
1,35 |
1,28 |
|
0,40 |
1,125 |
1,268 |
1,25 |
|
0,50 |
1,11 |
1,19 |
1,205 |
|
0,60 |
1,10 |
1,138 |
1,162 |
|
0,80 |
1,076 |
1,10 |
1,14 |
|
1,0 |
1,05 |
1,08 |
1,11 |
2.13. Если не представляется возможным определить уровень дренажной воды, то в расчетах принимается h = 0,25 м. При h > 1 величина S может быть определена по графикам (рис. 4) для h = 1 м.
2.14. Если при расчете срок службы протекторов получается небольшим (менее 3 лет), то рекомендуется увеличивать число протекторов с включением дополнительного сопротивления в цепь протектора (группы протекторов). В этом случае количество протекторов определяется по формуле
|
|
где Nн - необходимое количество протекторов для защиты резервуара от внутренней коррозии на период Тн лет, шт.
2.15. Включение дополнительного сопротивления в цепь протектора (группы протекторов) уменьшает силу тока и увеличивает срок службы протекторов.
2.16. Величина дополнительного сопротивления Rq рассчитывается по нижеприведенный формулам.
Рис.
5. Зависимость силы тока J протектора ПМР-5 от
удельного
электрического сопротивления электролита ρэ при уровне
дренажной воды:
h1 = 0,15 м; h2
= 0,25 м; h1 = 0,5 м; h1 = 1,0 м
Для одного протектора
|
|
где Rпр - сопротивление проводника, Ом.
Рис. 6. Зависимость силы тока J
протектора ПМР-10 от
удельного электрического сопротивления электролита ρэ
при уровне дренажной воды:
h1 = 0,15 м; h2 = 0,25 м; h3
= 0,5 м; h4 = 1,0 м
Для группы протекторов
|
|
Рис.
7. Зависимость силы тока J протектора ПМР-20 от
удельного
электрического сопротивления электролита ρэ при уровне
дренажной воды:
h1 = 0,15 м; h2
= 0,25 м; h3 = 0,5 м; h4 = 1,0 м
где n - количество протекторов в группе;
Rʹпр - сопротивление проводника от протектора до магистрали, Ом;
Rм - сопротивление магистрали, Ом.
Дополнительное сопротивление должно быть рассчитано на максимальную силу тока протекторов в данных условиях.
2.17. Дополнительное сопротивление должно быть переменным с плавной регулировкой от нуля до номинального значения.
ПРИМЕР РАСЧЕТА
Определить параметры протекторной защиты резервуара
Исходные данные:
тип резервуара РБС-5000;
диаметр резервуара - 22,9 м;
изоляционное покрытие на днище и внутренних стенках резервуара отсутствует;
уровень дренажной воды - 0,25 м;
суммарная концентрация содей в воде - 8 %;
уровень дренажной воды изменяется в процессе эксплуатации незначительно;
срок службы резервуара - 50 лет;
наложенная разность потенциалов днище-электролит - 0,4 В;
переходное сопротивление днище-электролит - 1,7 Ом⋅м2;
допустимое коррозионное уменьшение толщины днища иди боковых стенок - 0,5 мм;
радиус изолирующего экрана протектора - 0,25 м;
срок службы протекторов должен быть не менее 5 лет.
Расчет
1. Тип протектора выбирается в соответствии с п. 2.10. Защита резервуара должна осуществляться протекторами типа ПМР-20.
2. Радиус защитного действия одного протектора определяется по формуле (п. 2.2):
|
|
Величина радиуса защитного действия находится из трансцендентного уравнения:
|
r = 2,5 м. |
3. Количество протекторов для защиты резервуара определяется по формуле (п. 2.7):
|
|
где S = πr2 = 3,14⋅2,52 = 19,6 м2.
Величина S может быть определена и непосредственно по графику (см. рис. 4).
Подставляя исходные данные (D и h), а также найденную величину S, получим
|
|
Округляя в большую сторону до ближайшего целого, получим
|
N = 26 шт. |
4. Сида тока протектора определяется по графикам рис. 5, 6, 7 или по формуле (п. 2.11):
|
|
Из табл. 5 находим, что Rпол = 0,30 Ом⋅м2.
Из табл. 6 Ky = 1,43. Возьмем сопротивление проводника Rпр = 0,3 м.
На основании известных данных сила тока протектора равна
|
|
5. Продолжительность работы протектора
|
|
Заданный срок службы протекторов 5 лет. Поэтому для защиты резервуара на этот срок необходимое количество протекторов будет
|
|
6. Для обеспечения данного срока службы сила тока протектора уменьшается посредством включения дополнительных сопротивлений в цепи протекторов (п. 2.16).
В каждую группу, состоящую из нести протекторов, вводится сопротивление, равное:
|
|
|
тогда
|
Величина дополнительного сопротивления, включаемая в каждую цепь контрольных протекторов, должна быть равна:
|
|
3.1. Монтаж протекторной защиты может производиться как на новых, так и на действующих резервуарах.
3.2. При монтаже выполняются следующие работы:
подготовка протекторов к установке;
подготовка штуцеров;
изготовление и монтаж контрольно-измерительной панели;
слив нефтепродукта из резервуара;
установка протекторов;
соединение протекторов через контрольно-измерительный кабель с резервуаром;
закрытие нижнего люка.
3.3. Подготовка протекторов выполняется в специальном помещении или на площадке и состоит из следующих операций:
подсоединение проводника; изолирование места контакта;
нанесение изоляционного покрытия на всю нижнюю часть и часть боковой поверхности протектора;
соединение протекторов в группы;
изоляция места соединения проводников от протекторов с магистралью, выводимой через штуцер.
3.4. Б качестве проводника должен применяться обязательно изолированный гибкий провод сечением по меди не менее 0,75 мм2 (например ПМВГ). Изоляция провода должна быть устойчива по отношению к воздействие на нее нефтепродуктов. Проводник припаивается в стальной контактной втулке припоем ПОС-40. Длина проводника должна быть равной расстоянию между местом установки протектора и соответствующим нижним люком. На проводник надевается алюминиевая бирка с номером протектора.
3.5. Место присоединения проводника к протектору тщательно изолируется эпоксидной смолой типа ЭД-5 (ЭД-6). Внутрь втулки вставляется пробка, и углубление заполняется эпоксидной смолой (рис. 8).
Рис. 8. Монтаж протектора на днище резервуара:
1 - протектор; 2 - изоляция; 3 - стальная втулка; 4 - деревянная пробка;
5 - изолированный проводник
3.6. Изоляционное покрытие, наносимое на боковую и нижнюю поверхности протектора, играет роль экрана. Это покрытие выполняется эпоксидной смолой и наносится пистолетом или кистью с полимеризацией в специальной термокамере или на воздухе.
3.7. Соединение протекторов в группы производится в той случае, если в резервуаре устанавливается более пяти протекторов. В группу полно объединить до пяти-шести протекторов. Для устойчива в условиях резервуара. Соединение проводников от протекторов с магистралью рекомендуется производить о помощью пайки припоем ПОС-40. Место контакта тщательно изолируется эпоксидной смолой типа ЭД-5 (ЭД-6) и изоляционной лентой.
3.8. В крышки нижних лазовых люков вмонтируются штуцера диаметром 4 - 6 мм. Диаметр штуцера выбирается в зависимости от количества проводников, прокладываемых через него. Примерная конструкция приведена на рис. 9.
Рис. 9. Штуцер для вывода проводника из резервуара от
контрольного протектора:
1 - штуцер; 2 - сальник из бензостойкой резины;
3 - грандбукса из ст. 3; 4 - гайка; 5 - изолированный проводник;
6 - крышка лазового люка резервуара
3.9. Перед установкой протекторов необходимо слить нефтепродукт, после чего открываются нижние люки, через которые должны вноситься в резервуар протекторы.
3.10. Перед переноской протекторов в резервуар нижняя часть люка обязательно обкладывается резаной, для чего используется разрезанная автомобильная камера. Это необходимо для предотвращения удара магниевого протектора о край дика при передаче его в резервуар.
3.11. Протектор переносится в соответствующее его номеру место резервуара и опускается на днище резервуара. Протекторы устанавливаются в такой очередности, при которой не меняют перемещению людей в резервуаре, а соединительные проводники не подвергаются опасности быть поврежденными.
Удерживать протектор за соединительный проводник категорически запрещается.
3.12. После установки протекторов магистральные соединительные проводники пропускаются черев штуцер таким образом, чтобы в резервуаре оставалось не менее 1 м магистрали.
3.13. Соединительные магистрали подсоединяются к соответствующим клеммам контрольно-измерительной панели. Контрольно-измерительные панели устанавливаются у нижних люков.
3.14. Одна клемма контрольно-измерительного щита подсоединяется проводом сечением не менее 6 мм2 по меди с внешней стенкой резервуара. Место присоединения к резервуару изолируется.
3.15. После окончания установки протекторов проверяется надежность монтажа и исправность проводников. Повреждения должны быть устранены.
3.16. После заполнения резервуара измеряется сила тока протектора прибором М-231, включенным между проводником проверяемых протекторов (группы протекторов) и резервуаром.
3.17. После окончания монтажа нижний лазовый люк задраивается, а сальник штуцера уплотняется гайкой.
3.18. Монтаж протекторной защиты с применением огневых работ в резервуаре не рекомендуется, но может быть допустим в новых, только что построенных резервуарах идя в случае, если проведение работ по протекторной защите по срокам совпадает с другими операциями, проводимыми в эксплуатируемых резервуарах и требующими соответствующей подготовки (зачистки, пропарки и др.), например, для случая, когда сроки проведения капитального ремонта в резервуаре совпадают со сроками замены сработавшихся протекторов.
3.19. При монтаже выполняются следующие работы:
разметка днища;
подготовка мест для установки протекторов в резервуаре;
приварка контактного стержня;
выполнение изоляционных работ в месте установки протектора;
установка протектора;
изоляция контакта.
Рис. 10. Пример размещения протекторов на днище резервуара
вместимостью 5000 м3 при сроке службы протекторов
5 лет (r = 2,5 м; a
= 2,25 м)
3.20. Днище размечается в соответствии с плавом размещения протекторов по проекту. Примерное размещение протекторов на днище резервуара представлено на рис. 10.
3.21. Место, где должен устанавливаться протектор, очищается от грязи и продуктов коррозии. Очищаемая поверхность должна иметь форму круга диаметром 1,4 - 1,5 мм.
3.22. В центре очищенного круга перпендикулярно к днищу приваривается контактный стальной стержень диаметром 8 мм и высотой 60 мм для протектора ПМР-20 и 35 мм - для протекторов ПМР-10 и ПМР-5.
Рис.
11. Схема монтажа протектора типа ПМР для защиты днищ стальных резервуаров с
применением сварочных работ:
1 - днище резервуара; 2 - изоляция; 3 - протектор; 4 - стальная трубка;
5 - стальной стержень
3.23. На очищенное и промытое бензином место пульверизатором или кистью наносится полихлорвиниловый лак или покрытие на основе эпоксидной смолы в несколько слоев с общей толщиной 0,3 - 0,5 мм.
3.24. Протектор насаживается на контактный стержень и устанавливается на еще не отвердевшее покрытие (рис. 11).
3.25. Контактная втулка приваривается к контактному стержню. Место контакта изолируется полихлорвиниловым лаком или эпоксидной смолой.
3.26. Для контроля за работой протекторной защиты рекомендуется в резервуаре устанавливать контрольно-измерительные пластины и контрольные протекторы.
3.27. Контрольные пластаны изготовляются из стали ст. 3. Размеры пластин: диаметр 100 мм, толщина - 2,5 мм. Вся поверхность образцов должна быть отшлифована (чистота обработки ∇7).
3.28. При монтаже контрольных пластин выполняются следующие работы:
маркировка пластин;
взвешивание пластин на аналитических весах с точностью до 0,01;
подсоединение проводников к контрольным пластинам;
нанесение изоляционного покрытия на поверхность, к которой присоединен проводник;
установка контрольных пластин на балластных пластинах;
соединение контрольных пластин через контрольно-измерительную панель с резервуаром.
3.29. В качестве проводника рекомендуется применять изолированный проводник типа ПМВГ. Проводник припаивается к пластине припоем ПОС-40. Длина проводника должна быть равной расстоянию между местом установки пластины и соответствующим нижним люком.
3.30. Проводники присоединяются и выводятся на контрольно-измерительную панель только от 50 % пластин. Это необходимо для того, чтобы одна часть пластин контактировала с резервуаром, т.е. находилась под защитой, другая - не контактировала и была бы без защиты.
3.31. Изоляционное покрытие, наносимое на одну сторону пластины, выполняется из эпоксидной смолы типа ЭД-5 (ЭД-6) слоем 300 мк.
3.32. Балластные пластины размером 150×150×8, к которым должны крепиться контрольные пластины, необходимы для того, чтобы последние не перемещались по днищу во время слива и налива нефтепродукта.
3.33. В центре балластной пластины приваривается стальной стержень высотой 40 мм и диаметром 5 мм (рис. 12). На него надевается изолирующая втулка из эбонита или текстолита диаметром 50 мм и отверстием в центре в 5 мм, а затем на втулку изолированной поверхностью надевается контрольная пластина. Сверху нее кладется прокладка из изолирующего материала диаметром 15 мм, и вся установка закрепляется гайкой.
3.34. Контрольные пластины рекомендуется устанавливать попарно в наиболее коррозионно-опасных участках резервуара нейду протекторами.
3.35. Монтаж контрольных протекторов отличается от обычных лишь тем, что проводники от них не соединяется в общую магистраль, а выводятся из резервуара отдельно.
Рис. 12. Монтаж контрольной пластины на днище резервуара:
1 - днище резервуара; 2 - балластная пластина; 3 - изолирующая эбонитовая
втулка;
4 - контрольная пластина; 5 - прокладка; 6 - шайба; 7 - гайка М6; 8 - стальной
стержень
4.1. При эксплуатации протекторной защиты проводятся следующие работы:
контроль и регулирование силы тока протекторов;
контроль эффективности протекторной защиты;
периодическая замена сработавшихся протекторов;
обследование коррозионного состояния резервуара и контрольных пластин.
4.2. Контроль работы протекторов заключается в периодических измерениях силы тока контрольных протекторов и групп протекторов. Сида тока измеряется на контрольно-измерительной панели прибором М-231 после установки протекторов и заполнения резервуара нефтепродуктом. Измерительный прибор включается при этом в разрыв цепи протектор-резервуар (группы протекторов). Последующие Повторные измерения выполняются не реке одного раза в месяц. Результаты измерений записываются в специальный журнал (приложения 4, 5).
4.3. Сила тока группы протекторов Jг должна быть приблизительно равна
|
Jг ≈ J1⋅n |
где J1 - сила тока одиночного (контрольного) протектора, А;
n - количество протекторов в группе.
4.4. Величина силы тока протекторов должна регулироваться переменным сопротивлением, включенным в цепь протекторов и установленным на контрольно-измерительной панели.
4.5. Если сила тока протекторов снизилась вдвое по сравнению с первоначальной (измеренной в первый месяц работы), то необходимо заменить протекторы новыми.
4.6. Если сила тока в цепи протектор-резервуар равна нулю, то это свидетельствует о неисправности контакта или полном растворении протектора. Неисправность внутри резервуара устанавливается путем проверки контактов на контрольно-измерительной панели и осмотра состояния подводящих проводников.
4.7. Проверка исправности контактов и целостности протекторов выполняется после слива нефтепродукта или при капитальном ремонте резервуара.
4.8. Эффективность протекторной защиты проверяется:
измерением разности потенциалов резервуар-электролит;
измерением силы тока в цепи протектор-резервуар;
определением степени защиты по потере веса контрольных пластин.
4.9. Разность потенциалов резервуар-электролит измеряется прибором М-231 с помощью специального медносульфатного электрода сравнения (рис. 13).
Электрод сравнения опускается на днище резервуара через верхние смотровые люки с помощью проводника.
4.10. Перед измерениями электрод через отверстия заполняется насыщенным раствором медного купороса до нижних кромок боковых отверстий в корпусе.
4.11. Сила тока контрольных образцов, установленных между протекторами, измеряется миллиамперметром (прибор М-231).
Протекторная защита работает эффективно, если выполняется условие
|
|
где JΣ - суммарная сила тока протекторов по проекту, А;
Jk - сила тока контрольного образца, мА;
Sk - площадь контрольного образца, дм2.
Рис. 13. Электрод для измерения разности потенциалов внутри
резервуара:
1 - изолированный проводник; 2, 3 - втулки; 4, 15 - резиновые бензостойкие
прокладки;
5 - окна для заливки раствора медного купороса; 6, 10 - стопорные кольца;
7 - кольцо уплотнительное; 8 - корпус электрода; 9 - боковые окна;
11 - пористая диэлектрическая перегородка; 12 - электрод стеклянный (датчик);
13 - раствор медного купороса; 14 - нижняя металлическая крышка-утяжелитель
4.12. Степень защиты определяется по потере веса контрольных образцов путем сравнения коррозионных потерь контрольных образцов без защиты и образцов, подключенных к защищаемому резервуару.
|
|
где Δq3 - потеря веса контрольных образцов, подключенных у к защищаемому резервуару, т.е. находящихся под защитой, г;
- потеря веса не подключенных к
резервуару контрольных образцов.
Если действительная степень защиты меньше необходимой, протекторная защита работает неэффективно и требуется установка дополнительных протекторов.
4.13. Замена сработавшихся протекторов производится в соответствии с планом ремонтно-профилактических работ, утвержденным главным инженером предприятия. План составляется с учетом срока службы протекторов и эксплуатационных данных о работе протекторов.
4.14. При капитальных ремонтах резервуаров и в процессе эксплуатации измеряется толщина нижнего пояса боковой поверхности и днища.
5.1. При проведении работ, связанных с защитой днищ стальных резервуаров от коррозии, соблюдение правил техники безопасности является обязательным.
5.2. К работам по защите стальных резервуаров от коррозии допускаются лица, которые прошли инструктаж по технике безопасности, имеют необходимые средства защиты и умеют ими пользоваться.
5.3. Нарушение правил техники безопасности может привести к взрывам, пожарам, авариям и несчастным случаям, вследствие того, что нефть, нефтепродукты и природные газы обладают в основном следующими вредными свойствами: 1) они пожаро- и взрывоопасны; 2) токсичны (отравляют организм человека); 3) вызывают заболевание кожи человека.
5.4. Для проведения работ по установке протекторной защиты при монтаже с применением сварочных работ резервуар необходимо опорожнить от нефтепродукта, тщательно вычистить, пропарить и только после этого приступить к работам по монтажу.
5.5. Ввиду постоянного изменения концентрации паров нефтепродуктов необходимо перед работой в резервуаре проверить чистоту воздуха и провентилировать помещение.
5.6. Предельно допустимые нормы концентрации ядовитых газов и паров в резервуаре при работе в нем без противогазов не должны превышать количеств, указанных в табл. 7.
|
Вещество |
Предельно допустимая концентрация, мг/л |
|
Бензин, лигроин, керосин |
0,3 |
|
Бензол |
0,05 |
|
Метиловый спирт |
0,05 |
|
Толуол, ксилол |
0,1 |
|
Сероводород |
0,01 |
|
Фенол |
0,005 |
|
Хлорированные углеводороды |
0,002 |
|
Этиловый спирт |
1,0 |
5.7. Особо опасными веществами являются: сероводород, этиловая жидкость и этилированный бензин. Этилированный бензин и его пары обладают ядовитыми свойствами и могут вызвать тяжелые отравления при нарушении правил обращения с ними. Резервуары, в которых прежде хранился этилированный бензин, должны быть тщательно обезврежены. В качестве обезвреживающих средств применяются дихлорамин (1,3 %-ный раствор в бензине), хлорная известь, керосин и неэтилированный бензин.
5.8. При осуществлении протекторной защиты на действующих резервуарах без их предварительной зачистки и пропарки необходимо соблюдать правила техники безопасности, предусмотренные при проведении работ в этих условиях.
5.9. При работе с эпоксидными смолами следует учитывать, что последние способны вызывать заболевание кожи - дерматит (экзема).
Все работы с эпоксидными смолами и отвердителями необходимо производить в халатах и в головном уборе, а чтобы смола не попадала на кому рук, работать в резиновых иди полихлорвиниловых перчатках.
Все работы с эпоксидными смолами и компаундами производить в изолированных и хорошо вентилируемых помещениях, оборудованных приточно-вытяжной вентиляцией.
5.10. При осуществлении протекторной защиты резервуаров с использованием сварки необходимо соблюдать правила техники безопасности, предусмотренные при сварочных работах.
МЕТОДИКА ОПРЕДЕЛЕНИЯ УДЕЛЬНОГО
ЭЛЕКТРИЧЕСКОГО СОПРОТИВЛЕНИЯ ЭЛЕКТРОЛИТА
(ДРЕНАЖНОЙ ВОДЫ)
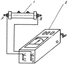
Удельное электрическое сопротивление электролита определяется прибором, называемым резистивиметром.
Резистивиметр (рис. 14) состоит из трубки 1, крышки 2, изготовленных из изоляционного материала. Для создания герметичности в приборе предусмотрены бензостойкие резиновые прокладки 3. В крышки и трубку резистивиметра вставлены электроды А, M, N, В.
Рис. 14. Схема резистивиметра:
1 - трубчатый корпус; 2 - крышка; 3 - бензостойкие резиновые
прокладки; 4 - гайка; А, В - питающие электроды;
M и N - измерительные электроды
ПРОВЕДЕНИЕ ИЗМЕРЕНИЯ
МЕТОДОМ ПЕРЕМЕННОГО ТОКА
Трубка резистивиметра заполняется исследуемым электролитом. Клеммы Е1, J1, E2, J2 измерительного прибора МС-07 или МС-08 соединяются попарно перемычками и подключаются проводниками к электродам А, В резистивиметра (рис. 15).
Перед измерением переключатель измерительного прибора «регулировка-измерение» установить в положение «регулировка» и со скоростью 2 об/с вращать ручку генератора. Поворотом ручки реостата стрелку прибора установить на красной черте шкалы.
После установки стрелки переключатель переставить в положение «измерение». Вращая ручку генератора со скоростью 2 об/с, произвести измерение, фиксируя положение стрелки на измерительной шкале прибора МС-08 (МС-07). Полученное значение является электрическим сопротивлением (ρэ) исследуемого электролита.
Рис. 15. Схема измерения удельного электрического
сопротивления электролита резистивиметром:
1 - резистивиметр: 2 - измерительный прибор типа МС-08 (MC-07);
E1, Е2 и J1,
J2 - клеммы измерительного прибора
Удельное электрическое сопротивление электролита определяется по формулам:
где
- постоянная резистивиметра;
S1 - площадь сечения столба электролита в резистивиметре, м2;
l1 - длина столба электролита между электродами А и В, м.
Пример
В данном случае электрическое сопротивление столба электролита, измеренное прибором МС-07, равно 100 Ом, площадь сечения S1 столба электролита - 0,0007 м2, длина l1 столба электролита между электродами А и В - 0,2 м.
Удельное электрическое сопротивление электролита (см. формулу (1) будет:
|
|
ПРОВЕДЕНИЕ
ИЗМЕРЕНИЯ МЕТОДОМ
ПОСТОЯННОГО ТОКА
Определение удельного электрического сопротивления осуществляется по схеме (рис. 16) и подсчитывается по формуле
|
|
где u - падение напряжения между электродами MN, В;
J - сила тока, протекающего в цепи источника тока, А.
Рис. 16. Схема измерения электрического сопротивления
электролита методом постоянного тока:
1 - резистивиметр; 2 - ампервольтметр; 3 - источник постоянного тока;
4 - реоста; 5 - амперметр
Постоянная резистивиметра определяется площадью сечения S1
и длиной l2 столба электролита. Длина
столба электролита определяется расстоянием между электродами MN.
Пример
Сила тока в цепи (см. рис. 16), установленная реостатом 4, равна 0,2 А.
Падение напряжения между электродами MN равно 8 В.
Постоянная резистивиметра , определяемая площадью сечения S1
= 0,0007 м2 и длиной столба электролита l2
= 0,08 м, равна
|
|
МЕТОДИКА ОПРЕДЕЛЕНИЯ КОНЦЕНТРАЦИИ
СОЛЕЙ В ДРЕНАЖНОЙ ВОДЕ
Реактив - 1%-ный раствор соды (10 г чистой безводной соды растворить в 1 л дистиллированной воды).
Ход определения. В фарфоровую чашку вместимостью 100 - 150 мл, доведенную до постоянного веса при 180 °С, отмерить пипеткой 25 мл раствора соды и 100 мл исследуемой дренажной воды. Выпарить этот раствор на водяной бане. Остаток высушить до постоянного веса в термостате при 180 °С и взвесить. Затем следует определить вес сухого остатка, получающегося от выпаривания 25 мл раствора соды. Концентрация солей в дренажной воде определяется по формуле
|
С = G1 - G2, |
где G1 - вес сухого остатка дренажной воды;
G2 - вес сухого остатка соды.
Примечания: 1. Во избежание потерь за счет растрескивания солей при высушивании сухого остатка в термостате целесообразно ставить чашки с остатками после выпаривания на бане в холодный термостат, а затем уже постепенно поднимать его температуру до 180 °С.
2. Если исследуемая вода мутна, то перед определением веса сухого остатка ее необходимо профильтровать.
Зная концентрацию солей в дренажной воде, можно по номограмме (рис. 17) определить ее удельное сопротивление. Определение удельного электрического сопротивления электролита можно производить по кривой NaCl , так как дренажная вода содержит главным образом NaCl.
Пример.
Для определения сухого остатка взято 100 мл исследуемой дренажной воды.
Вес сухого остатка после высушивания до постоянного веса равен 1,25 г, вес сухого остатка от выпаривания 25 мл раствора соды равен 0,25 г.
Концентрация солей в дренажной воде равна
|
С = 1,25 - 0,25 = 1 % |
По номограмме рис. 14 определяем удельное электрическое сопротивление дренажной воды ρ = 0,6 Ом⋅м.
Рис.
17. Зависимость удельного электрического сопротивления
дренажной воды ρэ от концентрации растворенных в ней
солей
Количество протекторов, необходимо для защиты резервуара, и срок их службы
|
Тир резервуара |
Концентрация солей в дренажной воде, % |
Удельное электрическое сопротивление дренажной воды, Ом⋅м |
Рекомендуемый тип протекторов |
Количество протекторов (шт.), необходимое для защиты резервуара, и срок протекторов Т (лет) при уровне дренажной воды: |
|||||||
|
h = 0,15 м |
h = 0,25 м |
h = 0,5 м |
h = 1,0 м |
||||||||
|
N |
T |
N |
T |
N |
T |
N |
T |
||||
|
РВС-1000 |
Менее 1,0 |
Более 0,6 |
ПМР - 5 |
6 - 7 |
6,3 - 6,8 |
4 |
4,7 - 5,1 |
3 - 4 |
3,9 - 4,2 |
2 - 3 |
3,5 - 3,8 |
|
1,0 - 3,0 |
0,2 - 0,6 |
ПМР - 10 |
6 - 7 |
5,0 - 6,0 |
4 - 7 8 - 14* |
2,5 - 5,0 5,0 - 10,0 |
4 - 5 8 - 10* |
2,1 - 4,0 4,2 - 8,0 |
3 6* |
1,9 - 3,0 3,8 - 6,0 |
|
|
Более 3,0 |
Менее 0,2 |
ПМР - 20 |
7 - 9 14 - 18* |
2,8 - 6,0 5,6 - 12,0 |
7 - 8 14 - 16* |
2,6 - 4,0 5,1 - 8,0 |
5 10* |
2,1 - 3,5 4,1 - 7,0 |
3 - 4 6 - 8* |
1,9 - 3,3 3,9 - 6,6 |
|
|
Менее 1,0 |
Более 0,6 |
ПМР - 5 |
8 - 10 |
6,3 - 6,8 |
6 - 7 |
4,7 - 5,1 |
4 - 5 |
3,9 - 4,2 |
3 - 4 |
3,5 - 3,8 |
|
|
РВС-2000 |
1,0 - 3,0 |
0,2 - 0,6 |
ПМР - 10 |
10 |
5,0 - 6,0 |
7 - 9 14 - 18* |
2,5 - 5,0 5,0 - 10,0 |
5 - 6 10 - 12* |
2,1 - 4,0 4,2 - 8,0 |
4 8* |
1,9 - 3,0 3,8 - 6,6 |
|
Более 3,0 |
Менее 0,2 |
ПМР - 20 |
10 - 13 20 - 26* |
2,8 - 6,0 5,6 - 12,0 |
9 - 12 18 - 24* |
2,6 - 4,0 5,1 - 8,0 |
6 - 7 12 - 14* |
2,1 - 3,5 4,2 - 7,0 |
4 - 5 8 - 10* |
1,9 - 3,3 3,9 - 6,6 |
|
|
Менее 1,0 |
Более 0,6 |
ПМР - 5 |
13 - 15 |
6,3 - 6,8 |
9 - 10 |
4,7 - 5,1 |
7 - 8 |
3,8 - 4,2 |
4 - 6 |
3,5 - 3,8 |
|
|
РВС-3000 |
1,0 - 3,0 |
0,2 - 0,6 |
ПМР - 10 |
15 - 16 |
5,0 - 6,0 |
10 - 15 20 - 30* |
2,5 - 5,0 5,0 - 10,0 |
8 - 9 16 - 18* |
2,1 - 4,0 4,2 - 8,0 |
6 - 7 12 - 14* |
1,9 - 3,0 3,8 - 6,0 |
|
Более 3,0 |
Менее 0,2 |
ПМР - 20 |
16 - 19 32 - 38* |
2,8 - 6,0 5,6 - 12,0 |
15 - 18 30 - 36 |
2,6 - 4,0 5,1 - 8,0 |
9 - 11 18 - 22* |
2,1 - 3,5 4,1 - 7,0 |
7 - 8 14 - 16* |
1,9 - 3,3 3,9 - 6,6 |
|
|
Менее 1,0 |
Более 0,6 |
18 - 21 |
6,3 - 6,8 |
13 - 14 |
4,7 - 5,1 |
10 - 11 |
3,8 - 4,2 |
6 - 7 |
3,5 - 3,8 |
||
|
РВС-5000 |
1,0 - 3,0 |
0,2 - 0,6 |
ПМР - 10 |
21 - 22 |
5,0 - 6,0 |
14 - 20 28 - 40* |
2,5 - 5,0 5,0 - 10,0 |
11 - 14 20 - 28* |
2,1 - 4,0 4,2 - 8,0 |
7 - 9 14 - 18* |
1,9 - 3,0 3,8 - 6,0 |
|
Более 3,0 |
Менее 0,2 |
ПМР - 20 |
22 - 27 44 - 54* |
2,8 - 6,0 5,6 - 12,0 |
20 - 25 40 - 50* |
2,6 - 25 5,0 - 8,0 |
14 - 15 28 - 30* |
2,1 - 3,5 4,2 - 7,0 |
9 - 11 18 - 22* |
1,9 - 3,3 3,9 - 6,6 |
|
|
Менее 1,0 |
Более 0,6 |
ПМР - 5 |
39 - 47 |
6,3 - 6,8 |
30 - 32 |
4,7 - 5,1 |
21 - 24 |
3,8 - 4,2 |
15 - 16 |
3,5 - 3,8 |
|
|
РВС-10000 |
1,0-3,0 |
0,2-0,6 |
ПМР-10 |
47 - 50 |
5,0 - 6,0 |
32 - 46 64 - 92* |
2,5 - 5,0 5,0 - 10,0 |
24 - 30 48 - 60* |
2,1 - 4,0 4,2 - 8,0 |
16 - 19 32 - 38* |
1,9 - 3,0 3,8 - 6,0 |
|
Более 3,0 |
Менее 0,2 |
ПРМ-20 |
50 - 63 100 - 126* |
2,8 - 6,0 |
46 - 56 92 - 112* |
2,6 - 4,0 5,1 - 8,0 |
30 - 34 60 - 68 |
2,1 - 3,5 4,1 - 7,0 |
19 - 23 38 - 46* |
1,9 - 3,3 3,9 - 6,6 |
|
|
Менее 1,0 |
Более 0,6 |
ПРМ-5 |
66 - 83 |
5,6 - 12,0 |
48 - 59 |
4,7 - 5,1 |
35 - 43 |
3,8 - 4,2 |
24 - 28 |
3,5 - 3,8 |
|
|
РВС-20000 |
1,0-3,0 |
0,2-0,6 |
ПМР-10 |
83 - 97 |
6,3 - 6,8 |
59 - 73 118 - 146* |
2,5 - 5,0 5,0 - 10,0 |
43 - 53 86 - 106* |
2,1 - 4,0 4,2 - 8,0 |
28 - 34 56 - 68* |
1,9 - 3,0 3,8 - 6,0 |
|
Более 3 |
Менее 0,2 |
ПМР-20 |
97 - 123 194 - 246* |
5,0 - 6,0 2,8 - 6,0 |
73 - 87 146 - 174* |
2,6 - 4,0 5,2 - 8,0 |
53 - 63 126 - 106* |
2,1 - 3,5 4,2 - 7,0 |
34 - 41 68 - 82* |
1,9 - 3,3 3,9 - 6,6 |
|
|
*Протекторы подключаются к резервуару через дополнительное соединение. |
|||||||||||
|
_________________________________________________________________________ (Ведомство и эксплуатирующая организация) ПАСПОРТ Установки протекторов в резервуаре Номер резервуара ___________________________________________________________ Тип резервуара _____________________________________________________________ Дата пуска резервуара в эксплуатацию _________________________________________ Дата замены днища _________________________________________________________ Наличие изоляционного покрытия на днище и нижних поясах резервуара ___________ ___________________________________________________________________________ Тип ______________________________толщина _________________________________
«__» ________ 197__ г. ______________________________________ (Должность и подпись лица, заполнившего паспорт) Примечания: 1. В графе «Назначение» указывается, какие установлены протекторы (основные или контрольные). 2. Схема расстановки протекторов прилагается к паспорту. 3. К паспорту прилагаются акты ремонтов днища с указанием даты появления каверн и их количества. |
Форма записи в журнал при протекторной
защите
днища резервуара
|
Дата измерений |
№ резервуара |
Естественный потенциал днище-электролит при включенной протекторной защите (u), В |
Сила тока в цепи протектор-резервуар (J), А |
Примечание |
1. Томанов H.Д. Теория коррозии и защиты металлов. И., Изд-во АН СССР, 1962.
2. Уткин Б.К. Протекторная защита стальных резервуаров от коррозии, вызываемой подтоварной водой. М., ОНТИ ВНИИСТа, 1958.
3. Уткин В.К. Временное руководство по протекторной защите стальных резервуаров от коррозии, вызываемой дренажной водой. И., ОНТИ ВНИИСТа, 1960.
4. Финкельштейн П.Б. Защита стальных резервуаров от коррозии, вызываемой дренажной водой. «Газовое дело», 1966, № 5.
5. Рекомендации по технике безопасности при работах по электрической защите подземных стальных трубопроводов от коррозии. И., «Недра», 1966.
6. Рекомендации по протекторной защите днищ стальных резервуаров от коррозии, вызываемой дренажной (подтоварной) водой. И., ОНТИ ВНИИСТа, 1971.
7. Глазов Н.П., Уткин В.К. Защита стальных резервуаров от внутренней коррозии. Н., ЦНИИТЭнефтехим, 1973.