Меню
Навигация
Novatika
Novatika
Первая линия

Инструкция по эксплуатации индивидуальных экранирующих комплектов спецодежды для работы в электроустановках напряжением 400, 500 и 750 кВ частотой 50 Гц

Обозначение: РД 34.03.602
Название рус.: Инструкция по эксплуатации индивидуальных экранирующих комплектов спецодежды для работы в электроустановках напряжением 400, 500 и 750 кВ частотой 50 Гц
Статус: действует
Дата актуализации текста: 05.05.2017
Дата добавления в базу: 01.09.2013
Дата введения в действие: 10.07.1980
Утвержден: 10.07.1980 Минэнерго СССР (USSR Minenergo )
Опубликован: СПО Союзтехэнерго (1981 г. )
Ссылки для скачивания:

МИНИСТЕРСТВО ЭНЕРГЕТИКИ И ЭЛЕКТРИФИКАЦИИ СССР

ОТДЕЛ ПО ТЕХНИКЕ БЕЗОПАСНОСТИ И ПРОМЫШЛЕННОЙ САНИТАРИИ

 

ИНСТРУКЦИЯ
ПО ЭКСПЛУАТАЦИИ
ИНДИВИДУАЛЬНЫХ ЭКРАНИРУЮЩИХ
КОМПЛЕКТОВ СПЕЦОДЕЖДЫ
ДЛЯ РАБОТЫ В ЭЛЕКТРОУСТАНОВКАХ
НАПРЯЖЕНИЕМ 400, 500 И 750 кВ
ЧАСТОТОЙ 50 Гц

 

 

СОЮЗТЕХЭНЕРГО

Москва 1981

 

Составлено Специальным конструкторско-технологическим бюро по высоковольтной и криогенной технике и Производственным объединением по наладке и совершенствованию технологии и эксплуатации электростанций и сетей «Союзтехэнерго»

Составители: инженеры М.В. ХОМЯКОВ, А.М. ХОМЯКОВ (СКТБ ВКТ), В.П. КОРОБКОВА, М.Д. СТОЛЯРОВ (Союзтехэнерго)

Инструкция предназначена для персонала энергосистем, занимающегося эксплуатацией и ремонтом оборудования подстанций и воздушных линий электропередачи напряжением 400, 500 и 750 кВ, а также для персонала строительно-монтажных и наладочных организаций, производящих работы в действующих установках указанных напряжений и в зоне влияния ВЛ.

С выходом в свет настоящей Инструкции отменяется Инструкция 356.00.00.000 ИЗ «Одежда экранирующая для работы на ВЛ и подстанциях 400 кВ и выше промышленной частоты» (М.: СКТБ ВКТ Мосэнерго, 1975).

 

СОГЛАСОВАНО:

Зав. отделом охраны труда ЦК профсоюза рабочих электростанции и электротехнической промышленности СССР

А.С. ГОРОШКЕВИЧ

30 июня 1980 г.

УТВЕРЖДАЮ:

Начальник отдела по технике безопасности и промышленной санитарии Минэнерго СССР

Р.А. ГАДЖИЕВ

10 июля 1980 г.

1. ВВЕДЕНИЕ

1.1. Настоящая Инструкция устанавливает правила технической эксплуатации индивидуальных экранирующих комплектов спецодежды, предназначенных для защиты человека от воздействия электрического поля, создаваемого электроустановками напряжением 400, 500 и 750 кВ частотой 50 Гц.

1.2. Инструкция предназначена для персонала:

- обслуживающего действующие подстанции и ВЛ напряжением 400, 500 и 750 кВ;

- обслуживающего действующие электроустановки любого напряжения (воздушные, кабельные линии, линии связи и пр.) в зоне влияния ВЛ напряжением 400, 500 и 750 кВ;

- производящего строительные, монтажные и наладочные работы на действующих подстанциях и в зоне влияния ВЛ напряжением 400, 500 и 750 кВ.

1.3. Инструкция содержит сведения о типе и конструкции экранирующих комплектов, порядке их подготовки к проведению работ, электробезопасности, проверке технического состояния, правилах хранения, ремонта, транспортирования.

1.4. Помимо настоящей Инструкции следует руководствоваться действующими:

- Правилами пользования и испытания защитных средств, применяемых в электроустановках;

- Правилами техники безопасности при эксплуатации электроустановок;

- Нормами и правилами по охране труда при работах на подстанциях и воздушных линиях электропередачи напряжением 400, 500 и 750 кВ переменного тока промышленной частоты;

- ГОСТ 12.1.002-75 ССБТ. Электрические поля токов промышленной частоты напряжением 400 кВ и выше. Общие требования.

2. ОБЩИЕ УКАЗАНИЯ

2.1. Экранирующие комплекты предназначены для индивидуальной защиты персонала от воздействия электрического поля при работах в электроустановках напряжением 400, 500 и 750 кВ частотой 50 Гц при напряженности электрического поля до 60 кВ/м.

2.2. Экранирующие комплекты не предназначены для работы:

а) под напряжением с непосредственным касанием токоведущих частей;

б) при напряженности электрического поля более 60 кВ/м.

2.3. Экранирующий комплект включает спецодежду, спецобувь, средства защиты головы и рук, защитный экран для лица (комплектуется при необходимости см. п. 3.2), заземляющие проводники со струбцинами.

2.4. Экранирующие комплекты изготовляются по ТУ 34-28-17003-78 трех типов:

- ЭПР - для ремонтного персонала ВЛ и подстанций (летний);

- ЭПХ - для дежурного персонала подстанций (летний);

- ЭПЗ - для ремонтного персонала ВЛ (зимний).

2.4.1. В экранирующий комплект ЭПР входит:

а) экранирующая спецодежда в виде куртки с капюшоном и полукомбинезона, выполненные из ткани с электропроводящими волокнами;

б) каска с электропроводящим покрытием или с накасником из ткани с электропроводящим волокном;

в) ботинки кожаные на электропроводящей подошве с экранирующей межподкладкой;

г) резиновые сапоги из электропроводящей резины;

д) электропроводящие перчатки и рукавицы (2 пары);

е) заземляющие проводники со струбцинами.

2.4.2. Экранирующий комплект ЭПХ аналогичен комплекту ЭПР и отличается экранирующей спецодеждой. Она состоит из халата с капюшоном из ткани с электропроводящим волокном.

2.4.3. В экранирующий комплект ЭПЗ входит:

а) экранирующая спецодежда в виде куртки с капюшоном и брюк на обычной ткани с утепленной подкладкой и межподкладкой из ткани с электропроводящими волокнами;

б) каска с электропроводящим покрытием или с накасником из ткани с электропроводящим волокном;

в) галоши из электропроводящей резины, надеваемые на валенки;

г) резиновые сапоги из электропроводящей резины;

д) электропроводящие перчатки и рукавицы (2 пары);

е) заземляющие проводники со струбцинами.

В холодное время года комплекты летней экранирующей спецодежды типов ЭПР и ЭПХ могут применяться с зимней спецодеждой общего назначения, надеваемой поверх экранирующей спецодежды.

2.5. Комплекты экранирующей спецодежды изготавливаются трех размеров: малый, средний и большой.

Комплект малого размера включает: верхнюю спецодежду 48-го размера, IV роста; обувь 41-го (26,5) размера и галоши 27-го размера.

Комплект среднего размера включает верхнюю спецодежду 52-го размера, V роста; обувь 43-го (27) размера и галоши 29-го размера.

Комплект большого размера включает верхнюю спецодежду 56-го размера, V роста; обувь 45-го (29,5) размера и галоши 31-го размера.

Костюмы свыше 56-го размера и V роста изготавливаются по особому заказу потребителей.

Перчатки (рукавицы) изготовляются 10 (1), 12 (2) и 14 (3) размеров соответственно для малого, среднего и большого размеров комплекта.

Накасник изготовляется одного размера на все типы касок.

2.6. Все элементы экранирующих комплектов снабжены контактными выводами с кнопками для надежного соединения их между собой и создания электрической связи при заземлении экранирующей спецодежды через обувь или специальный проводник, оканчивающийся струбциной.

2.7. Запрещается стирка экранирующей спецодежды из-за возможной потери электропроводящей способности ткани. Костюмы по мере надобности могут подвергаться химической чистке в органических растворителях (трихлорэтилен, перхлорэтилен).

2.8. Экранирующая спецодежда комплекта типа ЭПР должна надеваться на нижнее белье или рабочую одежду. Экранирующие халаты и зимняя экранирующая спецодежда надеваются на рабочую одежду.

Экранирующие комплекты ЭПР и ЭПЗ выдаются для индивидуального пользования и закрепляются за конкретными работниками в соответствии с Инструкцией о порядке выдачи, хранения и пользования спецодеждой, спецобувью и предохранительными приспособлениями. Экранирующие комплекты типа ЭПХ могут быть общего пользования, но спецобувь, входящая в него, должна закрепляться за каждым работающим. Каждый комплект должен быть пронумерован.

2.9. Допустимое время непрерывной работы в летних экранирующих комплектах определяется температурой окружающей среды и приводится ниже:

Температура воздуха, °С                              До 25                              30      35     42

Время пребывания в комплекте, ч              Не ограничивается        3,0     1,5    1

В каждом интервале указанных температур допустимая продолжительность работы в экранирующих комплектах должна определяться интерполяцией.

При температуре выше 42 °С применение экранирующих комплектов не рекомендуется.

Работы в экранирующей спецодежде при температуре окружающего воздуха выше 25 °С рекомендуется переносить на утренние или вечерние часы.

3. ТРЕБОВАНИЯ БЕЗОПАСНОСТИ

3.1. Все элементы комплекта, как правило, должны применяться совместно, соединяться между собой с помощью контактных выводов с кнопками и заземляться (п. 5.4).

Допускается снятие рукавиц (п. 5.4) и экрана для лица (п. 3.2) в зависимости от характера и условий выполнения работ.

3.2. Экран для защиты открытых частей лица должен применяться в тех случаях, когда источник поля находится перед работающим и напряженность поля на рабочем месте превышает 30 кВ/м.

3.3. Заземление экранирующих комплектов может осуществляться в зависимости от характера работ в соответствии с требованиями п. 5.4.

3.4. Запрещается применение экранирующих комплектов в тех случаях, когда возможно прикосновение к токоведущим частям, находящимся под напряжением, в частности, при работах на панелях, в электрических приводах, действующих сборках и в цепях напряжением до 1000 В, при профилактических испытаниях оборудования (для лиц, непосредственно производящих испытания) и при электросварочных работах. Защита работающих в этих случаях должна осуществляться с помощью стационарных или переносных экранирующих устройств.

4. ПОДГОТОВКА К РАБОТЕ В ЭКРАНИРУЮЩЕМ КОМПЛЕКТЕ

4.1. С помощью карты напряженности электрического поля или прибора для измерения напряженности устанавливается необходимость использования комплекта согласно «Нормам и правилам по охране труда при работах на подстанциях и воздушных линиях электропередачи напряжением 400, 500 и 750 кВ переменного тока промышленной частоты» (М.: СЦНТИ ОРГРЭС, 1972).

При отсутствии данных о напряженности электрического поля на рабочих местах следует определить границу зоны влияния в соответствии с указаниями вышеупомянутых Норм.

4.2. Перед началом работы экранирующий комплект подвергается наружному осмотру для определения возможности его использования и в соответствии с номером комплекта уточняется по журналу проверки защитных средств срок проверки технического состояния. Запрещается пользоваться комплектом при несоответствии срока годности, при обнаружении разрывов ткани или спецобуви, при неисправном состоянии контактных устройств.

5. ПОРЯДОК РАБОТЫ

5.1. Надев экранирующий комплект, соедините все его элементы между собой, а именно:

- вывод на спинке куртки или халата присоедините к накаснику или к каске;

- выводы в боковых швах куртки присоедините к контактным выводам у пояса брюк;

- выводы на рукавах куртки (халата) присоедините к экранирующим перчаткам или рукавицам;

- выводы в низках брюк или у пол халата соедините с обувью;

- при необходимости использования защитного экрана для лица прикрепите его с помощью кнопок к капюшону.

5.2. Используйте защитную спецодежду в комплекте. При работах с накинутым капюшоном допускается применение обычной каски или шапки. При работах с откинутым капюшоном применяйте экранирующую каску.

5.3. В процессе работы постоянно следите за исправным состоянием контактных устройств и их надежным соединением.

5.4. Заземляйте комплект в зависимости от характера проводимых работ одним из способов, указанных в таблице.

Вид работы

Способ заземления экранирующего комплекта

1. Работы на высоте. Подъем на опоры или металлоконструкции

Заземление экранирующего комплекта производится через экранирующую обувь. Применение перчаток (рукавиц) обязательно

2. Работы на высоте.

Человек стоит на изолирующем основании (изолятор, окрашенный металл, деревянный настил, подмости и т.д.)

Заземление экранирующего комплекта производится проводником со струбциной. Применение перчаток (рукавиц) не обязательно

3. Работы на высоте.

Человек стоит на электропроводящем основании (неокрашенный металл, металлическая сетка и т.д.)

Заземление экранирующего комплекта производится через экранирующую спецобувь. Заземление дополнительно проводником со струбциной обязательно только при снятии перчаток (рукавиц)

4. Работы на земле.

Обход ОРУ, осмотр оборудования без прикосновения к заземленным частям оборудования и конструкциям

Заземление производится через экранирующую спецобувь

5. Работы на земле.

Работы производятся с прикосновением голой рукой к заземленным частям оборудования и конструкциям

Заземление экранирующего комплекта производится проводником со струбциной

6. Работы на земле.

Работы под ВЛ (осмотр ВЛ и трассы) без прикосновения к заземленным частям конструкций

Заземление экранирующего комплекта производится через экранирующую спецобувь

7. Работы на земле.

Ручная расчистка трассы ВЛ от древесно-кустарниковой растительности

Заземление экранирующего комплекта производится через экранирующую спецобувь. Перчатки (рукавицы) обязательны

При перемещении на месте работ пересоединяйте заземляющие проводники (если они используются для заземления) таким образом, чтобы один из них всегда был подсоединен к заземлителю.

5.5. При покрасочных работах поверх экранирующей спецодежды надевайте спецодежду, предназначенную для покрасочных работ. При этом экранирующий комплект должен заземляться посредством заземляющих проводников.

5.6. Запрещается работать в экранирующем комплекте под дождем без плаща или другой защиты от намокания.

Запрещается отжимать намокшую экранирующую спецодежду. Ее необходимо развесить на вешалках и просушить.

6. ПРОВЕРКА ТЕХНИЧЕСКОГО СОСТОЯНИЯ И ИЗМЕРЕНИЕ ПАРАМЕТРОВ ЭКРАНИРУЮЩИХ КОМПЛЕКТОВ

6.1. Ответственность за правильное использование, испытание и хранение экранирующих комплектов возлагается на лицо, назначаемое из числа ИТР отдельным распоряжением по предприятию. Лица, проводящие испытания комплектов, также назначаются распоряжением по предприятию.

6.2. Проверка технического состояния каждого экранирующего комплекта должна производиться:

а) перед началом эксплуатации;

б) в процессе эксплуатации 1 раз в 3 мес.;

в) после ремонта комплекта или его элементов;

г) в процессе хранения на складе 1 раз в год.

Результаты проверки оформляются записью в журнале проверки защитных средств.

6.3. Проверка технического состояния включает:

а) внешний осмотр экранирующих комплектов;

б) измерение сопротивления постоянному току экранирующей спецодежды и спецобуви.

6.4. При осмотре экранирующей спецодежды, головного убора, спецобуви следует обращать внимание на состояние ткани, швов, контактных элементов и подошв.

Надежность контактных соединений между одеждой и другими элементами комплекта проверяется визуально.

При обнаружении дефектов (обрыв соединительного элемента, неисправность контактного устройства, истирание или отставание подошвы, разрывы или сильная деформация верха обуви и т.д.) дефектные элементы экранирующих комплектов заменяются новыми или отремонтированными.

6.5. Измерение сопротивления постоянному току экранирующей спецодежды и спецобуви производится раздельно.

При измерении сопротивления постоянному току экранирующая спецодежда развешивается на вешалках. Куртка и брюки электрически соединяются посредством контактных выводов. Измерение сопротивления постоянному току производить мегаомметром на напряжение 500 В или омметром. Определяется сопротивление между контактным выводом у воротника и каждым выводом в низках брюк, у пол халата и рукавов. Измеренное сопротивление не должно превышать 10 кОм. При сопротивлении более 10 кОм экранирующая спецодежда бракуется.

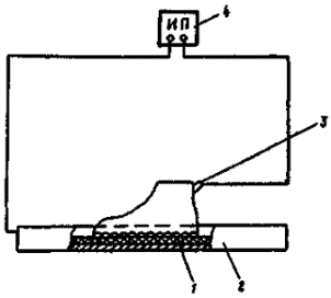
Сопротивление постоянному току кожаной и резиновой экранирующей спецобуви должно измеряться мегаомметром 4 (см. рисунок) на напряжение 500 или 1000 В. Определяется сопротивление между контактным выводом 3 и металлической ванной 2, в которую необходимо помещать каждую полупару. Под спецобувь подкладывается два-три слоя хлопчатобумажной ткани 1, обильно смоченной 1,5 %-ным водным раствором поваренной соли (15 г на 1 л воды). Значение сопротивления должно быть не более 10 кОм. Экранирующая спецобувь, не удовлетворяющая этому требованию, должна быть изъята из эксплуатации и заменена новой.

Схема измерения электрического сопротивления электропроводящей спецобуви

7. ПРАВИЛА ХРАНЕНИЯ, РЕМОНТА И ТРАНСПОРТИРОВАНИЯ

7.1. Экранирующие комплекты должны храниться в сухих отапливаемых помещениях при температуре воздуха от 2 до 30 °С с относительной влажностью не более 80 %.

7.2. Экранирующие комплекты следует предохранять от воздействия влаги и агрессивных сред.

7.3. Экранирующие комплекты должны храниться в специальных шкафах: экранирующая спецодежда - на вешалках, а экранирующая спецобувь - на полках.

Спецодежда и спецобувь должны периодически чиститься и своевременно ремонтироваться.

7.4. Допускается производить ремонт элементов экранирующего комплекта спецодежды с целью восстановления электрической проводимости и улучшения внешнего вида (ликвидация разрывов швов и ткани на отдельных участках куртки, брюк, халата, отрывов карманов и контактных выводов), допускается ремонт накасника и экранирующих перчаток (рукавиц). Запрещается при ремонте заменять электропроводящую ткань тканью общего назначения.

Ремонт экранирующей спецобуви с целью восстановления электрической проводимости в эксплуатации не производится. Допускаются лишь мелкий ремонт с целью улучшения внешнего вида (устранения отслаивания подошв, разрывов по швам и т.п.).

7.5. Перевозка экранирующих комплектов разрешается любым видом транспорта при условии защиты их от механических повреждений, влаги, масла и агрессивных сред.

7.6. Запрещается переносить и подвешивать части комплекта за контактные выводы.

 

СОДЕРЖАНИЕ