Меню
Навигация
Первая линия
Novatika
Novatika

Требования к организации и проведению работ по монтажу (демонтажу) грузоподъемных кранов

РД распространяется на грузоподъемные краны (башенные, мачтовые, стреловые несамоходные краны и краны-лесопогрузчики) . Требования настоящего РД могут быть использованы при организации и проведении работ по монтажу и других кранов.

Обозначение: РД 22-28-37-02
Название рус.: Требования к организации и проведению работ по монтажу (демонтажу) грузоподъемных кранов
Статус: действует
Дата актуализации текста: 05.05.2017
Дата добавления в базу: 01.09.2013
Дата введения в действие: 01.10.2002
Утвержден: 03.03.2002 ФГУП СКТБ БК
Опубликован: НТЦ Промышленная безопасность (2005 г. (выпуск 62))
Ссылки для скачивания:

 

Согласован

 

Утвержден

с Госгортехнадзором России

 

ФГУП «СКТБ БК»

письмом от 03.09.02 № 12-07/736

 

03.03.02 г.

 

Срок введения 01.10.02 г.

 

 

 

ТРЕБОВАНИЯ
К ОРГАНИЗАЦИИ И ПРОВЕДЕНИЮ РАБОТ
ПО МОНТАЖУ (ДЕМОНТАЖУ) ГРУЗОПОДЪЕМНЫХ КРАНОВ

РД 22-28-37-02

1. ОБЛАСТЬ ПРИМЕНЕНИЯ

1.1. Настоящий руководящий документ (РД) распространяется на грузоподъемные краны (башенные, мачтовые, стреловые несамоходные краны и краны-лесопогрузчики) (далее - краны). Требования настоящего РД могут быть использованы при организации и проведении работ по монтажу и других кранов.

1.2. Настоящий документ устанавливает технические требования к организации и проведению работ по монтажу (демонтажу) кранов, а также к разработке регламентов, связанных с монтажом (демонтажом) кранов.

1.3. РД рассчитан на его использование следующими организациями:

владельцами кранов;

монтажными организациями, проводящими монтаж (демонтаж) кранов;

организациями, разрабатывающими и выполняющими устройство рельсовых крановых путей и фундаментов под кран;

проектными организациями, разрабатывающими регламенты и другие документы, относящиеся или связанные с монтажом кранов: ИМ, ДКМ, ПРп, ПОС, ППРк, ППРм, должностные и производственные инструкции.

2. НОРМАТИВНЫЕ ССЫЛКИ

В настоящем РД использованы ссылки на нормативные документы, приведенные в приложении А.

3. ТЕРМИНЫ И ОПРЕДЕЛЕНИЯ

В настоящем РД применяются следующие термины с соответствующими определениями:

3.1. Монтаж крана - комплекс операций, необходимых для перевода крана из транспортного положения в рабочее с проведением необходимых пусконаладочных работ и испытаний.

3.2. Демонтаж крана - комплекс операций, необходимых для перевода крана из рабочего в транспортное положение.

3.3. Опасная зона - пространство, в котором возможно воздействие на человека опасного и (или) вредного производственного фактора (падающего груза, электрического разряда).

3.4. Монтажная площадка - площадка, требующаяся для безопасного монтажа (демонтажа) крана, на которой размещаются узлы крана в процессе его монтажа, пути движения монтажного технологического крана и дорога для транспортных средств для завоза (заезда) крана и (или) его узлов.

3.5. Рельсовый путь - конструкция, воспринимающая и передающая нагрузки от крана, оборудованного рельсовым ходовым устройством, на земляное основание и обеспечивающая безопасную работу крана на всем пути его передвижения.

3.6. Монтажный участок пути - часть рельсового пути, укладываемого только на период монтажа грузоподъемного крана и не препятствующая завозу монтажного крана на запроектированный путь (за пределами монтажного участка) при сборке элементов монтируемого грузоподъемного крана.

3.7. Регламенты по безопасной эксплуатации кранов - документы, содержащие обязательные нормы (требования) по обеспечению условий для безопасной эксплуатации крана. К регламентам по безопасной эксплуатации, связанным с обеспечением безопасности монтажных работ, относятся: проекты производства работ кранами (ППРк) и работ по монтажу кранов (ППРм), проекты рельсового пути (ПРп), проекты организации строительства (ПОС), инструкции по монтажу крана (ИМ), технологические карты на монтаж (демонтаж) крана (ДКМ), технические условия на погрузку-разгрузку и на складирование грузов, схемы строповки, должностные и производственные инструкции.

3.8. Регламент по монтажу - документ, регламентирующий требования, относящиеся только к проведению монтажа (демонтажа) крана. К регламентам по монтажу в настоящем РД отнесены: инструкции по монтажу крана (ИМ), альбомы технологических карт на монтаж (демонтаж) крана (ДКМ) и проекты организации работ по монтажу крана (ППРм).

3.9. Инструкция по монтажу крана (ИМ) - эксплуатационный документ, выпущенный предприятием-изготовителем и регламентирующий требования к проведению и последовательности выполнения монтажа, демонтажа и перевозки крана.

3.10. Альбом технологических карт на монтаж (демонтаж) крана (ДКМ) - документ, подготовленный специализированной организацией и включающий пооперационные карты монтажных операций (с указанием операций и переходов при монтаже крана в последовательности, принятой в ИМ, схем строповки, типа монтажного крана и мест его установки, а также мер безопасности). Технологические карты в соответствии с ГОСТ 2.102 обозначаются как ДКМ, где Д - дополнительные документы, не предусмотренные основным перечнем, КМ - карты на монтаж (демонтаж) крана.

3.11. Проект рельсового пути (ПРп) - проект, подготовленный специализированной или головной организацией и регламентирующий требования к конструкции и устройству рельсового пути.

3.12. Проект организации строительства (ПОС) - проектно-сметная документация, разработанная специализированной организацией и регламентирующая требования к планировке, выбору технических и монтажных средств, а также методов работ на объекте, обеспечивающих выполнение нормативных требований по безопасности труда.

3.13. Проект производства работ кранами (ППРк) - производственная документация (проект), разработанная специализированной организацией и регламентирующая технические средства и методы производства работ, технические решения и организационные мероприятия по обеспечению безопасности труда, планировку работ на объекте с указанием зоны работы крана, мест складирования грузов, опасных зон и ограждений. В состав ППРк может входить как составная часть и ППРм.

3.14. Проект производства работ при монтаже крана (ППРм) - организационно-технологическая документация, разработанная специализированной организацией и регламентирующая требования к планировке, организации и проведению работ по завозу и монтажу крана, размещению мест складирования монтируемых элементов, мест установки монтажного крана, дорог и опасных зон на период монтажа крана. ППРм может выполняться как самостоятельный проект, но может входить в виде составной части в ППРк.

3.15. Полный монтаж (демонтаж) крана - монтаж крана из транспортного положения крана в рабочее (или обратно).

3.16. Частичный монтаж (демонтаж) - монтаж (демонтаж) отдельных узлов крана (например, только наращивание башни, перевод стрелы в наклонное положение, замена стрелы, противовеса и других узлов).

3.17. Быстромонтируемый кран - башенный кран, монтируемый на объекте с помощью собственных механизмов, без верхолазных работ и с оперативным временем монтажа не более 30 минут.

3.18. Стационарный кран - кран, опорная часть которого на период выполнения строительно-монтажных работ жестко крепится к основанию (к фундаменту, к рельсовому пути захватами либо к стационарно уложенным железобетонным опорным плитам).

3.19. Приставной кран - стационарный кран, башня которого при большой высоте подъема крепится к возводимому сооружению.

3.20. Универсальный кран - кран, выполненный на рельсовом ходовом устройстве, который до определенной высоты может передвигаться по рельсам, а при большой высоте работать как стационарный кран (в том числе и как приставной кран) с жестким креплением к рельсовому пути.

3.21. Кран в мобильном исполнении - кран, перевозимый с объекта на объект в составе автопоезда «кран-тягач» с минимумом разборки узлов, в том числе электрооборудования и канатных систем.

3.22. «Сити»-кран - кран, предназначенный для работы и монтажа в стесненных условиях городской застройки, монтируемый сразу в рабочее положение, как правило, из 4-5 укрупненных узлов.

3.23. Монтажный кран - стреловой технологический кран, используемый для монтажа (демонтажа) башенного крана.

3.24. Якорное устройство (якорь) - устройство для закрепления на земле или на рельсовом пути канатных оттяжек, полиспастов, монтажной лебедки, сошников, служащее для подъема крана в рабочее положение с помощью монтажных стрел или шевров.

3.25. Наращивание башни - способ увеличения рабочей высоты башни путем монтажа ее промежуточных секций сверху.

3.26. Подращивание башни - способ увеличения рабочей высоты башни путем монтажа ее промежуточных секций снизу.

3.27. Владелец крана - организация, на балансе которой находится кран. В случае сдачи крана в аренду функции владельца выполняет арендатор.

3.28. Монтажная организация - организация, производящая монтаж (демонтаж) крана. Функции монтажной организации может выполнять и владелец крана.

3.29. Специализированная организация - организация, имеющая соответствующие разрешения органов госгортехнадзора на выполнение определенных видов работ.

3.30. Головная организация - организация, уполномоченная Госгортехнадзором России выполнять функции специализированных организаций в полном объеме, разрабатывать нормативные документы по кранам, проводить экспертизу проектов и регламентов и других работ, оговоренных Правилами (ПБ 10-382-00). Головной организацией по монтажу башенных кранов является ФГУП СКТБ БК.

3.31. Эксплуатация - стадия жизненного цикла крана, на которой реализуется, поддерживается и восстанавливается его качество. Эксплуатация крана включает в себя в общем случае использование по назначению (работу), транспортирование, монтаж, хранение, техническое обслуживание и ремонт крана.

4. ВИДЫ И СПОСОБЫ МОНТАЖА

4.1. Положения настоящего РД регламентируют требования к следующим типам кранов, отличающимся схемами монтажа:

быстромонтируемые краны;

краны с поворотной башней и нижним расположением противовеса:

не требующие подращивания башни;

с подращиванием башни для увеличения высоты подъема;

краны с верхним расположением противовеса:

со сборкой крана на земле в горизонтальном положении и с устройством якорей;

с последовательным поузловым монтажом крана сразу в рабочее положение (с последующим наращиванием башни при большой высоте подъема и с креплением к зданию у приставных кранов).

Конструктивные схемы кранов и соответствующие им схемы монтажа приведены в табл. 1.


Таблица 1

Конструктивные схемы кранов и соответствующие им схемы монтажа

Наименование

Быстро-монтируемые краны

Краны с поворотной башней

Краны с верхним расположением противовеса

без подращивания

с подращиванием

монтаж с устройством якорей

без устройства якорей

без наращивания башни

с наращиванием башни

с наращиванием башни и креплением к зданию

Индексы кранов-аналогов

КБ-203
КБ-210
АБКС-5
АБКС-6

КБ-100
КБ-100.1
КБ-100.3

КБ-308
КБ-403
КБ-405
КБ-408
КБ-503
КБ-504

БКСМ-7-5Г
КБ-572 (1-й способ монтажа)
БК-1000

КБ-572 (2-й способ монтажа)

КБ-674

КБ-676
КБ-473

Конструктивные схемы кранов

Схемы монтажа кранов


4.2. Способ завоза (заезда) крана или его узлов на монтажную площадку следует принимать исходя из степени мобильности крана.

При разработке требований по монтажу кранов учитывались следующие способы перевозки и завоза (заезда) крана к месту монтажа (рис. 1):

заезд собственным ходом - для быстромонтируемых кранов;

завоз посредством автопоезда «кран-тягач» - для кранов в мобильном исполнении;

завоз крана укрупненными узлами с помощью автотранспортных средств общего назначения.

 

Рис. 1. Схемы перевозки и завоза (заезда) кранов к месту монтажа:
а - быстромонтируемого крана; б - крана в мобильном исполнении;
в - крана с разборкой на узлы;

1 - автомобиль-шасси крана; 2 - тягач; 3 - подкатная тележка;
4 - отдельные узлы крана

Конкретные требования по заезду (завозу) крана к месту монтажа приводятся в разд. 7.

4.3. По объему выполняемых работ следует различать:

полный монтаж (демонтаж) крана;

частичный монтаж (демонтаж) крана.

4.3.1. Полный монтаж крана должен производиться:

после перевозки крана на новый объект;

после проведения капитального или капитально-восстановительного ремонта, проводимого с разборкой крана на узлы.

4.3.2. Частичный монтаж крана может производиться в следующих случаях:

при замене отдельных узлов (стрелы, противовеса, механизмов, канатов и др.);

при наращивании (подращивании) башни;

при переводе балочной стрелы в наклонное положение.

4.4. В настоящем РД рассматриваются требования, относящиеся к полному монтажу (демонтажу) крана, но они могут быть использованы и при частичном монтаже (демонтаже) крана.

5. ТРЕБОВАНИЯ К ОРГАНИЗАЦИИ РАБОТ ПРИ МОНТАЖЕ
(ДЕМОНТАЖЕ) КРАНА

5.1. Работы по монтажу (демонтажу) крана должны проводиться по договору между владельцем крана и монтажной организацией. В договорах должна оговариваться ответственность владельца за сохранность крана в процессе монтажа (демонтажа). За сохранность может отвечать и строительная организация, возводящая объект, где монтируется (демонтируется) кран. В случае если владелец одновременно выполняет функции монтажной организации, указанные договоры не составляются.

5.2. Весь комплекс работ по монтажу (демонтажу) крана включает подготовительные и собственно монтажные работы. К подготовительным относятся следующие работы:

оформление отношений между заказчиком и монтажной организацией;

разработка регламентных документов, связанных с монтажом крана;

подготовка монтажной площадки и рельсового пути;

подготовка монтируемого крана и монтажного оборудования.

К собственно монтажным работам относятся:

монтаж крана;

пусконаладочные работы;

испытания крана и сдача его заказчику.

5.3. Организация работ, способы и порядок монтажа (демонтажа) крана, применяемые при этом грузоподъемные машины, оборудование и инструмент, состав монтажной бригады следует принимать в соответствии с требованиями, изложенными в заводской Инструкции по монтажу (ИМ) крана, а также с детальными уточнениями, записываемыми в альбомах технологических карт на монтаж (демонтаж) (ДКМ) данного типа крана КБ-ХХХ ДКМ (где XXX - индекс конкретного башенного крана), и требованиями настоящего РД.

5.4. Монтаж кранов, а также устройство рельсового пути и разработку регламентов, связанных с монтажом крана, должны проводить организации, имеющие разрешения на проведение соответствующих работ, полученные в установленном Госгортехнад-зором России порядке.

5.5. Монтажные организации должны:

иметь квалифицированный аттестованный персонал, способный проводить монтажные работы (в том числе на большой высоте) с соблюдением соответствующих правил безопасности;

быть оснащены необходимым оборудованием, включая монтажные технологические краны, автотранспорт, сварочное и газорезательное оборудование (при необходимости), монтажные и такелажные средства (козлы, лебедки, полиспасты, стропы, шпалы, домкраты, инструмент и др.). Допускается аренда части или всего оборудования;

иметь систему контроля за качеством работ с применением сварки и соблюдением рабочим персоналом требований регламентов по монтажу (ИМ, ДКМ, ППРм);

иметь надлежащую организацию хранения узлов, комплектующих изделий и сварочных материалов (электродов, сварочной проволоки, флюсов), исключающую их порчу и выдачу на монтаж некачественных узлов и материалов.

5.6. Для руководства работами по монтажу (демонтажу) крана приказом по организации, выполняющей эти работы, из числа инженерно-технических работников должно быть назначено лицо (производитель работ - прораб), ответственное за безопасное производство работ по монтажу (демонтажу), а также за безопасное производство работ по перемещению узлов монтажными кранами.

5.7. Монтаж должен выполняться бригадой монтажников, как правило, из 4 - 5 человек, в том числе 1 - 2 человека монтажников-электриков. В состав монтажной бригады может входить и крановщик монтажного крана. Состав бригады для монтажа конкретного крана в зависимости от сложности крана должен быть определен в Альбоме ДКМ или Инструкции по монтажу.

5.8. К управлению краном (кроме быстромонтируемого) и строповке грузов могут допускаться монтажники после соответствующего инструктажа и проверки навыков по управлению краном и строповке грузов в порядке, установленном монтажной организацией.

5.9. Монтаж (демонтаж) быстромонтируемого крана должен осуществляться крановщиком данного крана, прошедшим специальное обучение (если требование о необходимости такого обучения записано в эксплуатационной документации).

5.10. Проведение монтажа крана, отработавшего нормативный срок службы и у которого закончился разрешенный срок эксплуатации (после предыдущего обследования), допускается при выполнении следующих условий:

в пределах до 3 месяцев сверх разрешенного срока эксплуатации (см. РД 22-28-36) решение принимает владелец без каких-либо согласований, но с проведением перед монтажом полного объема работ по техническому обслуживанию крана;

при монтаже крана более чем через 3 месяца после окончания разрешенного срока эксплуатации решение о целесообразности и возможности монтажа, а также дальнейшей эксплуатации принимает владелец крана по заключению специализированной организации по обследованию кранов.

5.11. Монтажная организация до начала монтажных работ должна принять кран от заказчика с оформлением Акта приемки. При приемке проверяют наличие технической документации, комплектность оборудования по спецификации, наличие консервационной смазки. В случае если кран до монтажа хранился на складе более установленного срока, предохранительная смазка должна быть удалена до начала монтажных работ.

6. ТРЕБОВАНИЯ К РАЗРАБОТКЕ РЕГЛАМЕНТОВ, СВЯЗАННЫХ С БЕЗОПАСНОСТЬЮ РАБОТ ПРИ МОНТАЖЕ

6.1. Общие требования

6.1.1. Кран должен поставляться предприятием-изготовителем с комплектом эксплуатационных документов (ЭД): паспортом (ПС), Руководством по эксплуатации (РЭ) и Инструкцией по монтажу (ИМ).

6.1.2. Особенностью эксплуатационных документов является то, что они разрабатываются на типовые условия эксплуатации и, естественно, не могут учитывать конкретных местных условий проведения работ.

6.1.3. В соответствии с требованиями подпункта 9.4.2г Правил (ПБ 10-382-00) на основе ЭД, в частности ИМ для конкретных условий должен быть разработан ряд документов-регламентов (или уточнены существующие) с введением требований применительно к реальным объектам и условиям производства монтажно-демонтажных работ. К этим документам следует отнести:

Альбом технологических карт на монтаж (демонтаж) крана (ДКМ);

проект рельсового пути (ПРп);

проект организации строительства (ПОС);

проект производства работ кранами (ППРк);

проект производства работ при монтаже крана (ППРм);

должностные и производственные инструкции;

технические условия (ТУ) на погрузку и разгрузку при монтажно-демонтажных работах;

схемы строповки грузов и их складирования.

6.1.4. В настоящем РД в пп. 6.2 - 6.7 приводятся требования по уточнению ИМ, а также по разработке и конкретизации ДКМ, ПРп, ПОС, ППРк, ППРм, должностных и производственных инструкций.

6.1.5. Схемы строповки грузов и схемы их складирования, а также ТУ на погрузку и разгрузку при монтаже (демонтаже) крана могут быть либо выполнены в виде самостоятельных регламентов, либо входить в состав ДКМ.

6.1.6. Для быстромонтируемых кранов, когда подготовку к монтажу, монтаж, пускорегулировочные работы и испытания (при необходимости) проводит крановщик, который в дальнейшем будет работать на кране, все необходимые сведения согласно ГОСТ 2.601 должны быть размещены в РЭ.

6.1.7. Рекомендуемая система разработки и согласования регламентов, связанных с проведением монтажных работ, приведен в табл. 2.


Таблица 2

Рекомендуемая система разработки и согласования регламентов,
связанных с проведением монтажных работ

Тип документа по регламенту

Заказчик регламента

Разработчик регламента

Согласующая организация

Утверждающая организация

ИМ

Предприятие-изготовитель

Предприятие-изготовитель

-

Разработчик регламента

Специализированная организация

Предприятие-изготовитель

ДКМ

Владелец крана

Специализированная организация

Владелец крана

Специализированная организация

Монтажная организация

Монтажная организация

ПРп

Владелец крана

То же

Владелец крана

То же

Владелец возводимого (эксплуатируемого) объекта

Владелец объекта

ПОС

Владелец объекта

»

Владелец объекта

»

ППРк

Владелец объекта

»

Владелец объекта

»

Владелец крана

Владелец крана

ППРм

Монтажная организация

»

Монтажная организация

»

Владелец крана

Владелец крана и (или) монтажная организация

Должностные и производственные инструкции

Монтажная организация

Монтажная организация

-

Монтажная организация

Специализированная организация

Монтажная организация

Специализированная организация


6.2. Требования к разработке Инструкции по монтажу крана (ИМ)

6.2.1. В ИМ должны быть изложены типовые требования, необходимые для подготовки к монтажу, проведению монтажных, пусконаладочных и регулировочных работ и испытаний крана.

6.2.2. В ИМ должны быть предусмотрены следующие разделы:

общие указания;

меры безопасности;

подготовительные работы;

монтаж;

пусконаладочные работы;

испытания;

демонтаж;

сдача крана в эксплуатацию.

ИМ может иметь приложения, в которых излагаются дополнительные сведения, способствующие качественному проведению монтажа, в том числе монтажные марки, схемы строповки и другие материалы, необходимые при проведении работ.

6.2.3. В ИМ помимо требований по порядку и последовательности монтажа отдельных узлов крана должны быть определены размеры и привязка монтажной площадки, требующейся для размещения крана и монтируемых элементов, требования к устройству рельсового пути и дорог для подъезда автотранспортных средств и стрелового крана, используемого для монтажа башенного крана (см. рис. 2).

6.2.4. Монтажная площадка должна быть спланирована и очищена от строительного мусора.

6.2.5. На площадке должно быть устроено освещение рабочих мест, в случае если монтаж будет вестись в темное время суток.

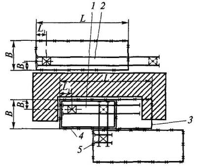
6.2.6. Длина монтажной площадки L должна включать (рис. 2):

длину крана L1 разложенного на земле, включая уложенную на земле стрелу, устройство якорных устройств (при необходимости);

увеличение длины участка L2 для размещения монтажного крана с одного или двух торцов разложенного на земле башенного крана. Размер L2 должен определяться по наиболее удаленным неповоротным или поворотным частям монтажного крана (выносные опоры, поворотная платформа, проекция на землю от стрелы в случае поворота стрелы в сторону, противоположную от лежащего на земле башенного крана);

свободные зоны безопасности L3 по торцам площадки (с каждой стороны), которые рекомендуется принимать равными 3 - 5 м.

В случае если кран после его подъема в рабочее положение будет работать с грузом при стреле, повернутой в сторону торца пути, величина Lк должна приниматься с учетом принятого вылета, габаритов груза и величины отлета груза согласно приложению Г СНиП 12-03.

 

Рис. 2. К определению размеров монтажной площадки на период монтажа:
а - при симметричном расположении башни относительно рельсового пути;
б - при асимметричном расположении;

1 - башенный кран в процессе монтажа; 2 - стреловой кран (показан контур
с разнесенными выносными опорами); 3 - рельсовый путь (сплошной линией
показан монтажный участок пути); 4 - места складирования элементов перед
монтажом; 5 - дорога для автотранспорта; 6 - граница монтажной площадки

6.2.7. Ширина монтажной площадки В должна включать (см. рис. 2):

ширину земляного полотна (по низу наружных сторон балластных призм) В1;

ширину зоны под уложенные за пределами пути крана монтируемые элементы крана В2;

зону, отведенную под дорогу для автотранспорта, В3;

свободные зоны безопасности В4по краям площадки (с каждой стороны) рекомендуется принимать равными 5 м (с учетом возможного отлета груза).

6.2.8. Монтажная площадка должна быть привязана к оси вращения поворотной части крана Lк, Вк(с учетом, при необходимости, асимметричного расположения башни крана по отношению к колее, например на кранах типа КБ-676, БК-1000).

6.2.9. Монтажная площадка, приведенная на рис. 2, может располагаться в зеркальном исполнении относительно оси пути в зависимости от размещения крана на пути.

6.2.10. В ИМ должен быть определен также тип стрелового крана, используемого для монтажа башенного крана согласно ППРк.

6.2.11. При выборе стрелового крана в ИМ следует предусматривать расположение этого крана сбоку пути на дороге для подъезда автотранспортных средств.

6.2.12. При размещении стрелового крана следует оценивать его необходимые параметры:

грузоподъемность, соответствующую максимальной массе поднимаемых элементов на заданном вылете;

вылет, на котором поднимаются элементы;

высоту подъема (что особенно важно при монтаже башенного крана укрупненными узлами сразу в рабочее положение).

6.2.13. Определенные в подпункте 6.2.12 параметры стрелового крана необходимо сопоставить с грузовой и высотной характеристиками различных стреловых кранов и принять решение о выборе того или иного стрелового крана в качестве стрелового крана.

6.2.14. Выбор стрелового крана только по одной грузоподъемности (исходя из наибольшей массы монтируемых узлов) не допускается.

6.2.15. При разработке требований по монтажу быстромонтируемого крана (для которого обычно ИМ, ДКМ и ППРк отдельно не составляются, а все требования излагаются в РЭ) необходимо оговаривать:

размеры, расположение и ограждение монтажной площадки (если она выходит за пределы опасной зоны, предусмотренной ППРк для работы крана на объекте);

способ заезда крана к возводимому объекту;

способ управления при монтаже крана;

место нахождения крановщика при управлении краном в процессе монтажа и испытаниях крана.

6.3. Требования к разработке Альбома технологических
карт на монтаж (демонтаж) крана

6.3.1. Альбом технологических карт на монтаж (демонтаж) крана (ДКМ) должен разрабатываться на основе ИМ с конкретизацией требований по монтажу крана, начиная от завоза крана на монтажную площадку и заканчивая сдачей крана в эксплуатацию.

6.3.2. В Альбоме ДКМ должны подробно, в технологической последовательности, освещаться все операции и переходы в процессе монтажа крана из транспортного положения в рабочее. Причем операции и переходы должны быть максимально иллюстрированы как схемами размещения узлов монтируемого крана с необходимыми конструктивными подробностями, так и схемами расположения при этом монтажного крана. В приводимых схемах строповки монтируемых элементов должны быть указаны масса поднимаемых элементов и применяемые грузозахватные приспособления.

6.3.3. Технологические карты рекомендуется составлять по форме, приведенной в табл. 3. В указанной форме для пояснения дается пример ее заполнения.

Таблица 3

Выписка из технологических карт по монтажу крана КБ-403
(пример оформления)

Номер и наименование операции

Номер перехода и списание работ

Эскиз

Приспособление, инструмент, оборудование

Номер места установки крана (МУК-...)

Номер схемы строповки

II Перевод крана из транспортного в монтажное положение

3. С помощью стрелового крана 6 поднять башню крана за оголовок М24 и освободить тягач 1.

Кран КС-45717, Стропы: 2-ветвевой и два кольцевых

МУК-1

№ 18

4. Отогнать тягач 1 из-под крана

»

»

 

6.3.4. Альбом ДКМ может разрабатываться либо как типовой при использовании стрелового крана, предусмотренного в ИМ, либо для конкретных условий при использовании конкретного стрелового крана, оговоренного заказчиком ДКМ.

6.3.5. Альбом ДКМ, как правило, не привязывается к конкретному объекту, но по особому заказу владельца крана или монтажной организации может разрабатываться и с привязкой к объекту.

6.3.6. В ДКМ должны быть рассмотрены схемы завоза крана на рельсовый путь. Подробно вопрос завоза рассмотрен в разд. 7.

6.3.7. В ДКМ должны быть рассмотрены всевозможные схемы монтажа (демонтажа) крана в случаях его перевозки в мобильном исполнении и при перевозке узлами (что возможно даже для кранов в мобильном исполнении - при первичном монтаже или после перевозки крана по железной дороге).

6.3.8. В Альбоме ДКМ отдельно должен быть проработан вопрос демонтажа крана в отличие от часто употребляемой в заводской ИМ формальной фразы «демонтаж ведется в порядке, обратном монтажу», так как многие операции не могут быть выполнены «в обратном порядке» и, кроме того, при демонтаже возникает много дополнительных проблем из-за стесненных условий в связи с окончанием строительства возводимого краном объекта.

6.3.9. При разработке Альбома ДМК необходимо особо оговаривать те операции, невыполнение или неправильное выполнение которых может привести к аварии.

В качестве примера такой записи можно привести следующие тексты записи из ДКМ крана КБ-503:

«ВНИМАНИЕ! В период выдвижения (опускания) башни крана в процессе ее подращивания тяги стрелового расчала должны быть всегда натянуты»;

«ВНИМАНИЕ! Пока стреловой расчал не будет закреплен в рабочем положении, использовать кран для подъема грузов и монтажных элементов запрещается».

6.3.10. Работы по разработке Альбома ДКМ следует начинать с конкретизации типоразмера стрелового крана либо с оценки возможностей стрелового крана, предложенного заказчиком ДКМ.

6.3.11. Если грузовая характеристика стрелового крана окажется недостаточной для работ по монтажу башенного крана при перемещении стрелового крана только по дороге для подъезда транспортных средств, в ДКМ должны быть предусмотрены места установки стрелового крана (МУК) с заездом его на рельсовый путь.

6.3.12. В этом случае для упрощения заезда и МУК на рельсовом пути необходимо ограничить рельсовый путь только монтажным участком пути. Остальную же часть пути (балластные призмы, верхнее строение) придется укладывать после завершения монтажа крана.

6.3.13. Место и минимальную длину монтажного участка следует принимать исходя из конструктивных особенностей крана (базы крана, необходимости в процессе монтажа перемещения крана по рельсовому пути). Монтажный участок пути должен быть привязан к монтажной площадке, указанной в ИМ.

6.3.14. При выборе стрелового крана его высоту подъема следует принимать исходя из монтажа башенного крана на минимально возможную высоту, выше которой башенный кран может наращиваться уже собственными силами.

6.3.15. Пример установки стрелового крана приведен на рис. 3. В табл. 4 дается пример сводной таблицы МУК, а также проводимых при этом операций (с указанием их номеров) и массы поднимаемых узлов.

Таблица 4

Места установки стрелового крана КС-45717
при монтаже башенного крана КБ-403

Место установки крана
(МУК-...)

Проводимые операции

Масса узлов, т

Номера операций и переходов по технологическим картам раздела 2

МУК-1

Снятие башни крана КБ-403 с тягача за оголовок

7,6

II - 3¸5,9

МУК-1

Снятие крюковой подвески с тягача

0,6

II-6

МУК-1

Установка кабины управления на башню

0,7

II-10


Рис. 3. Схема мест установки крана КС-45717 при монтаже
после мобильной перевозки крана типа КБ-403:
Lс - длина стрелы стрелового крана КС-45717; МУК-1 и т.д. - места установки стрелового
крана;  - ось вращения и стрела стрелового крана при реальном вылете;
 - масса поднимаемого груза;  - автомобиль КамАЗ-53213 и опорный контур


6.3.16. В Альбоме ДКМ должны быть конкретизированы расположение и ширина дороги для подъезда автотранспортных средств. Дорога должна располагаться не ближе 500 мм от внешнего края наружной водоотводной канавы (см. рис. 2).

6.3.17. Ширина дороги при сквозном проезде должна быть не менее 4,0 м, что соответствует максимальному транспортному габариту башенного крана при перевозке (по ГОСТ 13556).

6.3.18. Должны быть определены места для складирования элементов, для размещения стрелы при ее стыковке из секций и для других элементов.

Места складирования могут располагаться как на самом пути (между рельсами), так и сбоку пути.

6.3.19. Исходя из вышесказанного должны быть конкретизированы размеры и расположение монтажной площадки, являющейся опасной зоной на период сборки и подъема крана в рабочее положение. Это делается и в случае, если в ИМ эти параметры не были указаны.

6.3.20. В Альбоме ДКМ также должна быть определена опасная зона и на период проведения пусконаладочных работ и испытаний крана. Последняя опасная зона отличается от приведенной в п. 6.3.19 за счет того, что при указанных работах кран должен перемещаться вдоль рельсового пути с грузом, осуществлять поворот на 360° с выходом груза за пределы монтажной площадки. Границы этой опасной зоны должны приниматься с учетом величины Dl, определяемой габаритами перемещаемых грузов и возможным отлетом груза, принимаемых согласно приложению Г СНиП 12-03.

Пример определения опасной зоны на период испытаний крана дан на рис. 4.

6.3.21. Обе опасные зоны по подпунктам 6.3.19 и 6.3.20 во время проведения соответствующих работ во избежание доступа в них посторонних людей должны ограждаться и обозначаться в соответствии с требованиями СНиП 12-03.

 

Рис. 4. Определение опасной зоны на период испытания крана:
1 - место возводимого здания; 2 - кран; 3 - рельсовый путь;
4 - место для складирования элементов; 5 - дорога для
автотранспорта; 6 - монтажная площадка;
S - возможная зона передвижения крана

6.3.22. Если во время процесса монтажа (демонтажа) крана имеется возможность выхода людей из прилегающих зданий в зону монтажа, то на время проведения работ выходы должны быть закрыты.

6.3.23. Необходимо определить также границы опасной зоны и при демонтаже крана. В общем случае опасная зона при демонтаже соответствует по размерам монтажной площадке при монтаже крана. Однако в случае наличия более мощных монтажных кранов при своевременной отгрузке демонтируемых узлов размеры опасной зоны могут быть существенно снижены.

6.3.24. В случае стесненных условий строительной площадки границы опасных зон, определенных по подпунктам 6.3.19 и 6.3.20, корректируются и устанавливаются в соответствии с требованиями ППРм.

6.3.25. При демонтаже, когда пусконаладочные работы и испытания крана не проводятся, опасная зона по подпункту 6.3.20 на этот период устанавливаться не должна: демонтаж проводится в пределах опасной зоны, определяемой размерами монтажной площадки (см. подпункт 6.3.19).

6.3.26. В Альбоме ДКМ должен также содержаться перечень монтажных марок с указанием номеров узлов по проекту крана, их габаритов и массы, а также должны приводиться схемы строповки основных узлов крана (принимаемых, как правило, из ИМ крана).

6.3.27. В приложении Б к настоящему РД приводятся рекомендуемые схемы строповок основных элементов башенных кранов.

6.3.28. В Альбоме ДКМ должна быть приведена последовательность сборки отдельных секций стрелы применительно к различным исполнениям (при их наличии) по длине стрелы.

6.3.29. В Альбоме ДКМ должно быть также предусмотрено наличие монтажного оборудования, завозимого до начала монтажа: монтажных козел, шпал, досок, домкратов, монтажного инструмента и пр. Рекомендуется применять инвентарное оборудование, используемое для монтажа различных типов кранов. Шпалы рекомендуется применять неантисептированными. При применении шпал, пропитанных креозотом, необходимо обеспечить защиту открытых поверхностей лица, рук и шеи монтажников.

6.3.30. В Альбоме ДКМ для операции по заведению верхней секции башни внутрь наклонно расположенного портала должна быть предусмотрена страховка от самопроизвольного перемещения секции внутрь портала (рис. 5). Страховка может быть осуществлена страховочным канатом и любым транспортно-тяговым средством.

 

Рис. 5. Монтаж верхней секции с оголовком:
1 - портал башни; 2 - верхняя секция с оголовком; 3 - оттяжка

6.4. Специальные требования к разработке проекта рельсового
пути (ПРп), связанные с обеспечением монтажа (демонтажа) крана

6.4.1. При разработке ПРп необходимо предусмотреть наличие типового монтажного участка пути, так как рельсовый путь в период монтажа крана не всегда может быть выполнен на всю длину из-за необходимости заезда на земляное полотно пути стрелового крана (см. подпункты 6.3.11 - 6.3.13), а при демонтаже, как правило, большую часть пути стараются быстрее убрать для обеспечения фронта работ по приведению территории в порядок с сохранением минимально необходимого для демонтажа крана участка пути.

6.4.2. Монтажный участок пути должен быть минимальным по длине Lм (рис. 6), но не менее 12,5 м. Этот участок должен включать:

полный габарит крана (вдоль пути) В;

участок S для перемещения крана, если технологией производства монтажных работ предусматривается ограниченное перемещение крана;

двукратный путь торможения крана 2SТ (в случае если предусмотрено перемещение крана при монтаже);

размещение с двух сторон тупиковых упоров 2lТ;

двойное плечо рельсового пути за тупиковыми упорами 2l0.

6.4.3. Расчет длины монтажного участка пути виден на рис. 6.

 

Рис. 6. К расчету длины монтажного участка пути

6.4.4. Монтажный участок пути должен отвечать всем требованиям, предъявляемым к полному пути:

должен иметь токоподвод;

должен быть заземлен;

должны быть установлены стяжки;

должны быть выполнены отключающие устройства;

должны быть установлены тупиковые упоры;

должен быть сдан по акту монтажной организации.

6.4.5. В ПРп (в случае наличия монтажного участка) должно быть оговорено, что путь должен устраиваться в два этапа:

I этап - устройство ограниченного по длине пути в целях беспрепятственного заезда на пути и размещения на нем монтажного крана в процессе производства монтажа башенного крана. Причем стяжки на этом участке пути должны устанавливаться (при необходимости завоза крана в межрельсовое пространство пути) лишь после завоза туда основания крана, а при демонтаже - сниматься перед вывозкой крана;

II этап - устройство верхнего строения пути на всю проектную длину после окончания монтажа крана.

6.4.6. Устройство пути в два этапа должно оговариваться в договоре на устройство пути между заказчиком и исполнителем работ по устройству пути.

6.4.7. В случае выполнения работ в два этапа перед проведением второго этапа должно быть проверено состояние нижнего строения земляного полотна на участках, где перемещался стреловой кран. При необходимости полотно должно быть выровнено. После этого должны укладываться элементы верхнего строения пути (балластные призмы, опорные элементы и пр.) и проводиться необходимое обустройство рельсового пути на полную его длину в соответствии с требованиями РД 22-28-35.

6.4.8. В целях исключения необходимости устройства монтажного участка пути (рис. 7) может быть рассмотрена возможность размещения башенного крана 1 в торце пути 2 с расположением монтажной площадки 3 на свободной территории за пределами рельсового пути. В этом варианте возможен свободный подъезд стрелового крана к башне и стреле башенного крана в период монтажа. Данный вариант возможен при наличии свободной территории и отсутствии необходимости заезда монтажного крана 5 на пути для установки противовеса 6 и (или) балласта 4.

 

Рис. 7. Схема к определению размеров и размещения рельсового пути
на период монтажа крана:
1 - башенный кран в монтажном положении; 2 - рельсовый путь;
3 - монтажная площадка; 4 - плиты балласта; 5 - стреловой кран;
6 - плиты противовеса; 7 - дорога

6.4.9. Перед демонтажом башенного крана также должен быть решен вопрос о возможности сохранения всего рельсового пути на период демонтажа крана или необходимости предварительного демонтажа пути с сохранением его монтажного участка.

6.5. Дополнительные требования к разработке проекта организации
строительства (ПОС)

6.5.1. При разработке ПОС в части, касающейся выбора башенного крана, необходимо учитывать следующие требования, связанные с возможностью монтажа и демонтажа крана.

6.5.2. Место размещения башенного крана (рис. 8) должно быть увязано с размерами монтажной площадки как в период монтажа, так и в период демонтажа.

 

Рис. 8. К выбору башенного крана:
1 - первый вариант размещения башенного крана; 2 - второй вариант
размещения башенного крана; 3 - размеры монтажной площадки при
нормальных условиях монтажа и демонтажа ; 4 - сокращенная
монтажная площадка с использованием для демонтажа стрелового
крана большой грузоподъемности ; 5 - перевод башенного крана
на пересекающиеся пути для вывода из стесненных условии;
В,
L - размеры монтажной площадки; B1, L1 - привязка монтажной
площадки к месту монтажа башенного крана

6.5.3. Если намечаемые места размещения башенного крана (первый вариант) и его монтажной площадки 3 не увязываются с возводимым (возведенным) зданием при демонтаже башенного крана, когда строительная площадка будет застроена зданиями и сооружениями, необходимо:

обсудить с владельцем башенного крана или монтажной организацией возможность монтажа (демонтажа) выбранного крана в стесненных условиях по специальному проекту: с использованием меньшей монтажной площадки 4 за счет применения стрелового крана большой грузоподъемности и высоты подъема или других специальных методов монтажа крана (с переводом, например, башенного крана при демонтаже на свободную площадку 5);

найти новое место 2 для размещения башенного крана (второй вариант), даже если при этом потребуется приобретение башенного крана с большими параметрами (вылетом, грузовым моментом).

6.5.4. Пример выбора башенного крана можно проследить на рис. 8.

6.5.5. Требования данного п. 6.5 относятся и к случаю использования самоподъемных башенных кранов, устанавливаемых на конструкциях возводимых сооружений.

6.6. Требования к разработке ППРм и ППРк

6.6.1. Для комплексной организации работ по монтажу башенного крана необходимо разработать ППРм, аналогичный ППРк, в котором должны быть решены следующие вопросы:

привязка монтажной площадки - опасной зоны (определенной в ИМ или ДКМ) к рельсовому пути или к объекту;

размещение дороги для автотранспортных средств на период монтажа башенного крана;

способ и место завоза башенного крана на рельсовый путь;

определение места размещения монтажного участка рельсового пути (см. п. 6.4) или размещения самого крана (при его стационарной установке);

размещение мест складирования монтажных элементов;

выявление опасных зон на период проведения пусконаладочных работ и испытаний;

ограждение опасных зон.

6.6.2. ППРм крана должен включать: графическую часть, перечень монтажного оборудования, инструмента и необходимых материалов, график поставки оборудования и текстовую часть.

Графическая часть (рис. 9) должна содержать план площадки для производства монтажных работ, чертежи специального монтажного оборудования или ссылки на нормали или оборудование, имеющееся у монтажной организации. Пример планировки площадки при составлении ППРм приведен на рис. 9.

Перечень монтажного оборудования, инструмента и материалов должен содержать наименование, характеристики и их количество.

График поставки оборудования составляется при необходимости, чтобы исключить задержку с монтажом из-за несвоевременной поставки того или иного оборудования или узлов крана.

Текстовая часть должна содержать краткую характеристику монтируемого крана с указанием его особенностей, последовательность сборки, а также полный комплекс мер по безопасному проведению монтажных работ на всех стадиях.

6.6.3. ППРм наиболее рационально разрабатывать совместно или как дополнение к ППРк, в котором решаются аналогичные вопросы, но только для нормальной эксплуатации (работы) крана на объекте.

6.6.4. При совместной разработке ППРк и ППРм может быть уменьшен объем работ на объекте за счет возможного совмещения дорог для автотранспортных средств на этапах монтажа и нормальной эксплуатации крана, мест складирования грузов и монтируемых элементов крана, опасных зон и их ограждения.

6.6.5. ППРм, как и ППРк, должен составляться на конкретный объект под определенный кран. В ППРм должно быть указано точное место монтажа (демонтажа) крана с обозначением опасных зон, возникающих в процессе монтажных работ. Допускается ППРм разрабатывать как типовой под определенный тип крана и однотипные условия строительства.

6.6.6. Привязку монтажной площадки к месту стоянки крана при монтаже следует производить с учетом размеров Lк и Вк, определенных в п. 6.2.

 

Рис. 9. Пример планировки площадки при производстве работ по
монтажу башенного крана (ППРм):

а - при завозе (вывозе) крана на путь; б - при монтаже и испытаниях
башенного крана; в - схема к определению границы опасной зоны;

1 - возводимое здание; 2 - положение башенного крана на период
монтажа; 3 - рельсовый путь (жирной линией показан монтажный
участок пути в случае необходимости заезда стрелового крана на
рельсовый путь); 4 - существующая дорога на строительстве для
автотранспорта; 5 - дорога для завоза башенного крана;
6 - положение башенного крана при завозе на пути; 7 - дорога
для вывоза башенного крана после демонтажа;
8 - места установки стрелового крана (МУК-1, МУК-2 и т.д.);
9 - дорога для автотранспорта вдоль рельсового пути;
10 - места складирования и предварительной сборки элементов
башенного крана (двойной пунктирной линией показано возможное
место складирования по другую сторону пути с соответствующим
изменением размеров монтажной площадки); 11 - монтажная
площадка,
L´B; 12 - рабочая зона башенного крана; 13 - опасная
зона при пусконаладочных работах и испытаниях; 14 - прожекторы
(в случае работы в темное время суток); А - привязка пути к зданию;
К - колея;
Ll, L2, Bl- привязка монтажной площадки к месту монтажа
башенного крана, торцу рельсового пути;
Dl - величина отлета;
в - габарит поднимаемых грузов

6.6.7. Монтажная площадка должна располагаться на свободной территории, желательно в пределах опасной зоны, принятой в ППРк для нормальной эксплуатации (работы) крана. Монтажная площадка должна быть спланирована и очищена от посторонних предметов.

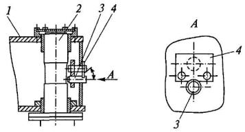
6.6.8. При подготовке к монтажу башенного крана с неповоротной башней, монтируемого с использованием якорных устройств, на монтажной площадке должны быть установлены якори с сошниками 5 (или выкопаны приямки с установкой закладных блоков), воспринимающими горизонтальные усилия, передающиеся на якорь при подъеме башни (рис. 10).

6.6.9. В случае эксплуатации крана в стесненных условиях при нахождении на строительном объекте нескольких кранов в ППРк и ППРм должны быть предусмотрены меры по безопасной эксплуатации всех находящихся на данной площадке кранов, не допускающие их столкновения друг с другом или с существующими сооружениями. При необходимости может быть рекомендована к применению на кранах система координатной защиты.

6.6.10. Монтажная площадка должна иметь по возможности сквозной проезд для транспортных средств с учетом длинномерности перевозимых элементов. В необходимых случаях, когда не удается выполнить проезд сквозным, должно быть устроено место для разворота транспорта.

 

Рис. 10. Установка якорных устройств:
1 - кран; 2 - монтажный полиспаст; 3 - балласт;
4 - монтажная лебедка; 5 - сошник

6.6.11. Дорога должна быть привязана к общепостроечной сети дорог и предусматривать возможность разъезда транспортных средств с монтажным краном.

6.6.12. Дорогу желательно совместить с дорогой, принятой в ППРк, для подвоза грузов в процессе нормальной эксплуатации крана.

6.6.13. Необходимо убедиться, что при установке монтажного крана выносные опоры будут устанавливаться на ровную и плотную поверхность грунта.

6.6.14. При разработке ППРм необходимо убедиться, что после завершения возведения объекта кран не окажется в зоне, где его демонтаж с помощью собственных механизмов окажется технически невозможен. В случае если монтажная площадка не может быть вписана в рамки возводимого объекта, следует на стадии разработки ППРм решить с владельцем или с монтажной организацией вопрос о возможности демонтажа крана и вывозе его с объекта в заданных условиях.

6.6.15. При монтаже стационарного крана на спланированном земляном полотне должен быть уложен фундамент (фундаментные блоки) согласно чертежам, приведенным в ЭД.

6.6.16. При составлении ППРм должен быть проанализирован Альбом ДКМ, оценены МУК и выявлена необходимость устройства и определена длина монтажного участка рельсового пути. В ППРм должно быть конкретизировано местоположение указанного участка непосредственно на рельсовом пути, уже привязанном к возводимому объекту.

6.6.17. МУК, приведенные в Альбоме ДКМ, должны быть доступны для подъезда монтажного крана, выровнены и уплотнены в соответствии с требованиями Альбома ДКМ.

6.6.18. В ППРм должны быть определены конкретные места складирования монтируемых элементов крана. В целях уменьшения объема работ желательно места складирования монтируемых элементов совместить с зоной будущего склада строительных или технологических материалов, предусмотренной в ППРк.

6.6.19. Места складирования элементов должны иметь удобные подъезды и подходы с учетом работы стрелового монтажного крана.

6.6.20. Узлы крана должны укладываться на деревянные подкладки, рассчитанные на нагрузки от массы элементов, исключающие загрязнение и примерзание элементов к земле и не допускающие прогиба элементов металлоконструкций.

6.6.21. Электрооборудование крана при длительном хранении перед монтажом должно быть защищено навесом от атмосферных осадков или убрано в помещение.

6.6.22. Узлы крана следует располагать на монтажной площадке с учетом очередности монтажа (если эти узлы доставляются на монтажную площадку заранее).

6.6.23. Расположение собираемых узлов и монтажного оборудования на монтажной площадке должно осуществляться в соответствии с Альбомом ДКМ или ИМ крана и с учетом габаритов и характеристики монтажного крана.

6.6.24. Одновременно в ППРм должны быть определены опасные зоны (определенные с учетом требований СНиП 12-03) на период:

монтажа;

пусконаладочных работ и испытаний;

демонтажа.

6.6.25. Опасной зоной на период монтажа является монтажная площадка, которая должна быть обозначена и ограждена предупредительными надписями типа «Опасная зона», «Осторожно, идет монтаж!», «Вход посторонним запрещен» в соответствии с указаниями, приведенными в Альбоме ДКМ.

6.6.26. Опасную зону при пусконаладочных работах и испытаниях крана (учитывая необходимость перемещения крана при испытаниях на всю длину пути, поворот крана на 360°, работу с грузами) целесообразно совместить с опасной зоной, принятой в ППРк.

6.6.27. При отсутствии достаточной освещенности фронта работ необходимо применять искусственное освещение территории и рабочих мест при монтаже (демонтаже) крана. Освещенность должна быть не менее 30 лк, в местах проведения электромонтажных работ - 50 лк.

6.6.28. В случае производства работ в зимнее время в ППРм должны быть предусмотрены (вне опасной зоны) помещения для обогрева монтажников или место для установки их будки на колесах.

6.7. Требования к разработке должностных и производственных
инструкций

6.7.1. Должностные инструкции для ответственных специалистов (для производителей работ по монтажу) и производственные инструкции для монтажников должны разрабатываться на определенные типы кранов (например, на башенные или на башенные и стреловые) с учетом их особенностей и специфических требований по безопасности монтажных работ, имеющихся технологических машин, приспособлений и инструмента, а также с учетом местных условий.

6.7.2. В инструкциях должны быть сформулированы права и обязанности ответственных специалистов, рабочих и обслуживающего персонала, выполняющих работы по монтажу (демонтажу) башенных кранов.

6.7.3. Должностные и производственные инструкции для специалистов по монтажу башенных кранов и монтажников должны разрабатываться в соответствии с требованиями табл. 2.

7. ЗАЕЗД (ЗАВОЗ) КРАНА НА РЕЛЬСОВЫЙ ПУТЬ ИЛИ
СТРОИТЕЛЬНУЮ ПЛОЩАДКУ

7.1. Заезд на строительную площадку быстромонтируемого крана

7.1.1. Заезд крана следует производить вдоль возводимого объекта или котлована. Допускаются и другие способы подъезда, если они предусмотрены в РЭ.

7.1.2. Перед заездом крана на строительную площадку должно быть:

проконтролировано состояние площадки, которая должна быть спланирована и уплотнена с учетом категорий и характера грунта. Устанавливать кран на свеженасыпанном, неутрамбованном грунте, а также на площадке с уклоном более 3° (если иное не указано в паспорте крана) не разрешается;

определено число и положение мест установки крана.

7.1.3. Установка крана должна производиться так, чтобы при работе расстояние между поворотной частью крана при любом его положении и строениями, штабелями грузов и другими предметами составляло не менее 1000 мм.

7.1.4. Минимальное расстояние, м, от основания откоса котлована до оси ближайших опор крана должно приниматься по табл. 5 и рис. 11, если иных требований нет в ЭД.

Рис. 11. К определению расстояния от оси опоры до основания откоса
котлована

Таблица 5

Минимальное расстояние в от опор крана до основания откоса котлована

Глубина котлована h, м

Грунт (ненасыпной)

песчаный

супесчаный

суглинистый

глинистый

1

1,5

1,25

1,0

1

2

3

2,4

2

1,5

3

4

3,6

3,25

1,75

4

5

4,4

4

3

5

6

5,3

4,75

3,5

Более 5

Откос должен быть укреплен в соответствии с ППРк

 

7.1.5. При наличии выносных опор монтажный кран должен быть установлен на все опоры, предусмотренные конструкцией крана.

7.1.6. Ответственность за монтаж и техническое состояние быстромонтируемого крана возлагается на аттестованного крановщика, имеющего удостоверение на право управления автомобилем (для кранов на автомобильном шасси типа АБКС).

7.1.7. Монтаж должен осуществляться с помощью собственных механизмов крана. При необходимости (если это оговорено в РЭ крана) к монтажу могут быть привлечены 1 - 2 монтажника-стропальщика.

7.2. Завоз крана в мобильном исполнении на подготовленный
рельсовый путь

7.2.1. Кран в мобильном исполнении должен перевозиться в собранном (максимально укрупненном) виде в составе автопоезда «кран-тягач» практически без демонтажа электрооборудования и канатов.

7.2.2. Завоз крана в мобильном исполнении на рельсовый путь может производиться одним из трех способов, приведенных ниже (рис. 12):

первый способ - движение автопоезда вперед по путям;

второй способ - движение автопоезда задним ходом;

третий способ - движение тягача по дороге с заездом крана с торца пути или с переездом через рельсы.

 

Рис. 12. Способы завоза на рельсовый путь крана в мобильном исполнении:
а - при движении тягача по пути вперед; б - при движении тягача задним
ходом; в - при движении тягача сбоку пути, с заездом основания крана с
торца пути; г - то же, с переездом основания крана через пути;
д - перемещение башни крана в монтажное положение по оси пути;
1, 2 - щиты; 3 - подкатная тележка; 4 - стреловой кран; 5 - тягач

7.2.3. Первый способ может применяться в тех случаях, когда монтажная площадка ограничена по ширине, но имеется сквозной проезд для автопоезда (тягача). В этом случае необходимо для проезда автопоезда снять стяжки рельсового пути, а после проезда проследить за сохранностью нижнего и верхнего строений пути, восстановить их в случае повреждения и установить стяжки.

7.2.4. Второй способ может использоваться в тех случаях, когда имеется достаточно места перед торцевой частью пути (со стороны заезда) и отсутствует возможность сквозного проезда.

7.2.5. Третий способ используется при наличии дороги для автотранспорта (сбоку рельсового пути) и возможности управления опорной частью крана с помощью безопасной рукоятки. Для переезда крана через ближний к автодороге рельс должны быть уложены пандусы в виде щитов из шпал, досок в месте проезда колес подкатных тележек через ближнюю рельсовую нить.

7.2.6. Узлы, перебазируемые отдельно от крана на стандартных транспортных средствах, перевозятся и укладываются на монтажной площадке в соответствии с требованиями, приведенными в подпунктах 6.6.18 - 6.6.23 настоящего РД.

7.3. Завоз крана на монтажную площадку отдельными узлами

7.3.1. Краны, выполненные в немобильном исполнении, а также краны после железнодорожной перевозки завозятся на монтажную площадку в виде отдельных узлов, определяемых грузоподъемностью и габаритами транспортных средств.

7.3.2. Все узлы должны укладываться на площадке в очередности и порядке поступления узлов на монтаж. Узлы должны укладывать согласно указаниям в Альбоме ДКМ исходя из возможностей (грузовой характеристики) монтажного крана.

8. ВЫБОР СТРЕЛОВОГО КРАНА

8.1. Стреловой кран, используемый для монтажа башенного крана, следует выбирать исходя из требуемых величин масс поднимаемых элементов башенного крана, необходимого вылета, высоты подъема и возможного МУК с учетом организационных и экономических критериев.

8.2. При достаточно большой грузоподъемности и вылете стреловой кран может при монтаже башенного крана перемещаться по дороге для автотранспортных средств, не заезжая на рельсовый путь. Это позволит монтировать путь сразу на всю длину (без устройства монтажного участка), что облегчит устройство пути в целом и снизит его трудоемкость и стоимость.

8.3. При использовании стрелового крана с меньшей, чем указано в п. 8.2 грузовой характеристикой, стреловой кран вынужден работать с меньшим вылетом, для чего ему придется заезжать на рельсовый путь. Поэтому места заезда стрелового крана на период монтажа башенного крана должны быть свободны от верхнего строения пути (балластных призм, шпал, балок, рельсов), переезд стрелового крана через которое практически невозможен.

8.4. При недостаточной грузоподъемности стрелового крана могут использоваться следующие известные методы, позволяющие расширить область использования стрелового крана:

перемещение грузов на небольшое расстояние, допустимое грузовой характеристикой стрелового крана, с последующей его перестановкой (шаговое перемещение груза);

демонтаж отдельных сборочных единиц с крупногабаритных узлов башенного крана для облегчения массы этих узлов;

подъем узла за углы с постепенным подкладыванием под узел шпал (при небольшой высоте подъема);

подъем узлов двумя стреловыми кранами.

8.5. При недостаточной высоте подъема стрелового крана могут использоваться следующие методы:

подъем решетчатых конструкций с закреплением стропов за нижние пояса элемента;

применение укороченных стропов;

подъем стрелы в наклонном положении для увеличения высоты подъема опорного шарнира стрелы.

9. ПОДГОТОВИТЕЛЬНЫЕ РАБОТЫ ПЕРЕД МОНТАЖОМ

9.1. Ознакомление с документацией

9.1.1. К началу проведения работ по монтажу должна быть подготовлена следующая документация:

эксплуатационная документация [паспорт (ПС), РЭ или для кранов выпуска до 1995 г. - ТО, ИМ];

Альбом технологических карт на монтаж (демонтаж) крана (ДКМ) (при наличии);

проект производства работ по монтажу крана (ППРм) или проект производства работ краном (ППРк), если необходимые для монтажа вопросы решены в составе ППРк;

проект рельсового пути (ПРп).

9.1.2. Лица, ответственные за монтаж крана (производитель работ и руководитель бригады монтажников), должны изучить документы по подпункту 9.1.1, обратив особое внимание на следующее:

9.1.2.1. При ознакомлении с паспортом крана необходимо выявить параметры монтируемого крана, изучить схемы запасовки канатов и способы закрепления концов канатов, выявить установленную мощность двигателей, массу и количество плит балласта и противовеса.

9.1.2.2. При ознакомлении с РЭ следует изучить конструкцию крана (по техническому описанию), особенно тех узлов, которые задействованы при монтаже крана, и выявить работы, которые должны проводиться при техническом обслуживании.

9.1.2.3. При ознакомлении с ИМ крана необходимо тщательно изучить порядок проведения монтажа крана, обратив особое внимание на те разделы, которые сопровождаются словом «ВНИМАНИЕ!», так как невыполнение или неправильное нечеткое выполнение этих разделов неминуемо приведет к аварии крана.

9.1.2.4. При ознакомлении с Альбомом ДКМ конкретного крана необходимо тщательно изучить порядок, последовательность и способы выполнения всех операций по монтажу крана с учетом параметров конкретного стрелового крана и способа завоза башенного крана на рельсовый путь, особенно тех разделов, которые сопровождаются словом «ВНИМАНИЕ!» (см. подпункт 9.1.2.3), а также изучить МУК на период проведения тех или иных операций, выявить необходимость в такелажном оборудовании и инструменте, состав монтажной бригады. Требования по монтажу, указанные в Альбоме ДКМ, должны быть изучены всеми членами монтажной бригады.

9.1.2.5. При ознакомлении с ППРм (ППРк) следует тщательно изучить организацию, порядок и последовательность выполнения работ по монтажу крана, выявить способы завоза крана на рельсовый путь, места размещения крана (особенно кранов с асимметричным расположением башни), опасные зоны и меры по их ограждению.

9.1.2.6. При ознакомлении с ПРп необходимо:

рассмотреть требования к монтажному участку пути (при необходимости его выполнения) в целях последующей проверки их выполнения на объекте;

выявить требования по оценке качества уложенного пути (особенно в месте установки крана) на период монтажа, так как путь под монтаж сдается без обкатки пути краном;

выявить различные возможности по заезду крана на пути перед монтажом крана.

9.2. Подготовка площадки и необходимого оборудования

9.2.2. Площадка для работы быстромонтируемого крана должна быть подготовлена организацией, заказавшей кран. При подготовке площадки следует обращать внимание на:

плотность основания, на которое устанавливается кран; плотность, г/см3, должна быть не менее: для песчаного грунта - 1,7; для супесей и суглинков - 1,65; для тяжелых суглинков - 1,55;для пылеватых суглинков и глин - 1,5;

величину уклона площадки, который не должен превышать 3° в любом направлении (если иное не указано в ЭД на кран);

отсутствие поблизости линий электропередачи (вблизи линий электропередачи требуется наличие наряда-допуска на монтаж и работу крана).

9.2.2. До начала монтажа обычных башенных кранов должны быть определены места и размеры монтажной площадки, включающей:

площадь под размещение крана в транспортном и монтажном положениях;

дороги для подъезда автотранспортных средств;

места складирования элементов крана.

9.2.3. В период распутицы грунтовые участки для подъезда автопоезда и монтажного крана рекомендуется выложить дорожными плитами или засыпать щебнем, гравием, песком с учетом возможности проезда автотранспорта с нагрузкой на колесо подкатных тележек 42 кН, а на всю ось подкатных тележек - до 340 кН.

9.2.4. До начала монтажа должны быть подготовлены:

плиты балласта и противовеса (если они не поставляются вместе с краном);

фундамент (для стационарных кранов);

опорные плиты (для стационарных кранов, если они не поставляются вместе с краном);

связи крепления крана к зданию (для приставных кранов).

9.2.4.1. Разработку чертежей фундамента, опорных плит и связей крепления должны осуществлять специализированные организации под те нагрузки (момент, осевые и радиальные усилия), которые указываются изготовителем в ЭД на кран.

9.2.4.2. Изготовление оборудования по подпункту 9.2.4 должно выполняться владельцем или заказчиком крана по заводским чертежам, приложенным к ЭД, либо по чертежам, разработанным специализированной организацией.

9.2.4.3. Число плит балласта и противовеса должно определяться согласно ЭД в зависимости от высоты подъема монтируемого исполнения крана и от ветрового района.

9.2.4.4. Плиты балласта и противовеса после изготовления должны быть взвешены и на каждой плите на видном месте несмываемой краской должна быть указана ее масса.

9.2.5. Плиты балласта и противовеса после их монтажа на кране должны быть закреплены постоянными связями во избежание непроизвольного перемещения плит и их падения с крана во время работы. При перевозке крана отдельными узлами на монтажной площадке должна быть проведена их предварительная сборка, чтобы уменьшить объем работ на высоте.

9.3. Контроль за состоянием узлов крана

9.3.1. Перед монтажом все узлы и элементы крана следует очистить от грязи и консервационной смазки и подвергнуть их ревизии. В процессе ревизии необходимо внешним осмотром проверить состояние:

металлоконструкций - на отсутствие вмятин, трещин, дефектов сварных соединений, стыковых болтовых и шарнирных соединений и прочих дефектов;

механизмов, которые будут задействованы при монтаже (в том числе открытых зубчатых передач, тормозов).

После подключения крана к распределительному пункту механизмы необходимо проверить в действии, в том числе и проверить работу тормозов.

9.3.2. При проверке металлоконструкций должно быть проконтролировано техническое состояние не только несущих, но и вспомогательных металлоконструкций (лестниц, площадок, ограждений).

9.3.3. При проверке узлов и деталей необходимо обратить особое внимание на комплектность крепежных деталей и провести технический осмотр узлов.

9.3.4. Перед монтажом должно быть проверено и проконтролировано также состояние канатно-блочных систем, в частности:

соответствие запасовки канатов, принятой для монтажа крана;

исправность блоков и наличие в них смазочных материалов.

9.3.5. При контроле исправности канатов следует обращать внимание на общее состояние канатов, не допуская дефектов, отмеченных в Правилах (ПБ 10-382-00) и разд. 11 настоящего документа. Особое внимание следует обратить на состояние канатов в местах заделки. Контроль осуществляется визуально, а в сомнительных случаях - с применением специального инструмента и приборов.

9.3.6. Смазочный материал должен соответствовать карте смазывания по ЭД. Крепежные резьбовые детали, оси, пальцы и т.п., применяемые при монтаже, должны быть очищены, протерты и смазаны.

9.3.7. До начала монтажных (демонтажных) работ такелажное оборудование (стропы, полиспасты, лебедки) должно быть проконтролировано с проведением при необходимости их испытаний в соответствии с действующей нормативной документацией.

9.3.8. В случае выявления дефектов металлоконструкций, механизмов, электрооборудования, канатно-блочных систем и других узлов эти дефекты должны быть устранены (отремонтированы, отрегулированы). Все шарнирные соединения и подшипники должны быть смазаны. В редукторы, если они находятся в рабочем положении и не будут кантоваться при монтаже крана, должно быть залито масло и должен быть проконтролирован его уровень. Монтажная организация и (или) владелец крана должны наметить и осуществить мероприятия по сохранности узлов и электрооборудования крана на период его монтажа (демонтажа).

9.3.9. При монтаже механизмов они должны крепиться согласно конструктивным особенностям крепления: при трехточечном опирании лебедки должны крепиться с помощью шарнирных соединений, включающих сферические втулки 1 и шайбы 2, и сохранением зазора в соединении согласно указаниям ДКМ или ЭД (рис. 13).

 

Рис. 13. Схема крепления лебедки при ее трехточечном опирании:
1 - сферическая втулка; 2 - шайба

9.3.10. При отсутствии трехточечного опирания лебедок последние должны крепиться к металлоконструкциям всеми болтами с полной их затяжкой и стопорением гаек.

9.3.11. При установке и креплении механизма поворота У3515.42 (с буквой П, Р или С) на поворотной платформе крана необходимо соблюдать указания ЭД на кран (механизм). Для кранов, не имеющих вильчатых кронштейнов (рис. 14, б), на поворотной платформе фиксация механизма производится помимо горловины редуктора двумя специальными пальцами 3 и 4 с гарантированным зазором между головкой пальца и проушиной редуктора 2 - 3 мм. При наличии вильчатых кронштейнов 6 (рис. 14, в), в которых необходимый зазор над проушиной обеспечивается размерами кронштейна 6, фиксация производится двумя штатными пальцами 7 и 8.

9.3.12. При установке унифицированных ходовых тележек после транспортирования вместе с краном необходимо переставить пальцы 3 шкворней 2 тележек в нижние (рабочие) отверстия флюгеров 1 (рис. 15).

9.3.13. Одновременно со сборкой крана рекомендуется развести кабели по крану с подключением их к механизмам (если кабели не были сняты при перевозке).

 

Рис. 14. Схема крепления механизма поворота:
а - общий вид механизма; б - для кранов, не имеющих вильчатых
кронштейнов; в - для кранов с вильчатыми кронштейнами;
7 - поворотная платформа; 2 - ОПУ; 3 - 4 - специальные пальцы;
5 - шайба; 6 - вильчатый кронштейн; 7 - 8 – пальцы

 

Рис. 15. Фиксация ходовых тележек во флюгере:
1 - флюгер; 2 - шкворень ходовой тележки; 3 - переставной палец
(верхнее положение - при перевозке, нижнее положение - для
работы); 4 - оседержатель

9.3.14. Узлы, которые при монтаже крана могут поворачиваться (перемещаться) относительно друг друга, должны быть перед монтажом жестко зафиксированы (ходовая рама - поворотная платформа, грузовая тележка - стрела и т.п.).

9.3.15. Перед монтажом должно быть проконтролировано состояние рельсового пути, особенно перед подъемом башни из транспортного положения в рабочее, когда на путь действуют максимальные нагрузки. Уклон пути под нагрузкой не должен превышать 0,010.

10. ОСОБЕННОСТИ МОНТАЖА, ТРЕБУЮЩИЕ ОСОБОГО
ВНИМАНИЯ МОНТАЖНИКОВ

10.1. При первоначальном поузловом монтаже крана с неповоротной башней (рис. 16) в целях исключения изгиба горизонтальных балок 1 опорной рамы от нагрузок в поясах башни 4 эти балки 1 до момента установки подкосов 3 должны быть подперты домкратами 2. После установки подкосов, передающих нагрузки непосредственно на ходовые тележки (опоры), домкраты 2 должны быть сняты.

 

Рис. 16. Временная установка домкратов в целях исключения изгиба
балок основания:
1 - балка; 2 - домкраты; 3 - подкосы; 4 - башня

10.2. Ведущие ходовые тележки следует устанавливать приводными агрегатами наружу, если иное не оговорено в ИМ.

10.3. Если кабина управления перевозилась отдельно от крана, ее перед установкой на башню следует перекантовать на 90° до положения фонарем вниз. Для кантования кабину рекомендуется подвесить с помощью двух одноветвевых стропов, оборудованных крюками, с поворотом кабины вручную после подъема на высоту 1 - 1,5 м (рис. 17).

 

Рис. 17. Схема кантования кабины

10.4. При выполнении ряда операций в процессе монтажа требуется провести контроль и замеры деформаций, которые мерить на смонтированном кране затруднительно. К проведению такого контроля и к устранению дефектов (при необходимости) в процессе монтажа целесообразно привлечь владельца крана, что должно быть оговорено в договоре на монтаж крана. К таким операциям по контролю следует отнести:

10.4.1. Контроль за наличием зазора под одной из опор на собранной опорной (ходовой) раме. Допустимый зазор под одной из опор не должен превышать величины  (где В - база крана) (рис. 18).

 

Рис. 18. Схема к определению зазора под одной из опор ходовой рамы

10.4.2. Контроль зазора у ездовых катков грузовой тележки на всей длине стрелы. Допустимый зазор не должен превышать величины  (где В1- база тележки) (рис. 19).

 

Рис. 19. Схема к определению зазора под опорой грузовой тележки

10.4.3. Контроль прямолинейности собранной из секций стрелы. Отклонение от прямолинейности не должно превышать величины  (где L - расстояние от опорного шарнира стрелы до точки подвеса, принимаемой по оси стрелы) (рис. 20).

 

Рис. 20. Схема к определению прямолинейности собранной из секций стрелы

10.5. Перед подъемом башни необходимо:

проверить наличие смазочных материалов во всех смазываемых местах, особенно в тех, куда после подъема крана доступ будет затруднен (шарниры стрелы, блоки оголовка, стрелы, распорки, стрелового полиспаста и т п.);

проверить крепление узлов металлоконструкций, механизмов, канатов.

10.6. В момент подхода башни (при ее подъеме) к вертикальному положению необходимо следить за плавным подводом башни к упорам во избежание ее запрокидывания. С этой целью следует использовать стяжные болты 1 либо домкраты, если иное не предусмотрено ИМ (рис. 21).

 

Рис. 21. Пример обеспечения плавного подвода башни к
вертикальному положению:

1 - стяжные болты

10.7. При монтаже секций как поворотной, так и неповоротной башни необходимо следить за порядком расположения секций, так как на некоторых кранах секции имеют различную толщину стенок поясных труб. В этом случае необходимо следить за наличием надписей на промежуточных секциях: «верхняя», «средняя», «нижняя», отличающихся диаметрами заходных втулок.

На ряде кранов секции имеют различное расположение лестниц, поэтому секции необходимо собирать, выдерживая непрерывный путь перемещения крановщика по лестницам для обеспечения нормального доступа в кабину.

10.8. При наращивании (подращивании) башни необходимо обеспечить максимальное уравновешивание поднимаемой части крана. При использовании монтажной стойки уравновешивание должно производиться относительно оси стойки, а при использовании монтажной обоймы - относительно оси башни, если иное не оговорено в ЭД.

10.9. При расстыковке секций башни перед очередным наращиванием необходимо убедиться, что все гайки крепления фланцев отвернуты и поднимаемая верхняя часть крана ничем не удерживается.

10.10. При наращивании секций башни приставного крана (рис. 22) требуется уделять особое внимание своевременному монтажу промежуточных рам крепления 2 к зданию 1. Неустановленная по проекту рама крепления приведет в момент достижения краном предельной высоты для свободно стоящего крана Нс.с к невозможности установки связей крепления 3 к зданию и потребует, как следствие, демонтажа ряда вышележащих секций 3 башни для установки пропущенной ранее рамы крепления 2. Места установки должны быть оговорены в ДКМ и ИМ.

 

Рис. 22. Необходимость демонтажа верхних секций 3 башни при
несвоевременной установке рамы крепления 2 крана к зданию 1

10.11. Проведение первоначального монтажа крана с неповоротной башней и монтажной стойкой (рис. 23) необходимо планировать таким образом, чтобы работы от момента установки монтажной стойки 1 внутрь проема противовесной консоли 2 и установки фиксатора 3 между поворотной и неповоротной частями крана до момента выхода монтажной стойки из проема консоли и снятия фиксатора проводились в течение одного дня во избежание неожиданного появления ветра нерабочего состояния. В случае возникновения ветра нерабочего состояния необходимо опустить стрелу 4 на землю во избежание скручивания башни.

 

Рис. 23. Положение монтажной стойки 1, при котором прекращение
монтажных работ не допускается

10.12. Перед подъемом (опусканием) стрелы из вертикального положения в рабочее (рис. 24) должно быть проконтролировано положение монтажной стойки стрелы 1 (кронштейна), которая должна занимать монтажное положение согласно указаниям ДКМ.

При стойке, не переведенной в монтажное положение, может в несколько раз уменьшиться плечо и соответственно увеличиться до максимального расчетного усилие в стреловом расчале Sp.

Указанное усилие создает изгибающий момент на башню, который может изогнуть башню в сторону противовеса, так как уравновешивание башни не достигается, ибо момент от массы стрелы Мспри монтаже стрелы близок к нулю. При работе изгиб не достигается, так как башня уравновешена стрелой и поднимаемым грузом (DМр ~ 0).

 

Рис. 24. Схема к иллюстрации возникновения при монтаже
изгибающего момента (
DМм » АМр) на башню, опасного для ее
прочности:

1 - монтажная стойка, не переведенная в проектное положение;
Мр- момент от рабочего груза; Мп- момент на башню в сторону
противовеса; Мс- момент на башню от массы стрелы

10.13. При установке балочной стрелы в наклонное положение под углом 30° должна быть изменена схема запасовки грузового каната (рис. 25) с откреплением конца каната 1 от основания стрелы и закреплением каната к грузовой тележке.

 

Рис. 25. Схема запасовки грузового каната:
а - при работе с горизонтальной стрелой; б - то же, со стрелой под
уклоном 30°;
1 - точка крепления грузового каната

При отсутствии перезакрепления конца каната будет перегружена тележечная лебедка и исчезнет горизонтальный ход груза, что может привести к аварийным ситуациям.

11. ОБЩИЕ ТРЕБОВАНИЯ К НАВЕСКЕ И ПЕРЕПАСОВКЕ
КАНАТНЫХ СИСТЕМ БАШЕННЫХ КРАНОВ

11.1. Перед монтажом крана должны быть проверены монтажные схемы запасовки канатов, которые могут отличаться от схем, используемых при работе крана. Монтажные схемы должны быть приведены в Альбоме ДКМ.

Применение различных схем запасовки при работе и монтаже на примере крана КБ-403 приведено на рис. 26.

11.2. Перед монтажом необходимо следить, чтобы канаты были запасованы на все блоки в соответствии с существующими схемами запасовок. Примеры возможных ошибок при запасовке канатов приведены на рис. 27.

11.3. В случае если при перевозке крана канаты должны сниматься с крана, их целесообразно сматывать в бухты или на барабаны для обеспечения их сохранности и облегчения последующего монтажа на кране.

11.4. При длительном хранении канатов, в случае их намотки на барабаны, последние следует хранить с опиранием на реборды (диски), а при намотке в бухты последние рекомендуется хранить подвешенными на штырях.

11.5. При временном хранении на открытом воздухе канаты необходимо предохранять от попадания на канат песка и грязи, для чего канат следует закрыть толем или рубероидом.

11.6. Разматывание канатов при их запасовке на кране в процессе монтажа крана (если канаты перевозились отдельно) необходимо производить путем вращения барабана или бухты (рис. 28). Снимать канат витками не рекомендуется, так как это ведет к образованию петель пучков, расслоению прядей и заломам каната.

 

Рис. 26. Схема запасовки канатов (на примере крана КБ-403):

I - при работе; II - при монтаже;
а - схемы запасовки грузовых канатов; б - то же, стреловых
канатов; в - то же, тележечных канатов;
1 - стрела; 2 - грузовая тележка; 3 - крюковая подвеска;
4 - распорка; 5 - оголовок; 6 - поворотная платформа;
7 - оси крепления портала; 8 - монтажная стойка

 

Рис. 27. Схемы правильной и неправильной запасовки канатов:
а - тележечного каната; б - то же, с отводным блоком перед
барабаном; в - стрелового каната; г - грузового каната

 

Рис. 28. Способы размотки каната с барабана (о) и из бухты (б, в)

11.7. При разматывании нового каната с барабана, из бухты следует проверять, нет ли в нем дефектов изготовления сплющенности каната, неравномерности сечения прядей, выпучивания прядей, волнистости, ржавчины, отсутствия смазки.

11.8. При контроле состояния канатов в процессе их разматывания особое внимание надо уделять тем участкам каната, которые в процессе цикла работы крана проходят по наибольшему числу блоков. На рис. 29 приведены типовые схемы запасовки канатов и указаны зоны каната (а-а), которые подвержены наибольшему числу перегибов. Подробное определение зон, где возникает наибольшее число проходов по блокам, приведено в РТМ 22-175.

 

Рис. 29. Типовые схемы запасовки канатов:
а-а - участки каната, испытывающие при работе наибольшее числоперегибов

11.9. Перед монтажом особое внимание следует уделять контролю вантовых канатов, доступ к которым на смонтированном кране невозможен.

Необходимо также проконтролировать состояние стреловых и расчальных канатов, не перемещающихся при работе по блокам. Если эти канаты к моменту монтажа отработали 5 лет, они должны быть заменены независимо от их внешнего состояния.

11.10. Перед навеской нового каната необходимо отмерить длину каната в соответствии с ЭД и излишний канат отрубить (отрезать).

11.11. Перед отрубкой (отрезкой) каната необходимой длины место предполагаемой рубки необходимо обвязать мягкой проволокой с двух сторон при диаметре каната более 15 мм. При меньшем диаметре каната его допускается не обвязывать. Направление обвязки следует принимать противоположным направлению свивок прядей каната. Концы обвязочной проволоки следует максимально затянуть. Последовательность обвязки концов каната перед рубкой приведены на рис. 30.

 

Рис. 30. Последовательность обвязки (I-V) каната перед рубкой:
7 - канат; 2 - проволока; 3 - место рубки

11.12. Отрубку (отрезку) каната следует производить с помощью зубила, наждачного отрезного диска, дисковой пилы или другим аналогичным инструментом. Канат может быть разрезан и концы реза обварены с помощью электросварочного аппарата.

11.13. При замене канатов рекомендуется освободить канат от нагрузки (в случае замены наиболее изнашиваемого грузового каната для этого необходимо опустить на землю крюковую подвеску), соединить свободный конец каната (противоположный концу, закрепленному на барабане лебедки) с новым канатом мягкой проволокой (рис. 31) и, включая лебедку, намотать на ее барабан весь старый канат, тем самым протягивая через все блоки новый канат. После этого канаты необходимо разъединить, смотать старый канат с барабана, закрепить и намотать на последний новый канат.

 

Рис. 31. Замена грузового каната на кране КБ-100:
1 и 2 - канаты; 3-5 - проволока

11.14. При сматывании всего существующего каната на барабан на период перевозки допускаются отступления от Правил (ПБ 10-382-00) по величине свободной величины реборды, так как эта намотка является монтажной операцией и канат при этом не находится в работе.

11.15. В случае если заменяемый канат уже снят с блоков (распасован), для навески нового каната диаметром более 15 мм рекомендуется сначала пропустить по блокам более тонкий канат (диаметром 7 - 8 мм), а затем конец нового каната соединить с тонким канатом мягкой проволокой и, наматывая на одну из лебедок (грузовую монтажную) тонкий канат, протянуть через все блоки новый рабочий канат.

11.16. Наматывание канатов на барабаны под рабочую запасовку может быть поручено только рабочим, имеющим опыт в подобных операциях. Намотку канатов на барабаны следует производить с натяжением не менее 300 Н (30 кгс).

11.17. При запасовке или перепасовке канатов (особенно канатов стрелового расчала и стреловых) необходимо всегда помнить о возможности самопроизвольного перемещения концов канатов под действием сил тяжести. Во избежание этого при отсоединении концов канатов с барабанов или металлоконструкций канаты должны быть временно зафиксированы с помощью зажимов, примоткой мягкой проволокой или другими подобными способами.

12. ТРЕБОВАНИЯ К СТРОПОВКЕ УЗЛОВ

12.1. При перемещении элементов крана следует применять схемы строповки, рекомендуемые в Альбомах ДКМ или ИМ.

12.2. Стропы следует принимать согласно ГОСТ 25573 и РД 10-33.

12.3. Согласно ГОСТ 25573 и РД 10-33 при монтаже кранов могут применяться стропы следующих типов (рис. 32):

1СК - одноветвевые (в том числе с двумя крюками или карабинами);

2СК - двухветвевые;

3СК - трехветвевые;

4СК - четырехветвевые;

СКП - двухпетлевые (по РД 10-33 - универсальные УСК-1, исполнение 1);

СКК - кольцевые (по РД 10-33 - универсальные УСК-2, исполнение 2).

 

Рис. 32. Виды стропов:
1СК - одноветвевые; 2СК - двухветвевые; 3СК - трехветвевые;
4СК - четырехветвевые; СКП (УСК-1) - двухпетлевые
(универсальные, исп. 1); СКК (УСК-2) - кольцевые (универсальные,
исп. 2); 1СК с 2 крюками - одноветвевой двухкрюковой

12.4. Допускается одноветвевой строп выпускать с 2 захватами (крюками, карабинами) для использования, например, при подъеме и кантовании кабин.

12.5. Максимальная грузоподъемность и длина стропов должна приниматься в зависимости от применяемых грузов.

12.6. Грузоподъемность стропов (в процентах от максимальной) при различных схемах подвески грузов приведена в табл. 6.


Таблица 6

Допустимая грузоподъемность при различном использовании
стропов (в процентах от паспортной грузоподъемности)

Тип стропа

Схема подвески груза/грузоподъемность в %

1

2

3

4

5

6

7

Кольцевой и одноветвевой

a до 45°

a до 90°

a до 120°

100

70

200

185

140

100

Четырехветвевой

a до 45°

a до 45°

100

100
(при равномерном
распределении нагрузки)

80

63

40

Трехветвевой

a до 45°

 

 

 

100

80

50

 

 

 

Двухветвевой

 

 

 

 

100

80

 

 

 

 


12.7. Канатные стропы должны изготовляться из стальных канатов по ГОСТ 2688, ГОСТ 3071, ГОСТ 3079, ГОСТ 7668 и ГОСТ 7669. Допускается применять и цепные стропы по РД 10-33.

12.8. Коэффициент запаса прочности канатов стропов принимается не менее 6, цепных стропов - не менее 4.

12.9. Чалочные крюки стропов должны быть снабжены предохранительными замками.

12.10. Звенья и захваты стропов по ГОСТ 25573 должны приниматься в зависимости от района установки (зоны умеренного или холодного климата).

12.11. При строповке грузов, имеющих острые грани и ребра, между ребрами и канатами стропов, огибающих эти ребра, следует размещать подкладки, проставки, предохраняющие стропы от повреждений (рис. 33). При обвязке грузов цепными стропами не следует допускать изгиба звеньев на ребрах груза.

 

Рис. 33. Строповка грузов с использованием деревянных проставок (а),
проставок из разрезанной трубы (б), проставок из резинотканевых
шлангов, плоских ремней (в)

13. ПУСКОНАЛАДОЧНЫЕ РАБОТЫ И ИСПЫТАНИЯ КРАНА

13.1. В случае если на период монтажа крана был уложен только монтажный участок пути, то по окончании монтажа необходимо закончить укладку и приемку рельсового пути на всю проектную длину и его обустройство, включая:

установку тупиковых упоров;

установку отключающих устройств;

ограждение рельсового пути;

обкатку пути краном без нагрузки и с рабочей нагрузкой;

приемку пути в целом и его заземления.

Путь должен полностью соответствовать ПРп и РД 22-28-35.

13.2. После монтажа крана и рельсового пути (для рельсовых кранов) необходимо привести кран в рабочее состояние в соответствии с РЭ, включая:

удаление с крана инструмента, такелажных приспособлений и незакрепленных деталей;

заполнение смазкой редукторов, механизмов (не залитых ранее);

проверку работы механизмов;

проверку работы электрооборудования и его наладку;

регулировку работы тормозов;

проверку состояния канатов;

проверку болтовых соединений;

проверку состояния металлоконструкций и ограждений площадок и лестниц, с их правкой, подкраской при необходимости.

Часть из указанных работ может быть совмещена с работами по п. 13.4 настоящего РД, проводимыми при внеочередном техническом освидетельствовании.

13.3. Пусконаладочные работы должны проводиться совместно силами монтажной организации и владельца крана, что должно быть отражено в договоре на монтаж крана.

13.4. После завершения всех работ по монтажу согласно Правилам (ПБ 10-382-00) должно проводиться внеочередное полное техническое освидетельствование крана, требования и объем которого регламентированы Инструкцией по проведению технического освидетельствования грузоподъемных кранов (ИТОс 22-01-01), включающей:

осмотр узлов;

обкатку крана без нагрузки и с рабочим грузом;

проверку работы приборов и устройств безопасности;

статические и динамические испытания. Требования настоящего пункта не распространяются на быстромонтируемые краны.

13.5. ВТОс должно проводиться владельцем крана (инженерно-техническим работником по надзору за безопасной эксплуатацией крана при участии инженерно-технического работника, ответственного за содержание крана в исправном состоянии) или по поручению владельца - специализированной организацией. При проведении ВТОс на отдельных этапах может при необходимости участвовать и монтажная организация.

13.6. При проведении осмотра крана в процессе ВТОс оценивается полнота и правильность монтажа крана, схем запасовки канатов, работоспособность механизмов и средств защиты крана.

Обкатку крана без нагрузки следует осуществлять в течение 10 - 15 мин. За время обкатки необходимо проверить работу всех механизмов крана и надежность действия ограничителей, а также надежность креплений канатов. Допускается обкатку крана совмещать с обкаткой рельсового пути по п. 13.1.

13.7. Объем работ по проверке и приведению в рабочее состояние приборов и устройств безопасности должен соответствовать требованиям, приведенным в ДКМ или ИМ.

13.8. При испытаниях крана под нагрузкой должны быть проведены статические и динамические испытания.

13.9. Статические испытания должны проводиться с перегрузкой 25 % максимальной грузоподъемности на наибольшем для этой грузоподъемности вылете. Кран устанавливается в положение, отвечающее наименьшей расчетной устойчивости крана (если колея и база равны, то стрела устанавливается вдоль пути, а если база превышает колею, то стрела устанавливается поперек пути).

13.9.1. При статических испытаниях груз следует поднять на 100 - 200 мм и удерживать в этом положении в течение 10 мин.

13.9.2. При оборудовании крана подъемником для крановщика должны быть проведены статические испытания подъемника со 100 %-ной перегрузкой.

13.10. Динамические испытания как крана, так и подъемника должны проводиться с перегрузкой 10 % максимальной грузоподъемности и с совмещением рабочих движений, предусмотренным паспортом крана. Должно быть проведено не менее трех циклов рабочих движений, включающих:

подъем (опускание) на половину высоты подъема;

передвижение на 10 - 15 м в обе стороны;

поворот на 180° (и обратно);

изменение вылета на половину диапазона вылета, допустимого для данной грузоподъемности.

13.11. По окончании испытаний контроль за состоянием регистратора параметров (при его наличии) и считывание с него информации должны проводиться в соответствии с требованиями ЭД на регистратор параметров и Инструкции по считыванию и оформлению информации с регистратора параметров.

13.12. Дефекты, выявленные на различных стадиях ВТОс, должны быть устранены в процессе технического освидетельствования, после чего испытания могут быть продолжены до полного их завершения. Остаточные деформации и трещины в металлоконструкциях не допускаются.

13.13. Для получения разрешения на пуск крана в работу владельцем должны быть подготовлены:

проект производства работ краном (ППРк);

проект рельсового пути (ПРп);

график проведения технических обслуживании и ремонтов (график ТОиР);

приказы о назначении инженерно-технических работников по надзору за безопасной эксплуатацией крана, рельсового пути и грузозахватных приспособлений, инженерно-технического работника, ответственного за содержание крана в исправном состоянии, и лица, ответственного за безопасное производство работ краном. Последнее лицо может быть оформлено организацией, которую обслуживает смонтированный кран.

13.14. Пуск в работу может быть произведен только после получения разрешения от органа Госгортехнадзора, а для нерегистрируемых кранов - от инженерно-технического работника по надзору за безопасной эксплуатацией крана.

14. ДЕМОНТАЖ БАШЕННЫХ КРАНОВ

14.1. По окончании работ на объекте владелец крана совместно с монтажной организацией до начала демонтажа крана должен:

определить место установки крана на период демонтажа в соответствии с ППРк, ППРм (при их наличии);

обеспечить исправное состояние крана;

принять меры по предотвращению угона крана ветром.

14.2. В случае необходимости проведения демонтажа крана, отработавшего нормативный срок службы и у которого закончился разрешенный срок эксплуатации (после предыдущего обследования), вопрос о допустимости демонтажа крана без проведения его обследования должен быть решен владельцем крана совместно со специализированной организацией по обследованию кранов.

14.3. Демонтаж следует вести в порядке, оговоренном в Альбоме ДКМ или ИМ. При отсутствии в Альбоме ДКМ и при отсутствии конкретизации в ИМ вопросов демонтажа особенности демонтажа в конкретных условиях данного объекта должны быть учтены в ППРм либо решаться на месте монтажной организацией.

14.4. Одним из основных серьезных вопросов, отличающих демонтаж от типового монтажа крана, является специфика демонтажа кранов в стесненных условиях, когда возведенные возле крана строения не оставляют достаточно места для демонтажа в нормальных условиях. В этом случае для демонтажа крана можно воспользоваться одним из следующих способов:

кран может быть разобран на узлы с помощью мощного монтажного крана, имеющего необходимую высоту подъема и грузоподъемность;

если демонтаж невозможен из-за отсутствия места для крепления якорей, можно использовать в качестве якорей элементы возведенного здания. Однако нагрузки на здание при этом не должны быть опасными для его прочности;

если отсутствует место для демонтажа, можно переместить кран на свободную территорию;

для кранов с поворотной башней можно осуществить демонтаж крана поперек рельсового пути, что потребует проверки прочности элементов, несущих большие нагрузки по сравнению с проектным демонтажом;

поузловой демонтаж стрелы и противовесной консоли с последующим опусканием башни (с помощью монтажной стойки или обоймы) и демонтажом крана в нижнем положении.

14.5. Перемещение крана на свободную территорию (рис. 34) может достигаться либо переводом крана на пересекающийся путь и выездом по нему крана из стесненной зоны (а), либо постепенной передвижкой пути (б).

 

Рис. 34. Способы вывода крана из стесненных условий:
а - с переводом на пересекающийся путь; б - с передвижкой пути;
I, II - положения крана на путях; l - рельсовый путь

14.6. К специфике демонтажа следует отнести и то, что при демонтаже может быть использован монтажный кран с другими грузовой и высотной характеристиками, нежели при монтаже крана.

14.6.1. В случае если монтажный кран имеет большую грузоподъемность и высоту подъема, башенный кран при демонтаже может быть разобран на более крупные узлы, допускаемые грузовой характеристикой монтажного крана.

14.6.2. В случае если монтажный кран имеет меньшие параметры, должны быть разработаны изменения к Альбому ДКМ с учетом реальной грузоподъемности и высоты подъема конкретного крана, используемого при демонтаже.

14.7. При демонтаже крана необходимо учесть, что наибольшие нагрузки во многих конструкциях, канатно-блочных системах и механизмах возникают в конце операций опускания, когда при возникновении каких-либо дефектов практически уже невозможно вернуть узлы в первоначальное положение.

14.8. В связи со спецификой демонтажа размеры монтажной площадки могут отличаться от принятых при монтаже крана. Монтажная площадка, оговоренная в Альбоме ДКМ, должна быть, как и при монтаже, ограждена и обозначена предупредительными знаками и надписями.

14.9. Перед опусканием стрелы необходимо убедиться, что монтажная стойка стрелы (монтажный кронштейн), на которую будут ложиться расчальные канаты стрелы, занимает проектное монтажное положение, ибо при оставлении монтажной стойки не в монтажном положении (к примеру, привязанной к оголовку башни) в канатах стрелового расчала возникают усилия, способные изогнуть башню в сторону противовеса (см. рис. 24).

14.10. Опускание стрелы следует проводить медленно с кратковременными остановками, а при подходе стрелы к башне (на расстояние 2 - 3 м) или к земле (2 - 3 м) необходимо отключить лебедку и дальнейшее опускание стрелы следует осуществлять либо кратковременным растормаживанием вручную тормоза, либо с помощью оттяжки, закрепленной за какое-либо тяговое средство (автомобиль, трактор) или надежно закрепленный предмет, например тупиковый упор.

14.11. До начала демонтажа должен быть решен вопрос о необходимости демонтажа рельсового пути с оставлением монтажного участка пути либо сохранения всего рельсового пути на период демонтажа без изменений.

14.12. Если до начала демонтажа требуется убрать часть рельсового пути, необходимо выбрать монтажный участок пути, который должен отвечать требованиям, предъявляемым к пути в целом. Монтажный участок должен быть заземлен (с устройством при необходимости нового заземления), иметь продольный и поперечный уклоны, не превышающие допустимые при эксплуатации крана, быть оборудован тупиковыми упорами, опорные элементы (полушпалы, балки) должны плотно лежать на балластных призмах.

14.13. При демонтаже железобетонных балок и плит рельсовых путей в зимнее время необходим предварительный отогрев подошвы железобетонных балок (плит) и балласта, расположенного под подошвой балки.

14.14. При подготовке к демонтажу необходимо освободить от смазочного масла редукторы механизмов, которые не будут использованы при монтажных операциях и которые будут менять свое рабочее положение (например, с переходом из горизонтального в вертикальное, или наоборот) при демонтаже крана.

15. ОФОРМЛЕНИЕ ДОКУМЕНТАЦИИ О ЗАВЕРШЕНИИ
РАБОТ ПО МОНТАЖУ (ДЕМОНТАЖУ) КРАНА
И РЕЛЬСОВОГО ПУТИ

15.1. По окончании монтажа в соответствии с Правилами (ПБ 10-382-00) монтажная организация должна составить Акт выполнения монтажных работ, подтверждающий, что монтажные работы выполнены в соответствии с Альбомом ДКМ и (или) Инструкцией по монтажу (ИМ) и ППРм (при наличии). Акт должен быть подписан ответственным представителем монтажной организации.

15.2. На основе Акта выполнения монтажных работ при необходимости может быть составлен Акт сдачи-приемки смонтированного крана, который подписывается представителями монтажной организации и владельца крана.

15.3. Перед началом демонтажа крана на объекте (в случае его последующей перевозки и монтажа на новом объекте без передачи на базу для хранения) при необходимости может составляться Акт сдачи-приемки крана на период монтажных работ, подписываемый представителями владельца крана и монтажной организацией.

В Акте сдачи-приемки крана под демонтаж должны быть отражены результаты проверки работоспособности крана и его механизмов с рабочим грузом на крюке. Данная проверка должна проводиться в целях проверки механизмов, их приводов и тормозов, задействованных в процессе демонтажа крана.

При проверке проводится не менее трех циклов перемещения механизмов в обе стороны с рабочим грузом.

15.4. До начала монтажа должен быть подготовлен Акт сдачи-приемки монтажного участка пути или Акт сдачи-приемки пути под монтаж, если к проведению монтажа путь монтировался на всю рабочую длину, предусмотренную ПРп.

В случае установки крана на фундаменте должен составляться Акт сдачи-приемки этого фундамента.

15.5. К Акту сдачи-приемки монтажного участка пути или пути в целом под монтаж крана должны прикладываться акты нивелировки и измерения сопротивления заземления соответственно на монтажном участке или на всем пути в целом.

15.6. По окончании монтажа крана, обкатки пути и завершения работ по обустройству пути должен составляться Акт сдачи-приемки всего пути с актами нивелировки и измерения сопротивления заземления всего контура рельсового пути. Акт сдачи-приемки монтажного участка пути, как и пути в целом, должен составляться организацией, выполнявшей рельсовый путь, и владельцем крана при участии при необходимости представителя монтажной организации.

15.7. Перед демонтажом крана может быть составлен при необходимости Акт сдачи-приемки монтажного участка пути. Указанный акт должен составляться организацией, выполняющей демонтаж рельсового пути, владельцем крана при участии представителя монтажной организации.

16. ТРЕБОВАНИЯ БЕЗОПАСНОСТИ ПРИ ПРОВЕДЕНИИ
МОНТАЖНЫХ ОПЕРАЦИЙ

16.1. Требования к обслуживающему персоналу

16.1.1. К работам по монтажу (демонтажу) крана могут быть допущены лица не моложе 18 лет, прошедшие медицинское освидетельствование и не имеющие противопоказаний дм работы на высоте, после специального обучения и выдачи им удостоверений на право проведения монтажных работ.

16.1.2. Производитель работ обязан до начала производства работ по монтажу (демонтажу) крана провести с членами монтажной бригады инструктаж с записью в журнале под расписку по безопасным методам ведения работ с учетом особенностей монтируемого крана, а для монтажников-электриков - дополнительно по электробезопасности.

16.1.3. Монтажники обязаны знать правила оказания первой помощи при поражении электрическим током и при травмах.

16.1.4. Монтажники, впервые допущенные к верхолазным работам, в течение одного года должны работать под непосредственным надзором опытных рабочих, назначенных приказом по монтажной организации.

К самостоятельным монтажным работам допускаются рабочие, имеющие стаж монтажных верхолазных работ не менее одного года.

16.1.5. Если кран монтируется первый раз, то монтажники должны вести работы под непосредственным наблюдением прораба по монтажу.

16.1.6. Монтажники, выполняющие функции стропальщиков, должны проводить осмотр грузозахватных приспособлений перед их применением.

16.1.7. Монтажники-верхолазы должны вести монтаж в спецодежде. Не следует применять обувь с гладкой подошвой. На высоте более 1,3 м нужно работать с предохранительным поясом.

16.1.8. Все работники, находящиеся в зоне монтажа крана, должны носить защитные каски.

16.1.9. При подъеме-спуске и передвижении по металлоконструкциям крана руки монтажника должны быть свободны. Инструмент следует носить в застегнутой сумке, перекинутой через плечо. Тяжелые предметы и приспособления следует поднимать к месту работ канатом из органических материалов (пеньковым, хлопчатобумажным, сизальским) или из синтетических волокон, предварительно проверенным испытанием и имеющим бирку.

16.2. Требования к проведению работ

16.2.1. Весь персонал, проводящий работы по монтажу (демонтажу) крана, должен руководствоваться Альбомом ДКМ, заводской Инструкцией по монтажу (ИМ) крана, ППРм, Межотраслевыми правилами по охране труда при эксплуатации электроустановок, а также выполнять указания производителя работ.

16.2.2. Монтаж крана следует проводить в светлое время суток одной монтажной бригадой.

При необходимости работы в 2 смены монтажники заступающей смены должны быть подробно проинформированы бригадиром и ответственным руководителем монтажа крана предыдущей смены о проделанной и предстоящей работах, о состоянии рабочих мест, мерах безопасности и по другим вопросам, связанным с технологическим процессом и условиями производства работ.

16.2.3. Запрещается проводить монтаж (демонтаж) крана во время грозы, при гололедице, плохой видимости, густом тумане, сильном снегопаде или дожде, недостаточном освещении, при падении напряжения в питающей сети более 10 %, при температуре воздуха или при скорости ветра выше пределов, указанных в ДКМ или ИМ крана. При отсутствии в этих документах указанных данных не разрешается производить монтаж при скорости ветра на уровне производства работ более 10 м/с и температуре ниже -20 °С.

16.2.4. После снегопада перед продолжением работ по монтажу (демонтажу) необходимо произвести тщательную очистку от снега конструкций крана, систем управления, рабочих мест и рельсового пути.

16.2.5. В зимнее время рабочие места и проходы следует периодически очищать от льда и снега, посыпать их песком или шлаком.

16.3. Требования к порядку проведения монтажных работ

16.3.1. Монтаж элементов крана следует вести в следующем порядке:

застропить элемент по схеме строповки и натянуть канат съемного грузозахватного приспособления;

убедиться в надежности строповки путем поднятия элемента на незначительную высоту, а затем подать элемент к месту его установки;

закрепить элемент в проектном положении;

расстропить элемент, соединить электропроводку (при необходимости).

16.3.2. Демонтаж элементов крана следует вести в следующем порядке:

разъединить электропроводку между монтажными узлами (при необходимости);

застропить демонтируемый элемент согласно схеме строповки;

разъединить стык и приподнять демонтируемый элемент. При необходимости использовать для его отрыва монтажный лом, оправку, зубило;

отвести элемент, опустить на землю и расстропить.

16.3.3. Устранять неисправности, выявленные в процессе монтажа, разрешается только после полной остановки механизмов, отключения рубильника и вывешивания предупредительного плаката: «Не включать, работают люди!».

16.3.4. В процессе испытаний крана под нагрузкой люди, проводящие техническое освидетельствование, и обслуживающий персонал не должны находиться в подвижной зоне 1 непосредственной опасности, составляющей сектор ±30° относительно продольной оси поворотной части крана как в сторону стрелы, так и в сторону противовеса (рис. 35).

 

Рис. 35. Расположение подвижной зоны 1 непосредственной опасности

16.4. Требования к управлению краном

16.4.1. Управление краном в период монтажа должно проводиться:

с выносного пульта - при выполнении собственно монтажа крана и проведении статических и динамических испытаний;

из кабины - при обкатке крана и проведении пусконаладочных работ без груза;

из кабины - при работах с грузом [в том числе при настройке и регулировке ограничителя грузоподъемности ОГП)] при обязательном условии, что предварительно уже были проведены статические и динамические испытания, подтвердившие прочность, устойчивость и правильность сборки (монтажа) крана.

16.4.2. При управлении из кабины в период монтажа нахождение в кабине лиц, не требующихся при проведении обкатки, пусконаладочных работ, настройки и регулировки ОГП, не допускается.

16.4.3. Требования к управлению быстромонтируемым краном принимаются согласно указаниям, записанным в РЭ крана.

16.4.4. К управлению краном с выносного пульта и к строповке узлов крана при монтаже допускаются монтажники после соответствующего инструктажа и проверки навыков по управлению краном и строповке грузов в установленном владельцем порядке.

16.5. Требования к ограждениям и средствам доступа

16.5.1. Зона монтажной площадки должна быть ограждена по периметру, а на ограждениях - вывешены предупреждающие плакаты. Если при демонтаже крана имеется возможность выхода людей из здания в зону монтажной площадки, то на время работ указанный выход должен быть закрыт.

16.5.2. Для перехода монтажников по смонтированным узлам крана следует пользоваться предусмотренными для этих целей лестницами, переходными площадками и трапами с перилами.

16.6. Запрет на проведение отдельных видов работ

16.6.1. При производстве работ по монтажу (демонтажу) крана запрещается:

находиться монтажникам на высоте без предохранительных поясов;

находиться посторонним лицам на монтажной площадке;

находиться людям на поднимаемом, спускаемом или подвешенном грузе;

опускать или поднимать людей на подвешенном грузе;

находиться людям под поднимаемым или опускаемым грузом, а также в зоне возможного падения стрелы;

оставлять на весу без надзора поднятые конструкции;

отрывать краном опорные элементы рельсового пути (полушпалы, балки), примерзшие к земле;

сбрасывать предметы и инструмент с высоты;

применять для подъема груза срощенные канаты;

включать рубильник подачи электропитания к крану без специального указания руководителя работ;

производить подъем и опускание конструкций и грузов при падении напряжения в электросети более 10 % номинальной величины;

применять нештатные стыковые оси, пальцы, болты и гайки, не предусмотренные проектом;

монтировать кран у котлована без соответствующего указания в проекте организации работ краном.

16.6.2. В момент выдвижения башни монтажникам и другому обслуживающему персоналу запрещается находиться на кране и его площадках.

16.6.3. Во время выдвижения верхней части крана монтажникам запрещается:

находиться на поднимаемой конструкции или в верхней части башни;

оставлять на весу поднятые конструкции;

оставлять монтажную стойку, проходящую через проем противовесной консоли, а также поворотную часть (с установленным фиксатором) на ночной перерыв, на выходные и праздничные дни, а также при повышении скорости ветра более 10 м/с на уровне производства монтажных работ;

выход в монтажную стойку до выдвижения ее верхних упоров и закрепления их за башню;

покидать выносной пульт управления во время выдвижения верхней части крана;

производить выдвижение верхней части крана выше положения, указанного в требованиях по монтажу конкретного крана;

не допускать включения механизмов, не требующихся в данной операции, не с теми скоростями и не в той последовательности.

16.6.4. Запрещается производить работы, не связанные с монтажом электрооборудования, при открытых дверцах шкафа электрооборудования, а также нахождение в аппаратной кабине посторонних лиц. Шкафы и аппаратные кабины должны быть заперты на ключ. Ключи должны находиться у лица, ответственного за производство электромонтажных работ.

16.6.5. При производстве погрузочно-разгрузочных работ монтажники обязаны открывать борта разгружаемой автомашины только после того, как находящиеся в кузове узлы крана будут освобождены от вязальной проволоки. При этом следует убедиться, что при открывании бортов конструкция не выпадет, укладывать элементы крана на транспортные средства так, чтобы исключалась возможность их опрокидывания или смещения при транспортировании.

16.6.6. В процессе монтажа (демонтажа) крана на монтажной площадке запрещается производить какие-либо другие работы. На площадку запрещается доступ лиц, не принимающих участия в монтажных (демонтажных) операциях.

16.6.7. Запрещается проводить работы одновременно в двух и более уровнях без соответствующих мер защиты людей.

16.6.8. Запрещается производить загрузку (разгрузку) элементов на транспортные средства при нахождении водителя в кабине автомашины, а стропальщика в ее кузове.

16.7. Требования при перемещении грузов кранами

16.7.1. Подвеску элементов следует осуществлять таким образом, чтобы крюк монтажного крана располагался над центром тяжести узла, а грузовые канаты монтажного крана находились в вертикальном положении, не допуская косого натяжения канатов.

16.7.2. Строповку элементов крана разрешается производить только испытанными и маркированными грузозахватными приспособлениями (стропами).

16.7.3. Перед перемещением груза он должен быть предварительно поднят на 0,2 - 0,3 м и должна быть проверена надежность закрепления и равномерность натяжения стропов.

16.7.4. При подъеме грузов строповку следует осуществлять таким образом, чтобы исключалась возможность выпадания части груза и обеспечивалось устойчивое положение груза при его перемещении.

16.7.5. Стропы следует располагать таким образом, чтобы угол между ветвями стропов не превышал 90°.

В исключительных случаях допускается угол принимать до 120° с соответствующим уменьшением грузоподъемности стропа согласно табл. 6.

16.7.6. При использовании строповки в обхват (на удавку) строп перед перемещением груза следует надежно затянуть, ударяя по охватывающей петле деревянной киянкой или слегой.

16.7.7. Для исправления положения стропов необходимо предварительно опустить груз и ослабить стропы.

16.7.8. Не допускается:

применять обледенелые канаты для строповки элементов крана;

оттягивать груз руками во время подъема (опускания) или перемещения груза;

поправлять стропы на весу.

16.7.9. При горизонтальном перемещении грузов необходимо, чтобы он был предварительно поднят не менее чем на 0,5 м выше встречающихся на пути препятствий.

16.7.10. Перед подъемом груза, установленного вблизи стен, штабеля, вагона, транспортных средств, необходимо убедиться, что между стеной, штабелем, вагоном и транспортными средствами нет людей, после чего стропальщик сам должен выйти из этой зоны.

16.7.11. Развертывать груз, а также предотвращать самопроизвольный разворот длинномерных узлов крана вручную во время их подъема и перемещения не допускается. С этой целью следует пользоваться специальными веревочными оттяжками - пеньковыми канатами. Эти канаты должны периодически проверяться, что должно отражаться на соответствующей бирке.

16.7.12. Выполнение кантовки грузов разрешается производить в соответствии со схемами, приведенными в ДКМ, в которых должны быть отражены последовательность выполнения операций, способ строповки груза и указания по безопасному выполнению работ.

16.7.13. При укладке узлов на землю под них предварительно должны быть подложены прочные подкладки так, чтобы ветви стропов могли быть легко и без повреждения извлечены из-под груза.

16.7.14. Снимать стропы с груза и (или) крюка можно только после надежной установки груза, элемента на место.

 

Приложение А

к РД 22-28-37-02

ПЕРЕЧЕНЬ ИСПОЛЬЗОВАННЫХ
НОРМАТИВНЫХ ДОКУМЕНТОВ

ГОСТ 2.102-68*

ЕСКД. Виды и комплектность конструкторских документов.

ГОСТ 2.601-95*

ЕСКД. Эксплуатационные документы.

ГОСТ 2688-80*

Канат двойной свивки типа ЛК-Р конструкции 6´19 (1+6+6/6)+1 о.с. Сортамент.

ГОСТ 3071-88*

Канат стальной и двойной свивки типа ТК конструкции 6´37 (1+6+12+18)+1 о.с. Сортамент.

ГОСТ 3079-80*

Канат двойной свивки типа ТЛК-0 конструкции 6´37 (1+6+15+15)+1 о.с. Сортамент.

ГОСТ 7668-80*

Канат двойной свивки типа ЛК-РО конструкции 6´36 (1+7+7/7+14)+1 о.с. Сортамент.

ГОСТ 7669-80*

Канат двойной свивки типа ЛК-РО конструкции 6´36 (1+7+7/7+14)+7´7(1+6). Сортамент.

ГОСТ 13556-91

Краны башенные строительные. Общие технические условия.

ГОСТ 23407-78

Ограждения инвентарные строительных площадок и участков производства строительно-монтажных работ. Технические условия.

ГОСТ 25573-82*

Стропы грузовые канатные для строительства. Технические условия.

ПБ 10-382-00

Правила устройства и безопасной эксплуатации грузоподъемных кранов.

ПОТ Р М-016-2001

Межотраслевые правила по охране труда (Правила безопасности) при эксплуатации электроустановок.

СНиП III-4-80

Строительные нормы и правила. Правила производства приемки работ. Техника безопасности в строительстве.

СНиП 12-03-2001

Безопасность труда в строительстве. Часть 1. Общие требования.

РД 10-33-93

Стропы грузовые общего назначения. Требования к устройству и безопасной эксплуатации. (С изм. № 1).

РД 22-28-35-99

Конструкция, устройство и безопасная эксплуатация рельсовых путей башенных кранов.

РД 22-28-36-01

Краны грузоподъемные. Типовые программы и методики испытаний.

ИТОс 22-01-01

Инструкция по проведению технического освидетельствования грузоподъемных кранов.

РТМ 22-175-93

Краны башенные строительные. Нормы расчета срока службы стальных канатов.

 

Приложение Б

к РД 22-28-37-02

РЕКОМЕНДУЕМЫЕ СХЕМЫ СТРОПОВОК ОСНОВНЫХ
ЭЛЕМЕНТОВ БАШЕННЫХ КРАНОВ

Перечень схем строповок

1. Строповка ходовой рамы в сборе с флюгерами.

2. Строповка поворотной платформы.

3. Строповка башни крана за оголовок при снятии крана с тягача.

4. Строповка секции башни.

5. Строповка секции стрелы.

6. Строповка стрелы в сборе при навешивании на башню.

7. Строповка грузовой лебедки.

8. Строповка ходовой тележки.

9. Строповка механизма поворота.

10. Строповка плиты противовеса.

11. Строповка кабины (в случае необходимости ее кантования).

 

Схема 1. Строповка ходовой рамы в сборе с флюгерами

 

Схема 2. Строповка поворотной платформы

 

Схема 3. Строповка башни крана за оголовок при снятии крана с тягача

 

Схема 4. Строповка секции башни

 

Схема 5. Строповка секции стрелы

 

Схема 6. Строповка стрелы в сборе при навешивании на башню

 

Схема 7. Строповка грузовой лебедки

 

Схема 8. Строповка ходовой тележки

 

Схема 9. Строповка механизма поворота:
а - с планетарным редуктором; б - с цилиндрическим редуктором;
А - перед строповкой открыть кожух

 

Схема 10. Строповка плиты противовеса

 

Схема 11. Строповка кабины (в случае необходимости ее кантования)

 

 

СОДЕРЖАНИЕ

1. Область применения

2. Нормативные ссылки

3. Термины и определения

4. Виды и способы монтажа

5. Требования к организации работ при монтаже (демонтаже) крана

6. Требования к разработке регламентов, связанных с безопасностью работ при монтаже

6.1. Общие требования

6.2. Требования к разработке Инструкции по монтажу крана (ИМ)

6.3. Требования к разработке Альбома технологических карт на монтаж (демонтаж) крана

6.4. Специальные требования к разработке проекта рельсового пути (ПРп), связанные с обеспечением монтажа (демонтажа) крана

6.5. Дополнительные требования к разработке проекта организации строительства (ПОС)

6.6. Требования к разработке ППРм и ППРк

6.7. Требования к разработке должностных и производственных инструкций

7. Заезд (завоз) крана на рельсовый путь или строительную площадку

7.1. Заезд на строительную площадку быстромонтируемого крана

7.2. Завоз крана в мобильном исполнении на подготовленный рельсовый путь

7.3. Завоз крана на монтажную площадку отдельными узлами

8. Выбор стрелового крана

9. Подготовительные работы перед монтажом

9.1. Ознакомление с документацией

9.2. Подготовка площадки и необходимого оборудования

9.3. Контроль за состоянием узлов крана

10. Особенности монтажа, требующие особого внимания монтажников

11. Общие требования к навеске и перепасовке канатных систем башенных кранов

12. Требования к строповке узлов

13. Пусконаладочные работы и испытания крана

14. Демонтаж башенных кранов

15. Оформление документации о завершении работ по монтажу (демонтажу) крана и рельсового пути

16. Требования безопасности при проведении монтажных операций

16.1. Требования к обслуживающему персоналу

16.2. Требования к проведению работ

16.3. Требования к порядку проведения монтажных работ

16.4. Требования к управлению краном

16.5. Требования к ограждениям и средствам доступа

16.6. Запрет на проведение отдельных видов работ

16.7. Требования при перемещении грузов кранами

Приложение А.

Перечень использованных нормативных документов

Приложение Б.

Рекомендуемые схемы строповок основных элементов башенных кранов