Методика устанавливает порядок выполнения измерений расхода воды в трубопроводах больших диаметров с помощью сегментных диафрагм и предназначена для персонала проектных, наладочных и эксплуатационных энергетических предприятий.
| Обозначение: | РД 153-34.0-11.339-97 |
| Название рус.: | Методика выполнения измерений расхода воды в трубопроводах больших диаметров |
| Статус: | действует |
| Дата актуализации текста: | 05.05.2017 |
| Дата добавления в базу: | 01.09.2013 |
| Дата введения в действие: | 01.02.1999 |
| Утвержден: | 28.08.1997 РАО ЕЭС России (UES of Russia RAO ) |
| Опубликован: | СПО ОРГРЭС (1999 г. ) |
| Ссылки для скачивания: |
РОССИЙСКОЕ АКЦИОНЕРНОЕ ОБЩЕСТВО
ЭНЕРГЕТИКИ И ЭЛЕКТРИФИКАЦИИ "ЕЭС РОССИИ"
______________
ДЕПАРТАМЕНТ СТРАТЕГИИ РАЗВИТИЯ
И НАУЧНО-ТЕХНИЧЕСКОЙ ПОЛИТИКИ
МЕТОДИКА
ВЫПОЛНЕНИЯ ИЗМЕРЕНИЙ РАСХОДА ВОДЫ
В ТРУБОПРОВОДАХ БОЛЬШИХ ДИАМЕТРОВ
РД 153-34.0-11.339-97
СЛУЖБА ПЕРЕДОВОГО ОПЫТА ОРГРЭС
Москва 1999
Разработано Открытым акционерным обществом "Фирма по наладке, совершенствованию технологии и эксплуатации электростанций и сетей ОРГРЭС"
Исполнители А.Д. МЕДВЕДОВСКИЙ, Г.М. КОНОВАЛОВ, В.И. ОСИПОВА, Л.В. СОЛОВЬЕВА
Утверждено Департаментом стратегии развития и научно-технической политики РАО "ЕЭС России" 28.08.97 г.
Первый заместитель начальник А.П. БЕРСЕНЕВ
|
МЕТОДИКА |
РД 153-34.0-11.339-97 Введено впервые |
Вводится в действие
с 01.02.99 г.
Настоящая Методика разработана в соответствии с ГОСТ Р 8.563-96 "Методики выполнения измерений", РД 50-213-80 "Правила измерения расхода газа и жидкостей стандартными сужающими устройствами", РД 50-411-83 "Методические указания. Расход жидкостей и газов. Методика выполнения измерений с помощью специальных сужающих устройств" и МИ 1948-88 "Рекомендации. Государственная система обеспечения единства измерений. Расход воды. Методика выполнения измерений сегментными диафрагмами".
Методика устанавливает порядок выполнения измерений расхода воды в трубопроводах больших диаметров с помощью сегментных диафрагм и предназначена для персонала проектных, наладочных и эксплуатационных энергетических предприятий.
1.1. Методика устанавливает требования к организации измерений, алгоритмы подготовки, проведения и обработки результатов измерений объемного расхода воды в трубопроводах большого диаметра (от 200 мм до 4000 мм) с помощью сегментных диафрагм.
Положения настоящей Методики обеспечивают возможность применения сегментных диафрагм без их индивидуальной градуировки.
1.2. Методика обеспечивает получение достоверных количественных показателей точности измерений в стационарном режиме работы энергооборудования при принятой доверительной вероятности Р = 0,95 и устанавливает способы их выражения.
1.3. Согласно "Рекомендациям по оснащению ТЭС и АЭС водоизмерительной аппаратурой" (М.: СПО Союзтехэнерго, 1988) устанавливают значения предельной относительной погрешности измерения расхода воды в трубопроводах больших диаметров, равные значениям, указанным в табл. 1.
2.1. Расход воды в трубопроводах больших диаметров является одним из важнейших параметров при контроле за состоянием оборудования и ведением оптимального технологического режима.
2.2. Вышеуказанный параметр также участвует в коммерческих расчетах при контроле за водопотреблением тепловых и гидравлических электростанций.
2.3. В связи с относительной сложностью организации и проведения учета расхода воды в трубопроводах больших диаметров стандартными суживающими устройствами заводского изготовления на электростанциях широко применяют сегментные диафрагмы как наиболее простой метод измерений. При этом сегментные диафрагмы рассчитываются и изготавливаются в условиях конкретной электростанции с учетом геометрических размеров трубопровода и параметров измеряемой среды (см. табл. 1).
2.4. Сегментная диафрагма представляет собой тонкую перегородку, устанавливаемую на прямолинейном участке перпендикулярно оси трубопровода (рис. 1). В трубопроводе, по которому протекает жидкость, установленная сегментная диафрагма создает местное сужение потока. Вследствие перехода части потенциальной энергии в кинетическую средняя скорость потока в суженном сечении повышается, в результате чего статическое давление в этом сечении становится меньше статического давления перед сегментной диафрагмой. Разность этих давлений тем больше, чем больше расход протекающей жидкости и может служить мерой ее расхода.
Перечень основных измеряемых потоков,
объемный расход которых
контролируется с помощью сегментных диафрагм
|
Измеряемый поток |
Назначение трубопровода |
Диаметр, |
Расход воды, |
Давление, |
Место установки сегментной диафрагмы |
Предельная погрешность, |
|
Расход воды, подаваемой на электростанцию |
Напорный циркуляционный водовод |
800 - 3400 |
3000 - 5000 |
0,4 (4) |
При блочной схеме - на каждом напорном водоводе. При центральной насосной - на каждом магистральном водоводе |
± 4 |
|
Расход воды, передаваемый сторонним потребителям |
Трубопровод к стороннему потребителю |
200 - 800 |
1000 - 5000 |
0,4 (4) |
На трубопроводе подачи воды к потребителю (в пределах электростанции) |
± 4 |
|
Расход воды, сбрасываемый в источник водоснабжения после очистных сооружений |
Трубопровод сброса воды после очистных сооружений |
200 - 1000 |
2000 - 6000 |
0,2 (2) |
На электростанциях с оборотной системой водоснабжения и брызгальными бассейнами на водоводах сброса очищенных вод в источник водоснабжения |
± 4 |
|
Расход воды на конденсаторы турбин |
Напорный циркуляционный водовод |
400 - 2400 |
4000 - 5000 |
0,2 (2) |
Напорный циркуляционный водовод перед конденсатором турбины |
± 4 |
|
Подача воды на водоподготовительную установку |
Трубопровод на водоподготовительную установку |
200 - 600 |
1000 - 2000 |
0,4 (4) |
На общем отводе воды от напорного циркуляционного водовода или при раздельном отводе - на каждом отводе |
± 4 |
|
Подача воды на теплообменник (масло-, газоохладители и др.) |
Трубопровод отвода воды на теплообменники |
200 - 500 |
800 - 1400 |
0,4 (4) |
На трубопроводах отвода воды на теплообменники на каждом турбогенераторе |
± 5 |
|
Расход воды к внутри-станционным потребителям |
Трубопровод подачи воды к внутристанционным потребителям |
200 - 400 |
500 - 1000 |
0,4 (4) |
На общем отводе или при раздельном отводе - на каждом отводе |
± 5 |
|
Подача циркуляционных насосов, подъемных насосов, насосов технической воды |
Напорные трубопроводы насосов |
500 - 1800 |
3000 - 40000 |
0,2 - 0,4 (2 ÷ 4) |
На напорном трубопроводе циркуляционного или подъемного насоса, насоса технической воды |
± 5 |
Рис. 1. Принципиальная схема установки сегментной
диафрагмы в трубопроводе:
1
- трубопровод; 2 - сегментная диафрагма;
3 - трубки отбора импульса перепада давления
2.5. На энергообъектах сегментные диафрагмы могут использоваться:
для контроля за недопотреблением электростанций в целом;
для контроля за распределением воды по отдельным системам теплообменников (конденсаторы, маслоохладители, газоохладители и др.);
для составления баланса технической воды внутри электростанций;
для получения импульса по расходу воды при автоматизации технологических процессов на электростанции и ведении режимов работы оборудования в оптимальном режиме;
для контроля за состоянием насосного оборудования на электростанции.
3.1. Измерения расхода воды в трубопроводах больших диаметров являются непрерывными косвенными измерениями.
3.2. Мерой расхода воды, протекающей в трубопроводе, является перепад давления, создаваемый сегментной диафрагмой, установленной в трубопроводе.
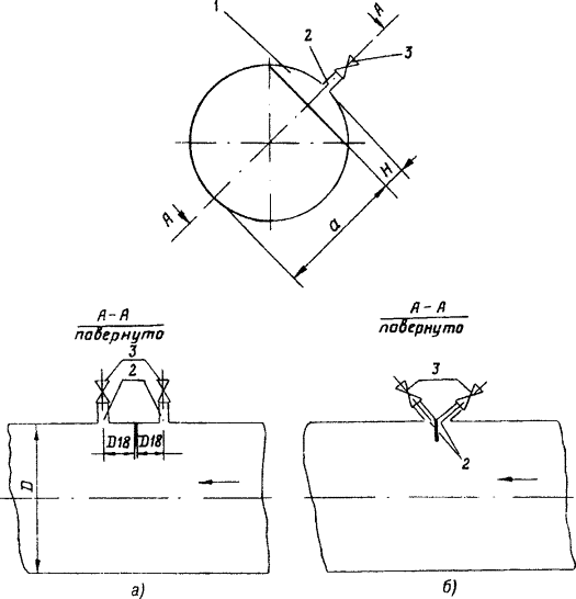
3.3. На рис. 2 показаны рекомендуемые способы отбора давления на сегментной диафрагме.
При угловом способе отбора перепад давления измеряется как разность между статическими давлениями, взятыми непосредственно у плоскостей сегментной диафрагмы в углах, образуемых последней со стенкой трубопровода.
При фланцевом способе отбора перепад давления измеряется как разность между статическими давлениями, взятыми на расстоянии одной восьмой диаметра трубопровода до и после сужающего устройства.
3.4. В зависимости от типа используемых на ТЭС средств измерений (СИ) применяются два варианта компоновки измерительных систем:
децентрализованная измерительная система с использованием первичного измерительного преобразователя (ПИП) по перепаду давления в комплекте с регистрирующим средством измерения (РСИ);
централизованная измерительная система с использованием средств вычислительной техники.
Рис. 2. Способы отбора давлений до и после сегментной диафрагмы:
а
- фланцевый способ отбора давлений; б - угловой способ отбора давлений;
1 - сегментная диафрагма; 2 - отверстия для отбора давлений;
3 - штуцеры для отбора давлений с запорным вентилем
3.4.1. При измерениях расхода воды в трубопроводах большого диаметра с помощью децентрализованной системы сигнал по перепаду давления, создаваемый сегментной диафрагмой, поступает на ПИП, где преобразуется в унифицированный выходной электрический сигнал. Этот сигнал передается РСИ, которое отградуировано в единицах измерения расхода. Для обеспечения линейной зависимости показаний РСИ от перепада давления используется блок извлечения корня (БИК). Для внесения поправок к показаниям РСИ на действительные параметры измеряемой среды (в отличие от принятых при расчете сегментной диафрагмы) необходимо предусмотреть регистрацию температуры воды в соответствии с п. 3.6 настоящей Методики.
3.4.2. При централизованной измерительной системе с использованием средств вычислительной техники выходная информация от ПИП перепада давления на сегментной диафрагме и температуры среды претерпевают различные преобразования в агрегатных средствах измерений (АСИ) и в виде кодовых сигналов поступают в вычислительный комплекс для автоматической обработки результатов измерений (извлечение корня из значения перепада давления, внесение поправки на плотность по действительной температуре среды в отличие от расчетной, расчета технико-экономических показателей и управления технологическим процессом.
3.5. Типы, технические и метрологические характеристики ПИП и РСИ при децентрализованной измерительной системе приведены в приложении 1. При организации измерений расхода воды с помощью сегментных диафрагм допускается применение других СИ с метрологическими характеристиками, не хуже указанных в приложении 1.
При централизованной измерительной системе в каждом конкретном случае структурные схемы индивидуальны в зависимости от технических средств АСУ ТП блока.
3.6. Температура среды измеряется на участке трубопровода перед сегментной диафрагмой или после нее. Допустимое расстояние от места установки термометра перед сужающим устройством выбирается согласно требованиям РД 50-411-83, табл. 6. Температуру после сужающего устройства измеряют на расстоянии не менее 5D20 (D20 - внутренний диаметр трубопровода при температуре 20 °С), но не более 10D20 от его заднего торца.
3.7. Число Рейнольдса (Re) определяется по формуле
(1)
где Qо - объемный расход воды в трубопроводе, м3/с;
r - плотность измеряемой среды, кг/м3;
D - диаметр трубопровода, м;
m - динамическая вязкость среды, Па·с.
Сужающие устройства допускаются к применению только в той области чисел Рейнольдса, где коэффициент расхода можно считать постоянным. Область постоянства ограничена как нижним граничным числом Рейнольдса Remin гр, так и верхним граничным числом Рейнольдса Remax гр. Значения граничных чисел Рейнольдса в зависимости от относительной площади отверстия определяются по табл. 2:
Значения граничных чисел Рейнольдса для сегментных диафрагм
|
m |
Remin гр |
Remax гр |
m |
Remin гр |
Remax гр |
|
0,50 |
0,4 · 105 |
107 |
0,75 |
1,13 · 105 |
107 |
|
0,55 |
0,51 · 105 |
107 |
0,80 |
1.32 · 105 |
107 |
|
0,60 |
0,64 · 105 |
107 |
0,85 |
1,53 · 105 |
107 |
|
0,65 |
0,79 · 105 |
107 |
0,90 |
1,75 · 105 |
107 |
|
0,70 |
0,95 · 105 |
107 |
|
|
|
3.8. Плотность воды при давлениях до 1 МПа определяют в зависимости от температуры в соответствии с табл. П2.1 приложения 2.
3.9. Динамическую вязкость m измеряемой среды определяют в зависимости от температуры в соответствии с табл. П2.2 приложения 2.
4.1. Измерения расхода воды в соответствии с МИ 1948-88 справедливы при соблюдении следующих условий:
характер движения потока на прямых участках трубопроводов до и после сужающего устройства должен быть стационарным;
измеряемое вещество должно заполнять все поперечное сечение трубопровода перед сужающим устройством и за ним;
фазовое состояние потока не должно изменяться при его течении через сужающее устройство;
на поверхностях сужающего устройства не должны образовываться отложения, изменяющие его конструктивные параметры и геометрические размеры;
температура измеряемой среды от 0 до 50 °С, давление до 1 МПа.
4.2. Построение монтажно-коммутационных схем приборов измерения параметров измеряемой среды, а также монтаж: и подключение дифференциальных манометров к соединительным линиям для измерения перепада давлений на сужающем устройстве выполняются в соответствии с требованиями РД 50-213-80 и РД 50-411-83, а также с учетом требований инструкций по монтажу и техническому обслуживанию конкретных средств измерений.
4.3. Допустимые диапазоны значений относительных площадей отверстия m, характеризуемых отношением площадей отверстия диафрагмы и внутреннего сечения трубопровода, 0,50 ÷ 0,90. Для диапазона m = 0,10 ÷ 0,50 и диаметров трубопроводов D > 1000 мм расчет сегментных диафрагм проводить в соответствии с требованиями РД 50-411-83 и МИ 1948-88, как и для труб диаметром 1000 мм.
4.4. При организации измерений расхода воды в трубопроводах больших диаметров должны соблюдаться следующие требования к установке специальных сужающих устройств (СУ):
4.4.1. Способ крепления СУ должен обеспечивать возможность периодического осмотра с целью проверки соответствия его требованиям МИ 1948-88, а также РД 50-411-83. Целесообразно за диафрагмой по направлению потока предусматривать устройство смотрового люка. Рекомендации по установке сегментных диафрагм приведены в приложении 3.
4.4.2. Участки трубопроводов, на которых допускается установка расходомеров с сегментными диафрагмами, для обеспечения необходимой точности измерений должны удовлетворять следующим требованиям:
длина прямолинейных участков трубопроводов должна соответствовать требованиям РД 50-411-83 к допустимым расстояниям до ближайших местных гидравлических сопротивлений при m < 0,65, а при m > 0,65 должна соответствовать ее значению при m = 0,65;
участок трубопровода должен быть цилиндрическим с круглым сечением, отклонения от среднего диаметра трубопровода по результатам измерений в четырех диаметральных направлениях в трех поперечных сечениях - непосредственно в плоскости диафрагмы и на расстоянии 2D (см. рис. 1) от нее не должны превышать 0,3 % при m = 0,5 ÷ 0,9;
на внутренних стенках участка трубопровода не должно быть отложений, наростов или раковин, выступающих более чем на 0,005D и искажающих его конструктивные параметры и геометрические размеры.
4.5. Должны соблюдаться следующие требования к сегментным диафрагмам:
4.5.1. Неперпендикулярность входного торца диафрагмы к оси трубопровода не должна превышать ± 1 °.
4.5.2. На кромке сегментной диафрагмы при визуальном обследовании не должно быть заметно заусенцев, выбоин и т.п.
4.5.3. При изготовлении диафрагмы из стального гладкого листа толщина сегмента Е для водоводов 2000 - 3000 мм принимается 10 - 15 мм.
4.5.4. Параллельность торцовых поверхностей сегментных диафрагм оценивают по результатам измерений толщины Е - разность значения Е в любых двух точках не должна превышать 0,005D20.
4.5.5. Отверстия для отбора давлений необходимо делать со стороны, противоположной отверстию сужающего устройства, на оси симметрии сегментной диафрагмы. Максимально допустимое отклонение оси отверстия отбора давления от диаметра, являющегося осью симметрии сегментной диафрагмы, ± 10 °.
4.5.6. Диаметр отверстий отбора давления С (см. рис. 1) должен находиться в пределах С = (8 ÷ 12) мм.
4.6. При прокладке импульсных линий должны выполняться требования РД 50-213-80 и СНиП 3.05.07-85 "Системы автоматизации".
4.7. При приемке в эксплуатацию измерительной системы расхода воды в трубопроводах больших диаметров должны выполняться требования "Правил приемки в эксплуатацию из монтажа и наладки систем управления технологическими процессами тепловых электрических станций: РД 34.35.412-88" (М.: СПО Союзтехэнерго, 1988).
4.8. Средства измерений, технические средства, входящие в измерительные системы, должны быть установлены и обслуживаться с учетом требований технических описаний и руководств по эксплуатации.
5.1. Принцип образования измеряемой величины - перепада давления, преобразуемого впоследствии в объемный расход, описан в п. 2.4.
5.2. Объемный расход жидкостей в общем виде вычисляют по формуле
(2)
где Qо - объемный расход жидкости, м3/с;
a - коэффициент расхода сегментной диафрагмы;
m - отношение площади свободного сечения сегментного отверстия fсо к площади сечения трубопровода;
D - внутренний диаметр трубопровода перед сегментной диафрагмой при температуре t, м;
D р - перепад давления среды при течении через сегментную диафрагму, Па;
r - плотность измеряемой среды в рабочих условиях, кг/м3.
Для удобства выполнения расчета формула (2) может быть преобразована в:
м3/ч, (3)
где
.
Тогда
м3/ч, (4)
где D р - перепад давления, Па,
или
м3/ч, (5)
где D Н - перепад давления, кгс/м2 (мм вод.ст.).
На рис. 1 показана принципиальная схема установки сегментной диафрагмы в трубопроводе большого диаметра (200 - 4000) мм.
5.3. Одним из достоинств сегментной диафрагмы является относительно малое значение остаточной потери давления, не превышающее 20 % измеряемого перепада.
Остаточная потеря давления для сегментных диафрагм определяется:
(6)
где D р = D рпот Па (мм вод.ст.).
Подбор размеров диафрагм производится в зависимости от исходных значений диаметра трубопровода, диапазона измерения расхода, температуры и плотности воды и диапазона измерений.
Давление воды в трубопроводах большого диаметра, как правило, не превышает 0,25 - 0,3 МПа и при установке расходомера необходимо предельно ограничить потери давления. Поэтому перепад давления на сегментной диафрагме следует принимать по ГОСТ 18140-84:
D р = 600 кгс/м2
D р = 1000 кгс/м2
D р = 1600 кгс/м2
5.4. Определяющим размером сегментной диафрагмы является ее высота Н и соответствующий ей размер сегментного отверстия a = D - Н.
В качестве геометрического параметра сегментной диафрагмы принята относительная высота H/D.
Относительная высота H/D зависит от относительной площади m отверстия. От значения m также зависит коэффициент расхода сужающего устройства aи.
Значения коэффициента расхода aи и произведения aи·m в зависимости от относительной площади m отверстия и высоты сегмента H/D сегментной диафрагмы приведены в приложении 4 и на рис. 3.
5.5. Расчет расходомерного устройства при известных значениях исходных данных (расходе воды по трубопроводу, давлении и температуре, внутреннем диаметре трубопровода) производится в следующем порядке.
При заданном номинальном перепаде давления имеющегося дифференциального манометра определяется значение относительной площади отверстия диафрагмы и ее геометрические размеры.
Расчет производится следующим образом.
Имеются: внутренний диаметр трубопровода - D (м), номинальный предельный расход воды - Qном.пр (м3/ч), температура воды - tв (°C) и номинальный перепад давления дифференциального манометра - D р (Па). Определяется aи·m по формуле
(7)
Далее по приложению 4 или графику рис. 3 по значению aи·m определяют коэффициент расхода aи и значение относительной площади m отверстия. Коэффициент aи - коэффициент расхода, соответствующий острой кромке отверстия диафрагмы, отбору давления по угловому способу и гладким трубам.
К коэффициенту aи вводятся поправочные коэффициенты Кп, Кш и Кф, учитывающие соответственно степень притупления входной кромки диафрагмы, шероховатость трубопровода и способ отбора давления.
Для трубопроводов диаметром > 400 мм поправочные коэффициенты Кп и Кш равны 1.
Поправочный коэффициент Кф на наиболее распространенный на практике фланцевый способ отбора давления определяется в зависимости от значения т по табл. 3:
(8)
Рис. 3. Графики зависимости основных величин,
участвующих в расчете сегментных диафрагм
Поправочный коэффициент на фланцевый способ отбора давления Кф
|
m |
Кф |
m |
Кф |
m |
Кф |
|
0,50 |
1,000 |
0,65 |
1,010 |
0,80 |
1,011 |
|
0,55 |
1,005 |
0,70 |
1,010 |
0,85 |
1,011 |
|
0,60 |
1,008 |
0,75 |
1,010 |
0,90 |
1,011 |
5.6. Относительная высота сегмента H/D сегментной диафрагмы определяется по значению m (см. приложение 4).
Высота сегмента
м. (9)
5.7. Пример расчета сегментной диафрагмы приведен в приложении 5.
Расчет расходомерного устройства при известных геометрических размерах сегментной диафрагмы, установленной в трубопроводе (значениях относительной площади отверстия и диаметра трубопровода), производится для номинального расхода воды с целью определения перепада давления на диафрагме.
Расчет производится в следующем порядке.
Имеются: внутренний диаметр трубопровода - D (м), высота сегмента - Н (м), номинальный предельный расход воды - Qном.пр (м3/ч), температура воды - tв (°C).
Требуется определить номинальный перепад давления на диафрагме для выбора необходимого дифференциального манометра.
Определяется перепад давления на диафрагме, по которому выбирается дифференциальный манометр - D р (Па), по формуле
Па. (10)
По имеющему значению H/D определяются значения aи и m (см. приложение 4, или рис. 3).
К коэффициенту расхода aи вводится поправочный коэффициент на фланцевый способ отбора, который определяется по табл. 3.
По значению рассчитанного перепада давления на сегментной диафрагме выбирается ближайший по ряду перепадов давления дифференциальный манометр.
5.8. Перед выполнением измерений необходимо провести проверку сроков очередных поверок первичных и промежуточных измерительных приборов и регистрирующих средств измерений по паспортам, наличие актов установки и проверочных расчетов, действующих поверительных клейм на СИ.
5.9. Производится внешний осмотр элементов измерительной системы и проверка в соответствии с требованиями "Правил приемки в эксплуатацию из монтажа и наладки систем управления технологическими процессами тепловых электрических станций: РД 34.35.412-88".
5.10. Проверяется правильность функционирования всех элементов измерительной системы и выполняются операции в соответствии с техническими описаниями и инструкциями по эксплуатации элементов измерительной системы, в том числе и проверка установки нуля на дифференциальном манометре.
5.11. Числовое значение результата измерения должно оканчиваться цифрой того же разряда, что и значение абсолютной погрешности измерения расхода.
В качестве показателя точности измерений расхода воды в трубопроводах большого диаметра принимается интервал, в котором с установленной доверительной вероятностью находится суммарная погрешность измерений. Результаты измерений представляются в следующей форме:
Q, D от Dl до Dh, Р,
где Q - результат измерений расхода;
D, Dl, Dh - погрешность измерений расхода соответственно с нижней и верхней ее границами, м3/с;
Р - установленная доверительная вероятность, при которой погрешность измерений находится в границах доверительного интервала; Р = 0,95.
7.1. Оценка показателей точности производится следующим образом. Относительная погрешность измерения расхода при доверительной вероятности, равной 0,95, определяется по формуле
(11)
Составляющей погрешностью или совокупностью составляющих погрешностей, равных или менее 30 % результирующей погрешности, пренебрегают.
7.2. Средняя квадратическая относительная погрешность измерения объемного расхода определяется по формуле
(12)
где sa - средняя квадратическая относительная погрешность коэффициента расхода СУ;
sн - средняя квадратическая относительная погрешность измерения высоты сегмента Н;
sD20 - средняя квадратическая относительная погрешность измерения диаметра D20;
sr - средняя квадратическая относительная погрешность коэффициента коррекции расхода на плотность;
sпип - средняя квадратическая относительная погрешность ПИП;
sбик - средняя квадратическая относительная погрешность блока извлечения корня;
sлс - средняя квадратическая относительная погрешность линии связи передачи сигнала от ПИП к РСИ;
sобр - средняя квадратическая относительная погрешность обработки (планиметрирования результатов измерений на диаграммной бумаге);
sрси - средняя квадратическая относительная погрешность РСИ (если о них имеются данные);
- сумма
квадратов средних квадратических относительных погрешностей, вызванных
изменением влияющих факторов (температура, влажность, вибрация, изменение
напряжения сети электропитания, помехи и др.).
Средние квадратические относительные погрешности sпип, sбик, sобр, sрси, sjg, равны половине соответствующих основных и дополнительных погрешностей, определяемых по паспортам и техническим описаниям элементов измерительной системы.
7.3. Значение средней квадратической относительной погрешности коэффициента расхода сегментной диафрагмы следует определять согласно РД 50-411-83 по формуле
(13)
7.4. Значение средней квадратической относительной погрешности измерения высоты сегмента Н определяется по формуле
(14)
где D Н - отклонение действительной высоты H сегмента от расчетного значения.
Значение sH не должно превышать 0,15.
7.5. Значение средней квадратической относительной погрешности измерения диаметра sD20 определяется согласно РД 50-411-83 по формуле
(15)
где D D - отклонение действительного диаметра D от его расчетного значения.
Значение sD20 выбирается из требований к погрешности измерений расхода в пределах от 0,05 до 0,3 %.
7.6. Значение
определяется по
формулам:
при относительной площади отверстия m = 0,50 ÷ 0,70
(16)
при относительной площади отверстия m = 0,7 ÷ 0,9
(17)
7.7. Среднюю квадратическую относительную погрешность определения плотности воды sr в зависимости от ее температуры (см. приложение 2) следует определять в процентах как половину шага плотности Dr, соответствующего значению рабочей температуры измеряемой среды, отнесенную к значению плотности воды при 20 °С. При использовании приложения 2 максимальная srв составит 0,1 %.
7.8. Среднюю квадратическую относительную погрешность измерений перепадов давлений следует определять в процентах от максимального расхода:
(18)
где Qmax и Qi - максимальный расчетный и измеряемый в любой точке рабочего диапазона расходы соответственно в м3/с или м3/ч;
Sпип - класс точности дифференциального манометра.
7.9. Доверительные границы погрешности измерения расхода воды рассчитываются по формуле
(19)
где Qmax - максимальное значение диапазона измерения расхода.
При выполнении измерений расхода воды в трубопроводах больших диаметров с помощью сегментных диафрагм должны соблюдаться требования ГОСТ 12.2.091-83.
К выполнению измерений по настоящей Методике допускаются лица, имеющие квалификационную группу по технике безопасности не ниже III при выполнении работ в электроустановках с напряжением до 1000 В.
К выполнению измерений и обработке их результатов допускаются лица, прошедшие специальное обучение и имеющие квалификацию:
при выполнении измерений - слесарь КИПиАне ниже 3-го разряда;
при обработке результатов измерений - техник или инженер-метролог, занимающийся расчетом технико-экономических показателей.
Рекомендуемое
СРЕДСТВА ИЗМЕРЕНИЙ, ИСПОЛЬЗУЕМЫЕ В КОМПЛЕКТЕ
С СЕГМЕНТНОЙ ДИАФРАГМОЙ ДЛЯ ИЗМЕРЕНИЯ РАСХОДА ВОДЫ
Таблица П1.1
Датчики перепада давления
|
Наименование |
Тип |
Давление измеряемой среды |
Пределы измерения, кПа |
Предел основной допустимой погрешности, ±% |
Код завода-изготовителя |
|
Манометры дифференциальные, взаимозаменяемые |
ДМ3583М,
|
До 16 МПа |
От 1,6 до 630 |
1,0; 1,5 |
0225652 |
|
ДМ23578,
|
До 25 МПа |
От 1,6 до 630 |
1,0; 1,5; 2,5 |
0226216 |
|
|
Дифференциальные манометры мембранные, электрические, малогабаритные |
ДМЭР-М,
|
До 40 МПа |
ОТ 4 до 630 |
0,6; 1,0; 1,5 |
0225626 |
|
Тензорезисторные измерительные преобразователи разности давлений с блоком питания 22БП-36 |
Сапфир-22М-ДД, |
|
|
|
|
|
модель: 2420 |
До 4 МПа |
1,6 - 10 |
0,25; 0,5; 1,0 |
0225626 |
|
|
2430 |
До 16 МПа |
6,3 - 40 |
|
0227466 |
|
|
2434 |
До 40 МПа |
6,3 - 40 |
|
0225652 |
|
|
Преобразователи разности давления с блоком питания 4БП-36 |
Сапфир-22М-ДД, |
|
|
|
|
|
модель: 2410 |
До 4 МПа |
0,4 - 1,6 |
0,25; 0,5 |
0226216 |
|
|
2420 |
До 10 МПа |
2,5 - 10 |
0,25; 0,5 |
|
|
|
Манометры дифференциальные мембранные с магнитной компенсацией |
ДМЭ |
До 40 МПа |
1,6 - 40 |
0,6; 1,0; |
0225626 |
|
ДМЭ Р |
|
4 - 630 |
1,5 |
|
|
|
Блок извлечения корня |
БИК-1 |
|
|
0,5 |
0226216 |
|
Блок питания измерительного преобразователя |
БП-36 |
|
|
|
0226216 |
Таблица П1.2
Вторичные показывающие и регистрирующие приборы
|
Наименование |
Тип |
Предел основной допустимой погрешности |
Код завода-изготовителя |
|
|
по показаниям, % |
по регистрации, % |
|||
|
Приборы автоматические, взаимозаменяемые с дифференциальной трансформаторной измерительной схемой |
КСД-2 |
1,0 |
1,0 |
0227684 |
|
Приборы регистрирующие, автоматические следящего уравновешивания для измерения и регистрации расхода, преобразованного во взаимную индуктивность |
РПД-100 |
0,5 |
1,0 |
0227684 |
|
Миллиамперметры и вольтметры автоматические показывающие и регистрирующие |
КСУ-1 |
1,0 |
1,0 |
0225961 |
|
КСУ-2 |
0,5 |
1,0 |
0227684 |
|
|
КСУ-4 |
0,25 |
0,5 |
0226263 |
|
|
Приборы аналоговые и регистрирующие |
А542 |
0,5 |
1,0 |
0226258 |
|
А543 |
0,5 |
1,0 |
0226258 |
|
|
Устройство контроля и регистрации |
ФШЛ501 |
0,25 |
0,5 |
0226263 |
|
Примечания: 1 .Приборы А543 и ФШЛ501 выпускаются в трехканальном варианте и могут измерять и регистрировать три различных типа входных сигналов на каждый канал (А543) или три группы каналов (ФШЛ501). 2. В зависимости от заказа потребителя приборы, указанные в таблице, выпускаются со шкалами, градуированными в различных единицах измерения (кг/ч; т/ч; м3/с; 100 %). |
||||
Таблица П1.3
Заводы-изготовители средств измерений
|
Код завода |
Наименование завода, почтовые реквизиты |
|
0225626 |
Казанское ПО "Теплоконтроль", 420054, Казань, ул. Фрезерная, д. 1, тел.. 370720 |
|
0225652 |
Иваново-Франковский завод "Промприбор", 284000, Иваново-Франковск, ул. Чекистов, д. 23, тел.: 31064 |
|
0225961 |
Кироваканский завод "Автоматика", 377207, Кировакан, Ереванское шоссе, д. 111, тел.: 30603 |
|
0226216 |
Московское АО "Манометр", 107120, Москва, Б-120, ул. Ново-Сыромятническая, д. 5/7, тел.: 2978204 |
|
0226258 |
Челябинский завод "Теплоприбор", 454047, Челябинск, 2-я Павелецкая ул., д. 36, тел.: 241205 |
|
0226263 |
Йошкар-Олинский завод "Электроавтоматика", 424025, Йошкар-Ола, тел.: 52711 |
|
0227466 |
Рязанский завод "Теплоприбор", 390012, Рязань, Куйбышевское шоссе, тел.: 446444 |
Для измерения перепада давления на сегментных диафрагмах могут использоваться U-образные двухстекольные дифференциальные манометры, заполненные четыреххлористым углеродом, П-образные водяные дифференциальные манометры и другие измерительные устройства.
Обязательное
ЗНАЧЕНИЕ ПЛОТНОСТИ И ВЯЗКОСТИ ВОДЫ
В ЗАВИСИМОСТИ ОТ ЕЕ ТЕМПЕРАТУРЫ
Значение плотности воды в зависимости от ее температуры
|
Температура воды, °С |
Плотность воды, кг/м3 |
Температура воды, °С |
Плотность воды, кг/м3 |
|
0 |
999,90 |
30 |
995,83 |
|
5 |
1000,20 |
35 |
994,21 |
|
10 |
999,93 |
40 |
992,39 |
|
15 |
999,32 |
45 |
990,38 |
|
20 |
998,42 |
50 |
988,20 |
|
25 |
997,24 |
|
|
Динамическая вязкость воды в зависимости от ее температуры
|
Температура воды, °С |
5 |
10 |
15 |
20 |
25 |
30 |
35 |
40 |
45 |
50 |
|
Динамическая вяз- кость воды ц, мкПа · с |
1519 |
1307 |
1139 |
1003 |
890,7 |
797,7 |
719,6 |
653,2 |
596,3 |
547,1 |
Справочное
РЕКОМЕНДАЦИИ ПО УСТАНОВКЕ СЕГМЕНТНЫХ ДИАФРАГМ
В ТРУБОПРОВОДАХ БОЛЬШОГО ДИАМЕТРА
На рис. 4 и 5 показаны варианты установки сегментных диафрагм в трубопроводах большого диаметра.
Рис. 4. Установка сегментных диафрагм на трубопроводах:
вариант 1 - внутри водовода большого диаметра;
вариант 2 - снаружи водовода при свободном к нему доступе;
1 - импульсные трубки диаметром 16×2 к вторичному прибору;
2 - направление потока
Рис. 5. Установка сегментной диафрагмы в трубопроводе:
1
- импульсные трубки и запорные вентили вне трубопровода;
2 - скобы для крепления импульсных трубок; 3 - направление потока, 4 -
сегментная диафрагма;
5 - импульсные трубки внутри трубопровода диаметром 16×2 мм; 6
-трубопровод
При применении сегментной диафрагмы для измерения завоздушенных или взвесенесущих потоков полотно диафрагмы следует устанавливать на горизонтальных или наклонных участках сбоку трубопровода. Такое расположение сегмента исключает возможность скопления воздуха и шлама перед диафрагмой и связанного с этим искажения измеренного перепада давления.
При установке сегментной диафрагмы в трубопроводах большого диаметра, когда возможно вести работу внутри трубопровода, полотно изготавливается в форме сегмента с радиусом, равным внутреннему радиусу трубопровода, и высотой Н согласно расчету и приваривается к стенке трубопровода. Обварка сегмента производится с обеих сторон изнутри трубопровода (см. рис. 4, вариант 1).
При монтаже диафрагмы следует строго выдержать угол 90 ° между полотном и образующей трубопровода.
На рис. 4 показан также способ установки диафрагмы, когда свободен доступ, к трубопроводу снаружи (вариант 2). Этот способ пригоден для трубопроводов относительно малого диаметра, когда работы внутри вести затруднительно. В этом случае полотно изготавливают в виде пластины. Размер Z определяется диаметром трубопровода, а размер Y принимается на 100 - 150 мм больше полученного из расчета значения H для удобства монтажа и надежности контроля перпендикулярности полотна диафрагмы к оси трубопровода по внешней образующей трубопровода.
В намеченном для установки месте трубопровода делается прорезь в плоскости, перпендикулярной оси трубопровода. Ширина прорези принимается несколько большей полотна диафрагмы для возможности корректировки положения полотна перед приваркой. Края прорези зачищаются.
Для обеспечения расчетной высоты сегмента Н при установке диафрагмы на пластину наносятся отметки.
Эти отметки совмещают с внешней поверхностью трубопровода, диафрагма фиксируется и приваривается к трубопроводу снаружи.
Для облегчения монтажа и более надежного соблюдения расчетной высоты диафрагмы, особенно для трубопроводов большого диаметра, целесообразно на указанных отметках установить упоры.
При установке диафрагмы внутри трубопровода большого диаметра и невозможности вывода импульсных трубок наружу непосредственно у места установки сегмента (трубопровод расположен под землей или в труднодоступном месте), трубки прокладываются внутри трубопровода до места вывода их наружу, удобного для установки дифференциального манометра. На рис. 4 показан один из вариантов прокладки импульсных трубок внутри трубопровода.
Импульсные трубки прокладываются по стенке трубопровода и крепятся к ней скобами через каждые 0,8 ÷ 1,0 м длины.
Дифференциальный манометр для измерения перепада давления следует устанавливать непосредственно у места вывода трубок из трубопровода для сокращения протяженности трубок.
Для избежания завоздушивания импульсных трубок дифференциальный манометр следует устанавливать ниже вывода трубок из трубопровода.
ЗНАЧЕНИЯ КОЭФФИЦИЕНТА aи И ПРОИЗВЕДЕНИЯ aи · m
В ЗАВИСИМОСТИ ОТ ЗНАЧЕНИЯ ОТНОСИТЕЛЬНОЙ ПЛОЩАДИ m
ОТВЕРСТИЯ И ВЫСОТЫ СЕГМЕНТА H/D
СЕГМЕНТНОЙ ДИАФРАГМЫ
|
m |
H/D |
aи |
aи · m |
m |
H/D |
aи |
aи · m |
|
0,40 |
0,585 |
0,6575 |
0,2630 |
0,69 |
0,348 |
0,7502 |
0,5176 |
|
0,42 |
0,565 |
0,6600 |
0,2772 |
0,70 |
0,340 |
0,7564 |
0,5295 |
|
0,44 |
0,549 |
0,6625 |
0,2915 |
0,71 |
0,332 |
0,7652 |
0,5433 |
|
0,46 |
0,540 |
0,6663 |
0,3065 |
0,72 |
0,323 |
0,7742 |
0,5574 |
|
0,48 |
0,516 |
0,6704 |
0,3211 |
0,73 |
0,315 |
0,7825 |
0,5713 |
|
0,50 |
0,500 |
0,6732 |
0,3366 |
0,74 |
0,306 |
0,7904 |
0,5849 |
|
0,51 |
0,492 |
0,6779 |
0,3457 |
0,75 |
0,298 |
0,7978 |
0,5984 |
|
0,52 |
0,484 |
0,6799 |
0,3536 |
0,76 |
0,289 |
0,8050 |
0,6118 |
|
0,53 |
0,476 |
0,6822 |
0,3616 |
0,77 |
0,281 |
0,8119 |
0,6251 |
|
0,54 |
0,468 |
0,6848 |
0,3698 |
0,78 |
0,272 |
0,8186 |
0,6385 |
|
0,55 |
0,461 |
0,6876 |
0,3782 |
0,79 |
0,263 |
0,8254 |
0,6521 |
|
0,56 |
0,453 |
0,6905 |
0,3867 |
0,80 |
0,254 |
0,8323 |
0,6658 |
|
0,57 |
0,445 |
0,6938 |
0,3954 |
0,81 |
0,245 |
0,8393 |
0,6798 |
|
0,58 |
0,437 |
0,6972 |
0,4044 |
0,82 |
0,236 |
0,8466 |
0,6942 |
|
0,59 |
0,429 |
0,7009 |
0,4135 |
0,83 |
0,227 |
0,8542 |
0,7090 |
|
0,60 |
0,421 |
0,7048 |
0,4229 |
0,84 |
0,217 |
0,8624 |
0,7244 |
|
0,61 |
0,413 |
0,7089 |
0,4324 |
0,85 |
0,207 |
0,8710 |
0,7404 |
|
0,62 |
0,405 |
0,7133 |
0,4422 |
0,86 |
0,198 |
0,8804 |
0,7572 |
|
0,63 |
0397 |
0,7179 |
0,4523 |
0,87 |
0,188 |
0,8905 |
0,7748 |
|
0,64 |
0,389 |
0,7227 |
0,4625 |
0,88 |
0,178 |
0,9015 |
0,7933 |
|
0,65 |
0,381 |
0,7277 |
0,4730 |
0,89 |
0,167 |
0,9135 |
0,8130 |
|
0,66 |
0,373 |
0,7330 |
0,4838 |
0,90 |
0,157 |
0,9265 |
0,8338 |
|
0,67 |
0,365 |
0,7385 |
0,4948 |
- |
- |
- |
- |
|
0,68 |
0,357 |
0,7442 |
0,5061 |
- |
- |
- |
- |
Справочное
ПРИМЕР РАСЧЕТА СЕГМЕНТНОЙ ДИАФРАГМЫ ДЛЯ ИЗМЕРЕНИЯ
ОБЪЕМНОГО РАСХОДА ВОДЫ, ПОДАВАЕМОЙ НА КОНДЕНСАТОР
1. Задано:
Qmax = 18000 м3/ч = 5,0 м3/с.
Qmin = 7200 м3/ч = 2,0 м3/с.
Избыточное давление ри = 2,5 кгс/см2 = 0,25 МПа.
Температура воды t = 10 °С.
Внутренний диаметр водовода при t = 20 °С D20 = 1,6 м.
Материал трубопровода: сталь 20.
Материал сужающего устройства: сталь 1Х18Н9Т.
Дифференциальный манометр: Сапфир-22М-ДД, модель 2410, D р = 1600 кгс/м2 = 0,016 МПа.
Основная допускаемая погрешность прибора Sпип = 0,25 %.
2. Расчет сегментной диафрагмы
2.1. Проверка условий выполнения измерений при заданных параметрах
Определение минимального числа Рейнольдса - Remin:
для t = 10 °С и ри = 0,25 МПа
r = 999,93 кг/м3 и m = 1307 · 10-6 Па·с;
![]()
Remin > Remin гр
Определение максимального числа Рейнольдса - Remax:
![]()
Remax < Remax гр
Ограничений по числу Рейнольдса Re для выбора m нет.
2.2. Определение предельного расхода
Предельный номинальный расход - Qном.пр по ГОСТ 18140-84 (разд. 1) - 20000 м3/ч.
Отношение минимального расхода к номинальному:
![]()
В соответствии с ТУ на Сапфир-22М-ДД соотношение Qmin / Qном.пр не должно быть менее 0,3. Следовательно, измерение расхода возможно однопредельным устройством.
3. Определение коэффициента расхода и геометрических размеров сегментной диафрагмы
Определение значений a и m для прибора с перепадом давления D р = 1600 кгс/м2 = 0,016 МПа:

![]()
Относительное отверстие m и aи определяются по значению aи · m = 0,4931 по приложению 4:
aи = 0,7364, m = 0,668;
![]()
Кф = 1,01 определен по табл. 3.
Для aи · m = 0,4931 - H/D = 0,364.
Высота сегментной диафрагмы Н = 0,5824 м.
4. Определение погрешности измерения расхода
4.1. Значение средней квадратической относительной погрешности коэффициента расхода определяется по формуле
![]()
4.2. Значение средней квадратической относительной погрешности измерения высоты сегмента sн определяется по формуле:
![]()
4.3. Значение средней квадратической относительной погрешности измерения диаметра sD20 определяется по формуле
![]()
4.4. Значение
определяется по
формуле
![]()
4.5. Значение средней квадратической относительной погрешности определения плотности воды sr в зависимости от ее температуры составит 0,1 %.
4.6. Значение средней квадратической относительной погрешности измерения перепада давления sпип определяется по формуле
![]()
4.7. Средняя квадратическая относительная погрешность измерения расхода определяется по формуле (12) Методики:

4.8. Относительная погрешность измерения расхода при доверительной вероятности, равной 0,95, определяется по формуле (11) Методики:
![]()
ОГЛАВЛЕНИЕ