Инструкция является обязательной при устройстве, эксплуатации и перебазировании рельсовых путей строительных башенных кранов с нагрузкой от колеса на рельс до 28 тс, а также для кранов с нагрузкой от колеса на рельс до 30 тс с восемью ходовыми колесами. В специфических условиях эксплуатации указанных кранов рельсовые пути должны сооружаться по специальному проекту.
| Обозначение: | СН 78-79 |
| Название рус.: | Инструкция по устройству, эксплуатации и перебазированию рельсовых путей строительных башенных кранов |
| Статус: | заменен |
| Заменяет собой: | СН 78-73 «Инструкция по устройству, эксплуатации и перебазированию рельсовых путей строительных башенных кранов» |
| Заменен: | СНиП 3.08.01-85 «Механизация строительного производства. Рельсовые пути башенных кранов» |
| Дата актуализации текста: | 05.05.2017 |
| Дата добавления в базу: | 12.02.2016 |
| Дата введения в действие: | 01.07.1986 |
| Утвержден: | 23.02.1979 Госстрой СССР (17) |
| Опубликован: | Стройиздат (1980 г. ) |
| Ссылки для скачивания: |
ГОСУДАРСТВЕННЫЙ КОМИТЕТ СССР ПО ДЕЛАМ
СТРОИТЕЛЬСТВА (ГОССТРОЙ СССР)
ИНСТРУКЦИЯ
ПО УСТРОЙСТВУ, ЭКСПЛУАТАЦИИ
И ПЕРЕБАЗИРОВАНИЮ
РЕЛЬСОВЫХ ПУТЕЙ
СТРОИТЕЛЬНЫХ
БАШЕННЫХ КРАНОВ
СН 78-79
|
Утверждена
постановлением Государственного комитета СССР |
МОСКВА,
СТРОЙИЗДАТ, 1980
Инструкция разработана по заданию Отдела механизации строительства Госстроя СССР Центральным научно-исследовательским и проектно-экспериментальным институтом организации, механизации и технической помощи строительству Госстроя СССР (ЦНИИОМТП).
В основу настоящей Инструкции положена «Инструкция по устройству, эксплуатации и перебазированию подкрановых путей для строительных башенных кранов» (СН 78-73), использованы результаты научных исследований и проектных разработок ЦНИИОМТП, НИИ оснований и подземных сооружений Госстроя СССР, Всесоюзного научно-исследовательского института железнодорожного транспорта, а также опыт устройства и эксплуатации рельсовых путей башенных кранов в строительных организациях. Промтрансниипроект разработал разделы 1, 3 и прил. 7.
Для инженерно-технических работников строительных и проектных организаций.
Редакторы - инженеры Г.А. Котов (Госстрой СССР), А.В. Бадэр (ЦНИИОМТП Госстроя СССР)
СОДЕРЖАНИЕ
|
Государственный
комитет |
Строительные нормы |
СН 78-79 |
|
Инструкция
по устройству, |
Взамен СН 78-73 |
1.1. Настоящая Инструкция является обязательной при устройстве, эксплуатации и перебазировании рельсовых путей строительных башенных кранов с нагрузкой от колеса на рельс до 28 тс, а также для кранов с нагрузкой от колеса на рельс до 30 тс с восемью ходовыми колесами.
В специфических условиях эксплуатации указанных кранов рельсовые пути должны сооружаться по специальному проекту.
1.2. Рельсовые пути для строительных башенных кранов, не указанных в п. 1.1, изготавливаются по указаниям, изложенным в инструкциях по эксплуатации таких кранов.
1.3. К специфическим условиям эксплуатации строительных башенных кранов относятся условия, вызываемые необходимостью их работы:
непосредственно на конструкциях строящихся зданий и сооружений;
в местностях с карстовыми явлениями;
на косогорах с поперечным уклоном более 1:10;
на участках перегона кранов от здания к зданию и пересекающихся рельсовых путях;
на криволинейных участках пути;
на путях со снежным основанием и на вечномерзлом грунте в районах холодного климата;
на слабом и переувлажненном основании и заболоченных местах;
на макропористых просадочных грунтах.
|
Внесена
|
Утверждена
постановлением |
Срок
введения |
|
Тип крана |
Нагрузка от колеса на рельс, тс |
Число колес, шт. |
База тележки, мм |
Размер колеи А и предельные отклонения, мм (см. рис. 1) |
Разность отметок рельсов на допускаемом поперечном уклоне не более, мм |
Минимальный радиус криволинейного участка пути, м |
Минимальное расстояние Б от выступающей части здания до оси рельса мм, (см рис. 1) |
Ширина земляного полотна В, мм (см. рис. 1) |
Верхнее строение пути на земляном полотне из грунта |
|||||
|
глинистого, суглинистого, супесчаного |
песчаного |
|||||||||||||
|
при укладке |
при эксплуатации |
Тип рельсов |
Расстояние между осями полушпал, мм |
Толщина балласта под полушпалами, мм |
Расход балласта на 12,5-метровое звено, м3 |
Тип рельсов |
||||||||
|
МБТК-80 |
12 |
8 |
650 |
5000 ± 5 |
20 |
50 |
6 |
2000 |
8450 |
Р38 |
600 |
100 |
10 |
Р38 |
|
МСТК-90 |
13,5 |
8 |
650 |
5000 ± 5 |
20 |
50 |
6 |
2000 |
8450 |
Р38 |
550 |
100 |
10 |
Р38 |
|
КБ-00 |
14 |
8 |
670 |
4000 ± 4 |
16 |
40 |
6 |
1800 |
7250 |
Р38 |
500 |
100 |
10 |
Р38 |
|
МСК-5-20 |
16 |
8 |
570 |
4000 ± 4 |
16 |
40 |
6 |
2300 |
7900 |
Р43 |
500 |
190 |
15 |
Р38 |
|
КБк-100.1 |
16,5 |
8 |
670 |
4500 ± 5 |
18 |
45 |
7 |
1950 |
8100 |
Р43 |
500 |
190 |
15 |
Р38 |
|
МБСТК-80/100 |
16,8 |
8 |
650 |
5000 ± 5 |
20 |
50 |
6 |
2000 |
8600 |
Р43 |
500 |
200 |
16 |
Р38 |
|
КБ-100 |
18,8 |
8 |
670 |
4500 ± 5 |
18 |
45 |
7 |
1950 |
8150 |
Р43 |
500 |
230 |
18 |
Р38 |
|
МСК-8/20 (МСК-7,5/20) |
19 |
8 |
570 |
5000 ± 5 |
20 |
50 |
6 |
2300 |
8950 |
Р43 |
500 |
240 |
18 |
Р38 |
|
КБ-100.0, решетч., КБ-100 ОС, КБ-100.1 трубч. |
20 |
8 |
670 |
4500 ± 5 |
18 |
45 |
7 |
1950 |
8250 |
Р43 |
500 |
250 |
19 |
Р43 |
|
МСК-3-5-20 |
21 |
4 |
- |
4000 ± 4 |
16 |
40 |
25 |
2000 |
7450 |
Р43 |
700 |
100 |
11 |
Р43 |
|
МСК-5-20А |
21 |
8 |
570 |
4000 ± 4 |
16 |
40 |
7 |
2300 |
8000 |
Р50 |
500 |
250 |
20 |
Р43 |
|
КБ-100 ОМ |
21 |
8 |
675 |
4500 ± 5 |
18 |
45 |
7 |
1950 |
8200 |
Р50 |
500 |
270 |
21 |
Р43 |
|
С 464 |
21,6 |
8 |
630 |
4000 ± 4 |
16 |
40 |
7 |
2200 |
7900 |
Р50 |
500 |
260 |
20 |
Р43 |
|
КБ-100.2 |
21,8 |
8 |
675 |
4500 ± 5 |
18 |
45 |
7 |
1950 |
8200 |
Р50 |
500 |
260 |
20 |
Р43 |
|
МЗ-5-10 |
22,8 |
8 |
1000 |
6000 ± 6 |
24 |
60 |
- |
1300 |
9000 |
Р43 |
500 |
260 |
20 |
Р43 |
|
КБ-306 (С-981) |
23,9 |
8 |
670 |
4500 ± 4 |
18 |
45 |
7 |
2050 |
8150 |
Р65 |
500 |
250 |
19 |
Р50 |
|
С-981А |
24 |
8 |
670 |
4500 ± 4 |
18 |
45 |
8,5 |
2050 |
8250 |
Р65 |
500 |
250 |
19 |
Р50 |
|
МСК-10-20(МСК-7-25) |
24 |
8 |
570 |
6500 ± 7 |
26 |
65 |
8 |
2000 |
10300 |
Р65 |
500 |
250 |
19 |
Р50 |
|
БКСМ-5-5А |
24,2 |
8 |
1000 |
4500 ± 5 |
18 |
45 |
12 |
1300 |
7500 |
Р50 |
500 |
260 |
20 |
Р50 |
|
БКСМ-7-9 |
24,8 |
8 |
1000 |
6000 ± 6 |
24 |
60 |
25 |
1300 |
9000 |
Р65 |
500 |
240 |
18 |
Р65 |
|
МСК-250 |
25 |
8 |
900 |
7500 ± 8 |
30 |
60 |
10 |
1450 |
10600 |
Р65 |
500 |
250 |
19 |
Р65 |
|
БКСМ-5-9 |
25,6 |
8 |
1000 |
4500 ± 5 |
18 |
45 |
12 |
1300 |
7450 |
Р65 |
500 |
250 |
19 |
Р65 |
|
КБ-160.2, |
26 |
8 |
675 |
6000 ± 6 |
24 |
60 |
7 |
1700 |
9450 |
Р65 |
500 |
300 |
23 |
Р65 |
|
КБ-160.4 КБ-404 (КС-250) |
26,2 |
8 |
675 |
6000 ± 6 |
24 |
60 |
7 |
2000 |
9750 |
Р65 |
500 |
300 |
23 |
Р65 |
|
БКСМ-5-10 |
27 |
8 |
1000 |
6000 ± 6 |
24 |
60 |
25 |
1400 |
9150 |
Р65 |
500 |
300 |
23 |
Р65 |
|
(Т-223) КБк-160.2 |
26,8 |
8 |
675 |
6000 ± 6 |
24 |
60 |
7 |
1700 |
9450 |
Р65 |
500 |
300 |
23 |
Р65 |
|
БКСМ-7-5 |
27,6 |
8 |
1000 |
4500 ± 5 |
18 |
45 |
12 |
1300 |
7550 |
Р65 |
500 |
300 |
23 |
Р65 |
|
КБ-405 |
29,15 |
8 |
675 |
6000 ± 6 |
24 |
60 |
7 |
1700 |
9700 |
Р65 |
500 |
450 |
28 |
Р65 |
|
Примечания: 1. При песчаном грунте расстояния между осями полушпал следует принимать 700 мм; толщину балласта вод полушпалами - 100 мм; расход балласта на 12,5-метровое звено - 11 м3. 2. В случае применения в качестве балласта щебня и гравия толщина слоя принимается на 50 мм меньше указанных в табл. 1 величин, но не менее 100 мм. При применении шлаков, указанных в табл. 2, толщина балластного слоя принимается по табл. 1. 3. При устройстве подкрановых путей в осенне-весенний период расход балласта может быть увеличен на 20 - 30 %. 4. При установке кранов у зданий с подвалами или другими пустотными сооружениями, если расстояние от указанных сооружений до нижней кромки балластной призмы меньше расстояния l, указанного в п. 3.3, необходимо выполнить проверочный расчет на выдавливание стен этих сооружений (расчет производится автором конструкции здания). 5. При отклонении конструктивных параметров пути от приведенных в таблице следует провести проверку напряжений в элементах пути по правилам, изложенным в прил. 7. 6. Пути, изготовленные ранее в соответствия с Инструкцией СН 78-73, могут быть использованы при условии обеспечения безопасной работы кранов в соответствии с требованиями настоящей Инструкции. |
||||||||||||||
1.4. При разработке специальных проектов и Указаний, предусмотренных пп. 1.1, 1.2 и 1.3, должны быть учтены требования и рекомендации настоящей Инструкции и изложены дополнительные данные, вытекающие из специфических условий эксплуатации строительных башенных кранов.
1.5. Подготовку площадки и устройство рельсовых путей строительных башенных кранов, типы которых не указаны в Инструкции, следует производить применительно к кранам с аналогичной ходовой частью и нагрузкой от колеса на рельс (табл. 1). Основные данные по рельсовым путям строительных башенных кранов на песчаном балласте приведены в табл. 1.
1.6. Работы по устройству, эксплуатации и перебазированию рельсовых путей должны производиться с применением соответствующих средств механизации, рекомендуемый перечень которых указан в прил. 1.
1.7. Рельсовые пути строительных башенных кранов, отличающиеся по конструкции от указанных в прил. 2 настоящей Инструкции, а также новые конструкции опорных элементов, рельсовых скреплений и элементов путевого оборудования могут быть использованы по согласованию с ЦНИИОМТП Госстроя СССР.
Примечание. Для согласования необходимо представлять следующие материалы:
1. Чертежи и расчет предлагаемой конструкции.
2. Акт испытания.
3. Расчет экономической эффективности по сравнению с конструкцией, приведенной в Инструкции.
2.1. В состав нижнего строения пути входят земляное полотно и водоотвод.
2.2. Все земляные работы, связанные с устройством фундаментов зданий и сооружений, а также прокладкой подземных коммуникаций, должны быть закончены к началу сооружения земляного полотна рельсового пути.
2.3. Земляное полотно в зоне укладки пути должно быть очищено от отходов строительных материалов, посторонних предметов и растительного слоя почвы, а в зимнее время от снега и льда.
2.4. Конструктивные параметры земляного полотна (приближение оси пути к зданию, размеры водоотвода и поперечные уклоны) принимаются в соответствии с нормами, приведенными в табл. 1 и на рис. 1.
Рис. 1. Поперечный профиль рельсового пути с деревянными полушпалами
а - при колее ≤ 4000 мм; б - при колее ≤
4000 мм с боковым ограждением балластной призмы;
в - при колее > 4000 мм; г - при колее ≤ 4000 мм на пути
у откоса котлована;
д - при колее > 4000 мм на пути у откоса котлована; А - размер
колеи (табл. 1);
Б - минимальное расстояние от выступающей части здания или штабелями
грузов или
другими предметами до оси первого рельса (табл. 1);
В - ширина земляного полотна (табл. 1);
Д - ширина призмы поверху (табл. 1);
1 - балластная призма; 2 - полушпала; 3 - рельсы;
4 - стена здания; 5 - ограждение балластной призмы; 6 -
откос котлована;
l - расстояние от основания балластной призмы до кран
дна котлована;
hк -
глубина котлована; hб -
толщина балласта под полушпалами (табл. 1)
2.5. Продольный уклон площадки земляного полотна должен быть не более 0,003.
2.6. Разрешается в дренирующих и скальных грунтах площадку земляного полотна выполнять горизонтальной.
2.7. Поперечный уклон площадки земляного полотна на недренирующих грунтах должен быть 0,008 - 0,01 и спланирован односкатным в сторону водоотвода, как показано на рис. 1.
2.8. Профиль и размеры земляного полотна на криволинейных участках рельсового пути должны соответствовать нормам, установленным для прямолинейных участков пути.
2.9. Разрешается земляное полотно рельсовою пути устраивать из насыпного грунта, а также часть земляного полотна - из насыпного грунта, а часть - из основного грунта с откосами в месте примыкания насыпного к основному грунту 1:1,5, при этом насыпной грунт должен быть песчаным или однородным с основным грунтом.
2.10. При устройстве земляного полотна из насыпного грунта запрещается:
применять грунт с примесью строительного мусора, древесных отходов, гниющих или подверженных набуханию включений, льда, снега и дерна;
применять недренирующий грунт (глину, суглинки), смешанный с дренирующим во избежание появления в теле насыпи водяных мешков;
прикрывать слой высокодренирующего грунта грунтом с меньшей дренирующей способностью;
укладывать мерзлый грунт, а также талый, смешанный с мерзлым;
вести отсыпку земляного полотна во время интенсивного снегопада без принятия мер по защите насыпного грунта от включений снега;
уплотнять грунты поливкой их водой в зимнее время.
2.11. Насыпной грунт земляного полотна следует укладывать слоями толщиной 200 - 300 мм с обязательным послойным уплотнением.
Допускается насыпной песчаный и супесчаный грунты земляного полотна в летнее время уплотнять распыленной струей воды каждого отсыпаемого слоя грунта.
2.12. Требуемая плотность (в г/см3) земляного полотна должна быть не менее:
для мелких и пылеватых песков, песчаного чернозема = 1,7;
для супесей - 1,66;
» суглинков - 1,6;
» глин - 1,5.
Подготовку земляного полотна на грунтах, значение плотности которых после уплотнения меньше указанных величин, следует производить по специальному проекту.
2.13. Проверять степень плотности грунта следует любым современным методом не менее чем в одном месте на длине 12,5 м под каждой рельсовой ниткой. При устройстве путей с железобетонными балками степень плотности грунта проверяется под каждой балкой. Результаты проверки необходимо занести в акт сдачи рельсового пути в эксплуатацию по форме согласно прил. 5.
2.14. Засыпку и уплотнение траншей, канав и пазух, над которыми должны сооружаться рельсовые пути, следует производить с соблюдением правил и норм, предусмотренных для земляного полотна.
2.15. Земляное полотно должно быть ограждено от стока поверхностных и производственных вод канавами.
При возобновлении работ после снегопадов и метелей поверхность устраиваемого земляного полотна должна быть очищена от снега и льда.
2.16. Постоянный отвод поверхностных вод от земляного полотна осуществляется с помощью продольных водоотводных канав с уклоном дна 0,002 - 0,003.
Поперечный профиль водоотводных канав принимается трапецеидальной формы глубиной 0,35 м и шириной по дну 0,25 м, с откосами для песчаных грунтов 1:1,5, а для остальных - 1:1 (см. рис. 1).
В скальных грунтах разрешается устраивать водоотводные канавы треугольной формы глубиной 0,25 м и откосами 1:0,2.
В песчаных грунтах в районах с засушливым климатом водоотвод устраивать необязательно.
2.17. При эксплуатации рельсового пути водоотвод необходимо периодически очищать от мусора и посторонних предметов.
3.1. Верхнее строение пути состоит из рельсов, промежуточных и стыковых рельсовых скреплений, тупиковых упоров, выключающих линеек, элементов заземления, опорных рельсовых элементов и балластной призмы.
3.2. При устройстве рельсового пути у строящегося здания минимальное расстояние Б от выступающей части здания до оси первого рельса (см. рис. 1, а, б, в) должно быть не менее размеров, приведенных в табл. 1 с учетом выступающих частей здания и необходимых проходов.
3.3. При устройстве рельсового пути у неукрепленного котлована, траншеи и другой выемки расстояние l (см. рис. 1, г, д) должно соответствовать следующим размерам по горизонтали от края дна котлована до нижнего края балластной призмы:
для песчаных и супесчаных грунтов - не менее 1,5 глубины котлована плюс 400 мм;
для глинистых грунтов - не менее глубины котлована плюс 400 мм.
Эти же требования должны выполняться при расположении указанных выемок с торцов рельсового пути.
3.4. При сооружении верхнего строения рельсовых путей рекомендуется пользоваться сборными инвентарными секциями (см. прил. 2).
3.5. На подготовленную площадку земляного полотна отсыпается балластная призма. В качестве балласта применяется щебень из естественного камня, карьерный или сортированный гравий различных фракций, гранулированный или доменный шлак (табл. 2) и другие материалы.
Размеры балластной призмы и нормы расхода балластных материалов при устройстве одного звена пути с деревянными полушпалами и деревометаллическими секциями назначены с учетом грунтов земляного полотна и приведены в табл. 1.
Откосы боковых сторон n призмы должны быть 1:1,5. Рекомендуется устраивать раздельные балластные призмы с шириной поверху 1750 мм.
3.6. Балластная призма пути должна отсыпаться с равномерным уплотнением по всей площади. В летнее время укладываемый балласт допускается уплотнять поливкой распыленной струей воды.
Отсыпка балласта на неподготовленную основную площадку земляного полотна, укладка опорных элементов на грунт без балластного слоя не допускается.
3.7. При устройстве путей в ветровых районах 4, 5, 6 и 7 по ГОСТ 1451-77 боковые стороны балластной призмы из песка и гранулированного шлака должны быть ограждены (см. рис. 1, б) или укреплены невыветривающимся балластным материалом.
|
Наименование балластных материалов |
Крупность частиц |
Фракция частиц, мм |
Содержание частиц нормального размера, %, не менее по массе |
Допуски |
Примечание |
|||
|
максимальный размер частиц, мм |
|
|||||||
|
менее нормального размера |
более нормального размера |
песка |
||||||
|
Щебень из естественного камня |
Крупный (нормальный) |
25 - 70 |
90 |
100 |
5 |
5 |
- |
Частиц размером менее 0,15 мм должно быть не более 2 % |
|
Гравий карьерный |
- |
3 - 60 |
50 |
100 |
50 |
5 |
- |
То же |
|
Гравий сортированный |
- |
3 - 40 |
90 |
60 |
5 |
5 |
- |
» |
|
Песок |
Крупный и средний |
0,5 - 3 |
50 |
- |
50 |
50 |
- |
Частиц размером менее 0,15 мм должно быть не более 10 % по массе, в том числе глины - 3 % |
|
Шлак гранулированный |
- |
0,5 - 3 |
90 |
- |
10 |
5 |
- |
Частиц размером менее 0,15 мм допускается не более 4 % по массе |
|
Доменный шлак |
- |
3 - 60 |
50 - 80 |
80 |
30 |
15 |
Размером до 3 мм 20 - 50 |
То же |
|
Примечание. Доменные шлаки должны иметь прочность на сжатие не менее 4 кГс/см2. |
||||||||
3.8. Для рельсовых путей применяются полушпалы 1-го и 2-го сорта по ГОСТ 78-65* «Шпалы деревянные для железных дорог широкой колеи» (см. рис. 2 и табл. 3).
Рис. 2. Поперечные сечения шпал
а - обрезная тип IA, IIIА; б - необрезная тип IБ; IIIБ; в - брус
|
Тип |
Ширина поверхности |
Высота h |
Высота пропиленных боковых сторон h1, |
||
|
нижней чести b1 |
верхней части b |
максимальная b2 |
|||
|
Обрезные IA |
250 |
165 |
- |
180 |
150 |
|
То же, IIIА |
230 |
150 |
- |
150 |
105 |
|
Необрезные IБ |
250 |
165 |
280 |
180 |
- |
|
То же, IIIБ |
230 |
150 |
250 |
150 |
- |
|
Брус |
240 |
- |
- |
200 |
- |
3.9. Полушпалы длиной 1375 мм должны изготавливаться из древесины хвойных пород (сосны, ели, пихты, лиственницы и кедра) с пропиткой их антисептиками. В случае отсутствия древесины хвойных пород разрешается изготовление полушпал из березы.
3.10. При устройстве рельсовых путей допускается:
замена полушпал деревянными брусьями по ГОСТ 8486-66 «Пиломатериалы хвойных пород»;
применение бревен в качестве полушпал с отесанными поверхностями шириной, равной ширине полушпал;
применение полушпал длиной 900 мм при устройстве пути для кранов с нагрузкой от колеса на рельс до 15 тс.
Поперечные размеры полушпал (в мм) приведены в табл. 3.
3.11. При устройстве рельсовых путей не допускается применение полушпал, брусьев и бревен:
из древесины мягких лиственных пород (ольхи, осины, липы и т.п.),
имеющих сучки в местах опирания подкладок;
с гнилостными пятнами размером более 20 мм в местах опирания подкладок и более 60 мм на остальных поверхностях;
со всеми видами внутренней гнили;
с червоточинами глубиной более 50 мм;
с поперечными трещинами длиной по торцу более его половины и продольными трещинами глубиной более 50 мм и длиной более 300 мм.
3.12. При устройстве рельсовых путей применяются новые рельсы (рис. 3) или старогодные рельсы I и II групп, прошедшие проверку и ремонт в рельсосварочных предприятиях Министерства путей сообщения и имеющие сопроводительную документацию о соответствии ТУ 32-ЦП-1-76. (Применение старогодных рельсов при указанных условиях подтверждено Министерством путей сообщения письмом от 15 декабря 1972 г. № П-36031.)
Рис. 3. Профили рельсов
При укладке в рельсовые пути старогодные рельсы I и II групп должны удовлетворять следующим требованиям:
вертикальный износ головки рельса по условиям безопасного прохода колеса крана через рельсовый стык с типовыми железнодорожными накладками не должен превышать 10 мм для Р65; 9 мм для Р50; 8 мм для Р43; 4 мм для Р38;
Примечание. Безопасный проход колеса крана через рельсовый стык будет обеспечен, если колесо, имеющее максимально допустимый износ обода катания 10 мм, перекатываясь по рельсам с максимальным допускаемым вертикальным износом головки, не заденет ребордами стыковых накладок и болтов
приведенный износ головки рельса не должен превышать 11 мм для Р65; 9 мм для Р50; 8 мм для Р43 и Р38;
Примечание. Приведенный износ головки рельса равен сумме вертикального и половине горизонтального износа. Например, при износе по высоте 6 мм и боковом износе головки рельса 4 мм приведенный износ равен 8 мм.
горизонтальный износ боковой грани головки рельса не должен превышать 13 мм для Р65; 11 мм для Р50; 10 мм для Р43 и Р38;
поверхностные повреждения должны быть не более указанных в табл. 4;
|
Наименование (вид) повреждений рельсов |
Величина повреждений мм |
|
|
при укладке |
при эксплуатации |
|
|
Плавные вмятины и забоины |
2 |
4 |
|
Плавный местный износ кромки подошвы от костылей |
3 |
5 |
|
Уменьшение толщины подошвы от ржавления |
2 |
4 |
|
Равномерный наплыв металла на боковой грани головки без признаков трещин и расслоений |
1 |
2 |
иметь кривизну (стрелу изгиба) в горизонтальной плоскости не более 0,002;
иметь смятие головки и прогнутость концов в сумме не более 2,5 мм, а также седловины за зоной закалки не более 1,5 мм при измерении просвета между рельсом и линейкой длиной 1 м, укладываемой на головку.
3.13. Запрещается укладывать в рельсовые пути рельсы, ранее изъятые из эксплуатации на железнодорожном транспорте по дефектам:
поперечные трещины в головке рельса и изломы из-за внутренних надрывов;
поперечные трещины в головке рельса и изломы из-за недостаточной контактно-усталостной прочности металла;
поперечные трещины в головке рельса и изломы из-за трещин, вызванных проходом колес с ползунами;
поперечные трещины в головке рельса и изломы из-за закалочных трещин в закаленном слое металла;
излом рельса по всему сечению, вызванный проходом колес с ползунами.
3.14. Запрещается эксплуатация рельсов со следующими дефектами:
вертикальным и горизонтальным износом головки рельсов, превышающим указанный в п. 3.12 Инструкции;
приведенным износом головки более 15 мм для Р65; 12 мм для Р50 и Р43; 9 мм для Р38;
горизонтальным износом боковой грани головки более 13 мм для Р65; 11 мм для Р50; 10 мм для Р43 и Р38;
трещинами в головке, шейке, подошве, местах перехода шейки в головку или подошву, у болтовых отверстий;
выколом головки или подошвы;
провисшими концами, включая смятие на 5 мм при измерении просвета между рельсом и линейкой длиной 1 м, укладываемой на головку;
при превышении величин повреждений, указанных в табл. 4.
3.15. Под рельсы на полушпалы устанавливаются плоские металлические подкладки (рис. 4, 5, табл. 5). Прикрепление рельсов к полушпалам (рис. 6) осуществляется путевыми шурупами по ГОСТ 809-71 с прижимами (рис. 7, 8, табл. 7) или костылями по ГОСТ 5812-75.
Рис. 4. Подкладка для при крепления рельса к полу шпалам шурупами
Рис. 5. Подкладка для прикрепления рельса к полушпалам костылями
Допускается укладывать под рельсы железнодорожные подкладки по ГОСТ 7056-77, ГОСТ 12135-75* и ГОСТ 8194-75* с уклоном 1:20 при условии его направления внутрь колеи рельсового пути (табл. 6.).
Рис. 6. Прикрепление рельсов к полушпалам:
а - шурупами; б - костылями; 1 - рельс; 2 - шуруп путевой; 3 - прижим; 4 - подкладка
Рис. 7. Прижим для прикрепления рельса к полушпалам шурупами
Рис. 8. Прижим облегченный для прикрепления
рельса к полушпалам шурупами
|
Тип рельса |
Размеры, мм |
Масса 1 шт., кг |
|||||||
|
В |
K |
S |
А |
Б |
Г |
Д |
Е |
||
|
Р38 |
150 |
280 |
14 |
66 |
60 63 |
160 114 |
35 27 |
80 60 |
4 |
|
Р43 |
150 |
300 |
16 |
66 |
70 73 |
160 114 |
35 27 |
80 60 |
5,1 |
|
Р50 |
160 |
300 |
16 |
71 |
62,5 64 |
175 132 |
40 32 |
80 60 |
6 |
|
Р65 |
160 |
380 |
16 |
71 |
95 |
190 150 |
40 32 |
80 60 |
7,6 |
|
Примечание. Над чертой даны размеры для подкладок, выполненных по рис. 4, под чертой - по рис. 5. |
|||||||||
|
Тип рельса |
Тип скрепления |
Масса, 1 шт., кг |
Размеры, мм |
Опорная площадь (без учета отверстий), см2 |
|||
|
ширина |
длина |
толщина |
высота |
||||
|
Р38 |
Нераздельное |
5,25 |
290 |
160 |
15,5 |
9 |
464 |
|
Р43 |
Костыльное |
|
|
|
|
|
|
|
Р43 |
Смешанное костыльное |
5,26 |
290 |
160 |
15,5 |
8,5 |
464 |
|
Р50 |
То же |
5,8 |
310 |
160 |
15,5 |
9 |
496 |
|
Р50 |
» |
6,2 |
310 |
170 |
15,5 |
8,5 |
527 |
|
Р65 |
» |
7,66 |
360 |
170 |
16 |
9 |
612 |
|
Примечание. Высота реборд и толщина подкладок с уклоном дана для внутренней реборды. |
|||||||
3.16. Для рельсовых стыков (рис. 9) применяются:
двухголовые рельсовые накладки (рис. 10) для железных дорог широкой колеи по ГОСТ 4133-73, ГОСТ 8193-73 и ГОСТ 19128-73, основные размеры которых указаны в табл. 8;
одновитковые пружинные шайбы для скреплений рельсов железных дорог широкой колеи по ГОСТ 19115-73*;
путевые стыковые болты по ГОСТ 11530-76;
гайки для болтов по ГОСТ 11532-76.

а - типы Р38; Р43; Р50; Р65; б - тип Р65;
1 - болт; 2 - гайка; 3 - шайба пружинная;
4 - подкладка;
5 - полушпала; 6 - накладка двухголовая; 7 - рельс
Рис. 10. Накладки рельсовые двухголовые
а - для рельсов Р38; Р43; P50 и Р65; б - для рельсов Р65 (четырехдырная)
Примечание. Допускается применение:
рельсовых накладок по ГОСТ 4133-54;
одновитковых пружинных шайб по ГОСТ 7529-55 и ГОСТ 8196-56;
путевых болтов по ГОСТ 7633-55 и ГОСТ 8193-66;
гаек для болтов по ГОСТ 11532-65.
Размеры прижимов для прикрепления рельсов к полушпалам путевыми шурупами
|
Тип рельса |
Размеры, мм |
Масса 1 шт., кг |
||||||
|
А |
Б |
В |
Г |
Д |
Е |
Ж |
||
|
Р38 |
75 70 |
50 |
35 30 |
20 25 |
10 12 |
12 |
8 |
0,5 0,3 |
|
Р43 |
75 70 |
50 |
35 30 |
26 31 |
12 14 |
15 |
10 |
0,55 0,4 |
|
Р50 |
75 70 |
50 |
35 30 |
26 31 |
12 14 |
15 |
10 |
0,6 0,4 |
|
Р65 |
75 70 |
50 |
35 30 |
26 31 |
12 14 |
15 |
10 |
0,6 0,4 |
|
Примечание. Над чертой даны размеры прижимов, выполненных по рис. 7, под чертой - по рис. 8. |
||||||||
|
Тип рельса |
Размеры, мм |
Количество отверстий |
Масса 1 шт., кг |
||||||||||
|
А |
Б |
В |
Г |
Д |
Е |
Ж |
З |
И |
Л |
овальное |
круглое |
||
|
Р38 |
65 |
160 |
110 |
120 |
24 |
32 |
24 |
- |
- |
790 |
3 |
3 |
16 |
|
Р43 |
65 |
160 |
110 |
120 |
24 |
32 |
24 |
- |
- |
790 |
3 |
3 |
16 |
|
Р50 |
50 |
140 |
150 |
140 |
26 |
34 |
26 |
- |
- |
820 |
3 |
3 |
18,8 |
|
Р65 |
80 |
- |
- |
- |
- |
39 |
29 |
320 |
200 |
800 |
2 |
2 |
23,8 |
|
Р65 |
49 |
130 |
220 |
202 |
30 |
40 |
30 |
- |
- |
1000 |
3 |
3 |
29,1 |
4.1. Перед укладкой в полушпалах должны сверлиться отверстия диаметром 12 мм на глубину 130 мм для костылей и диаметром 16 мм на глубину 155 мм для путевых шурупов. Поверхность отверстий необходимо обрабатывать антисептиком.
4.2. Укладка полушпал должна производиться на подготовленный балластный слой с соблюдением указанных в табл. 1 расстояний между осями полушпал.
Отклонение расстояний между осями полушпал не должно превышать плюс 80 мм.
Рис. 11. План рельсового пути с деревянными полушпалами при
количестве их укладки 25, 23, 21 и 18 шт. на 12,5-метровое звено
Полушпалы по отношению к оси рельса располагаются перпендикулярно или по нормали (на кривых).
4.3. Металлические стяжки следует прикреплять к рельсам и укладывать не менее 1 шт. на каждое рельсовое звено (рис. 11, 12, 13, 14 и 15).
Рис 12 Стяжки для рельсовых путей с деревянными полушпалами
а - из трубы, б - из швеллера
Рис 13. Стяжка из уголков для рельсовых путей с деревянными
полушпалами
Параметры стяжек, прокладок, прижимных планок и спецификация деталей для крепления металлических стяжек к рельсам приведены в табл. 9, 10 и 11.
Рис. 14 Детали для прикрепления стяжки к рельсам
а - прокладка; б - планка прижимная
Рис. 15. Прикрепление металлических стяжек к рельсам
а - крепление стяжки из трубы; б - крепление
стяжки из уголков (швеллера),
1 - рельс, 2 - прокладка; 3 - планка прижимная; 4 -
болт M16×55; 5 - гайка М16;
6 - шайба пружинная 16; 7 - стяжка из трубы; 8 - стяжка из
уголков (швеллера)
4.4. Стыки рельсов располагаются между полушпалами. При противоугонном устройстве (прил. 6) рекомендуется смещать стык одной рельсовой нити относительно другой на длину стандартной железнодорожной накладки (см. табл. 8) плюс 10 мм.
|
Колея, мм |
Условный проход трубы, мм |
№ профиля |
Размер стяжек, мм |
||||
|
швеллера |
уголка |
А |
Б |
В |
Г |
||
|
4000 |
|
10 |
4 |
4270 |
|
3790 |
|
|
4500 |
|
10 |
4 |
4770 |
|
4290 |
|
|
5000 |
50 |
10 |
4 |
5270 |
210 |
4790 |
270 |
|
6000 |
|
10 |
5 |
6270 |
|
5790 |
|
|
6500 |
|
10 |
5 |
6770 |
|
6290 |
|
|
7500 |
|
10 |
5 |
7770 |
|
7290 |
|
|
Тип рельса |
Размер прокладок, мм |
Размер планки прижимной, мм |
||
|
А |
Б |
А |
Б |
|
|
Р38 |
12 |
43 |
12 |
68 |
|
Р43 |
14 |
43 |
14 |
68 |
|
Р50 |
16 |
34 |
16 |
60 |
|
Р65 |
16 |
25 |
16 |
50 |
|
Наименование деталей |
Номинальный диаметр |
ГОСТ |
Марка стали и ГОСТ |
Количество, шт. |
|
Прокладка |
- |
- |
Ст3; 380-71 |
4 |
|
Планка прижимная |
- |
- |
- |
4 |
|
Болт |
М16×55 |
7798-70 |
10; 1050-74 |
8 |
|
Гайка |
М16 |
5915-70 |
20; 1050-74 |
8 |
|
Шайба |
16 |
6402-70 |
65Г; 1050-74 |
8 |
Между рельсами в стыке оставляется зазор, величина которого не должна превышать 12 мм. Стыки должны быть сболчены на полное число болтов. Болты должны быть смазаны и поставлены в шахматном порядке поочередно гайками внутрь и наружу колеи. Все болтовые соединения рельсового пути должны быть затянуты путевыми шурупно-гаечными ключами.
Взаимное смещение торцов стыкуемых рельсов в плане не должно превышать 2 мм, а по высоте 3 мм.
4.5. Прикрепление рельсов к полушпалам необходимо производить полным комплектом шурупов или костылей (см. рис. 6).
Для предотвращения преждевременного выхода костылей необходимо забивать их отвесно, не допуская их изгиба. Изогнутые костыли перед забивкой следует выправлять.
Допускается повторная забивка костылей в полушпалы при укладке в старые отверстия деревянных пробок.
4.6. При устройстве рельсовых путей не допускается:
укладывать в путь рельсы разных типов;
крепить рельсы к полушпалам шурупами без установки прижимов;
забивать шурупы и болты молотками;
стыковать рельсы накладками, установленными с одной стороны;
сверлить отверстия для болтов через накладки;
удлинять ручку ключа для завинчивания болтовых соединений.
4.7. Размер ширины колеи (см. табл. 1) должен проверяться на всем протяжении рельсового пути в средней части и зоне болтового стыка на каждом звене стальной рулеткой с ценой деления 1 мм.
4.8. Прямолинейность рельсового пути проверяется натянутой струной или геодезическим прибором. Допускается отклонение от прямолинейности рельсового пути на длине 10 м: для кранов с жесткими ходовыми рамами - не более 20 мм; для кранов с балансирными ходовыми тележками - не более 25 мм.
4.9. Горизонтальность рельсовых путей на всем протяжении пути необходимо проверять нивелировкой по головке рельса в средней части и зоне болтового стыка на каждом звене.
Допускаемый продольный уклон пути должен быть не более 0,003, а поперечный уклон не более 0,004. Допускаемая разность отметок рельса при поперечном уклоне указана в табл. 1.
4.10. По результатам проверки при отклонении размеров колеи, прямолинейности и горизонтальности должна производиться выправка рельсового пути.
Бровки балластной призмы выравниваются параллельно рельсовым нитям при обеспечении одинакового откоса и плеча балластной призмы на всем протяжении пути.
4.11. При укладке рельсового пути должно предусматриваться звено, имеющее табличку с надписью «Место стоянки крана», длиной 12,5 м с поперечным и продольным уклоном не более 0,002 для стоянки крана в нерабочее время.
4.12. Для облегчения разборки рельсовых путей в зимнее время при укладке рекомендуется применять:
изолирующие многослойные прокладки, укладываемые под опорные элементы;
консистентные пластичные смазки марок БАМ-3 ТУ 38-101682-77, солидол синтетический по ГОСТ 4366-76, ГОИ-54п по ГОСТ 3276-74, ЦИАТИМ-201 по ГОСТ 6267-74;
кремнийорганическую жидкость ГКЖ-94 по ГОСТ 10834-76 для пропитки деревянных полушпал.
4.13. Изолирующие многослойные прокладки из кусков использованного рубероида, толя, картона или других материалов, пропитанных битумом, машинным отработанным маслом, нигролом или солидолом, укладываются на подготовленный балластный слой, после чего на них укладывают опорные элементы таким образом, чтобы прокладки охватывали нижнюю и частично боковые их поверхности (рис. 16).
Рис. 16. Укладка изолирующей прокладки для предотвращения
примерзания полушпал к грунту
1 - рельс; 2 - полушпала деревянная; 3 -
балластный слой;
4 - изолирующая прокладка (рубероид, толь, картон и т.п.)
4.14. Консистентные смазки должны наноситься на очищенные от грязи нижние и боковые поверхности опорных элементов тонким слоем из расчета 250 - 350 г/м2.
Нанесение смазки на опорные элементы производится непосредственно перед их укладкой на балластный слой. При этом петли в железобетонных балках должны быть срезаны или загнуты.
Допускается нанесение смазки на опорные элементы при отрицательной температуре.
4.15. Для пропитки деревянных полушпал приготовляется 20 %-ный раствор кремнийорганической жидкости в бензине (одна весовая часть ГКЖ-94 на 5 весовых частей бензина).
Раствор необходимо наносить на сухую поверхность полушпал, очищенную от грязи и пыли, в три слоя. Перерыв между нанесением первого и второго слоя должен быть не менее 30 мин. После нанесения третьего слоя полушпалы выдерживаются на воздухе не менее 48 ч при температуре не ниже 18 °С.
При отрицательной температуре обработка раствором ГКЖ-94 не допускается.
4.16. На рельсовых путях должны быть установлены и закреплены четыре инвентарных тупиковых упора (тупика) на расстоянии не менее 500 мм: от концов рельсов при железобетонных балках или от центра последней, хорошо подбитой, полушпалы при деревянных полушпалах или деревометаллических секциях.
Устанавливать тупики необходимо так, чтобы буферная часть крана одновременно касалась амортизаторов обоих тупиковых упоров.
Рекомендуемая конструкция инвентарного тупика и его детали показаны на рис. 17, 18, 19 и 20.
Спецификация деталей на инвентарный тупик приведена в табл. 12.
Допускается применение тупиковых упоров других конструкций, обеспечивающих восприятие удара крана, движущегося с максимальной скоростью и с предельным грузом в крайнем верхнем положении.
Устройство на путях перед тупиком тормозной балластной призмы не допускается.
4.17. Выключающие линейки для концевых выключателей механизма передвижения крана на концах рельсового пути должны устанавливаться таким образом, чтобы отключение двигателя механизма передвижения происходило на расстоянии от буферной части крана до амортизаторов тупиковых упоров не менее полного пути Торможения, указанного в паспорте крана.
Рис. 17. Тупик инвентарный
Рис. 18. Захват инвентарного тупика
а - левый; б - правый
Выключающие линейки должны быть изготовлены по чертежам предприятий-изготовителей кранов, указанных в Инструкции по эксплуатации с учетом конструкции выключателей хода крана и надежно крепиться к полушпалам или железобетонной секции инвентарных путей.
В процессе эксплуатации должно производиться периодическое покрытие выключающих линеек в отличительный цвет, хорошо различаемый крановщиком из кабины управления краном.
Рис. 19. Детали инвентарного тупика
а - чека; б - втулка распорная; в - шайба; г - болт стопорный; д - ролик
Рис. 20. Детали инвентарного тупика
а - клин; б - болт захватов; в - плита; г - брусок; д - амортизатор
|
Наименование |
Тип, размер, мм |
ГОСТ |
Количество, шт. |
Масса, кг |
||
|
на изделие |
на материал |
1 шт. |
общая |
|||
|
Захват левый |
- |
- |
|
1 |
33,1 |
33,1 |
|
Захват правый |
- |
- |
|
1 |
33,1 |
33,1 |
|
Чека |
- |
- |
|
1 |
1,5 |
1,5 |
|
Втулка распорная |
- |
- |
|
1 |
1 |
1 |
|
Шайба |
- |
- |
Ст 3, 380-71* |
1 |
0,7 |
0,7 |
|
Болт захватов |
- |
- |
|
1 |
5,5 |
5,5 |
|
Ригель |
10×20×50 |
- |
|
1 |
0,08 |
0,08 |
|
Болт стопорный |
- |
- |
|
1 |
0,43 |
0,43 |
|
Клин |
- |
- |
|
1 |
4,1 |
4,1 |
|
Ролик |
- |
- |
|
1 |
1,3 |
1,3 |
|
Плита |
- |
- |
|
1 |
6,2 |
6,2 |
|
Брусок |
- |
- |
Сосна, сорт 2, 9463-72* |
1 |
3,2 |
3,2 |
|
Амортизатор |
- |
- |
Пластина 1, лист, ОМБ-М-35-1,7, 7338-77 |
1 |
3,3 |
3,3 |
|
Болт |
М16×15056 |
7798-70* |
Ст 35, 1050-74* |
4 |
0,27 |
1,08 |
|
Шайба |
16.01 |
10906-66** |
Ст 10, 1050-74* |
4 |
0,03 |
0,12 |
|
Шайба |
16.02 |
11371-78 |
Ст 10, 1050-74* |
4 |
0,01 |
0,04 |
|
Гайка |
М16 6 |
5915-70* |
Ст 35, 1050-74* |
4 |
0,03 |
0,12 |
|
Гайка |
М48 6 |
5915-70* |
Ст 35, 1050-74* |
2 |
0,96 |
1,92 |
|
|
|
|
Итого |
- |
- |
96,79 |
Правильность установки выключающих линеек и работу концевых выключателей необходимо проверять ежесменно в процессе эксплуатации. Длину выключающей линейки следует выбирать в зависимости от пути торможения крана; в тех случаях, когда путь торможения не указан в паспорте крана, длину выключающей линейки рекомендуется принимать 1200 мм.
4.18. Во избежание быстрого износа кабеля, питающего электроэнергией башенный кран, рекомендуется вдоль рельсового пути спланировать грунт или установить специальный лоток (рис. 21).
Рис 21. Лоток для предотвращения износа кабеля 30
4.19. В целях недопущения хождения по путям посторонних лиц должны быть выставлены предупредительные надписи: «Входить на рельсовый путь посторонним лицам запрещается».
Необходимость установки ограждений рельсового пути определяется организацией, эксплуатирующей путь, исходя из местных условий производства работ.
Ограждения путей следует выполнять в виде стоек высотой 700 - 800 мм, установленных на расстоянии 6 м друг от друга и навешенным на них шнуром или проволокой или другим гибким элементом с флажками красного цвета. При этом для ограждения путей рекомендуется использовать различные отходы пиломатериалов, арматуры и др.
5.1. Рельсовые нити в начале и в конце пути, а также стыки рельсов должны быть соединены между собой перемычками и присоединены к заземлителю (заземлены), образуя непрерывную электрическую цепь.
5.2. Заземление необходимо выполнять независимо от существующей системы электроснабжающей сети - глухозаземленной или изолированной нейтралью (трансформатора, генератора).
5.3. При глухозаземленной нейтрали заземление осуществляется путем соединения металлоконструкции крана и рельсовых путей с заземленной нейтралью через нулевой провод линии, питающей кран.
Для выполнения заземления необходимо:
проложить соединительный проводник между подключаемым пунктом (распределительным щитом, рубильником и т.п.) и рельсовыми путями, концы проводника присоединить к корпусу подключаемого пункта и рельсу. Корпус подключаемого пункта должен быть присоединен к нулевому проводу питающей линии;
выполнить очаг заземления, замерить его величину и после этого присоединить к рельсам. Величина сопротивления заземления должна быть не более 10 Ом. При сопротивлении заземления более 10 Ом необходимо сделать повторное заземление или увеличить количество заземлителей.
5.4. Рельсовые пути не требуют заземления при питании крана посредством четырехжильного кабеля от отдельной передвижной электростанции, находящейся на расстоянии не более 50 м и имеющей собственное заземляющее устройство.
В этом случае нулевой провод кабеля необходимо присоединить к рельсам.
5.5. Рекомендуемые схемы заземления рельсовых путей приведены на рис. 22.
5.6. Для выполнения заземляющего устройства (очага) в качестве заземлителей в первую очередь должны быть использованы существующие металлические трубопроводы, проложенные в земле, обсадные трубы, металлические конструкции зданий и сооружений, имеющие соединения с землей.
Рис. 22. Схема заземления рельсовых путей
a - расположение очагов заземления у торцов рельсовых
путей;
б - расположение очагов заземления вдоль рельсовых путей; 1 -
очаг заземления;
2 - рельсовый путь; 3 - распределительный пункт; 4 -
четырехжильный кабель;
5 - перемычка; 6 - соединительный проводник; 7 - башенный
кран
5.7. Заземляющими проводниками не могут служить чугунные трубопроводы, временные трубопроводы на строительных площадках, трубопроводы с горючими жидкостями или газом.
5.8. При отсутствии естественных заземлителей, перечисленных в п. 5.6, допускается применять переносные (инвентарные) заземлители, ввинчиваемые в землю (например, заземлитель типа ПЭС-15).
5.9. При отсутствии заземлителей, указанных в пп. 5.6 и 5.8, а также в случае, когда их сопротивление окажется больше величины, указанной в п. 5.3, для заземления рельсовых путей применяются искусственные заземлители.
5.10. Перед тем как выполнить заземление, необходимо провести замер удельного сопротивления грунта. Удельное сопротивление грунта при влажности 10 - 20 % приведено в табл. 13.
|
Грунт |
Рекомендуемые значения удельных сопротивлений для предварительных расчетов, Ом |
Предел колебаний величины, Ом⋅см |
|
Песок |
7⋅104 |
4⋅104 - 10⋅104 |
|
Супесок |
3⋅104 |
1,5⋅104 - 4,0⋅104 |
|
Суглинок |
1⋅104 |
0,4⋅104 - 1,5⋅104 |
|
Чернозем |
2⋅104 |
0,96⋅104 - 5,8⋅104 |
|
Глина |
0,4⋅104 |
0,08⋅104 - 0,7⋅104 |
5.11. Для уменьшения удельного сопротивления земли выполняется искусственная обработка почвы. Обработка почвы производится поваренной солью путем поочередной укладки слоев соли и земли толщиной 1 см и поливкой каждого слоя водой из расчета 1 - 1,5 л на 1 кг соли (рис. 23).
5.12. Заземление рекомендуется выполнять в виде очага из трех стержней, расположенных по треугольнику или по прямой линии (см. рис. 22).
5.13. В качестве заземлителей следует применять некондиционные стальные трубы диаметром 50 - 75 мм, сталь угловую с размерами полок 50×50 и 60×60 мм или стальные стержни диаметром 10 - 20 мм и длиной 2 - 3 м.
5.14. Заземлители рекомендуется забивать или завинчивать в предварительно вырытую траншею глубиной от 300 до 700 мм таким образом, чтобы оставались концы длиной 100 - 200 мм, к которым привариваются соединительные проводники (см. рис. 23).
Перед засыпкой траншеи составляется акт освидетельствования скрытых работ.
При незначительном сроке эксплуатации крана на одном объекте допускается забивать заземлители непосредственно в грунт. При этом длина выступающей части заземлителя должна составлять не более 100 мм, которая, как и заземляющие проводники, окрашивается в черный цвет.
Рис. 23. Соединение вертикальных заземлителей между
собой и рельсовыми путями
а - в токопроводящем грунте; б - в
нетокопроводящем грунте; 1 - заземлитель;
2 - соединительный провод; 3 - слой земли; 4 - слой соли
5.15. Соединение рельса с заземлителем необходимо выполнять двумя проводниками (рис. 24). Все соединения проводников необходимо производить сваркой внахлестку. Качество сварки следует проверять ударами молотка.
5.16. Для заземляющих проводников и перемычек в стыках рельсов следует применять круглую сталь диаметром 6 - 9 мм или полосовую сталь толщиной не менее 4 мм с площадью сечения не менее 48 мм2. Приваривание перемычек производится к штифту, установленному на нейтральной оси рельса (см. рис. 24).
5.17. При изолированной нейтрали заземление должно осуществляться путем подсоединения рельсов к заземляющему контуру питающей подстанции либо путем устройства местного очага заземления. Указания по применению естественных и искусственных заземлителей приведены в пп. 5.6, 5.7, 5.8, 5.9 и 5.10.
Проводники должны быть хорошо видимы. Применение изолированных проводов не допускается.
Рис 24. Прикрепление соединительного проводника и перемычек к рельсам
1 - рельс; 2 - штифт; 3 - перемычка; 4 - накладка; 5 - соединительный проводник
5.18. После устройства заземления необходимо проверить сопротивление растеканию тока заземляющей системы. Оно должно быть для крана, питающегося от распределительного устройства с глухозаземленной нейтралью не более 10 Ом и с изолированной нейтралью не более 4 Ом.
При невозможности или нецелесообразности по характеру работ выполнить заземление в соответствии с требованиями настоящей главы взамен его может быть применено защитно-отключающее устройство.
5.19. Измерение сопротивления заземления и удельного сопротивления грунта выполняется любыми современными приборами (например, измерителем сопротивления заземления М416, см. прил. 4). Результаты проверки заносятся в акт сдачи рельсового пути в эксплуатацию (см. прил. 5).
6.1. Рельсовый путь, оборудованный системой заземления, тупиковыми упорами и выключающими линейками, следует 10 - 15 раз обкатать краном без груза и 5 - 10 раз с полной нагрузкой, после чего необходимо провести нивелировку и просевшие участки пути выправить подбивкой балласта под опорные элементы.
Перед началом эксплуатации башенного крана необходимо составить акт сдачи рельсового пути в эксплуатацию (см. прил. 5), к которому прилагаются документально оформленные результаты нивелировки, а также схема геодезической съемки поперечного и продольного профилей рельсового пути.
6.2. При эксплуатации рельсовых путей необходимо вести постоянное наблюдение за их состоянием и особенно за звеном для стоянки кранов в нерабочее время.
Плановая проверка состояния рельсового пути должна производиться после каждых 20 - 24 смен работы крана мастером или прорабом, отвечающим за исправное состояние пути, с записью результатов проверки в сменном журнале крана.
При плановой проверке необходимо:
проверить размер ширины колеи, расположение рельсов в вертикальной плоскости, параллельность рельсов в плане, прямолинейность пути, плавность передвижения крана;
проверить горизонтальность рельсового пути нивелировкой не реже одного раза в месяц, в период оттаивания грунта - через каждые 5 - 10 дней и каждый раз после ливневых дождей.
Перед началом смены машинист крана должен производить осмотр состояния элементов пути - рельсов, промежуточных и стыковых рельсовых скреплений, опорных элементов, балластной призмы, тупиковых упоров, выключающих линеек, заземления и водоотвода.
Кроме периодических осмотров и проверок рельсового пути лицами, ответственными за исправное состояние пути, должны проводиться дополнительные осмотры и проверки в случаях особо неблагоприятных метеорологических условий (ливней, снежных заносов, таяния снега и т.п.) или при наличии неустойчивых участков пути (например, в зонах насыпей в пазухах фундаментов, в местах траншей подземных коммуникаций и т.п.).
При обнаружении неисправностей приступать к работе запрещается до их полного устранения с записью в сменном журнале крана.
6.3. Измерение сопротивления заземления подкранового пути производится в сроки, установленные Правилами технической эксплуатации электроустановок потребителей, утвержденными Госэнергонадзором 12 апреля 1969 г.
Крепление открытых перемычек на стыках рельсов и между рельсовыми нитями необходимо осматривать ежесменно.
6.4. В зимний период рельсы, промежуточные рельсовые скрепления, выключающие линейки, перемычки заземления и тупиковые упоры должны быть очищены от снега.
Во время таяния снега следует тщательно очищать водоотвод.
6.5. При осмотре рельсов крановых путей следует обращать внимание на те места, где чаще появляются трещины: на шейку рельса, особенно на верхнюю ее часть, поверхность головки и концы рельсов. Дефектные рельсы могут быть замечены по следующим признакам: местному уширению головки, темным продольным полосам на поверхности катания, красноте под головкой, тонким продольным или поперечным трещинам на верхней или боковой поверхностях головки, ржавым или синим полосам в месте сопряжения шейки с подошвой или на полке подошвы, выщербинам на головке рельса и т.п.
6.6. Во время проведения плановой проверки состояния рельсовых путей при необходимости следует:
восстановить профиль поперечного сечения балластной призмы,
заменить заросший и загрязненный слой балласта на чистый балластный материал;
подштопать просевшие или зависшие опорные элементы;
заменить дефектные рельсы, скрепления и опорные элементы;
заменить поломанные и гнилые полушпалы;
подтянуть ослабленные шурупы или добить ослабленные костыли;
восстановить поврежденные перемычки заземления;
подтянуть ослабленные болтовые соединения стыков и крепления стяжек;
отрегулировать зазоры в стыках;
очистить от грязи рельсы, скрепления и открытые перемычки заземления;
смести балласт с поверхностей рельсов, подкладок и опорных элементов;
обеспечить правильность установки и укрепить инвентарные тупики и выключающие линейки;
смазать болтовые соединения в стыках.
6.7. Выправку рельсового пути в местах просадок следует производить плавно с помощью специальных домкратов, грузовая площадка которых устанавливается непосредственно под рельс. Ось домкрата должна быть перпендикулярна основанию рельса. В случае применения нескольких домкратов подъем участка рельса необходимо производить равномерно.
Применение для этой цели кранов не допускается.
6.8. Не допускается эксплуатация крана на рельсовом пути:
при поперечном или продольном уклоне более 0,01;
при дефектах рельсов, указанных в пп. 3.13 и 3.14 при взаимном смещении торцов стыкуемых рельсов в плане более 2 мм, а по высоте более 3 мм;
при отклонении колеи от размера, указанного в табл. 1;
при упругой просадке рельсовых путей под колесами крана более 5 мм;
просадка измеряется при подъеме максимального груза на крюке крана и угле поворота стрелы в плане относительно оси пути, равном 45° без передвижения крана;
если рельсы не прикреплены к полушпалам или прикреплены неполным количеством костылей или путевых шурупов;
при поломке полушпал;
при отсутствии тупиковых упоров и выключающих линеек или их установке, не соответствующей пп. 4.16 и 4.17;
при отсутствии или неисправности заземления (порваны перемычки, несоответствие диаметра перемычек и т.п.).
6.9. Складирование строительных материалов, размещение временных сооружений и оборудования на рельсовых путях, проезд автотранспорта и других машин по ним не допускается. При необходимости переезд через путь для автотранспорта может быть устроен только по специальному проекту, обеспечивающему безопасность эксплуатации крана. Проект должен быть согласован с организацией, эксплуатирующей пути.
7.1. Разборка рельсовых путей должна выполняться в обратной последовательности относительно устройства путей с применением тех же средств механизации.
В случае если кран продолжает эксплуатироваться на одном из участков разбираемого рельсового пути, последним должно разбираться звено, к которому присоединена система заземления.
7.2. Для облегчения разборки рельсовых путей в зимнее время рекомендуется применять:
материалы и средства согласно пп. 4.12, 4.13, 4.14 и 4.15;
водный раствор технической поваренной соли;
домкраты.
Применение для отрывки примерзших элементов пути башенных кранов не допускается.
7.3. Пропитка балласта водным раствором технической поваренной соли производится по периметру опорных элементов, которые предварительно очищаются от снега и льда.
Примечание. Для посадки растительности на месте, где производилась соляная пропитка, необходимо насыпать растительный слой почвы.
Пропитка балласта соляным раствором производится не менее чем за 10 ч перед началом разборки путей при среднесуточной температуре не ниже -20 °С и минимальной температуре воздуха -25 °С.
При температуре воздуха до -20 °С следует применять 30 %-ную концентрацию раствора, при температуре от -21° до -25° соответственно до 31 - 35 %.
Количество соляного раствора, необходимое для пропитки балласта, составляет 2 л на одну полушпалу.
7.4. Транспортные средства, используемые для перевозки конструкций рельсового пути, должны иметь необходимые приспособления, обеспечивающие надежное закрепление конструкций при перевозке.
7.5. Инвентарные секции пути с деревянными полушпалами и деревометаллическими рамами рекомендуется перевозить на автотягаче с одноосным прицепом-роспуском или полуприцепом-платформой.
Инвентарные железобетонные секции пути рекомендуется перевозить на автотягаче с полуприцепом или на автомашинах с длиной кузова не менее 5 м в рабочем положении.
Таблица 14
Машины и транспортные средства
|
Наименование машин |
Наименование выполняемых операций |
|
Экскаваторы с ковшом емкостью 0,15 - 0,25 м3 |
Подготовка земляного полотна |
|
Бульдозеры на тракторах класса 1,4 - 10 т |
То же |
|
Погрузчики одноковшовые па гусеничном или пневматическом ходу мощностью 50 - 130 л. с. |
Устройство балластной призмы |
|
Самоходные катки статического действия, массой 6 - 10 т |
Подготовка земляного полотна |
|
Катки вибрационные прицепные массой 3 - 6 т |
То же |
|
Виброплиты или электрические ручные трамбовки |
Уплотнение балластной призмы |
|
Шпалоподбивочные машины ОШМ-4* |
Подбивка балласта под полушпалы |
|
Автомобильные краны грузоподъемностью до 10 т |
Погрузка и разгрузка, укладка конструкций пути |
|
Автосамосвалы грузоподъемностью до 8 т |
Перевозка балласта, шпал и рельсовых скреплений |
|
Специализированный прицеп к тракторам Т-40 или МТЗ-5 |
Разборка, перевозка и укладка путей |
|
Автотягач типа ЗИЛ или МАЗ |
Перевозка конструкций пути |
|
Одноосный прицеп-роспуск (лесовоз) |
То же |
|
Полуприцеп-платформа грузоподъемностью 7 т |
» |
|
Автомобиль бортовой типа ГАЗ, ЗИЛ или МАЗ |
Перевозка инструментов, приспособлений, рельсовых скреплений, тупиковых упоров и средств для устройства заземления |
|
Установка для выполнения комплекса работ по заземлению индивидуального изготовления по чертежам треста Строймеханизация (Новосибирск) |
Устройство заземления |
|
Электросварочный аппарат |
То же |
|
* По чертежам треста Криворожстроймеханизация (г. Кривой Рог, Днепропетровское шоссе, 16), |
|
Таблица 15
Инструмент и приспособления
|
Наименование и характеристика |
Количество на звено рабочих-путейцев из 4 - 5 чел |
Наименование и характеристика |
Количество на звено рабочих-путейцев из 4 - 5 чел. |
||||||
|
Лопата штыковая |
2 |
Электрогайковерт |
2 |
||||||
|
Лопата совковая |
2 |
Электрошпалоподбойка |
5 |
||||||
|
Кувалда (5 кг) |
2 |
Подштопка деревянная |
5 |
||||||
|
Лом |
2 |
Захват клещевой для установки рельсов |
5 |
||||||
|
Ключ 32×36 |
3 |
|
|||||||
|
Ключ гаечный со сменными головками ГОСТ 3329-75 |
2 |
Ударник удлиненный |
1 |
||||||
|
|
Рулетка стальная (10 и 20 м) |
1 |
|||||||
|
Домкрат винтовой ручной (5 тс) |
2 |
Метр стальной |
1 |
||||||
|
|
Уровень |
1 |
|||||||
|
Домкрат гидравлический (20 тс) |
2 |
Нивелир с треногой |
1 |
||||||
|
|
Трещотка для сверления рельсов со сверлом 22 мм |
1 |
|||||||
|
Электропневматический молоток для забивки костылей |
2 |
|
|||||||
|
|
Электродрель |
1 |
|||||||
|
|
Электрорельсорезка |
1 |
|||||||
|
Молоток костыльный |
2 |
Строп четырехветвевой |
1 |
||||||
|
Лапа костыльная |
2 |
Строп двухветвевой |
1 |
||||||
|
Шуруповерт (ШВ-1) |
2 |
Чалка |
2 |
||||||
|
Примечание. Для звена из 3 человек по устройству заземления необходимы:
|
|||||||||
1. Протяженность нижнего строения рельсового пути принимается из условия обслуживания башенным краном наиболее удаленных торцовых секций возводимого здания.
Расположение рельсового пути должно обеспечивать возможность свободного размещения монтируемых частей крана.
2. Площадка земляного полотна планируется так, чтобы поперечный уклон на недренирующих грунтах в сторону водоотвода (от строящегося здания) был в пределах от 0,008 до 0,01, а продольный уклон - не более 0,003.
Для этого в пределах, намеченных размером рельсового пути, производят нивелировку местности.
Площадку пути разбивают на ряд квадратных участков со стороной, равной ширине земляного полотна. По углам намеченных участков до уровня поверхности вбивают деревянные колышки или металлические стержни. С помощью нивелира, закрепленного на одной из стоянок, и двусторонней рейки в условной системе высот отмечают точки на колышках (стержнях). За исходную принимается высота точки, отмеченная на колышке, расположенном в стороне от рельсового пути, вне зоны вероятной деформации грунта. Положение начальной точки (репера) должно сохраняться неизменным на период устройства рельсового пути. Отметку этой точки принимают равной произвольному округленному числу, например 10 м. Отметки остальных точек вычисляют через горизонт нивелира. По нанесенным отметкам проверяют естественные продольный и поперечный уклоны площадки. При несовпадении уклонов поверхности с требуемыми осуществляют планировку земляного полотна в соответствии с проектом, составленным по данным нивелировки.
Планировка поверхности земляного полотна производится бульдозером по кольцевой или челночной схеме его движения. Тип бульдозера принимают в зависимости от вида грунта. Мерзлые грунты до разработки их бульдозером необходимо разрыхлить.
Кольцевую схему работы бульдозеров целесообразно применять, когда размеры площадки и участки за торцами пути позволяют осуществлять поворот бульдозера по замкнутой траектории.
Челночная схема применяется при работе бульдозеров в стесненных условиях (при наличии бровки котлована, стен зданий и других сооружений, препятствующих повороту машины по круговой траектории). По этой схеме бульдозер срезает грунт, двигаясь вперед, а при движении назад разглаживает срезанную поверхность грунта, в исходном месте он переходит на параллельную траекторию.
Разработку грунта начинают с проходов, прилегающих к зданию или к бровке котлована. Между смежными проходами необходимо оставлять разделительную стенку шириной до 0,5 м, которая препятствует потере грунта при его перемещении вдоль земляного полотна. После завершения основных проходов разделительные стенки срезают.
Земляную площадку, длина которой превышает 50 м, разбивают на две захватки, планируемые последовательно.
На спланированном земляном полотне производится повторное нивелирование с целью проверки полученных уклонов.
3 Устройство водоотводных канав производится параллельно с работами по планировке земляного полотна.
В условиях повышенной влагонасыщенности грунта сечение водоотвода по сравнению с требованиями п. 2.16 может быть увеличено
Водоотвод рельсового пути должен быть включен в общий водоотвод строительной площадки. На ряде объектов поверхность земляного полотна рельсового пути может оказаться ниже уровня дна водостока строительной площадки. В этом случае устраивают водосборник, из которого откачивают накапливающуюся воду в ближайшие канализационные или водосточные колодцы.
Для предупреждения засорения водоотвода строительным мусором разрешается засыпка его дренирующим материалом (щебнем, гравием, крупным песком и т.п.).
4. Несущая способность земляного полотна, его прочность и устойчивость характеризуются показателем плотности грунта, т.е. объемной массой твердых частиц, содержащихся в грунте, которая выражается в т/м3.
Грунтовые массивы в естественном залегании под влиянием длительного воздействия гравитационных сил и погодно-климатических факторов слагаются в устойчивые структуры, плотность и влажность которых, как правило, позволяют устройство земляного полотна без специального уплотнения. Поэтому при устройстве земляного полотна необходимо принимать меры по сохранению естественной структуры грунта: снятие почвенного слоя следует производить непосредственно перед началом работ, тщательно выполнять водоотвод и не допускать заезда транспорта на земляное полотно. В осенний и весенний периоды верхний переувлажненный слой грунта должен быть удален.
Если плотность грунта в естественном состоянии меньше указанных в п. 2.12 величин, земляное полотно необходимо доуплотнить.
5. Выбор того или иного способа уплотнения и соответствующих средств механизации зависит от вида грунта и его естественной плотности (табл. 16).
Число проходов (ударов) по каждому следу должно быть одинаковым. Повторное уплотнение полос производится только после того, как вся ширина земляного полотна охвачена следами предыдущих проходов. Предыдущий след должен быть перекрыт последующим на 100 - 150 мм. При уплотнении грунта катками необходимо соблюдать режим их движения: по первым и последним следам каток должен проходить на малых скоростях, а по промежуточным - на больших.
Рекомендуемые способы уплотнения грунтов и применяемые грунтоуплотняющие машины
|
Вид грунта |
Способ уплотнения |
Тип грунтоуплотняющей машины |
Ориентировочное число проходов |
Толщина уплотняемого слоя, мм |
|
Легкий и тяжелый суглинок, супесь, другие связные грунты |
Укатка |
Самоходные катки статического действия массой 6 - 10 |
6 - 10 |
150 - 300 |
|
Песок с примесью щебня, гравия, несвязные и малосвязные грунты с содержанием глинистых фракций до 60 % |
Вибрация |
Прицепные вибрационные катки массой 3 - 6 т и другие виброуплотняюшие машины |
3 - 4 |
до 150 |
|
Все виды связных грунтов в местах примыкания земляного полотна к бровке котлована |
Трамбование |
Электротрамбовки или навесные ударные трамбовки |
- |
100 - 200 |
|
Все виды грунтов на любых площадках в зимнее время |
|
|
|
|
Уплотнение грунта считается законченным, если обеспечена плотность в соответствии с нормами п. 2.12.
6. Устройство земляного полотна из насыпного грунта производится в соответствии с п. 2.11.
По такой же технологии следует выполнять засыпку и уплотнение траншей и пазух, над которыми сооружаются рельсовые пути.
7. Балластная призма отсыпается на подготовленную площадку земляного полотна. Предварительно на площадке земляного полотна с помощью нивелира или другого геодезического инструмента намечают центральную ось рельсового пути и оси рельсовых ниток. При этом необходимо дополнительно проверить, обеспечивает ли принятое расположение оси пути необходимый зазор между крановыми конструкциями и выступающими частями здания (см. табл. 1).
Материал для балластных призм доставляется на земляное полотно автосамосвалами и разгружается двумя полосами. Распределение балластного материала и профилирование балластных призм производится с помощью бульдозера или фронтального погрузчика.
Балластные призмы должны укладываться с равномерным уплотнением по всей площади. Уплотнение балласта производится с помощью виброплит или электротрамбовок.
В зимнее время работы по устройству песчаных балластных призм должны быть организованы таким образом, чтобы балласт был доставлен, уложен и уплотнен раньше, чем произойдет его смерзание. Время до начала смерзания песка зависит от температуры наружного воздуха:
|
температура наружного воздуха, °С |
время до начала смерзания, мин: |
|
минус 5 |
90 - 100 |
|
» 10 |
60 - 80 |
|
» 20 |
40 - 50 |
|
» 30 |
30 - 40 |
При перевозке, разгрузке и распределении балластного материала необходимо исключить возможность его загрязнения и засорения.
8. Опорные элементы с прикрепленными к ним с помощью рельсовых скреплений рельсами составляют инвентарные звенья, которые укладываются на балластный слой и стыкуются между собой.
9. Конструкция инвентарного звена с деревянными полушпалами, а также рекомендуемых подкладок и скреплений рельсов с полушпалами показана на рис. 4, 5, 6 и 11.
Секции рекомендуется изготавливать с применением кондукторов для раскладки полушпал и передвигающихся по рельсу приспособлений со сверлилкой и шуруповертом.
Для предохранения шурупов от самовывинчивания в отверстия полушпал перед закручиванием шурупов рекомендуется заливать расплавленный тугоплавкий битум.
Изготовленные секции перед отправкой на объект комплектуются стыковыми накладками, стяжками и деталями для их скрепления.
При укладке этих секций может применяться шпалоподбивочная машина ОШМ-4.
10. Инвентарные секции с железобетонными балками (рис. 25 и 26) предназначены для эксплуатации башенных кранов с нагрузкой от колеса на рельс до 30 тс с восемью ходовыми колесами.
Армирование железобетонных балок (рис. 27) следует производить сварными каркасами К-1 и К-2, собранными в пространственный каркас с помощью соединительных стержней.
Спецификация арматуры (см. рис. 27) и закладных деталей (рис. 28), необходимых для изготовления одной железобетонной балки, приведена в табл. 17 и 18.
Спецификация арматуры, необходимой для изготовления одной железобетонной балки
|
Марка и наименование изделия |
Позиция |
Диаметр, класс |
Длина, мм |
Количество, шт. |
Общая длина, м |
Выборка |
||
|
диаметр, класс |
общая, м |
масса, кг |
||||||
|
К-1 (ШТ-1) |
1 |
25A-II |
6190 |
8 |
49,5 |
25A-II |
49,5 |
190,5 |
|
2 |
12А-II |
760 |
42 |
31,9 |
12A-II |
101,8 |
81,4 |
|
|
К-2 (ШТ-1) |
3 |
12A-II |
6190 |
6 |
37,2 |
12А-I |
5,8 |
4,6 |
|
4 |
12A-II |
760 |
42 |
32,7 |
8A-I |
11,1 |
4,3 |
|
|
|
|
|
|
|
|
Итого |
|
280,8 |
|
Соединительные стержни |
5 |
8А-I |
180 |
62 |
11,1 |
|
|
|
|
6 |
12А-I |
5800 |
1 |
5,8 |
|
|
|
|
Спецификация закладных деталей, необходимых для изготовления одной железобетонной балки
|
Марка детали |
Позиция |
Количество позиций на закладную деталь, шт. |
Количество позиций на одну балку шт. |
Масса, кг |
|
М-1 (ШТ-9) |
1 |
1 |
9 |
17,5 |
|
2 |
4 |
36 |
22,1 |
|
|
М-2 (ШТ-4) |
2 |
3 |
12 |
7,4 |
|
3 |
1 |
4 |
2,1 |
|
|
М-3 (ШТ-4) |
5 |
1 |
4 |
9 |
|
М-4 (ШТ-2) |
4 |
1 |
2 |
3,2 |
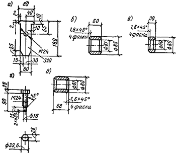
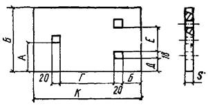
Спецификация деталей на изготовление одной инвентарной железобетонной секции (длиной 6250 мм) приведена в табл. 19.
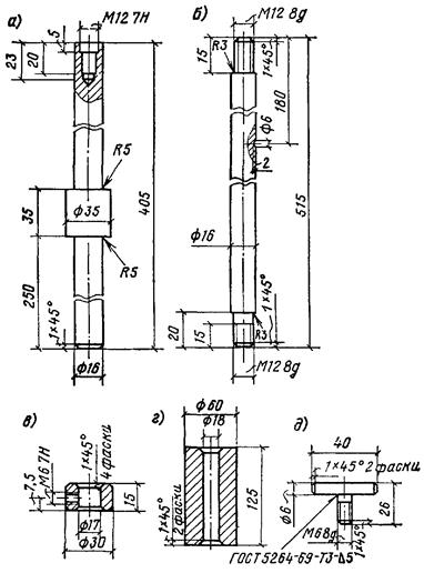
11. Инвентарные приспособления для прикрепления рельсов к железобетонным балкам (см. рис. 26) приведены на рис. 29.
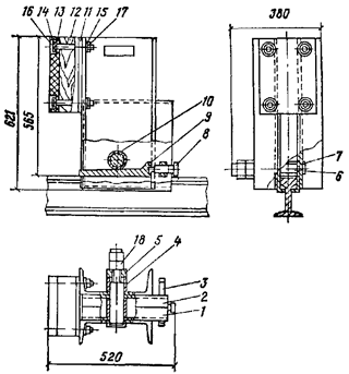
Рис 25. Звено рельсовых путей с железобетонными балками
1 - рельс Р43 или Р50, 2 - гайка, 3 -
шайба пружинная 4 - прижим, 5 - шпилька,
6 - железобетонная балка, 7 - стяжка, 8 - петля стропов,
9 - железнодорожная накладка, А - размер колеи
Рис 26 Железобетонная балка
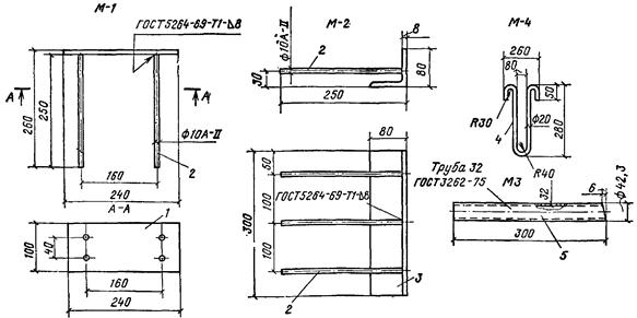
Рис. 27. Армирование железобетонной балки
Рис. 28. Закладные детали М-1; М-2; М-3; М-4.
Спецификация деталей на изготовление одной инвентарной железобетонной секции рельсового пути (длиной 6250 мм)
|
Наименование |
Размер, мм |
гост |
Количество, шт. |
Масса, кг |
||
|
на изделие |
на материал |
1 шт. |
общая |
|||
|
Рельс Р50 |
- |
7174-75 |
- |
1 |
323 |
323 |
|
Железобетонная балка |
- |
- |
- |
1 |
3100 |
3100 |
|
Прижим |
- |
- |
Ст 3; 380-71* |
18 |
0,68 |
12,24 |
|
Шайба пружинная |
24 |
6402-70* |
65Г; 1050-74* |
18 |
0,068 |
1,22 |
|
Гайка |
М 24 |
11532-76 |
- |
18 |
0,155 |
2,79 |
|
Накладка двухголовая |
- |
19128-73 |
- |
2 |
18,77 |
37,54 |
|
Болт |
- |
11530-76 |
- |
6 |
0,585 |
3,51 |
|
Гайка |
М 24 |
11532-76 |
- |
6 |
0,155 |
0,93 |
|
Шайба пружинная путевая |
24 |
19115-73* |
- |
6 |
0,068 |
0,41 |
|
Петля строповочная |
- |
- |
Ст 20; 1050-74* |
4 |
2,84 |
11,36 |
|
|
|
|
Всего |
- |
- |
3493 |
12. Для стыковки секций рельсового пути (рис. 30) должны применяться соединительные детали в соответствии с п. 3.16. При сдвижке стыка относительно стыкового зазора между балками допускается применение других стыковых накладок по согласованию с ЦНИИОМТП.
Рис. 29. Инвентарные приспособления
а - прижим; б - петля с шайбой; в - шпилька
Рис. 30. Стык рельсов Р43 (Р50) на железобетонных балках
с применением двухголовых накладок
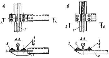
1 - рельс; 2 - двухголовая накладка; 3 -
шпилька; 4 - гайка;
5 - шайба пружинная; 6 - прижим; 7 - железобетонная балка
13. Железобетонные балки (см. рис. 26) следует изготовлять в формах в перевернутом положении.
Проектное положение закладных деталей и арматуры необходимо обеспечивать специальными фиксаторами, укрепленными на формах, а уплотнение бетонной смеси производить вибраторами или установкой фермы на виброплощадку.
Железобетонные балки (см. рис. 26) следует изготовлять из бетона марки не ниже М 300 с использованием песка по ГОСТ 8736-67, щебня по ГОСТ 8267-75 и портландцемента.
Применение глиноземистого цемента, а также смешивание цемента разных марок не допускается.
Подбор рабочего состава бетона необходимо производить на основе проверки по результатам испытаний образцов, изготовленных из пробных замесов для принятой на каждом предприятии технологии изготовления изделий.
Качество сварных каркасов (см. рис. 27) должно соответствовать требованиям технических условий на сварную арматуру для железобетонных конструкций.
Арматура каркасов должна иметь защитный слой не менее 20 мм. Закладные детали (см. рис. 28) и металлические крепления (см рис. 29) следует защищать антикоррозионным покрытием.
Железобетонные балки при изготовлении должны удовлетворять следующим требованиям в отношении отклонения размеров:
|
по длине балки |
±5 мм; |
|
по ширине» |
±2 мм; |
|
по расположению закладных деталей от +4 до -3 мм. |
|
Допускаются:
искривление граней в горизонтальной плоскости не более 2 мм на 1 м, а на всю длину не более 8 мм;
отклонение от перпендикуляра вертикальных граней не более 2 мм на всю высоту торца, углы торцов балки должны быть прямыми;
наличие на 1 м не более двух раковин диаметром до 10 мм и глубиной до 6 мм, которые подлежат обязательной затирке цементным раствором
Обнажение арматуры не допускается.
Качество, количество и проектное расположение арматуры в балках должно быть подтверждено актом на скрытые работы, где указываются классы и диаметры арматуры, результаты механических испытаний стали и толщина защитного слоя.
Изготовленная железобетонная балка должна быть промаркирована несмываемой краской на верхней и боковой поверхностях ее торца. Маркировка содержит: марку балки, номер паспорта, дату изготовления и порядковый номер балки.
Каждый комплект рельсового пути должен иметь паспорт, в котором указывается:
номер паспорта и дата его выдачи;
номер комплекта и дата его изготовления;
адрес предприятия-изготовителя;
количество, номер и марка балок;
марка бетона.
К паспорту следует прикладывать акт на скрытые работы.
14. Рельсовые звенья с железобетонными балками укладываются на балластный слой толщиной согласно табл. 20.
Характеристика балластного слоя
|
Нагрузка от колеса на рельс, тс |
Толщина балластного слоя мм |
Расход балласта на 12,5-метровое звено, м3 |
|
До 15 |
100 |
3,6 |
|
» 20 |
150 |
5,6 |
|
» 30 |
200 |
8 |
|
Примечания: 1. Ширина раздельных призы принимается 1200 мм. 2. Расход балласта приведен с учетом частичной планировки основания. |
||
Рис. 31. Стяжки для рельсовых путей с железобетонными балками
а - стяжка из трубы; б - стяжка из швеллера;
1 - каркас стяжки; 2 - планка; 3 - петля монтажная
Рис. 32. Детали стяжек для рельсовых путей на железобетонных балках
а - каркас стяжки; б - планка; в - петля монтажная
15. Установка металлических стяжек производится в соответствии с рис. 31, 32, 33 и табл. 21.
Рис. 33. Прикрепление металлических стяжек к рельсам на железобетонных балках
1 - стяжка, 2 - шпилька М 24, 3 - гайка М
24,
4 - шайба пружинная М 24, 5 - рельс, 6 - железобетонная
балка
Размеры стяжек для рельсовых путей с железобетонными балками, мм
|
Тип рельса |
А (ширина колеи) |
Б |
В |
Г |
№ профиля швеллера |
|
Р38 |
4000 |
3840 |
3900 |
3780 |
8 |
|
4500 |
4340 |
4400 |
4280 |
8 |
|
|
5000 |
4840 |
4900 |
4780 |
8 |
|
|
Р43 |
4000 |
3840 |
3900 |
3780 |
8 |
|
4500 |
4340 |
4400 |
4280 |
8 |
|
|
5000 |
4840 |
4900 |
4780 |
8 |
|
|
6000 |
5840 |
5900 |
5780 |
10 |
|
|
Р50 |
4000 |
3820 |
3880 |
3760 |
8 |
|
4500 |
4320 |
4380 |
4260 |
8 |
|
|
5000 |
4820 |
4880 |
4760 |
8 |
|
|
6000 |
5820 |
5880 |
5760 |
10 |
|
|
6500 |
6320 |
6380 |
6260 |
10 |
|
|
7500 |
7820 |
7880 |
7760 |
10 |
|
|
Примечание. Для всех типов рельсов размер условного прохода трубы равен 50 мм. |
|||||
16. При изготовлении инвентарных деревометаллических секций (рис. 34 и табл. 22) в качестве связывающих полушпалы элементов рекомендуется применять некондиционные или бывшие в употреблении стальные полосы, уголки или швеллеры, сваренные из отдельных кусков.
В местах контакта полушпал с внутренней частью швеллера приваривают ограничительные планки.
После сверления отверстий в полушпалах диаметром 18 мм поверхность отверстий обрабатывается антисептиком. Приваренные к нижним подкладкам шпильки (см рис. 34) впрессовываются в отверстия полушпал под усилием 50 кгс для удержания их от выпадания.
Рис. 34. Звено рельсового пути инвентарных деревометаллических секций
1 - рельс; 2 - полушпала; 3 - планка
ограничительная; 4 - связь; 5 - подкладка;
6 - швеллер; 7 - прижим; 8 - гайка; 9 - шайба
пружинная; 10 - болт
Спецификация деталей на изготовление одной инвентарной деревометаллической секции рельсового пути (длиной 6250 мм)
|
Наименование |
Размер, мм |
ГОСТ |
Кол-во, штук |
Масса, кг |
||
|
на изделие |
на материал |
1 шт. |
общая |
|||
|
Рельс Р43 |
- |
7173-54* |
- |
1 |
279 |
279 |
|
Полушпала |
IА |
78-65* |
Сосна, сорт 2; 8486-66 |
11 |
34 |
374 |
|
Швеллер |
№ 18 |
8240-72 |
- |
2 |
97,8 |
195,6 |
|
Прижим |
- |
- |
Ст 3; 380-71* |
22 |
0,72 |
14,4 |
|
Шпилька |
М 22×240 |
- |
Ст 3; 380-71* |
22 |
0,55 |
12,1 |
|
Гайка |
М 22 |
11532-76 |
- |
22 |
0,07 |
1,54 |
|
Шайба пружинная |
22 |
6402-70* |
65Г; 1050-74* |
22 |
0,02 |
0,44 |
|
Подкладка |
- |
- |
- |
22 |
2,2 |
48,4 |
|
Ограничительная планка |
- |
- |
Ст 3; 380-71* |
44 |
0,1 |
4,4 |
|
Связь |
- |
- |
Ст 3; 380-71* |
6 |
1,69 |
10,14 |
|
Накладка двухголовая |
- |
19127-73 |
- |
2 |
16,01 |
32,02 |
|
Болт |
- |
11530-76 |
- |
6 |
0,448 |
2,67 |
|
Гайка |
М 22 |
11532-76 |
20; 1050-74* |
6 |
0,154 |
0,93 |
|
Шайба пружинная путевая |
22 |
19115-73* |
- |
6 |
0,049 |
0,3 |
Рельс укладывается на верхние подкладки, установленные на шпильках каждой полушпалы, и крепится к полушпалам прижимами с обеих сторон. Под гайки шпилек подкладываются пружинные шайбы, а концы шпилек должны быть выше полностью затянутой гайки не более 5 мм.
Зазоры между верхними подкладками и подошвой рельса допускать не следует.
Не допускается применение секций с деформированными элементами, связывающими полушпалы (искривление более 20 мм на 1000 мм длины).
ОПРЕДЕЛЕНИЕ ПЛОТНОСТИ ГРУНТОВ МЕТОДОМ ЗОНДИРОВАНИЯ С ПОМОЩЬЮ УДЛИНЕННОГО УДАРНИКА
1. Метод зондирования может применяться при определении плотности песчаного, супесчаного и суглинистых грунтов в полевых условиях.
2. Метод основан на сопротивлении грунта погружению в него стандартного штампа круглого сечения диаметром 160 мм. Штамп залавливают с помощью ударов гири с высоты 300 мм.
Рис. 35. Ударник удлиненный для определения
плотности грунта методом зондирования
1 - стержень с концевым штырем; 2 - стержень
направляющий; 3 - гиря;
4 - кольцо ограничительное; 5 - винт; 6 - рукоять
3 Степень плотности грунта определяется в интервале оптимальной влажности или близкой к ней.
4. Ударник состоит из стержня с концевым штырем (штампом) длиной 250 мм, направляющего стержня длиной 900 мм, гири массой 2,5 кг, ограничительного кольца, винта и рукояти (рис. 35 и 36).
5. Испытание грунта производится следующим образом. На выровненную поверхность грунта вертикально устанавливают ударник. Затем поднимают гирю до ограничительного кольца и свободно ее сбрасывают. Так повторяют столько ударов, сколько потребуется для погружения ударника на глубину 250 мм. При этом подсчитывают общее число ударов.
По тарировочному графику (рис. 37) для данного вида грунта находят точку, соответствующую полученному числу ударов при полном заглублении концевого штыря удлиненного ударника.
Рис. 36. Детали удлиненного ударника
а - стержень с концевым штырем; б - стержень
направляющий;
в - кольцо ограничительное; г - гиря; д - винт
Рис. 37. Тарировочные графики зависимости числа ударов от
степени
плотности грунтов в пределах их оптимальной влажности
а - для песчаных грунтов; б - для суглинистых
черноземно-супесчаных грунтов;
в - для супесчаных грунтов
Из этой точки проводят вертикальную линию до пересечения с кривой, после чего на вертикальной оси находят объемную массу скелета грунта (плотность грунта).
Пример. Число ударов при испытании песчаного грунта методом зондирования составило n = 13. По тарировочному графику (см. рис. 37, а) находят плотность грунта γ = 1,7 кг/см3.
Нормы плотности грунта и количество измерений указаны в пп. 2.12 и 2.13.
При невозможности определения плотности грунта методом зондирования рекомендуется применять метод по ГОСТ 12374-77.
МЕТОД ИЗМЕРЕНИЯ СОПРОТИВЛЕНИЯ ЗАЗЕМЛЯЮЩЕЙ СИСТЕМЫ
Указанный метод применяется для проведения контрольных замеров сопротивления заземлителей растеканию тока с помощью измерительного прибора типа М416.
Прибор М416 предназначен для измерения сопротивления заземляющих устройств, активных сопротивлений, а также может быть использован для определения удельного сопротивления грунта.
При выполнении измерений (рис. 38) необходимо:
Рис. 38. Схема измерения сопротивления заземления растеканию тока
1 - испытуемый очаг заземления; 2 - зонд; 3
- вспомогательный заземлитель;
4 - соединительные провода; 5 - измеритель заземления
забить зонд на расстоянии 20 м от испытуемого заземлителя;
забить вспомогательный заземлитель на расстоянии 30 м от испытуемого заземлителя и не менее 10 м от зонда;
включить измеритель по схеме, приведенной на рис. 41, или по одной из схем, указанной в паспорте на прибор.
Все соединения схемы должны быть выполнены гибким проводом с непрерывной изоляцией сечением 1,5 - 2,5 мм2.
Прибор имеет четыре диапазона измерения. Сопротивление вспомогательного заземления и зонда не должно превышать 500 Ом для первого диапазона измерения (от 0,1 до 10 Ом); 1000 Ом для второго (от 0,5 до 50 Ом); 2500 Ом для третьего (от 2 до 200 Ом) и для четвертого диапазона измерения 5000 Ом (от 10 до 1000 Ом).
Источником питания служат сухие элементы напряжением 4,5 В, предназначенные для питания преобразователя (генератора) и усилителя измерительного устройства.
В зависимости от величины измеряемых сопротивлений и требуемой точности измерений выбирается схема подключения указанного прибора. Схемы указаны в паспорте на прибор.
|
___________________________________________________________________________ (министерство, ведомство) ___________________________________________________________________________ (трест) ___________________________________________________________________________ (управление, участок) АКТ СДАЧИ РЕЛЬСОВОГО ПУТИ В ЭКСПЛУАТАЦИЮ «__» ____________ 19__ г. Адрес объекта ______________________________________________________________ Тип и № башенного крана_____________________________________________________ Длина рельсового пути_______________________________________________________ Земляное полотно Вид основного грунта Вид насыпного грунта _______________________________________________________ Плотность земляного полотна: под наружной рельсовой ниткой ____________________________________________ под внутренней рельсовой ниткой ___________________________________________ Балластная призма Вид балласта _______________________________________________________________ Гранулометрический состав __________________________________________________ Толщина слоя под опорными элементами _______________________________________ Расход балласта на весь путь __________________________________________________ Рельсы, скрепления, опорные элементы и путевое оборудование Тип, длина и количество рельсов в пути ________________________________________ Тип скреплений _____________________________________________________________ Тип и количество стяжек _____________________________________________________ Тип и количество стыковых накладок __________________________________________ Тип и количество опорных элементов __________________________________________ Расстояние между опорными элементами _______________________________________ Тип тупиковых упоров, ограничительных устройств и результаты проверки их работы ___________________________________________________________________________ ___________________________________________________________________________ ___________________________________________________________________________ Мероприятия
по предотвращению примерзания опорных ___________________________________________________________________________ ___________________________________________________________________________ Отклонения в размерах колеи По ширине _________________________________________________________________ В прямолинейности рельсовых нитей __________________________________________ Разность отметок рельсов _____________________________________________________ Заземление пути Конструкция заземления _____________________________________________________ Место расположения и длина заземления _______________________________________ Наименование, тип и номер прибора для измерения сопротивления ___________________________________________________________________________ ___________________________________________________________________________ Дата проверки прибора госповерителем ________________________________________ Состояние погоды в течение последних трех дней и в день производства измерений ___________________________________________________________________________ ___________________________________________________________________________ Данные измерений
Вывод заземление рельсового пути _____________________________________ нормам (не удовлетворяет/удовлетворяет) Заземление рельсовых путей выполнил _________________________________________ (должность, фамилия) Измерение сопротивления растеканию тока выполнил ____________________________ (должность, фамилия) При сдаче рельсового пути в эксплуатацию произведена его обкатка ________________ ___________________________________________________________________________ проходами крана Работы по устройству рельсового пути выполнил ________________________________ (должность, фамилия) Рельсовый путь принял в эксплуатацию ________________________________________ (должность, фамилия) Подписи ответственных лиц __________________________________________________ Примечание. Если устройство верхнего и нижнего строения рельсового пути выполняется различными организациями, должен составляться дополнительный акт сдачи нижнего строения пути по прилагаемой ниже форме АКТ
СДАЧИ ПЛОЩАДКИ ЗЕМЛЯНОГО ПОЛОТНА «__» ____________ 19__ г. Вид основного грунта ________________________________________________________ Вид насыпного грунта _______________________________________________________ Плотность земляного полотна: под наружной рельсовой ниткой _______________________________________________ под внутренней рельсовой ниткой _____________________________________________ Работы по устройству нижнего строения выполнил ______________________________ ___________________________________________________________________________ (организация, должность, фамилия, подпись) Нижнее строение рельсового пути принял (лицо, ответственное за техническое состояние рельсового пути) ___________________________________________________ (должность, фамилия, подпись) |
||||
Назначение
Противоугонное устройство, состоящее из рельсового захвата и клинового упора, предназначено для удержания башенного крана от перемещения под действием ветра в нерабочем состоянии, предотвращения схода с рельсов ходовых тележек при случайной просадке рельсового пути и предотвращения опрокидывания крана при действии случайных внезапно приложенных и ударных динамических нагрузок, являющихся аварийными.
Работоспособность противоугонного устройства обеспечена при температуре воздуха до минус 60° С. Рельсовый захват обеспечивает возможность работы крана на рельсовых путях, где рельсы состыкованы стандартными двухголовыми стыковыми накладками.
Техническая характеристика
|
Тип крана |
- башенный с унифицированными двухколесными ходовыми тележками по ГОСТ 14643-69, воспринимающими вертикальную нагрузку до 60 тс |
|
Типы рельсов кранового пути |
- Р43, Р50, Р65 |
|
Вертикальное воспринимаемое усилие, кгс |
- 2500 |
|
Горизонтальное воспринимаемое усилие, кгс |
- 3000 |
|
Габаритные размеры, мм захват рельсовый: |
|
|
длина |
- 160 |
|
ширина |
- 118 |
|
высота |
- 110 |
|
клиновой упор: |
|
|
длина |
- 330 |
|
ширина |
- 80 |
|
высота |
- 140 |
|
Количество противоугонных устройств на одном кране, шт. |
- 4 |
|
Масса противоугонного устройства, кг |
- 6,2 |
Устройство и принцип работы
Противоугонное устройство (рис. 39 и табл. 23) представляет собой клиновой упор 1 и рельсовый захват 2, которые монтируются на ходовой тележке крана.
Захват состоит из двух шарнирно-сочлененных при помощи оси 4 щек 3. Захват устанавливается в гнезде рамы ходовой тележки без ее переделки.
Рис. 39. Противоугонное устройство
1 - упор клиновой; 2 - захват рельсовый; 3 - щека; 4 - ось
При движении крана щеки рельсового захвата, наезжая на рельсовые накладки в месте стыка, свободно раскрываются и не препятствуют движению; после прохождений накладки щеки снова смыкаются.
При попытке отрыва ходовой тележки от рельса рельсовый захват автоматически зажимает головку рельса за счет специальной геометрии щек и удерживает кран от опрокидывания, а ходовые тележки от разворота.
Клиновые упоры позволяют закрепить кран от угона ветром в нерабочем состоянии в любом месте рельсового пути. Закрепление производится установкой упоров под ходовые колеса тележек крана (по 2 упора с каждой стороны).
При действии на кран ветровой нагрузки ходовые колеса тележек наезжают на клиновые упоры и движение крана прекращается, при этом клиновые упоры работают совместно с рельсовыми захватами.
В рабочем состоянии крана клиновые упоры укладываются на верхних площадках рам ходовых тележек (упоры соединены цепочками с рамой ходовой тележки).
Порядок работы
Обслуживание противоугонных устройств производит машинист башенного крана.
При уходе с крана машинист должен установить клиновые упоры под ходовые колеса крана.
Перед началом работы машинист должен убрать клиновые упоры из-под ходовых колес крана и уложить их на верхних площадках рам ходовых тележек.
По окончании работы кран должен быть установлен таким образом, чтобы рельсовые захваты не находились над стыками рельсов кранового пути.
Спецификация деталей на противоугонное устройство (см. рис. 39)
|
Позиция |
Наименование |
Количество, шт. |
|
1 |
Упор клиновой |
1 |
|
2 |
Захват рельсовый |
1 |
|
3 |
Щека |
2 |
|
4 |
Ось |
1 |
Конструкция полуавтоматического рельсового захвата разработана ЦНИИОМТП (Москва, Дмитровское шоссе, 9).
ПРАВИЛА РАСЧЕТА РЕЛЬСОВЫХ ПУТЕЙ НА ПРОЧНОСТЬ
Общие положения
1. Настоящие «Правила расчета рельсовых путей на прочность», разработанные Промтрансниипроектом при участии ЦНИИОМТП, предназначены для определения наименьшей мощности верхнего строения пути, при которой обеспечивается безопасность движения в работы башенных кранов.
2. Данные Правила применимы для расчета на прочность рельсовых путей с полушпалами или деревометаллическими секциями, уложенными на песчаный или щебеночный балласт.
3. Основной целью расчетов элементов рельсового пути строительных башенных кранов на прочность является:
определение напряжений в элементах пути и выбор соответствующей конструкции верхнего строения при эксплуатации башенных кранов;
определение допустимых нагрузок от колеса на рельс при определенной, заранее заданной конструкции верхнего строения пути;
определение минимально необходимой мощности верхнего строения пути по условиям прочности;
решение задач, связанных с расчетом необходимой мощности отдельных элементов пути при прочих известных параметрах его конструкции (например, определение эпюры укладки полушпал, толщины балластной призмы и др.).
Принятые
обозначения, вспомогательные формулы и расчетные
параметры
X - расстояние от точки приложения соответствующей колесной нагрузки до расчетного сечения (для кранов с двухосной ходовой тележкой X - расстояние между осями колес крана) (см. табл. 1);
b - ширина нижней поверхности полушпалы, (см. табл. 3);
а - длина полушпалы, см;
l - расстояние между осями полушпал (см. табл. 1);
h - толщина балластного слоя под полушпалой см;
ω - площадь подкладки промежуточных рельсовых скреплений для деревянных полушпал, см2 (см. табл. 5 и 6);
W - момент сопротивления рельса относительно его подошвы с учетом износа головки, см3 (табл. 24);
J - момент инерции рельса относительно горизонтальной оси, см4 (см. табл. 24);
Моменты инерции и сопротивления рельсов
|
Тип рельсов |
Приведенный износ головки рельсов, мм |
|||||||
|
0 |
3 |
6 |
9 |
|||||
|
J, см4 |
W, см3 |
J, см4 |
W, см3 |
J, см4 |
W, см3 |
J, см4 |
W, см3 |
|
|
Р65 |
3548 |
436 |
3405 |
429 |
3208 |
417 |
2998 |
404 |
|
Р50 |
2018 |
286 |
1933 |
281 |
1813 |
273 |
1685 |
264 |
|
Р43 |
1489 |
217 |
1403 |
210 |
1313 |
204 |
1217 |
197 |
|
Р38 |
1223 |
180 |
1156 |
176 |
1075 |
171 |
988 |
164 |
Р - нагрузка от колеса на рельс, кГс (см. табл. 1);
Рр- расчетная вертикальная нагрузка от колеса на рельс, кГс;
ΣPpμi - эквивалентная нагрузка, кГс, учитывающая влияние вертикальной нагрузки от соседних колес крана на осевые напряжения в подошве рельса, от ее изгиба в расчетном сечении;
μi - ордината линии влияния эпюры изгибающего момента в рельсе от соответствующей колесной нагрузки. Величина берется в расчетном сечении по табл. 25 в зависимости от величины KX и вводится в расчет с соответствующим знаком;
Pш - вертикальная сила давления рельса на полушпалу, кГс;
ΣPpηi - эквивалентная нагрузка, кГс, учитывающая влияние вертикальной нагрузки от соседних колес крана на силы давления рельса на полушпалу и полушпалы на балласт в расчетном сечении;
ηi - ордината линии влияния эпюры прогибов рельса от соответствующей колесной нагрузки. Величина ηi берется в расчетном сечении по табл. 25 в зависимости от величины KX и вводится в расчет с соответствующими знаками;
Значения коэффициентов
|
KХ |
μ |
η |
KХ |
μ |
η |
|
1 |
2 |
3 |
1 |
2 |
3 |
|
0 |
1 |
1 |
0,52 |
0,2205 |
0,8113 |
|
0,01 |
0,9801 |
0,9999 |
0,53 |
0,2103 |
0,8054 |
|
0,02 |
0,9604 |
0,9996 |
0,54 |
0,2002 |
0,7994 |
|
0,03 |
0,9409 |
0,9991 |
0,55 |
0,1903 |
0,7934 |
|
0,04 |
0,9216 |
0,9984 |
0,56 |
0,1805 |
0,7874 |
|
0,05 |
0,9025 |
0,9976 |
0,57 |
0,1709 |
0,7813 |
|
0,06 |
0,8836 |
0,9966 |
0,58 |
0,1615 |
0,7752 |
|
0,07 |
0,8649 |
0,9954 |
0,59 |
0,1522 |
0,769 |
|
0,08 |
0,8464 |
0,9940 |
0,6 |
0,1431 |
0,7628 |
|
0,09 |
0,8281 |
0,9924 |
0,61 |
0,1341 |
0,7566 |
|
0,1 |
0,81 |
0,9906 |
0,62 |
0,1253 |
0,7504 |
|
0,12 |
0,7744 |
0,9867 |
0,63 |
0,1166 |
0,7441 |
|
0,14 |
0,7395 |
0,9821 |
0,64 |
0,108 |
0,7378 |
|
0,16 |
0,7055 |
0,9770 |
0,65 |
0,0997 |
0,7315 |
|
0,18 |
0,6722 |
0,9713 |
0,66 |
0,0914 |
0,7252 |
|
0,2 |
0,6393 |
0,9651 |
0,67 |
0,0833 |
0,7189 |
|
0,22 |
0,6080 |
0,9583 |
0,68 |
0,0754 |
0,7125 |
|
0,24 |
0,5771 |
0,9511 |
0,69 |
0,0676 |
0,7061 |
|
0,26 |
0,5469 |
0,9433 |
0,7 |
0,0599 |
0,6997 |
|
0,28 |
0,5175 |
0,9353 |
0,71 |
0,0524 |
0,6933 |
|
0,3 |
0,4838 |
0,9267 |
0,72 |
0,0450 |
0,6869 |
|
0,31 |
0,4747 |
0,9222 |
0,73 |
0,0377 |
0,6805 |
|
0,32 |
0,4609 |
0,9177 |
0,74 |
0,0306 |
0,6740 |
|
0,33 |
0,4472 |
0,9131 |
0,75 |
0,0236 |
0,6676 |
|
0,34 |
0,4336 |
0,9084 |
0,76 |
0,0168 |
0,6612 |
|
0,35 |
0,4203 |
0,9036 |
0,77 |
0,0101 |
0,6547 |
|
0,36 |
0,4072 |
0,8987 |
0,78 |
0,0035 |
0,6483 |
|
0,37 |
0,3942 |
0,8938 |
0,79 |
-0,0029 |
0,6418 |
|
0,38 |
0,3814 |
0,8887 |
0,8 |
-0,0093 |
0,6354 |
|
0,39 |
0,3688 |
0,8836 |
0,81 |
-0,0155 |
0,6289 |
|
0,40 |
0,3564 |
0,8784 |
0,82 |
-0,0216 |
0,6225 |
|
0,41 |
0,3441 |
0,8732 |
0,83 |
-0,0275 |
0,6161 |
|
0,42 |
0,3320 |
0,8679 |
0,84 |
-0,333 |
0,6096 |
|
0,43 |
0,3201 |
0,8625 |
0,85 |
-0,039 |
0,6032 |
|
0,44 |
0,3084 |
0,8570 |
0,86 |
-0,0446 |
0,5968 |
|
0,45 |
0,2968 |
0,8515 |
0,87 |
-0,0501 |
0,5904 |
|
0,46 |
0,2854 |
0,8459 |
0,88 |
-0,0554 |
0,5840 |
|
0,47 |
0,2742 |
0,8403 |
0,89 |
-0,0606 |
0,5776 |
|
0,48 |
0,2631 |
0,8346 |
0,9 |
-0,0657 |
0,5712 |
|
0,49 |
0,2522 |
0,8289 |
0,91 |
-0,0708 |
0,5648 |
|
0,5 |
0,2415 |
0,8231 |
0,92 |
-0,0757 |
0,5584 |
|
0,51 |
0,2309 |
0,8172 |
0,93 |
-0,0805 |
0,5521 |
|
0,94 |
-0,0851 |
0,5459 |
1,22 |
-0,1758 |
0,3786 |
|
0,95 |
-0,0896 |
0,5396 |
1,23 |
-0,1778 |
0,3731 |
|
0,96 |
-0,0941 |
0,5333 |
1,24 |
-0,1797 |
0,3677 |
|
0,97 |
-0,0984 |
0,5270 |
1,25 |
-0,1815 |
0,3623 |
|
0,98 |
-0,1027 |
0,5207 |
1,26 |
-0,1833 |
0,3569 |
|
0,99 |
-0,1069 |
0,5145 |
1,27 |
-0,1849 |
0,3515 |
|
1 |
-0,1108 |
0,5083 |
1,28 |
-0,1865 |
0,3462 |
|
1,01 |
-0,1147 |
0,5021 |
1,29 |
-0,1881 |
0,3408 |
|
1,02 |
-0,1185 |
0,4960 |
1,30 |
-0,1897 |
0,3355 |
|
1,03 |
-0,1223 |
0,4899 |
1,31 |
-0,1911 |
0,3303 |
|
1,04 |
-0,1259 |
0,4839 |
1,32 |
-0,1925 |
0,3251 |
|
1,05 |
-0,1294 |
0,4778 |
1,33 |
-0,1938 |
0,3199 |
|
1,06 |
-0,1328 |
0,4716 |
1,34 |
-0,1950 |
0,3148 |
|
1,07 |
-0,1362 |
0,4656 |
1,35 |
-0,1962 |
0,3098 |
|
1,08 |
-0,1394 |
0,4596 |
1,36 |
-0,1973 |
0,3047 |
|
1,09 |
-0,1426 |
0,4536 |
1,37 |
-0,1983 |
0,2997 |
|
1,1 |
-0,1457 |
0,4476 |
1,38 |
-0,1993 |
0,2948 |
|
1,11 |
-0,1488 |
0,4416 |
1,39 |
-0,2003 |
0,2898 |
|
1,12 |
-0,1516 |
0,4356 |
1,40 |
-0,2011 |
0,2849 |
|
1,13 |
-0,1543 |
0,4298 |
1,41 |
-0,2019 |
0,2801 |
|
1,14 |
-0,1570 |
0,4240 |
1,42 |
-0,2027 |
0,2753 |
|
1,15 |
-0,1597 |
0,4183 |
1,43 |
-0,2033 |
0,2705 |
|
1,16 |
-0,1622 |
0,4126 |
1,44 |
-0,2039 |
0,2658 |
|
1,17 |
-0,1647 |
0,4069 |
1,45 |
-0,2045 |
0,2611 |
|
1,18 |
-0,1671 |
0,4012 |
1,46 |
-0,2051 |
0,2565 |
|
1,19 |
-0,1694 |
0,3955 |
1,47 |
-0,2056 |
0,2519 |
|
1,2 |
-0,1716 |
0,3899 |
1,48 |
-0,2060 |
0,2474 |
|
1,21 |
-0,1737 |
0,3842 |
|
|
|
σк.о - осевые и кромочные напряжения в подошве рельса при его изгибе под действием вертикальных сил, кГс/см2;
σсм - напряжения на смятие поверхности деревянной полушпалы под подкладкой, кГс/см2;
σб - напряжения в балластном слое непосредственно под полушпалой, кГс/см2;
σо - напряжения на основной площадке земляного полотна, кГс/см2;
σh - напряжения в балласте на глубине h от нижней поверхности полушпалы, кГс/см2 (при расчете σо - это напряжения на основную площадку земляного полотна от давления на балласт расчетной полушпалы, кГс/см2);
σh1, 2 - напряжения в балласте под расчетной полушпалой, обусловленные давлением на балласт смежных с расчетной полушпал, на глубине h от ее нижней поверхности, кГс/см2 (при расчете σо - это напряжение на основную площадку земляного полотна под расчетной полушпалой от давления на балласт смежных с расчетной полушпал, кГс/см2);
[σк.о] - допускаемые осевые и кромочные напряжения в подошве рельсов от их изгиба под действием вертикальных сил, кгс/см2;
[σсм] - допускаемые напряжения в полушпале на смятие древесины под подкладками, кГс/см2;
[σб] - допускаемые напряжения на сжатие балласта непосредственно под полушпалой, кГс/см2;
[σо] - допускаемые напряжения на грунты основной площадки земляного полотна, кГс/см2;
U - модуль упругости рельсового основания, кгс/см2, характеризующий величину погонной нагрузки, которая при приложении к единице длины рельса обеспечивает его просадку, равную 1 см (табл. 26).
Характеристика упругости рельсового основания
|
Конструкция пути |
Расстояние между осями полушпал, см |
C, кГс/см3 |
U, кГс/см2 |
α |
|
Деревянные полушпалы |
|
|
|
|
|
песчаный балласт |
70 |
1,5 |
60 |
0,83 |
|
то же |
60 |
1,5 |
70 |
0,83 |
|
» |
55 |
1,5 |
80 |
0,83 |
|
» |
50 |
1,5 |
85 |
0,83 |
|
щебеночный балласт |
70 |
2,5 |
105 |
0,84 |
|
то же |
60 |
2,5 |
120 |
0,84 |
|
» |
55 |
2,5 |
130 |
0,84 |
|
» |
50 |
2,5 |
145 |
0,84 |
|
Деревометаллические секции |
|
|
|
|
|
песчаный балласт |
70 |
2,0 |
80 |
0,84 |
|
то же |
60 |
2,0 |
95 |
0,84 |
|
» |
55 |
2,0 |
105 |
0,84 |
|
» |
50 |
2,0 |
115 |
0,84 |
|
щебеночный балласт |
70 |
3,0 |
125 |
0,86 |
|
то же |
60 |
3,0 |
150 |
0,86 |
|
» |
55 |
3,0 |
160 |
0,86 |
|
» |
50 |
3,0 |
175 |
0,86 |
|
Железобетонные полушпалы |
- |
- |
120 |
0,90 |
При этом
,
где С - коэффициент постели полушпал, кГс/см3, характеризующий величину вертикальной силы давления на балласт, которая при приложении к абсолютно жесткому штампу площадью 1 см2 обеспечивает его просадку, равную 1 см (см. табл. 26)
α - коэффициент изгиба полушпал, учитывающий неравномерность опирания полушпалы на балласт и равный отношению средней просадки полушпал к максимальной в подрельсовом сечении (см. табл. 26);
K - коэффициент относительной жесткости рельсового основания и рельса в см-1, который равен:
|
|
где Е - модуль упругости рельсовой стали, в расчетах принимаемый равным 2,1⋅106 кГс/см2;
f - коэффициент перехода от напряжений в кромках подошвы рельса к напряжениям по его оси, учитывающий действие горизонтальных поперечных сил и эксцентриситет приложения вертикальной нагрузки. Для подкрановых рельсовых путей f = 1;
m - коэффициент, характеризующий неравномерность распределения напряжений на балласт по ширине нижней поверхности полушпалы и равный:
|
|
Если коэффициент m окажется меньше единицы, то он принимается равным единице;
у - упругий прогиб рельса под действием вертикальных сил, см.
Основные теоретические положения расчета
1. В основу расчета элементов рельсового пути строительных башенных кранов на прочность положена гипотеза о линейной зависимости между давлением на единицу площади основания полушпалы и величиной его упругой просадки, т.е.
|
Р = Су. |
При этом рельс рассматривается как балка бесконечной длины, лежащая на сплошном упругом основании.
2. В расчетах рельсового пути строительных башенных кранов на прочность принято, что рельсовое основание и рельсы работают в зоне упругих деформаций. Это допущение позволяет при расчете действия на путь системы грузов принять закон о независимости действия сил, т.е. напряжения и деформации в каком-либо сечении от каждой из действующих сил складываются с учетом их величины и знака.
3. В основу расчета сил положен расчетно-экспериментальный метод, предполагающий, что расчет напряженного состояния элементов пути строительных башенных кранов на прочность производится при воздействии максимальных вероятных нагрузок.
Расчетные формулы
Расчет элементов верхнего строения рельсовых путей строительных башенных кранов на прочность производится по следующим формулам:
1. Расчетная вертикальная сила давления колеса на рельс
|
Рр = 0,75Р. |
2. Осевые и кромочные напряжения в рельсах при изгибе под действием вертикальных сил
|
|
Примечание. Осевые и кромочные напряжения в подошве рельсов определяются при наиболее неблагоприятном загружении расчетного сечения, когда ходовое колесо располагается непосредственно над расчетным сечением рельса.
3. Вертикальная сила давления рельса на полушпалу
|
|
4. Напряжения на смятие поверхности деревянной полушпалы под подкладкой
|
|
5. Напряжения в балластном слое непосредственно под полушпалой
|
|
6. Напряжения на основной площадке земляного полотна
|
|
Напряжения на основную площадку земляного полотна от давления на балласт расчетной полушпалы
|
|
Напряжения на основную площадку земляного полотна от давления на балласт смежных с расчетной полушпал
|
|
Таким образом,
|
σо = 1,1σh. |
Допускаемые напряжения
1 Допускаемые кромочные и осевые напряжения в подошве железнодорожных рельсов, эксплуатирующихся на путях строительных башенных кранов, для типов Р43, Р50 и Р65 равны 3000 кгс/см2.
Допускаемые напряжения для рельсов типа Р38 равны 2100 кГс/см2. При этом они одинаковые для новых и старогодных, не имеющих дефектов рельсов.
2. Допускаемые напряжения в полушпалах на смятие древесины поперек волокон под подкладками принимаются равными 30 кГс/см2.
3. Допускаемые напряжения на сжатие балласта непосредственно под полушпалой равны:
для щебня из естественного камня - 7 кгс/см2;
для сортированного и карьерного гравия и шлаков (табл. 2) - 6 кГс/см2;
для крупно- и среднезернистого песка - 5 кГс/см2.
4. Допускаемые напряжения на основную площадку земляного полотна равны:
для крупно- и среднезернистого песка - 3,5 кГс/см2;
для мелкозернистого песка - 3 кГс/см2;
для супеси, суглинка и глины - 1,3 кГсм/см2.
Примеры
расчета верхнего строения рельсового пути
на прочность
При назначении расчетных параметров и производства расчета рельсового пути на прочность рекомендуется следующая примерная методическая последовательность:
1. Формируется конкретная задача расчета.
2. Назначается характеристика верхнего строения рассчитываемого участка пути.
3. Назначаются основные расчетные характеристики строительного башенного крана и на расчетной схеме выбирается расчетное колесо. При этом за расчетное принимается то колесо крана, под которым осевые напряжения в подошве рельсов могут быть максимальными (наихудший вариант).
4. Определяются основные характеристики элементов пути.
5. Определяется расчетная вертикальная сила давления колеса крана на рельс.
6. Определяются напряжения в элементах рельсового пути под воздействием расчетных вертикальных сил.
7. Анализируются напряжения в элементах пути с позиции их соответствия допускаемым напряжениям.
8. Производится заключение по поставленной цели расчета.
Пример I
1. Задача расчета. Определить напряжения, возникающие в элементах верхнего строения пути при воздействии на него крана КБ-306.
2. Исходные данные:
а) характеристика пути приводится в табл. 27.
|
Рельсы |
|
Пол уши алы |
Балласт |
Вид грунта основной площадки |
|||
|
Тип |
приведенный износ, мм |
Ширина и длина подкладок, см |
тип |
материал |
вид |
Толщина слоя под полушпалой (h), см |
|
|
Р65 |
9 |
16×38 |
IA |
Сосна |
Среднезернистый |
25 |
Песок мелкозернистый |
б) основные расчетные характеристики крана КБ-306 принимаются по данным табл. 1 и приводятся в табл. 28;
|
Расстояние между осями колес крана в тележке (X), см |
Нагрузка от колеса на рельс, кГс |
Расстояние между осями полушпал (l), см |
Модуль упругости рельсового основания (U), кГс/см2 |
Коэффициент относительной жесткости рельсового основания и рельса (k), см-1 |
Момент сопротивления рельса (W), см3 |
1 4KW, см-2 |
Площадь опирания на полушпалу, см2 |
Kl 2 |
Расчетные параметры |
||
|
длина, см |
ширина нижней поверхности, см |
опорная площадь с поправкой на изгиб, см2 |
|||||||||
|
1 |
2 |
3 |
4 |
5 |
6 |
7 |
8 |
9 |
10 |
11 |
12 |
|
67 |
23900 |
70 |
60 |
0,007 |
404 |
0,0884 |
608 |
0,245 |
137,5 |
25 |
2853 |
|
Примечания: 1. Данные граф 1 и 2 приняты по табл. 1. 2. Данные графы 4 приняты по табл. 26. 3. Данные графы 5 получены
по формуле 4. Данные графы 6 приняты по табл. 24. 5. Данные графы 8 приняты по табл. 5. |
|||||||||||
в) основные расчетные характеристики элементов верхнего строения пути даны в табл. 28.
3. Порядок расчета. В соответствии с принятой методической последовательностью расчета рельсового пути на прочность определяются вертикальные силы давления колеса на рельс, рельса на полушпалы и напряжения в отдельных элементах пути в последовательности, указанной в табл. 29.
|
Pp, кГс |
KX |
μ |
η |
σк.о., кГс/см2 |
Рш, кГс |
σсм, кГс/см2 |
σб, кГс/см2 |
m |
σo, кГс/см2 |
|
17900 |
0,47 |
0,2742 |
0,8403 |
2020 |
8070 |
13,3 |
2,83 |
1,23 |
1,73 |
4. Анализ напряжений в элементах пути. Сопоставляя полученные расчетные значения напряжений в подошве рельсов с допускаемыми, получаем, что условие прочности рельсов соблюдено. То же самое имеет место и в отношении остальных элементов пути.
5. Заключение. Рассмотренная конструкция верхнего строения при исправном состоянии и нормальном текущем содержании его элементов обеспечивает безопасность эксплуатации башенного крана марки КБ-306 в части, зависящей от прочности рельсового пути.
Пример II
1. Задача расчета. Определить минимальную допустимую толщину балластного слоя под полушпалой при эксплуатации крана КБ-306, исходя из непревышения допускаемых напряжений на основную площадку земляного полотна.
2. Исходные данные. Характеристика верхнего строения пути, основные расчетные характеристики башенного крана КБ-306 и основные расчетные характеристики элементов верхнего строения пути указаны в табл. 27 и 28 в примере расчета 1. Земляное полотно сложено из суглинистых грунтов.
3. Порядок расчета. В соответствии с принятой методической последовательностью расчета пути определяются характеристики и параметры, указанные в табл. 29 в примере расчета I графах 1, 2, 3, 5, 7 и 9.
Затем при известных значениях σб и m определяются напряжения в грунтах подшпального основания на различной глубине от нижней поверхности полушпал (табл. 30).
|
σб, кГс/см2 |
h1, см |
m |
σо, кГс/см2 |
[σо], кГс/см2 |
|
2,83 |
25 |
1,23 |
1,73 |
1,3 |
|
30 |
1,5 |
|||
|
35 |
1,3 |
4 Анализ напряженного состояния подшпального основания.
Из полученных результатов расчетов видно, что с увеличением глубины заложения основной площадки земляного полотна напряжения на нее под расчетной полушпалой уменьшаются.
При рассмотренной конструкции верхнего строения пути и марки эксплуатируемого башенного крана допускаемые напряжения на основную площадку земляного полотна, сложенного из суглинистых грунтов, при балласте из среднезернистого песка превышаются при толщине последнего под полушпалой примерно 35 см.
5. Заключение. Минимальная толщина балласта под полушпалой, при которой выполняется условие прочности по напряженному состоянию основной площадки земляного полотна, составляет при указанной конструкции верхнего строения рельсового пути и марке эксплуатируемого крана 35 см.
Пример III
1. Задача расчета. Требуется определить возможность применения некоторых типов рельсов, не соответствующих установленным нормативам СН 78-79, на путях, где эксплуатируются башенные краны марок КБ-306 и МСК-5-20А.
2. Исходные данные:
а) основные расчетные характеристики кранов и рельсового пути приводятся в табл. 31;
|
Марка крана |
Расстояние между осями колес крана в тележке, см |
Нагрузка от колеса на рельс, кгс |
Рельсы |
Ширина и длина подкладки, см |
Полушпалы |
Балласт |
Вид грунта основной площадки |
|||
|
тип |
приведенный износ, мм |
тип |
материал |
вид |
толщина слоя под полушпалами, см |
|||||
|
КБ-306 |
67 |
23900 |
Р43 |
9 |
15×30 |
IA, IБ |
ель |
Крупнозернистый песок |
25 |
Мелкозернистый песок |
|
МСК-5-20А |
57 |
21000 |
Р38 |
6 |
15×28 |
|
|
25 |
||
б) основные расчетные характеристики элементов верхнего строения путей даны в табл. 32.
|
Марка крана |
Расстояние между осями полушпал, см |
Модуль упругости рельсового основания (U), кгс/см2 |
Коэффициент (K), см-1 |
Момент сопротивления рельса, см |
1 4KW, см2 |
Площадь опирания рельса на полушпалу (ω), см2 |
Kl 2 |
Расчетные параметры пол у шпал |
||
|
длина, см |
ширина, см |
опорная площадь с поправкой на изгиб, см |
||||||||
|
КБ-306 |
55 |
80 |
0,0094 |
197 |
0,156 |
450 |
0,258 |
137,5 |
25 |
2853 |
|
МСК-5-20А |
|
|
0,0100 |
171 |
0,123 |
420 |
0,275 |
|
|
|
3. Порядок расчета. В соответствии с принятой методической последовательностью решения поставленной задачи определяются вертикальные силы давления колеса на рельс и напряженное состояние исследуемого и других элементов пути (табл. 33).
4. Анализ напряженного состояния рельсов и других элементов пути. Анализируя данные табл. 33 видно, что напряжения, возникающие в подошве рельсов типов Р43 и Р38 при эксплуатации по ним башенных кранов соответственно марок КБ-306 и МСК-5-20А, превышают величины допускаемых напряжений, которые равны 3000 и 2100 кгс/см2. Напряжения в остальных элементах не превышают допускаемых в них величин при указанных конструкциях верхнего строения пути.
|
Марка крана |
Pp, кГс |
KX |
μ |
η |
σк.о., кГс/см2 |
Рш, кГс |
σсм, кГс/см2 |
σб, кГс/см2 |
m |
σo, кГс/см2 |
|
КБ-306 |
17900 |
0,63 |
0,1166 |
0,7441 |
3135 |
8100 |
18,0 |
2,84 |
1,24 |
1,74 |
|
МСК-5-20А |
15750 |
0,57 |
0,1709 |
0,7813 |
2342 |
7715 |
18,4 |
2,70 |
1,26 |
1,65 |
5. Заключение. Несмотря на соответствие конструкций рельсового основания установленным нормативам, при указанных типах рельсов недопустима эксплуатация рельсовых путей. В таких случаях необходимо произвести повторный аналогичный расчет элементов верхнего строения пути на прочность, чтобы определить требуемые при эксплуатации баненных кранов КБ-306 и МСК-5-20А типы рельсов при сохранении рассмотренных в данном примере элементах подрельсового основания.
Аналогичным образом рассчитываются и другие конструкции верхнего строения подкрановых путей на прочность, включающие щебеночный и гравийный балласт, железобетонные полушпалы и деревометаллические секции.