Стандарт распространяется на шпунт трубчатый сварной (ШТС), предназначенный для применения в гидротехническом, транспортном и промышленно-гражданском строительстве в конструкциях шпунтовых стен капитальных и временных сооружений, возводимых во всех климатических районах строительства.
| Обозначение: | ГОСТ Р 52664-2010 |
| Название рус.: | Шпунт трубчатый сварной. Технические условия |
| Статус: | действует |
| Заменяет собой: | ГОСТ Р 52664-2006 «Шпунт трубчатый сварной. Технические условия» |
| Дата актуализации текста: | 05.05.2017 |
| Дата добавления в базу: | 01.09.2013 |
| Дата введения в действие: | 01.09.2011 |
| Утвержден: | 23.12.2010 Федеральное агентство по техническому регулированию и метрологии (1058-ст) |
| Опубликован: | Стандартинформ (2011 г. ) |
| Ссылки для скачивания: |
ФЕДЕРАЛЬНОЕ АГЕНТСТВО
ПО ТЕХНИЧЕСКОМУ РЕГУЛИРОВАНИЮ И
МЕТРОЛОГИИ
|
|
НАЦИОНАЛЬНЫЙ
|
ГОСТ
Р |
ШПУНТ ТРУБЧАТЫЙ СВАРНОЙ
Технические условия
|
|
Москва Стандартинформ 2011 |
Предисловие
Цели и принципы стандартизации в Российской Федерации установлены Федеральным законом от 27 декабря 2002 г. № 184-ФЗ «О техническом регулировании», а правила применения национальных стандартов Российской Федерации - ГОСТ Р 1.0-2004 «Стандартизация в Российской Федерации. Основные положения»
Сведения о стандарте
1 РАЗРАБОТАН Открытым акционерным обществом «Научно-исследовательский институт транспортного строительства» (ОАО ЦНИИС), «Федеральным Государственным предприятием Центр методологии нормирования и стандартизации в строительстве» «ФГУП ЦНС», Открытым акционерным обществом «Трест ЗАПСИБГИДРОСТРОЙ»
2 ВНЕСЕН Техническим комитетом по стандартизации ТК 465 «Строительство»
3 УТВЕРЖДЕН И ВВЕДЕН В ДЕЙСТВИЕ Приказом Федерального агентства по техническому регулированию и метрологии от 23 декабря 2010 г. № 1058-ст
4 ВЗАМЕН ГОСТ 52664-2006
5 В настоящем стандарте использованы Патенты Российской Федерации № 2010085 и № 2081238 на изобретения «Шпунтовая стенка» и № 37113 и № 76928 на полезную модель, патентообладатель Гончаров В.В.
Информация об изменениях к настоящему стандарту публикуется в ежегодно издаваемом указателе «Национальные стандарты», а текст изменений и поправок- в ежемесячно издаваемых информационных указателях «Национальные стандарты». В случае пересмотра (замены) или отмены настоящего стандарта соответствующее уведомление будет опубликовано в ежемесячно издаваемом информационном указателе «Национальные стандарты», соответствующая информация, уведомление и тексты размещаются также в информационной системе общего пользования - на официальном сайте Федерального агентства по техническому регулированию и метрологии в сети Интернет
ГОСТ Р 52664-2010
НАЦИОНАЛЬНЫЙ СТАНДАРТ РОССИЙСКОЙ ФЕДЕРАЦИИ
ШПУНТ ТРУБЧАТЫЙ СВАРНОЙ
Технические условия
Welded pipe sheet piles. Specifications
Дата введения - 2011-09-01
Настоящий стандарт распространяется на шпунт трубчатый сварной (ШТС), предназначенный для применения в гидротехническом, транспортном и промышленно-гражданском строительстве в конструкциях шпунтовых стен капитальных и временных сооружений, возводимых во всех климатических районах строительства [1].
В настоящем стандарте использованы нормативные ссылки на следующие стандарты:
ГОСТ Р ИСО 2859-1-2007 Статистические методы. Процедуры выборочного контроля по альтернативному признаку. Часть 1. Планы выборочного контроля последовательных партий на основе приемлемого уровня качества
ГОСТ Р ИСО 10543-99 Трубы стальные напорные бесшовные и сварные горячетянутые. Метод ультразвуковой толщинометрии
ГОСТ Р 52222-2004 Флюсы сварочные плавленые для автоматической сварки. Технические условия
ГОСТ 380-2005 Сталь углеродистая обыкновенного качества. Марки
ГОСТ 427-75 Линейки измерительные металлические. Технические условия
ГОСТ 1050-88 Прокат сортовой, калиброванный, со специальной отделкой поверхности из углеродистой качественной конструкционной стали. Общие технические условия
ГОСТ 1497-84 Металлы. Методы испытаний на растяжение
ГОСТ 2246-70 Проволока стальная сварочная. Технические условия
ГОСТ 3242-79 Соединения сварные. Методы контроля качества
ГОСТ 5264-80 Ручная дуговая сварка. Соединения сварные. Основные типы, конструктивные элементы и размеры
ГОСТ 6507-90 Микрометры. Технические условия
ГОСТ 6996-66 Сварные соединения. Методы определения механических свойств
ГОСТ 7502-98 Рулетки измерительные металлические. Технические условия
ГОСТ 7512-82 Контроль неразрушающий. Соединения сварные. Радиографический метод
ГОСТ 7565-81 Чугун, сталь и сплавы. Метод отбора проб для определения химического состава
ГОСТ 8050-85 Двуокись углерода газообразная и жидкая. Технические условия
ГОСТ 8713-79 Сварка под флюсом. Соединения сварные. Основные типы, конструктивные элементы и размеры
ГОСТ 8732-78 Трубы стальные бесшовные горячедеформированные. Сортамент
ГОСТ 9454-78 Металлы. Метод испытания на ударный изгиб при пониженных, комнатной и повышенных температурах
ГОСТ 9466-75 Электроды покрытые металлические для ручной дуговой сварки сталей и наплавки. Классификация и общие технические условия
ГОСТ 9467-75 Электроды покрытые металлические для ручной дуговой сварки конструкционных и теплоустойчивых сталей. Типы
ГОСТ 10157-79 Аргон газообразный и жидкий. Технические условия
ГОСТ 10704-91 Трубы стальные электросварные прямошовные. Сортамент
ГОСТ 10705-80 Трубы стальные и электросварные. Технические условия
ГОСТ 10706-76 Трубы стальные электросварные прямошовные. Технические требования
ГОСТ 11358-89 Толщиномеры и стенкомеры индикаторные с ценой деления 0,01 и 0,1 мм. Технические условия
ГОСТ 12344-2003 Стали легированные и высоколегированные. Методы определения углерода
ГОСТ 12345-2001 Стали легированные и высоколегированные. Методы определения серы
ГОСТ 12346-78 Стали легированные и высоколегированные. Методы определения кремния
ГОСТ 12347-77 Стали легированные и высоколегированные. Методы определения фосфора
ГОСТ 12348-78 Стали легированные и высоколегированные. Методы определения марганца
ГОСТ 12349-83 Стали легированные и высоколегированные. Методы определения вольфрама
ГОСТ 12350-78 Стали легированные и высоколегированные. Методы определения хрома
ГОСТ 12351-2003 Стали легированные и высоколегированные. Методы определения ванадия
ГОСТ 12352-81 Стали легированные и высоколегированные. Методы определения никеля
ГОСТ 12354-81 Стали легированные и высоколегированные. Методы определения молибдена
ГОСТ 12355-78 Стали легированные и высоколегированные. Методы определения меди
ГОСТ 12356-81 Стали легированные и высоколегированные. Методы определения титана
ГОСТ 12357-84 Стали легированные и высоколегированные. Методы определения алюминия
ГОСТ 12358-2002 Стали легированные и высоколегированные. Методы определения мышьяка
ГОСТ 12359-99 Стали легированные и высоколегированные. Методы определения азота
ГОСТ 12360-82 Стали легированные и высоколегированные. Методы определения бора
ГОСТ 12361-2002 Стали легированные и высоколегированные. Методы определения ниобия
ГОСТ 12362-79 Стали легированные и высоколегированные. Методы определения микропримесей сурьмы, свинца, олова, цинка и кадмия
ГОСТ 14771-76 Дуговая сварка в защитном газе. Соединения сварные. Основные типы, конструктивные элементы и размеры
ГОСТ 14782-86 Контроль неразрушающий. Соединения сварные. Методы ультразвуковые
ГОСТ 15150-69 Машины, приборы и другие технические изделия. Исполнения для различных климатических районов. Категории, условия эксплуатации, хранения и транспортирования в части воздействия климатических факторов внешней среды
ГОСТ 17745-90 Стали и сплавы. Методы определения газов
ГОСТ 18895-97 Сталь. Метод фотоэлектрического спектрального анализа
ГОСТ 19281-89 Прокат из стали повышенной прочности. Общие технические условия
ГОСТ 20295-85 Трубы стальные сварные для магистральных газонефтепроводов. Технические условия
ГОСТ 22536.0-88 Сталь углеродистая и чугун нелегированный. Общие требования к методам анализа
ГОСТ 23118-99 Конструкции стальные строительные. Общие технические условия
ГОСТ 28033-89 Сталь. Метод рентгенофлюоресцентного анализа
ГОСТ 30432-96 Трубы металлические. Методы отбора проб, заготовок и образцов для механических и технологических испытаний
Примечание - При пользовании настоящим стандартом целесообразно проверить действие ссылочных стандартов по соответствующему указателю стандартов, составленному по состоянию на 1 января текущего года, и соответствующим информационным указателям, опубликованным в текущем году. Если ссылочный стандарт заменен (изменен), то при пользовании настоящим стандартом следует руководствоваться заменяющим (измененным) стандартом. Если ссылочный стандарт отменен без замены, то положение, в котором дана ссылка на него, применяется в части, не затрагивающей эту ссылку.
В настоящем стандарте применены следующие термины с соответствующими определениями:
3.1 шпунтовая стена: Несущая конструкция в форме вертикальной или наклонной стены, возводимой (набираемой) из монтажных элементов - шпунтовых свай, нижней частью погружаемых в грунт и соединяемых между собой продольными замками. Шпунтовая стена воспринимает в основном горизонтальные нагрузки и прежде всего давление находящегося за ней грунта.
3.2 шпунтовым профиль: Шпунтовая свая определенной формы поперечного сечения.
3.3 шпунт: Совокупность шпунтовых профилей (шпунтовых свай).
3.4 замок: Фасонный продольный край шпунтовой сваи, который может быть введен в зацепление с замком смежной шпунтовой сваи, образуя их грунтонепроницаемое замковое соединение в шпунтовой стене, обладающее несущей способностью на разрыв и изгиб.
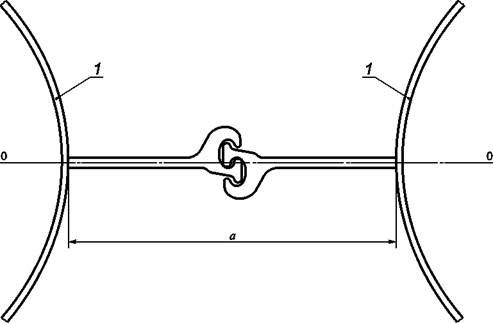
4.1 Профили ШТС изготавливают из стальных электросварных прямошовных труб по ГОСТ 10704, ГОСТ 10705, ГОСТ 10706 или бесшовных горячекатаных труб по ГОСТ 8732, к которым сварными соединениями крепят два замка, располагаемых в диаметральной плоскости в соответствии с рисунком 1.
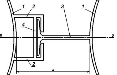
По требованию потребителя изготавливают угловые профили ШТС, в которых замки располагают в двух радиальных плоскостях под требуемым потребителю углом в соответствии с рисунком 2.
|
1 - труба; 2 - замок; 0-0 - ось шпунтовой стены |
0-0-0 - ось шпунтовой стены; у - угол поворота оси стены |
|
Рисунок 1 - Положение замков на шпунтовом профиле |
Рисунок 2 - Положение замков на угловом шпунтовом профиле |
4.2 Для изготовления профилей ШТС следует применять трубы, размеры и характеристики поперечного сечения которых соответствуют указанным в таблице 1.
Таблица 1 - Характеристики труб для изготовления профилей ШТС
|
Масса 1
м |
Справочные значения величин |
|||||
|
Наружный
|
Толщина
стенки |
Площадь поперечного сечения А, см2 |
Для оси 0-0 |
Расчетный
|
||
|
J0, см4 |
W0, см3 |
|||||
|
426 |
10 |
130,7 |
102,6 |
28300 |
1330 |
261 |
|
11 |
143,4 |
112,6 |
30900 |
1450 |
261 |
|
|
12 |
156,1 |
122,5 |
33500 |
1570 |
260 |
|
|
530 |
10 |
163,4 |
128,3 |
55200 |
2080 |
327 |
|
11 |
179,4 |
140,8 |
60400 |
2280 |
326 |
|
|
12 |
195,3 |
153,3 |
65500 |
2470 |
325 |
|
|
630 |
10 |
194,8 |
152,9 |
93600 |
2970 |
390 |
|
11 |
213,9 |
167,9 |
102500 |
3250 |
389 |
|
|
12 |
233,0 |
182,9 |
111300 |
3530 |
388 |
|
|
720 |
10 |
223,1 |
175,1 |
140600 |
3910 |
446 |
|
11 |
245,0 |
192,3 |
154000 |
4280 |
445 |
|
|
12 |
266,9 |
209,5 |
167300 |
4650 |
445 |
|
|
13 |
288,7 |
226,6 |
80500 |
5010 |
444 |
|
Окончание таблицы 1
|
Размеры трубы |
Масса 1
м |
Справочные значения величин |
||||
|
Наружный
|
Толщина
стенки |
Площадь поперечного сечения А, см2 |
Для оси 0-0 |
Расчетный
|
||
|
J0, см4 |
W0, см3 |
|||||
|
820 |
10 |
254,5 |
199,8 |
208700 |
5090 |
509 |
|
11 |
279,6 |
219,5 |
228800 |
5580 |
508 |
|
|
12 |
304,6 |
239,1 |
248600 |
600 |
508 |
|
|
13 |
329,6 |
258,7 |
268400 |
6550 |
507 |
|
|
920 |
10 |
285,9 |
224,4 |
296000 |
6430 |
572 |
|
11 |
314,1 |
246,6 |
324500 |
7050 |
571 |
|
|
12 |
342,3 |
268,7 |
352800 |
7670 |
570 |
|
|
13 |
370,4 |
290,8 |
381000 |
8280 |
570 |
|
|
14 |
398,5 |
312,8 |
409000 |
8890 |
569 |
|
|
1020 |
10 |
317,3 |
249,1 |
404600 |
7930 |
635 |
|
11 |
348,7 |
273,7 |
443800 |
8700 |
634 |
|
|
12 |
380,0 |
298,3 |
482700 |
9460 |
633 |
|
|
13 |
411,3 |
322,8 |
521400 |
10220 |
633 |
|
|
14 |
442,5 |
347,3 |
559800 |
10980 |
632 |
|
|
1120 |
11 |
383,2 |
300,8 |
589200 |
10520 |
697 |
|
12 |
417,7 |
327,9 |
641100 |
11450 |
696 |
|
|
13 |
452,1 |
354,9 |
692600 |
12370 |
696 |
|
|
14 |
486,4 |
381,9 |
743900 |
13280 |
695 |
|
|
1220 |
12 |
455,4 |
357,5 |
830800 |
13620 |
759 |
|
13 |
492,9 |
386,9 |
897800 |
14720 |
758 |
|
|
14 |
530,4 |
416,4 |
964500 |
15810 |
758 |
|
|
16 |
605,2 |
475,1 |
1096800 |
17980 |
756 |
|
|
1420 |
12 |
530,8 |
416,7 |
1314800 |
18520 |
885 |
|
13 |
574,6 |
451,1 |
1421400 |
20020 |
884 |
|
|
14 |
618,4 |
485,4 |
1527400 |
21510 |
883 |
|
|
16 |
705,7 |
554,0 |
1738300 |
24480 |
882 |
|
4.3 Замки профилей ШТС выполняют из:
- стальных фасонных профилей;
- раскроя горячекатаного стального шпунта;
- различных видов стального проката в виде составных конструкций.
Примеры конструкций замков, используемых для изготовления профилей ШТС, приведены на рисунках 3-5. Усилие на разрыв замков профилей ШТС должно быть не менее 1500 кН/п.м. (150 тс/п.м.).
1 - труба, 0-0 - ось шпунтовой стены
Рисунок 3 - Замковое соединение из раскроя шпунта корытного профиля

1 - труба, 0-0 - ось шпунтовой стены; а - расстояние между трубами в свету
Рисунок 4 - Замковое соединение из раскроя плоского шпунта
1 - труба; 2 - уголок; 3 - полупрофиль двутавра; 4 - диафрагма; 0-0 - ось шпунтовой стены;
а - расстояние между трубами в свету
Рисунок 5 - Замковое соединение из уголков и тавра
4.4 Момент сопротивления шпунтовой стены Wст в расчете на 1 м (1000 мм) длины стены, см3/м, определяют с использованием данных таблицы 1 по формуле
|
|
(1) |
где D - диаметр трубы, мм;
а - расстояние между трубами в свету, мм (см. рисунки 3 - 5);
W0 - момент сопротивления трубы, см3.
4.5 Отклонения размеров и формы шпунтовых профилей от номинальных значений не должны превышать предельных отклонений, указанных в таблице 2.
Таблица 2 - Предельные отклонения размеров и формы шпунтовых профилей от номинальных значений
|
Предельное отклонение, мм |
|
|
Наружный диаметр трубы D: |
|
|
- до 1020 мм |
± 2,5 |
|
- св. 1020 мм |
± 4,0 |
|
Ширина профиля по замкам |
± 10 |
|
Длина профиля L |
± 50 |
|
Овальность торца трубы |
0,01 D |
|
Смещение кромок в стыках |
0,2 t, но не более 2 |
|
В том числе на контактирующих в зацеплении поверхностях замков |
1 |
|
Усиление шва и остатки грата в стыках на контактирующих в зацеплении поверхностях замков |
0 |
|
Перекос плоскости торца профиля |
0,005 D |
|
Стрела кривизны профиля |
0,002 L |
|
Смещение замков по отношению к их номинальному положению на торцах профиля |
0,04 D |
|
Перекос замков по длине профиля |
0,002 L |
|
Примечание - t - толщина трубы. |
|
4.6 Профили ШТС изготовляют мерной длиной от 6 до 24 м.
По согласованию между потребителем и изготовителем допускается изготовление шпунтовых свай с замками длиной менее длины трубы.
4.7 Пример условного обозначения шпунта трубчатого сварного из трубы диаметром 720 мм, с толщиной стенки 10 мм и замковым соединением, выполненным из раскроя шпунта Ларсен 4:
ШТС - 720 × 10 - Л4 ГОСТ Р 52664-2010
5.1 ШТС должен изготовляться в соответствии с требованиями настоящего стандарта по технологическому регламенту, утвержденному в установленном порядке.
5.2 Основные элементы ШТС - горячекатаные или сварные прямошовные трубы - должны быть изготовлены из конструкционных низколегированных сталей марок 09Г2С, 17Г1С (17Г1СУ), 09ГСФ по ГОСТ 19281, класса прочности К52 (С-345); 10Г2ФБЮ класса прочности К60 (С-540) по ГОСТ 19281.
5.3 Для листовых, профильных и трубчатых элементов замковых соединений применяют сталь марки 09Г2С по ГОСТ 19281. Допускается применять прокат из малоуглеродистых сталей обыкновенного качества марок Ст3сп5, Ст3Гсп5 по ГОСТ 380 и стали конструкционной качественной марок 20сп, пс, 20Асп по ГОСТ 1050. Класс прочности С245.
5.4 Прокат из стали любых марок и классов прочности, приведенных в 5.2 и 5.3, должен поставляться с гарантией свариваемости.
5.5 Качество поставляемого на предприятие - изготовитель стального проката должно удостоверяться сертификатами или паспортами предприятий-поставщиков. Применение проката без сертификатов (паспортов) не допускается.
В случаях, если в сертификатах отдельные данные отсутствуют, предприятие - изготовитель шпунтовых профилей должно провести необходимые лабораторные испытания в соответствии с требованиями, установленными в нормативных документах. Если результаты испытаний соответствуют требованиям нормативных документов, материал может быть использован для изготовления конструкций. Акты испытаний прилагают к сертификатам.
5.6 Допускается использовать для изготовления ШТС трубы по ГОСТ 10704 или ГОСТ 20295, или ГОСТ 8732, бывшие ранее в употреблении.
Входной контроль труб, бывших ранее в употреблении, проводят в соответствии с 6.3 и 7.1.
5.7 Предельно допустимые значения поверхностных дефектов труб, бывших ранее в употреблении, не должны превышать значений, указанных в таблице 3.
Таблица 3 - Предельно допустимые значения поверхностных дефектов труб, бывших ранее в употреблении
|
Предельно допустимое значение |
||
|
Занимаемая площадь поверхности |
Средняя остаточная толщина стенки f0CT |
|
|
Равномерная коррозия металла |
100 % |
0,95t |
|
Местные дефекты (язвенная коррозия, рябизна, риски, участки зачистки и т. п.) |
0,5 % |
0,93t |
|
Примечание - t - номинальная толщина стенки трубы; tост - средняя остаточная толщина стенки трубы, определяемая в соответствии с 7.1.1. |
||
5.8 Допускается использовать трубы и прокат для замков со сварными стыковыми соединениями звеньев - поперечными стыками. Число поперечных стыков в трубе шпунтовой сваи не должно превышать:
- одного - при длине профиля менее 12 м;
- двух - при длине профиля от 12 до 24 м.
Минимальное расстояние от торца трубы до ближайшего к нему стыка - 1 м. Расстояние между стыками трубы должно быть не менее 3 м.
5.9 Сварные соединения следует выполнять автоматической или полуавтоматической сваркой под флюсом и в среде защитных газов. Допускается ручная электродуговая сварка.
5.10 Применяемые при изготовлении профилей ШТС виды и технология сварки должны обеспечивать временное сопротивление металла сварных соединений не ниже его нормативного значения для основного металла и значения ударной вязкости и относительного удлинения, установленных в зависимости от климатической зоны [2].
Механические свойства сварных соединений должны соответствовать требованиям ГОСТ 23118.
5.11 Сварные швы профилей ШТС в соединениях труб с замками должны быть сплошными по длине.
5.12 Стыковые сварные соединения элементов шпунтовых профилей должны быть со сплошным проплавлением, обеспечивать равнопрочность с основным сечением металла и выполняться в соответствии с требованиями ГОСТ 3242, ГОСТ 5264, ГОСТ 6996, ГОСТ 8713, ГОСТ 14771, ГОСТ 14782.
5.13 Качество сварочных материалов должно удостоверяться сертификатами предприятий-поставщиков и соответствовать требованиям ГОСТ 2246, ГОСТ 8050, ГОСТ 9466, ГОСТ 9467, ГОСТ 10157, ГОСТ Р 52222.
5.14 Сварочные материалы для автоматической, полуавтоматической и ручной сварки при заводском изготовлении шпунтовых профилей следует применять с учетом класса прочности стали, типа сварного соединения, способа сварки и исполнения конструкции (обычного или северного).
5.15 Предельные отклонения размера катетов сварных угловых швов от номинального значения должны соответствовать таблице 4.
Таблица 4 - Предельные отклонения размера катетов сварных угловых швов от номинального значения
|
Номинальный размер катета углового шва в тавровых, угловых и нахлесточных соединениях, мм |
Предельные отклонения катетов, мм, при способе сварки |
||
|
Автоматическая и полуавтоматическая под флюсом |
Автоматическая и полуавтоматическая в защитных газах |
Ручная покрытыми электродами |
|
|
До 5 включ. |
+1 |
+1; -0,5 |
+1; -0,5 |
|
Св. 5 до 8 включ. |
+2 |
+2;-1 |
+2;-1 |
|
Св. 8 до 12 включ. |
+2,5 |
+2,5;-1,5 |
+2,5;-1,5 |
|
Допускается вогнутость углового шва |
До 30 % значения катета, но не более 3 мм |
||
|
Допускается выпуклость углового шва |
До 15 % значения катета, но не более 2 мм |
||
5.16 По требованию потребителя на шпунтовые профили наносят защитное лакокрасочное покрытие, характеристики и технология нанесения которого определяются потребителем по согласованию с изготовителем.
5.17 Комплектность
5.17.1 В комплект поставки ШТС входят:
- рядовые и угловые шпунтовые сваи одного типоразмера;
- документ о качестве.
Необходимое число угловых шпунтовых свай и расположение их замков должны быть указаны потребителем в заказе.
5.17.2 Шпунтовые профили поставляются партиями. Партией считают профили, отгруженные на неделимую единицу транспортных средств (баржу, сцеп платформ, тягач с прицепом и т. д.).
Документом о качестве сопровождается каждая партия шпунтовых профилей.
5.17.3 Документ о качестве должен содержать:
- наименование предприятия-изготовителя и его товарный знак;
- наименование предприятия-потребителя;
- номер заказа или контракта;
- дату выписки документа о качестве;
- обозначение настоящего стандарта;
- условное обозначение шпунта;
- информацию о химическом составе и механических свойствах стали (по данным предприятия-поставщика или по результатам испытаний образцов стали);
- длину и массу одного шпунтового профиля;
- общее число и массу поставленных шпунтовых профилей;
- штамп службы технического контроля.
К документу о качестве прилагают:
- ведомость документов о качестве материалов, примененных для изготовления шпунта;
- опись дипломов (удостоверений) о квалификации газорезчиков и сварщиков, изготовивших шпунт;
- ведомость результатов контроля качества сварных соединений.
5.17.4 Массу поставленного шпунта определяют по номинальным размерам с учетом наплавленного металла сварных швов. По согласованию с потребителем допускается поставка профилей по фактической массе.
5.18 Маркировка
5.18.1 Маркировку наносят ударным клеймом или несмываемой краской на каждую шпунтовую сваю на расстоянии не более 1 м от ее торцов.
5.18.2 Маркировка должна содержать:
- товарный знак предприятия-изготовителя;
- условное обозначение профиля шпунта;
- номер партии и порядковый номер шпунтовой сваи в ней;
- длину шпунта, мм;
- клеймо ОТК предприятия-изготовителя.
6.1 Шпунтовые профили принимают поштучно на основании документированных результатов входного и операционного контроля, проводимого в процессе изготовления профилей.
6.2 При входном контроле поступающие на предприятие-изготовитель от поставщиков металлопрокат, сварочные и лакокрасочные материалы должны быть проверены по количеству, комплектности и соответствию нормативным документам, договорам о поставке.
6.3 Входной контроль труб, бывших ранее в употреблении, следует проводить на партии труб одного диаметра и толщины стенки, сформированной из труб, бывших ранее в употреблении на одном объекте. Число труб в партии должно быть не более 100 шт. Наружная поверхность труб должна быть предварительно очищена от защитного покрытия механическим способом.
6.3.1 Качество поверхности очищенных труб, площадь распространения поверхностных дефектов устанавливают сплошным визуально-измерительным контролем всей партии.
6.3.2 Остаточную толщину металла определяют по результатам выборочного контроля. Размер выборки - 10 % числа труб в партии, но не менее пяти штук.
6.3.3 Вычисления среднего значения остаточной толщины металла проводят статистическими методами в соответствии с ГОСТ Р ИСО 2859-1.
6.3.4 Механические свойства основного металла и сварного соединения определяют по результатам выборочного контроля. Объем выборки - две трубы от партии.
6.4 Операционный контроль на соответствие требованиям технологических инструкций, разработанных на предприятии с учетом специфики используемого оборудования и контрольно-измерительных приборов, проводят на всех этапах подготовки и выполнения работ.
6.5 Приемка ШТС должна осуществляться на стенде, обеспечивающем условия для осмотра и проведения контрольных измерений и проверок. В качестве такого стенда допускается использовать стенд для изготовления шпунта.
6.6 Приемо-сдаточный контроль ШТС включает в себя:
- сплошной визуально-измерительный контроль размеров и формы шпунтового профиля;
- внешний осмотр с контролем размеров и формы сварных швов в объеме 100 %;
- ультразвуковой по ГОСТ 14782 или радиографический по ГОСТ 7512 контроль в объеме 100 % сварных швов.
7.1 Входной контроль труб, бывших ранее в употреблении
7.1.1 Измерения остаточной толщины стенки труб проводят:
- микрометром по ГОСТ 6507;
- толщиномером по ГОСТ 11358;
- ультразвуковым толщиномером по ГОСТ Р ИСО 10543.
7.1.2 Контроль размеров выявленных поверхностных дефектов труб и методы их удаления - по технической документации изготовителя.
7.1.3 Для проверки качества металла партии труб отбирают заготовки, пробы и образцы для механических и технологических испытаний согласно ГОСТ 30432.
От каждой трубы, отобранной для контроля механических свойств основного металла и сварного соединения, отрезают:
- пробу основного металла для изготовления одного образца для испытаний на растяжение и трех образцов - на ударный изгиб для каждой температуры испытаний;
- пробу основного металла для изготовления двух образцов для испытания по определению доли вязкой составляющей в изломе;
- пробу сварного соединения для изготовления по одному образцу для испытаний на растяжение и изгиб, трех образцов - на ударный изгиб для каждой зоны сварного соединения и температуры испытания.
7.1.4 Испытание на растяжение основного металла труб проводят на поперечных относительно оси трубы пропорциональных плоских образцах типа II по ГОСТ 1497. Допускается проведение испытаний на растяжение на пропорциональных цилиндрических образцах типа III по ГОСТ 1497.
7.1.5 Испытания на ударный изгиб основного металла труб проводят на образцах по ГОСТ 9454, вырезанных перпендикулярно коси трубы. Испытания проводят в зависимости от толщины стенки на образцах типов 1 и 11 или 2 и 12 или 3 и 13.
Ударную вязкость определяют как среднеарифметическое значение по результатам трех образцов, на одном образце допускается снижение значения ударной вязкости от установленных норм на 9,8 Дж/см2 (1,0 кгс × м/см2).
7.1.6 Испытание на растяжение сварного соединения труб проводят по ГОСТ 6996 на плоских поперечных образцах типа XII или XIII со снятым усилием наружного и внутреннего швов или грата механическим способом до уровня основного металла.
7.1.7 Испытание на ударный изгиб сварного соединения труб проводят на образцах типов VII и Х для толщин стенки до 12 мм труб и на образцах типов VI и IX - для толщин стенки 12 мм и более по ГОСТ 6996.
7.1.8 Химический состав стали труб указывают на основании данных сертификата о качестве изготовителя труб. При отсутствии этих данных изготовитель шпунта определяет химический состав стали по ГОСТ 22536.0, ГОСТ 12344 - ГОСТ 12352, ГОСТ 12354 - ГОСТ 12362, ГОСТ 17745, ГОСТ 18895, ГОСТ 28033.
Пробы для определения химического состава стали отбирают по ГОСТ 7565 от одного из темплетов основного металла.
7.2 Приемочный контроль
7.2.1 Для контрольных измерений при приемке ШТС следует применять:
- при измерении длины шпунтовых свай и смещения замков в поперечном сечении - измерительную металлическую рулетку по ГОСТ 7502;
- при измерении диаметра труб, размеров поперечного сечения замков, смещения кромок в стыках, положения плоскостей торцов, стрелы кривизны шпунтовых свай - металлические шаблоны, измерительные линейки по ГОСТ 427 и приспособления для проведения измерений.
Допускается для контроля геометрических параметров ШТС, применять другие средства измерения, в том числе изготовленные по документации изготовителя, допустимая погрешность (или точность) которых не ниже погрешности, рекомендуемой НД.
Все средства измерений, используемые для контроля размеров ШТС, должны быть проверены и иметь действующие свидетельства или клейма.
7.2.2 Размеры поперечного сечения труб контролируют у их торцов.
Показатель овальности определяют по результатам двух измерений диаметра на каждом из торцов: диаметра, имеющего наибольшее значение, и диаметра, перпендикулярного к наибольшему. За показатель овальности принимают разность большего и меньшего значений диаметра.
7.2.3 Размеры поперечного сечения замков контролируют по всей длине шпунтовой сваи с помощью шаблонов.
7.2.4 Положение плоскостей торцов трубы контролируют шаблонами - угольником и линейкой.
7.2.5 Смещение замков по отношению к их номинальному положению на торцах профиля контролируют измерением расстояния между замками, проводимым по внешней поверхности трубы в соответствии со схемой рисунка 6. Смещение замка от его проектного положения вычисляют по формуле
|
|
(2) |
d1 и d2 - расстояние между контрольными точками замков, измеряемое по поверхности трубы
Рисунок 6 - Схема контроля смещения замковых элементов в поперечном сечении профиля
7.2.6 Для контроля кривизны шпунт должен быть расположен на ровной горизонтальной площадке, а замки - в горизонтальной плоскости. Кривизну ШТС контролируют в горизонтальной плоскости - измерением стрелы кривизны по кромке замкового соединения, в вертикальной плоскости - по нижней образующей линии поверхности трубы.
7.2.7 Перекос (скручивание) замков подлине шпунтовой сваи контролируют по двум верхним точкам замков на двух торцах в соответствии со схемой, представленной на рисунке 7. Перекос замков вычисляют как разность значений D1 - D3 или D4 - D2.
1 - горизонтальная поверхность площадки контроля;
D1 - D4 - измеряемые соответственно у торца 1 и торца 2 расстояния до площадки контроля;
А1, А2 - точки одного торца;
А1, A3 - точки одного замкового элемента;
A3, А4 - точки другого торца;
А2, А4 - точки другого замкового элемента
Рисунок 7 - Схема контроля перекоса замковых элементов
7.2.8 Марка, химический состав и механические свойства стали труб и стального проката замков должны быть удостоверены документом о качестве продукции предприятий-поставщиков.
7.2.9 Контроль качества сварных соединений следует проводить в соответствии с [3]. Для контроля геометрии угловых сварных швов используют радиусные шаблоны и штангенциркули.
8.1 Шпунтовые профили перевозят транспортом всех видов в соответствии с правилами, действующими на транспорте конкретного вида.
8.2 Шпунтовые профили следует хранить в штабелях не более чем в три ряда по высоте при диаметре труб не более 630 мм включительно и не более чем в два ряда - при диаметре труб свыше 630 мм.
8.3 Транспортирование и хранение шпунтовых профилей в части воздействия климатических факторов внешней среды - по условиям ГОСТ 15150. Допускается хранение шпунтовых профилей на открытой площадке.
8.4 При хранении, погрузке, транспортировании и разгрузке шпунтовых профилей должны применяться прокладки и строповочные устройства, обеспечивающие сохранность формы шпунтовых профилей.
|
[1] |
СНиП 23-01-99 |
Строительная климатология |
|
[2] |
СНиП II-23-81 |
Стальные конструкции. Нормы проектирования |
|
[3] |
СП 53-101-98 |
Изготовление и контроль качества стальных строительных конструкций |
Ключевые слова: шпунт трубчатый сварной, шпунтовый профиль, стальные трубы, стыковые сварные соединения