Меню
Навигация
Novatika
Бесплатное обучение
Первая линия

Лифты. Правила и методы исследований (испытаний) и измерений при сертификации лифтов. Правила отбора образцов

Стандарт устанавливает: - правила и методы исследований (испытаний) и измерений при сертификации лифтов, устройств безопасности лифтов; - правила отбора образцов; - порядок подтверждения соответствия лифтов и устройств безопасности лифтов в форме обязательной сертификации. Сертификация лифтов и устройств безопасности лифтов осуществляется с целью подтверждения соответствия требованиям технического регламента «О безопасности лифтов».

Обозначение: ГОСТ Р 53781-2010
Название рус.: Лифты. Правила и методы исследований (испытаний) и измерений при сертификации лифтов. Правила отбора образцов
Статус: введен впервые
Дата актуализации текста: 05.05.2017
Дата добавления в базу: 01.09.2013
Дата введения в действие: 14.10.2010
Дата окончания срока действия: 01.11.2018
Утвержден: 31.03.2010 Федеральное агентство по техническому регулированию и метрологии (42-ст)
Опубликован: Стандартинформ (2010 г. )
Ссылки для скачивания:

ФЕДЕРАЛЬНОЕ АГЕНТСТВО
ПО ТЕХНИЧЕСКОМУ РЕГУЛИРОВАНИЮ И МЕТРОЛОГИИ

НАЦИОНАЛЬНЫЙ
СТАНДАРТ
РОССИЙСКОЙ
ФЕДЕРАЦИИ

ГОСТР
53781-2010

ЛИФТЫ

Правила и методы исследований (испытаний)
и измерений при сертификации лифтов.

Правила отбора образцов

EN 81-1:1998
Safety rules for the construction and installation of lifts - Part 1 - Elektrik lifs
(NEQ)

EN 81-2:1998
Safety rules for the construction and installation of lifts - Part 2 - Hudraulic lifts
(NEQ)

Москва

Стандартинформ

2010

Предисловие

Цели и принципы стандартизации в Российской Федерации установлены Федеральным законом от 27 декабря 2002 г. № 184-ФЗ «О техническом регулировании», а правила применения национальных стандартов Российской Федерации - ГОСТ Р 1.0-2004 «Стандартизация в Российской Федерации. Основные положения»

Сведения о стандарте

1 ПОДГОТОВЛЕН ООО Инженерный центр «НЕТЭЭЛ», Техническим комитетом по стандартизации ТК 209 «Лифты, эскалаторы, пассажирские конвейеры и подъемные платформы для инвалидов»

2 ВНЕСЕН Техническим комитетом по стандартизации ТК 209 «Лифты, эскалаторы, пассажирские конвейеры и подъемные платформы для инвалидов»

3 УТВЕРЖДЕН И ВВЕДЕН В ДЕЙСТВИЕ Приказом Федерального агентства по техническому регулированию и метрологии от 31 марта 2010 г. № 42-ст

4 Настоящий стандарт соответствует европейским региональным стандартам ЕН 81-1:1998 «Правила безопасности по устройству и установке лифтов. Часть 1. Лифты электрические» (EN 81-1:1998 «Safety rules for the construction and installation of lifts. Part 1. Electric lifts», NEQ)n EH 81-2:1998 «Правила безопасности по устройству и установке лифтов. Часть 2. Лифты гидравлические (EN 81-2:1998 «Safety rules for the construction and installation of lifts. Part 2, Hydraulic lifts», NEQ) в части испытаний узлов безопасности лифтов

5 ВВЕДЕН ВПЕРВЫЕ

Информация об изменениях к настоящему стандарту публикуется в ежегодно издаваемом информационном указателе «Национальные стандарты», а текст изменений и поправок - в ежемесячно издаваемых информационных указателях «Национальные стандарты». В случае пересмотра (замены) или отмены настоящего стандарта соответствующее уведомление будет опубликовано в ежемесячно издаваемом информационном указателе «Национальные стандарты». Соответствующая информация, уведомления и тексты размещаются также в информационной системе общего пользования - на официальном сайте Федерального агентства по техническому регулированию и метрологии в сети Интернет

Введение

Настоящий стандарт разработан в соответствии с Постановлением Правительства Российской Федерации от 2 октября 2009 г. № 782 «Об утверждении технического регламента о безопасности лифтов».

Настоящий стандарт устанавливает правила и методы исследований (испытаний) и измерений при сертификации лифтов, устройств безопасности лифтов, требования к условиям проведения и измерений, испытаний, правила обработки результатов испытаний и измерений, требования техники безопасности при проведении испытаний и измерений.

Настоящий стандарт содержит указания о применении требований, установленных в техническом регламенте «О безопасности лифтов» взамен требований, установленных в ПБ 10-558-03 «Правила устройства и безопасной эксплуатации лифтов», раздел 8, приложения 6 и 11.

СОДЕРЖАНИЕ

1 Область применения

2 Нормативные ссылки

3 Термины и определения

4 Общие положения

5 Методы исследований (испытаний) и измерений

6 Порядок сертификации и правила отбора образцов

7 Условия проведения испытаний и измерений

8 Требования к средствам испытаний и измерений

9 Порядок подготовки к проведению испытаний и измерений лифта

10 Порядок проведения испытаний и измерений лифта

11 Порядок проведения испытаний устройств безопасности лифта

12 Допустимая погрешность испытаний и измерений

13 Требования техники безопасности при проведении испытаний и измерений

Приложение А (обязательное) Метод испытания стеклянных панелей на удар маятником

Приложение Б (обязательное) Методы испытаний лифта

Приложение В (обязательное) Методы испытаний устройств безопасности лифта

Приложение Г (обязательное) Перечень устройств (минимальный), указываемый в приложении к сертификату соответствия

Приложение Д (Исключено, Изм. № 1).

(Измененная редакция, Изм. № 1).

ГОСТ Р 53781-2010

НАЦИОНАЛЬНЫЙ СТАНДАРТ РОССИЙСКОЙ ФЕДЕРАЦИИ

ЛИФТЫ

Правила и методы исследований (испытаний) и измерений при сертификации лифтов.
Правила отбора образцов

Lifts.
Rules and method of examination (test) and measurement by certification of lifts. Rules of sampling

Дата введения - 2010-10-14

1 Область применения

Настоящий стандарт устанавливает:

- правила и методы исследований (испытаний) и измерений при сертификации лифтов, устройств безопасности лифтов;

- правила отбора образцов;

- порядок подтверждения соответствия лифтов и устройств безопасности лифтов в форме обязательной сертификации.

Сертификация лифтов и устройств безопасности лифтов осуществляется с целью подтверждения соответствия требованиям технического регламента «О безопасности лифтов».

2 Нормативные ссылки

В настоящем стандарте использованы нормативные ссылки на следующие стандарты:

ГОСТ Р 51631-2008 (ЕН 81-70:2003) Лифты пассажирские. Технические требования доступности, включая доступность для инвалидов и других маломобильных групп населения

ГОСТ Р 52382-2010 (ЕН 81-72:2003) Лифты пассажирские. Лифты для пожарных

ГОСТ Р 52624-2006 (ЕН 81-71:2005) Лифты пассажирские. Требования вандалозащищенности

ГОСТ Р 53387-2009 (ИСО/ТC 14798:2006) Лифты, эскалаторы и пассажирские конвейеры. Методология анализа и снижения риска

ГОСТ Р 53780-2010 (ЕН 81-1:1998, ЕН 81-2:1998) Лифты. Общие требования безопасности к устройству и установке

ГОСТ 16504-81 Система государственных испытаний продукции. Испытания и контроль качества продукции. Основные термины и определения

ГОСТ 24940-96 Здания и сооружения. Методы измерения освещенности

(Измененная редакция, Изм. № 1).

3 Термины и определения

В настоящем стандарте применены основные понятия, установленные статьей 2 Федерального закона «О техническом регулировании», пунктом 5 технического регламента «О безопасности лифтов», а также термины по ГОСТ 16504, ГОСТ Р 53780.

4 Общие положения

4.1 Сертификация лифтов, устройств безопасности лифтов, выпускаемых в обращение на территории Российской Федерации, осуществляется в соответствии с требованиями, установленными техническим регламентом «О безопасности лифтов».

4.2 Работы по сертификации лифтов и устройств безопасности лифтов осуществляются аккредитованным органом по сертификации на основании договора с заявителем по схемам сертификации, установленным техническим регламентом «О безопасности лифтов».

4.3 При сертификации лифтов и устройств безопасности лифтов оценка соответствия осуществляется на основании подтверждения их соответствия требованиям технического регламента «О безопасности лифтов».

Применение на добровольной основе ГОСТ Р 53780 и (с учетом назначения лифта) ГОСТ Р 51631, ГОСТ Р 52382, ГОСТ Р 52624 является достаточным условием соблюдения требований технического регламента «О безопасности лифтов».

(Новая редакция, Изм. № 1).

5 Методы исследований (испытаний) и измерений

При сертификации лифтов применяют следующие методы исследований (испытаний) и измерений:

- исследование предоставленной технической документации и конструкции лифта;

- испытания лифта, устройств безопасности лифтов;

- определение освещенности по ГОСТ 24940;

- измерение параметров и характеристик лифта с применением визуального и измерительного контроля;

- исследование технических решений, отличающихся от регламентированных или не предусмотренных национальными стандартами, анализа риска этих технических решений с проверкой предоставленных расчетов, чертежей, результатов испытаний.

6 Порядок сертификации и правила отбора образцов

6.1 Порядок сертификации лифтов, устройств безопасности лифтов включает в себя:

- подачу заявителем заявки на проведение сертификации и рассмотрение предоставленных документов органом по сертификации;

- принятие решения по заявке на проведение сертификации, в том числе выбор схемы сертификации;

- привлечение на договорной основе для проведения исследований (испытаний и измерений) аккредитованную испытательную лабораторию (центр);

- оценку соответствия лифтов и устройств безопасности лифтов требованиям технического регламента «О безопасности лифтов»;

- выдачу сертификата либо мотивированного отказа в выдаче сертификата;

- осуществление инспекционного контроля за сертифицированной продукцией (в соответствии с применяемой схемой сертификации);

- корректирующие мероприятия при выявлении несоответствия продукции установленным требованиям;

- информацию о результатах сертификации.

6.2 Оценка соответствия лифтов, устройств безопасности лифтов установленным требованиям в общем случае включает в себя:

- отбор и идентификацию образцов лифтов, устройств безопасности лифтов;

- оценку производства или проверку сертифицированной системы качества (производства), если это предусмотрено схемой сертификации;

- проведение испытаний лифтов или устройств безопасности лифтов для целей сертификации;

- исследование документов, предоставленных заявителем (технической документации, заключений, сертификатов, протоколов испытаний и т.д.) с целью возможности признания соответствия продукции установленным требованиям технического регламента;

- анализ полученных результатов и принятие решения о возможности выдачи сертификата.

6.3 Подача и рассмотрение заявки

Для проведения сертификации лифта, устройства безопасности лифта заявитель направляет заявку в орган по сертификации, в область аккредитации которого входит сертифицируемая продукция. При наличии нескольких органов по сертификации лифтов и устройств безопасности лифтов заявитель вправе направить заявку в любой из них.

Заявка должна содержать:

- наименование и местонахождение заявителя;

- наименование и местонахождение изготовителя;

- информацию, позволяющую идентифицировать объект сертификации;

- информацию о месте проведения испытаний лифта;

- информацию о национальных стандартах и (или) сводах правил или иных документов, примененных для обеспечения соответствия лифта, устройств безопасности лифта требованиям технического регламента и (или) анализе риска, дополненного, в необходимых случаях, расчетами, чертежами, результатами испытаний.

Заявитель в заявке на сертификацию вправе предложить схему сертификации из числа установленных приложением 3 к техническому регламенту «О безопасности лифтов».

С заявкой предоставляются документы, прямо или косвенно, частично или полностью свидетельствующие о соответствии лифта, устройств безопасности лифта установленным требованиям технического регламента «О безопасности лифтов», в том числе:

- техническое описание лифта, устройства безопасности лифта;

- документация по монтажу;

- документация по эксплуатации;

- принципиальная электрическая схема лифта с перечнем элементов;

- гидравлическая схема с перечнем элементов для лифта с гидравлическим приводом;

- протоколы собственных испытаний и измерений;

- копии сертификатов на устройства безопасности, примененные на сертифицируемом лифте, либо копии протоколов испытаний устройств безопасности, изготовляемых предприятием-изготовителем лифта и используемых им для комплектования лифтов собственного производства;

- протокол испытаний стеклянных панелей по методу, изложенному в приложении А, если в конструкции лифта применены стеклянные панели, отличающиеся от приведенных в ГОСТ Р 53780 (5.4.1.8 и 5.4.4.2.3).

Орган по сертификации рассматривает заявку с приложенной к ней технической документацией и не позднее 15 дней после получения всех требуемых документов направляет заявителю решение по заявке. В решении отражается возможность или невозможность проведения сертификации по принятой заявке. В случае несогласия органа по сертификации с указанной в заявке схемой сертификации он должен в решении по заявке изложить мотивированное обоснование невозможности проведения сертификации по предлагаемой схеме сертификации и предложить иную схему сертификации, установленную техническим регламентом «О безопасности лифтов».

В случае принятия отрицательного решения орган по сертификации указывает в нем обоснованные причины невозможности проведения сертификации представленной (заявленной) продукции.

6.4 Решение по заявке на проведение сертификации содержит информацию о:

- типе продукции;

- заявителе;

- порядке отбора образцов продукции.

Условия и сроки проведения работ по сертификации продукции устанавливаются договором.

6.5 Правила отбора образцов

Орган по сертификации или испытательная лаборатория по поручению органа по сертификации осуществляют отбор устройств безопасности лифтов, конструкция, состав и технология изготовления которых должны быть такими же, как у продукции, выпускаемой или предполагаемой к выпуску в обращение на территории Российской Федерации. Отбор образцов проводят в присутствии ответственных лиц изготовителя (заявителя).

При сертификации устройств безопасности помимо образцов для испытаний отбирают контрольные образцы. Назначение контрольных образцов - дополнительная идентификация продукции в процессе или после окончания работ по сертификации в случае возникновения возможных споров.

Допускается в качестве контрольных образцов устройств безопасности использовать образцы, подвергшиеся сертификационным испытаниям, если их идентификационные признаки и показатели, проверяемые при сертификации, остаются неизменными в результате испытаний.

Контрольные образцы устройств безопасности подлежат хранению в течение срока действия сертификата, но не более пяти лет.

Организацию хранения контрольных образцов устройств безопасности осуществляют испытательная лаборатория, проводившая испытания, или орган по сертификации. В отдельных случаях контрольные образцы могут быть переданы на ответственное хранение заявителю.

После испытаний или после окончания срока хранения отобранные образцы устройств безопасности подлежат возврату заявителю либо (при невозможности) списанию и утилизации с составлением соответствующих актов.

6.6 Определение соответствия предоставленных образцов продукции заявке

Определение соответствия проводит испытательная лаборатория (центр), проводящая испытания. Определение соответствия состоит из сравнения основных характеристик образцов лифта, устройств безопасности лифта, указанных в заявке на проведение сертификации и в технической (сопроводительной) документации на продукцию, например:

- наименования изделия, типа (модели), модификации;

- наименования изготовителя изделия и данных по происхождению изделия (стране изготовления);

- показателей назначения и других основных показателей.

Результаты определения соответствия отражают в протоколе испытаний (отчете об испытаниях).

6.7 Проведение испытаний

6.7.1 Испытания проводит аккредитованная испытательная лаборатория (центр). Объем испытаний определяют с учетом предоставленных заявителем протоколов собственных испытаний и измерений.

Программа испытаний и измерений должна содержать перечень контролируемых при сертификации требований, установленных в национальных стандартах.

При применении технических решений, отличающихся от регламентируемых национальными стандартами, должен быть выполнен анализ риска этих технических решений по ГОСТ Р 53387, дополненный, в необходимых случаях, расчетами, чертежами и результатами испытаний, подтверждающими безопасность этого технического решения и его соответствия требованиям технического регламента «О безопасности лифтов». При этом в программу испытаний и измерений допускается вносить соответствующие изменения и дополнения, обеспечивающие возможность оценки их соответствия.

6.7.2 Испытания сертифицируемого лифта проводят или на испытательном стенде, или на месте его эксплуатации, или на месте эксплуатации аналогичного по назначению и конструкции лифта.

Решение о проведении испытаний лифта на объекте его эксплуатации или на объекте эксплуатации аналогичного по назначению и конструкции лифта должно быть согласовано заявителем с владельцем объекта.

Методы испытаний лифта - в соответствии с приложением Б.

Для проведения сертификации устройств безопасности лифта заявитель предоставляет для испытаний на территории Российской Федерации отобранный в соответствии с 6.5 образец устройства безопасности и комплектующие изделия, необходимые для проведения испытаний сертифицируемого устройства безопасности.

Устройства безопасности, изготовляемые предприятием - изготовителем лифта и используемые им для комплектования лифтов собственного производства, а также поставляемые этим предприятием в качестве запасных частей для замены идентичных устройств безопасности на лифтах собственного производства, не подлежат обязательной сертификации. Порядок проведения испытаний устройств безопасности указан в приложении В.

6.7.3 Полученные за пределами территории Российской Федерации документы о подтверждении соответствия, знаки соответствия, протоколы исследований (испытаний) и измерений устройств безопасности лифта признаются в соответствии с международными договорами Российской Федерации.

6.7.4 По результатам испытаний испытательные лаборатории (центры) оформляют протоколы испытаний. Протоколы испытаний испытательная лаборатория предоставляет в орган по сертификации. Копии протоколов испытаний подлежат хранению в испытательной лаборатории в течение пяти лет.

6.7.5 Требования к протоколу испытаний

Протокол испытаний должен объективно отражать результаты испытаний и другую относящуюся к ним информацию. Протокол испытаний должен содержать следующую информацию:

- сведения об испытательной лаборатории, проводившей испытания (наименование, адрес, регистрационный номер, дату выдачи и срок действия аттестата аккредитации);

- сведения о заказчике испытаний и изготовителе продукции (наименование организации, адрес);

- сведения об испытанной продукции (наименование, тип, модификацию, модель, марку, код ОКП или код ТН ВЭД на импортную продукцию, наименование стандарта, технических условий, другого документа, содержащего требования к продукции, устанавливаемые при ее изготовлении), а также ее характеристику (назначение, конструктивное исполнение, основные параметры или показатели, в том числе определяющие безопасность);

- основание для проведения испытаний (решение по заявке, договор и т.п.) и цель испытаний;

- сведения о программе и методах испытаний (допускается не указывать, если испытания проводились в соответствии со стандартом);

- данные и результаты идентификации образцов в соответствии с 6.6;

- сведения об отборе образцов (наименование организации, производившей отбор, дату отбора);

- условия проведения испытаний (место, период, данные о климатических условиях);

- сведения об использованных средствах измерений и испытательном оборудовании;

- проверяемые требования (значения показателей по нормативным и техническим документам с указанием допусков) и сведения об источниках требований (обозначение нормативного или технического документа, номер раздела или пункта, содержащего конкретное требование);

- результаты проверки требований (фактические значения показателей испытанных образцов в соответствии с необходимыми критериями оценки с указанием расчетной или фактической погрешности измерений);

- информацию о дополнительном протоколе испытаний, выполненных на условиях договора с другой аккредитованной испытательной лабораторией (при его наличии);

- дату выпуска протокола испытаний;

- заявления о том, что протокол испытаний распространяется только на образцы, подвергнутые испытаниям, а также о недопустимости частичной или полной перепечатки или размножения протокола испытаний без разрешения испытательной лаборатории.

Протокол испытаний должен быть подписан лицами, ответственными за проведение и проводившими испытания, утвержден руководителем и скреплен печатью испытательной лаборатории.

К протоколу испытаний прилагают акт отбора образцов устройств безопасности.

Форму протокола испытаний устанавливает испытательная лаборатория (центр).

Исправления и дополнения в протоколе испытаний после его утверждения не допускаются. При необходимости их оформляют в виде отдельного документа с наименованием «Дополнение к протоколу испытаний» в соответствии с вышеприведенными требованиями.

В протоколе испытаний не допускается помещать оценки результатов, рекомендации и советы по устранению недостатков или совершенствованию испытанных изделий.

6.8 Оценка состояния производства

6.8.1 Оценка состояния производства при сертификации по схеме 2С (при отсутствии сертифицированной системы качества производства объекта сертификации) должна быть выполнена до выдачи сертификата посредством анализа состояния производства.

6.8.2 Оценку состояния производства осуществляют с целью установления возможности и готовности изготовителя стабильно производить сертифицируемую продукцию в соответствии с требованиями нормативных документов.

6.8.3 Анализ состояния производства осуществляет орган по сертификации с учетом особенностей сертифицируемой продукции. Для проведения работ по анализу состояния производства орган по сертификации назначает экспертов по его проверке.

6.8.4 Проверку состояния производства сертифицируемой продукции осуществляет орган по сертификации.

Орган по сертификации может поручить организацию и проведение проверки состояния производства представителю аккредитованной испытательной лаборатории, имеющему аттестат эксперта по сертификации данной продукции. В этом случае орган по сертификации оформляет письменное поручение. Акт результатов проверки состояния производства испытательная лаборатория предоставляет органу по сертификации в установленный срок.

6.8.5 Проверку и оценку производства осуществляют на основании методики, разрабатываемой органом по сертификации, которая включает в себя изучение следующих вопросов:

- распределение обязанностей руководителей служб предприятия по обеспечению качества выпускаемой продукции;

- наличие функционального подразделения (лица), ответственного за контроль качества продукции на всех ее этапах;

- наличие условий, обеспечивающих стабильный уровень характеристик и показателей, определяемых при сертификационных испытаниях;

- наличие конструкторской и технологической документации на сертифицируемую продукцию и установленный порядок ее ведения;

- наличие процедур, определяющих порядок внесения изменений и периодического пересмотра документов;

- наличие и выполнение в процедурах входного контроля процедуры проверки характеристик сырья, материалов, комплектующих изделий, влияющих на выполнение требований к конечной продукции;

- наличие и выполнение процедур контроля и испытаний сертифицируемой продукции на соответствие требованиям документов, по которым осуществляют ее выпуск и приемку;

- наличие системы контроля за измерительным и испытательным оборудованием;

- обеспечение необходимой точности контрольного, испытательного и измерительного оборудования, а также приемлемость условий окружающей среды;

- наличие процедур, обеспечивающих выявление причин несоответствия сертифицированной продукции и предупреждающих повторение дефектов;

- наличие и выполнение процедур регистрации и хранения результатов контроля качества и испытаний продукции, а также комплектующих изделий, параметры которых влияют на характеристики и показатели, определяемые при сертификационных испытаниях продукции;

- управление технологическим оборудованием (состояние технического обслуживания и ремонта и др.).

По результатам проверки составляют акт о результатах анализа состояния производства сертифицируемой продукции с выводами и замечаниями по существующей системе управления процессами и испытаниями, который подписывается членами комиссии и предоставляется для ознакомления руководству предприятия-изготовителя.

6.8.6 Результаты анализа состояния производства орган по сертификации учитывает при подготовке решения о выдаче (об отказе в выдаче) сертификата.

6.8.7 Акт о результатах анализа состояния производства хранят органы по сертификации в течение пяти лет, а его копию направляют заявителю.

6.8.8 Орган по сертификации, проводящий сертификацию продукции, аналогичной по назначению и технологии сертифицированной им ранее на одном и том же предприятии, может использовать имеющиеся у него акты о результатах анализа состояния производства с учетом сроков их действия, определенных 6.8.1.

6.9 Выдача сертификата соответствия

6.9.1 Орган по сертификации осуществляет общую оценку соответствия продукции установленным требованиям после анализа:

- протоколов испытаний;

- результатов оценки производства (если это установлено схемой сертификации);

- других документов о соответствии продукции.

Результаты этой оценки отражают в решении о выдаче (об отказе в выдаче) сертификата или о проведении недостающих испытаний и необходимых мероприятий.

На основании решения о выдаче сертификата орган по сертификации оформляет сертификат.

6.9.2 В сертификате указывают все документы, служащие основанием для выдачи сертификата в соответствии со схемой сертификации. В приложении к сертификату на лифт для его идентификации перечисляют устройства безопасности и основные компоненты в соответствии с приложением Г с указанием их модели, изготовителя и страны происхождения.

При сертификации единовременно изготовляемой партии лифтов помимо наименования, типа (модели) и документа, по которому производится выпуск продукции, в сертификате указывают размер партии.

6.9.3 Приложение к сертификату на замок двери шахты лифта должно содержать:

- информацию о типе и применении замка;

- вид (постоянный и/или переменный) и значения номинального напряжения и тока.

6.9.4 Приложение к сертификату на ловители должно содержать:

- информацию о типе и применении ловителя;

- диапазон улавливаемых масс;

- максимальную скорость срабатывания;

- тип направляющих;

- допустимую толщину головки направляющей;

- минимальную ширину зоны захвата,

а также, только для ловителя плавного торможения:

- состояние поверхности направляющих (тянутая, фрезерованная и т.п.);

- наличие или отсутствие смазки направляющих.

6.9.5 Приложение к сертификату на ограничитель скорости должно содержать:

- тип и применение ограничителя скорости;

- максимальную и минимальную номинальные скорости лифта, при которых может быть использован данный ограничитель скорости;

- диаметр каната, приводящего в действие ограничитель скорости, и его конструкцию;

- минимальную силу натяжения каната ограничителя скорости, если ограничитель скорости с натяжным блоком;

- усилие натяжения каната ограничителя скорости, которое может быть создано ограничителем скорости при его срабатывании.

6.9.6 Приложение к сертификату на буфер должно содержать:

- тип буфера;

- максимальную скорость удара;

- максимальную массу;

- минимальную массу;

- технические характеристики жидкости для гидравлических буферов;

- необходимые для эксплуатации условия окружающей среды (температуру, влажность, загрязненность и т.д.) для буферов с нелинейными характеристиками.

6.9.7 Приложение к сертификату на гидравлическое устройство безопасности должно содержать:

- рабочий диапазон расхода рабочей жидкости;

- рабочий диапазон давления рабочей жидкости;

- диапазон вязкости применяемой рабочей жидкости;

- рабочий диапазон температуры окружающей среды.

6.9.8 Лифт, устройство безопасности лифта, на которые орган по сертификации оформил сертификат, должны маркироваться знаком обращения на рынке. Изображение знака обращения на рынке в соответствии с Постановлением Правительства Российской Федерации от 19.11.2003 № 696.

Маркировка знаком обращения на рынке осуществляется заявителем самостоятельно любым удобным для него способом.

Знак обращения на рынке располагается:

- в кабине лифта;

- на устройстве безопасности лифта

6.9.8 (Введен дополнительно, Изм. № 1).

6.10 Инспекционный контроль за сертифицированными лифтами, устройствами безопасности лифтов

6.10.1 Инспекционный контроль за сертифицированными лифтами, устройствами безопасности лифтов проводят при их сертификации по схеме 2С.

6.10.2 Инспекционный контроль за сертифицированными лифтами, устройствами безопасности лифтов осуществляют органы, проводившие ее сертификацию, с привлечением, при необходимости, представителей испытательной лаборатории, проводившей испытания.

6.10.3 Инспекционный контроль проводят в форме периодических и внеплановых проверок, обеспечивающих получение информации о сертифицированной продукции, производстве, с целью подтверждения того, что лифты, устройства безопасности лифтов в течение времени действия сертификата продолжают соответствовать установленным требованиям.

6.10.4 Критериями для определения периодичности и объема инспекционного контроля являются степень потенциальной опасности продукции, результаты проведенной сертификации продукции, стабильность производства, объем выпуска. Объем, содержание и порядок проведения инспекционного контроля устанавливают в решении о выдаче сертификата.

6.10.5 Внеплановый инспекционный контроль проводят в случаях поступления информации о несоответствии лифтов, устройств безопасности лифтов требованиям технического регламента, а также информации от органов, осуществляющих государственный контроль за соответствием лифтов, устройств безопасности лифтов требованиям технического регламента.

6.10.6 Для проведения инспекционного контроля на соответствие лифтов, устройств безопасности лифтов установленным требованиям составляют программу, которую утверждает руководитель органа по сертификации. Конкретные детали программы проверки могут быть сообщены проверяемой организации до момента начала проверки, если их преждевременное раскрытие не помешает сбору объективных свидетельств.

6.10.7 Инспекционный контроль, как правило, включает в себя:

- анализ материалов сертификации лифтов, устройств безопасности лифтов;

- назначение лиц для проведения инспекционного контроля;

- анализ поступающей информации о сертифицированных лифтах, устройствах безопасности лифтов;

- проверку соответствия нормативных документов на сертифицированные лифты, устройства безопасности лифтов обязательным требованиям нормативных документов, действующих на момент проведения инспекционного контроля;

- отбор и идентификацию образцов, проведение испытаний образцов и анализ полученных результатов (в случаях, предусмотренных схемой, примененной при сертификации);

- оформление результатов и принятие решения по результатам контроля.

6.10.8 Содержание, объем и порядок проведения испытаний при проведении инспекционного контроля (инспекционных испытаний) определяет орган по сертификации, проводящий контроль, всоот-ветствиисб.10.2.

6.10.9 Допускается в качестве результатов испытаний, подтверждающих соответствие лифтов, устройств безопасности лифтов установленным требованиям, использовать протоколы периодических испытаний изготовителя.

6.10.10 Инспекционные испытания лифтов, устройств безопасности лифтов проводят аккредитованные испытательные лаборатории (центры).

6.10.11 Результаты инспекционного контроля оформляются актом. В акте делается заключение о соответствии лифтов, устройств безопасности лифтов требованиям нормативных документов и возможности сохранения действия выданного сертификата или приостановке (отмене) действия сертификата в случае несоответствия лифтов, устройств безопасности лифтов требованиям, контролируемым при сертификации.

Отказ от проведения или непредоставление возможности проведения инспекционного контроля за сертифицированными лифтами, устройствами безопасности лифтов в установленные органом по сертификации сроки является основанием для принятия решения о приостановке (отмене) действия сертификата.

6.10.12 Акт хранят органы по сертификации, а копии направляют держателю сертификата и в организации, принимавшие участие в инспекционном контроле.

6.11 Основаниями для рассмотрения вопроса о невозможности сохранения действия сертификата могут являться:

- влияющие на безопасность без согласования с органом по сертификации изменения конструкции, комплектности лифтов, устройств безопасности лифтов;

- влияющие на безопасность без согласования с органом по сертификации изменения (невыполнение) требований технологии, методов контроля и испытаний, системы обеспечения качества;

- отрицательные результаты инспекционного контроля;

- сообщения органов государственного контроля о несоответствии продукции требованиям технического регламента «О безопасности лифтов»;

- отказы от проведения инспекционного контроля;

- непредоставления возможности инспекционного контроля в установленные при выдаче сертификата сроки.

6.12 В случае признания несоответствия выпускаемой продукции установленным требованиям орган по сертификации выносит решение или о приостановке действия сертификата, в котором указаны выявленные недостатки и сроки их устранения, или об отмене сертификата.

Информация о приостановке или отмене сертификата направляется в федеральный орган исполнительной власти, организующий формирование и ведение единого реестра сертификатов соответствия.

6.13 Решение о приостановке действия сертификата принимают в случае, если путем корректирующих мероприятий держатель сертификата (изготовитель, продавец, лицо, выполняющее функции иностранного производителя) может устранить обнаруженные причины несоответствия и подтвердить без повторных испытаний в аккредитованной испытательной лаборатории (центре) соответствие лифтов, устройств безопасности лифтов техническому регламенту.

Действие сертификата приостанавливается на период выполнения корректирующих мероприятий.

6.13.1 При проведении корректирующих мероприятий изготовитель (продавец, лицо, выполняющее функции иностранного производителя):

- определяет масштаб выявленных нарушений: число лифтов, устройств безопасности лифтов, произведенных с нарушением установленных требований, номер и размер партии, наименование, тип и модель;

- оповещает приобретателей о наличии угрозы причинения вреда и способах его предотвращения.

6.13.2 После того, как корректирующие мероприятия выполнены и их результаты признаны удовлетворительными, орган по сертификации:

- возобновляет действие сертификата;

- информирует о своем решении федеральный орган исполнительной власти, организующий формирование и ведение единого реестра сертификатов соответствия.

6.13.3 При невыполнении изготовителем (продавцом, лицом, выполняющим функции иностранного производителя) корректирующих мероприятий или их неэффективности орган по сертификации отменяет действие сертификата.

6.14 Отмену действия и изъятие сертификата оформляют решением об отмене сертификата.

Решения об отмене действия и изъятии сертификата утверждаются руководителем органа по сертификации и вручаются под расписку или высылаются по почте владельцу сертификата в недельный срок.

Сертификат исключают из государственного реестра, и держатель сертификата обязан возвратить его в орган по сертификации, выдавший сертификат.

Повторное предоставление на сертификацию продукции, на которую отменен ранее выданный сертификат, осуществляют в общем порядке.

7 Условия проведения испытаний и измерений

7.1 Заявитель обеспечивает выполнение мероприятий по подготовке лифта к испытаниям, в том числе по проверке исправности и функционирования лифта, транспортирования груза для испытаний, а также по устранению неисправностей, возникающих в процессе испытаний и измерений.

7.2 Показатели среды в помещениях (шахте, машинном, блочном помещениях), в том числе температура воздуха, влажность, атмосферное давление, должны соответствовать климатическим условиям, в которых предполагается эксплуатация лифта.

7.3 Испытания и измерения прекращают или приостанавливают в следующих случаях:

- возникновения аварийной ситуации, угрожающей безопасности лиц, участвующих в испытаниях и измерениях;

- обнаружения неисправности или отказа функционирования лифта;

- несоблюдения условий проведения испытаний и измерений, указанных в настоящем разделе. Продолжение испытаний и измерений допускается только после устранения причин, вызвавших их

прекращение или приостановку.

8 Требования к средствам испытаний и измерений

Средства испытаний и измерений, подлежащие аттестации, должны быть аттестованы и иметь действующие документы (аттестаты, свидетельства, протоколы), подтверждающие их аттестацию и поверку.

9 Порядок подготовки к проведению испытаний и измерений лифта

9.1 Заявитель обеспечивает подготовку лифта к проведению испытаний и измерений, которая включает в себя проверку исправности лифта, его функционирования во всех режимах работы, предусмотренных технической документацией, и документально оформляет результаты готовности лифта к проведению испытаний и измерений.

Непосредственно перед проведением испытаний и измерений лифт должен быть проверен в режиме «нормальная работа».

9.2 Груз, необходимый для испытаний лифта, должен находиться на нижней посадочной (погрузочной) площадке или вблизи ее.

10 Порядок проведения испытаний и измерений лифта

10.1 Специалисты испытательной лаборатории (центра) непосредственно перед проведением испытаний и измерений должны быть ознакомлены с результатами готовности лифта к проведению испытаний и измерений, а также убедиться в обеспечении условий их проведения.

10.2 Испытания и измерения проводят в следующей последовательности:

- проверка предоставленной технической документации;

- осмотр и проверка лифта;

- испытания лифта;

- оформление результатов испытаний и измерений.

10.3 При испытаниях и измерениях проверяют соблюдение требований к лифту, его параметрам и характеристикам с учетом назначения лифта.

10.4 Требования и методы оценки соответствия лифтов приведены в приложении Д. Испытания и измерения параметров и характеристик лифтов проводят с учетом их конструкции (электрический, гидравлический) и назначения.

10.5 Методы проведения испытаний лифта приведены в приложении В.

10.6 Несоответствия параметров и характеристик лифта, выявленные в процессе испытаний и измерений, документируют актом и передают заявителю. После устранения выявленных несоответствий заявитель вправе обратиться в орган по сертификации или испытательную лабораторию (центр) для проведения повторных испытаний и измерений. В этом случае проводят испытания и измерения тех параметров и характеристик, несоответствие которых было выявлено. Результаты повторных испытаний и измерений документируют дополнительным протоколом.

11 Порядок проведения испытаний устройств безопасности лифта

11.1 Порядок проведения испытаний устройств безопасности лифта устанавливает испытательная лаборатория (центр), проводящая испытания.

11.2 Методы проведения испытаний устройств безопасности лифта приведены в приложении Г.

12 Допустимая погрешность испытаний и измерений

Погрешность измерений линейных величин с применением измерительного инструмента не должна быть более 5 %.

13 Требования техники безопасности при проведении испытаний и измерений

13.1 При проведении испытаний и измерений следует соблюдать требования техники безопасности, установленные правилами, нормами, инструкциями по технике безопасности.

13.2 Персонал, принимающий участие в проведении испытаний и измерений, должен быть проинструктирован по правилам техники безопасности.

13.3 При выявлении нарушений, влияющих на безопасность проведения испытаний и измерений, работы на лифте должны быть прекращены. Продолжение испытаний и измерений допускается только после устранения выявленных нарушений.

Приложение А
(обязательное)

Метод испытания стеклянных панелей на удар маятником

А.1 Сущность метода

Метод заключается в нанесении по вертикально расположенной стеклянной панели, закрепленной так же, как при установке на лифт, удара жестким или нежестким маятником.

А.2 Испытательное оборудование

А.2.1 Маятник для жесткого удара

Маятник для жесткого удара представляет собой устройство (см. рисунок А.1), состоящее из стального ударного кольца и стального корпуса. Корпус заполняют свинцовыми шариками диаметром (3,5 ± 0,25) мм, посредством которых суммарную массу маятника доводят до (10 ± 0,01) кг.

1 - ударное кольцо; 2 - базисная точка для измерения высоты падения; 3 - крепление пускающего приспособления

Рисунок А.1 - Маятник для жесткого удара

А.2.2 Маятник для нежесткого удара

Маятник для нежесткого удара представляет собой мешок (см. рисунок А.2), сделанный из кожи и заполненный свинцовыми шариками диаметром (3,5 ± 1) мм, посредством которых суммарную массу маятника доводят до (45 ± 0,5) кг.

1 - стержень с нарезанной резьбой; 2 - базисная точка для измерения высоты падения в плоскости максимального диаметра;
3 - кожаный мешок; 4 - стальной диск; 5 - крепление пускающего приспособления

Рисунок А.2 - Маятник для нежесткого удара

А.2.3 Подвеска маятника

Маятник должен быть подвешен на стальном канате диаметром 3 мм таким образом, чтобы горизонтальное расстояние между наружным краем свободно подвешенного маятника и испытуемой панелью не превышало 15 мм.

Длина подвески (расстояние от нижней части крюка до точки, наносящей удар по испытуемой панели) должна быть не менее 1,5 м.

А.2.4 Тянущее и отпускающее приспособление

Для удара маятник отклоняют от вертикали посредством тянущего и отпускающего приспособления и таким образом поднимают на высоту, необходимую согласно А.4.2 и А.4.3. В момент отпускания отпускающее приспособление не должно сообщать маятнику никакого дополнительного импульса.

А.3 Требование к стеклянной панели

Для проведения испытаний поставляют полностью готовые стеклянные дверные панели в сборе, включая направляющие элементы. Стеклянные стенные панели должны иметь требуемые размеры и крепления. Панели следует крепить к раме или иной подходящей конструкции таким образом, чтобы во время испытаний в местах крепления была исключена возможность каких-либо деформаций (жесткое крепление).

А.4 Метод испытаний

А.4.1 Испытания следует проводить при температуре (23 ± 2) °С. Непосредственно перед испытаниями панели должны быть выдержаны при этой температуре не менее 4 ч.

А.4.2 Испытание на удар жестким маятником следует проводить с помощью устройства, описанного в А.2.1, при высоте падения 500 мм (см. рисунок А.3).

А.4.3 Испытание на удар нежестким маятником следует проводить с помощью устройства, описанного в А.2.2, при высоте падения 700 мм (см. рисунок А.3).

А.4.4 Маятник должен быть поднят на необходимую высоту и отпущен. Он должен ударить панель посредине ее ширины и на высоте (1,0 ± 0,05) мот уровня пола, назначенного для данной панели.

Высота падения представляет собой расстояние по вертикали между базисными точками (см. рисунок А.1).

А.4.5 Испытания на жесткий и нежесткий удары проводят по одному разу на одной и той же панели.

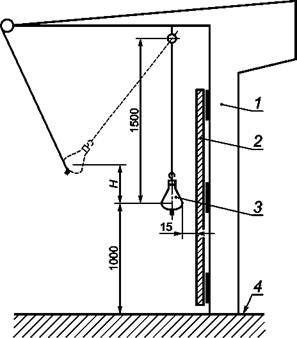
1 - рама; 2 - испытуемая стеклянная панель; 3 - маятник;
4 - уровень пола, относящийся к испытуемой стеклянной панели; Н - высота падения

Рисунок А.3 - Высота падения

А.5 Оценка результатов

Испытания стеклянной панели считают положительными, если:

- нет полного разрушения панели;

- в панели нет трещин;

- в панели нет отверстий;

- панель не вышла из своих направляющих;

- направляющие панели не имеют остаточной деформации;

- стеклянная поверхность не имеет трещин и повреждений, за исключением отметки диаметром не более 2 мм.

А.6 Протокол испытаний

Протокол испытаний должен содержать:

- наименование и адрес лаборатории, выполнившей испытания;

- дату испытаний;

- информацию о размерах и конструкции панели;

- информацию о креплении панели;

- высоту падения, использованную в этих испытаниях;

- число проведенных испытаний;

- подпись лица, ответственного за эти испытания.

Приложение Б
(обязательное)

Методы испытаний лифта

Б.1 Метод испытаний дверей шахты и кабины лифта на сопротивление статической нагрузке

Б.1.1 Сущность метода

Метод заключается в нагружении закрытой и запертой двери статической, равномерно распределенной по круглой или квадратной площадке площадью 5 см2 нагрузкой, действующей на створку двери в направлении, перпендикулярном к ее поверхности, и возрастающей до контрольного значения.

Б.1.2 Процедура испытаний

Двери закрывают и запирают.

Проводят нагружение створки двери, при этом площадка площадью 5 см2 должна быть расположена на пересечении диагоналей створки. В случае многостворчатых дверей испытание проводят отдельно для каждой створки.

Нагрузку увеличивают равномерно и плавно. Контрольную нагрузку 300 Н удерживают в течение времени, необходимого для измерения прогиба створки под нагрузкой.

Через 5 мин после снятия нагрузки проводят визуальную проверку состояния испытуемой створки. Проверяют наличие остаточной деформации створки, функционирование двери и замка двери (при его наличии).

Б.1.3 Оценка результатов

Лифт считают выдержавшим испытания, если:

- при испытании контрольной нагрузкой упругая деформация створки - не более 15 мм;

- после снятия контрольной нагрузки отсутствует остаточная деформация;

- после снятия контрольной нагрузки не нарушено функционирование двери.

Б.2 Метод испытаний стенок кабины лифта на сопротивление статической нагрузке

Б.2.1 Сущность метода

Метод заключается в нагружении стенки кабины статической, равномерно распределенной по круглой или квадратной площадке площадью 5 см2 нагрузкой, действующей на стенку в направлении, перпендикулярном к ее поверхности, и возрастающей до контрольного значения.

Б.2.2 Процедура испытаний

Проводят нагружение поочередно каждой стенки кабины, при этом площадка площадью 5 см2 должна быть расположена на пересечении диагоналей стенки. В случае, если стенка состоит из нескольких панелей, испытание проводят отдельно для каждой панели, при этом площадка площадью 5 см2 должна быть расположена на пересечении диагоналей панели.

Нагрузку увеличивают равномерно и плавно. Контрольную нагрузку 300 Н удерживают в течение времени, необходимого для измерения прогиба стенки (панели) под нагрузкой.

Через 5 мин после снятия нагрузки проводят визуальную проверку состояния испытуемой стенки (панели). Проверяют наличие остаточной деформации стенки.

Б.2.3 Оценка результатов

Лифт считают выдержавшим испытания, если:

- при испытании контрольной нагрузкой упругая деформация стенки (панели) кабины - не более 15 мм;

- после снятия контрольной нагрузки отсутствует остаточная деформация стенки (панели) кабины.

Б.3 Метод испытания вертикального щита под порогом кабины на сопротивление статической нагрузке

Б.3.1 Сущность метода

Метод заключается в нагружении вертикального щита под порогом кабины статической, равномерно распределенной по круглой или квадратной площадке площадью 5 см2 нагрузкой, действующей на стенку в направлении, перпендикулярном к ее поверхности, и возрастающей до контрольного значения.

Б.3.2 Процедура испытаний

Кабину устанавливают так, чтобы вертикальная часть щита находилась выше уровня этажной площадки.

Проводят нагружение вертикального щита, при этом площадка площадью 5 см2 должна быть расположена на расстоянии (225 ± 25) мм от нижнего края щита по его вертикальной оси.

Нагрузку увеличивают равномерно и плавно. Контрольную нагрузку 300 Н удерживают в течение времени, необходимого для измерения прогиба щита под нагрузкой.

Через 5 мин после снятия нагрузки проводят визуальную проверку состояния испытуемого щита. Проверяют наличие деформации щита.

Б.3.3 Оценка результатов

Лифт считают выдержавшим испытания, если при испытании контрольной нагрузкой упругая деформация щита - не более 75 мм.

Б.4 Метод определения усилия, необходимого для предотвращения закрытия автоматической двери шахты

Б.4.1 Сущность метода

Метод заключается в определении усилия, с которым закрывающаяся створка воздействует на находящийся в дверном проеме предмет.

Б.4.2 Процедура испытаний

Отключается устройство реверсирования двери. В проем открытой двери устанавливают измерительное устройство, с помощью которого можно зафиксировать максимальное усилие, с которым створка воздействует на это устройство в момент ее остановки. Измерение проводят на середине высоты створки, при этом устройство устанавливают так, чтобы измерение усилия не осуществлялось на первой трети перемещения створки в сторону закрытия.

Подают команду на закрытие двери. После остановки двери фиксируют максимальное усилие.

Результат испытаний определяют как среднеарифметическое трех измерений.

Б.4.3 Оценка результатов

Лифт считают выдержавшим испытание, если усилие, необходимое для предотвращения закрывания автоматической двери шахты, определенное как среднеарифметическое трех измерений, не превысило 150 Н.

Б.5 Метод определения кинетической энергии закрывающейся двери шахты

Б.5.1 Сущность метода

Метод заключается в определении усилия, с которым закрывающаяся створка воздействует на находящийся в дверном проеме предмет, и тормозного пути створки.

Кинетическую энергию E, Дж, вычисляют по формуле

где Ртах- максимальное усилие, необходимое для предотвращения закрытия двери, Н;

l - путь торможения створки двери, м.

Б.5.2 Процедура испытаний

Процедура испытаний - в соответствии с 4.2. Кроме измерения максимального усилия, измеряют путь торможения створки.

Б.5.3 Оценка результатов

Лифт считают выдержавшим испытание, если кинетическая энергия движущейся двери, определенная как среднеарифметическое трех измерений, не превысила:

- 4 Дж при отключенном реверсе;

- 10 Дж при работающем реверсе.

Б.6 Метод определения зазоров между сомкнутыми створками, а также между створкой и обвязкой проема при приложении статической нагрузки

Б.6.1 Сущность метода

Метод заключается в нагружении закрытой и запертой дверей статической нагрузкой, действующей на створку двери в направлении открывания ведущей панели и возрастающей до контрольного значения.

Б.6.2 Процедура испытаний

Двери закрывают и запирают. Проводят нагружение двери в направлении открывания ведущей панели, при этом нагрузку прилагают в точке, расположенной в интервале 100 - 200 мм выше порога двери.

Нагрузку увеличивают равномерно и плавно. Контрольную нагрузку 150 Н удерживают в течение времени, необходимого для измерения зазора под нагрузкой.

Б.6.3 Оценка результатов

Лифт считают выдержавшим испытания, если:

- при испытании контрольной нагрузкой двери бокового открывания зазор между створкой и притвором не превышает 30 мм;

- при испытании контрольной нагрузкой двери центрального открывания зазор между створками не превышает 45 мм;

- после снятия контрольной нагрузки не нарушено функционирование двери.

Б.7 Метод испытаний крыши кабины лифта на сопротивление статической нагрузке

Б.7.1 Сущность метода

Метод заключается в нагружении крыши кабины в зоне, на которую возможен выход персонала, статической, равномерно распределенной по площадке с размерами 200 ´ 400 мм нагрузкой, действующей на крышу в направлении, перпендикулярном к ее поверхности, и возрастающей до контрольной величины.

Б.7.2 Процедура испытаний

Проводят нагружение каждой из зон крыши кабины, на которые возможен выход персонала. Центр площадки размером 200 ´ 400 мм должен располагаться на пересечении диагоналей испытуемой зоны. Нагрузку увеличивают равномерно и плавно. Контрольную нагрузку 2000 Н удерживают в течение 5 мин.

Через 5 мин после снятия нагрузки проводят визуальную проверку состояния испытуемой зоны на крыше кабины. Проверяют наличие остаточной деформации стенки.

Б.7.3 Оценка результатов

Лифт считают выдержавшим испытания, если после снятия контрольной нагрузки отсутствует остаточная деформация крыши кабины.

Б.8 Метод испытаний ограждения на крыше кабины лифта на сопротивление статической нагрузке

Б.8.1 Сущность метода

Метод заключается в нагружении ограждения на крыше кабины лифта нагрузкой, действующей в горизонтальном направлении перпендикулярно коси поручня и возрастающей до контрольного значения.

Б.8.2 Процедура испытаний

Проводят нагружение поручня посередине между его опорами (местами крепления). Если поручень имеет несколько опор, то для испытания выбирают участок, на котором расстояние между опорами максимально.

Нагрузку увеличивают равномерно и плавно. Контрольную нагрузку 300 Н удерживают в течение 5 мин.

Через 5 мин после снятия нагрузки проводят визуальную проверку состояния испытуемого ограждения. Проверяют наличие поломок и повреждений.

Б.8.3 Оценка результатов

Лифт считают выдержавшим испытания, если после снятия контрольной нагрузки отсутствуют поломки и повреждения ограждения на крыше кабины.

Б.9 Метод определения усилия для ручного перемещения кабины с номинальной нагрузкой

Б.9.1 Сущность метода

Метод заключается в определении усилия, прикладываемого к штурвалу лебедки в плоскости штурвала по касательной к нему и достаточного для перемещения кабины лифта с размещенным в нем грузом, масса которого равна номинальной грузоподъемности лифта.

Б.9.2 Процедура испытаний

В кабине лифта размещают груз массой, равной номинальной грузоподъемности лифта. Тормоз лебедки растормаживают вручную и плавно увеличивают от 0 до 400 Н приложенную по касательной к штурвалу нагрузку. После того, как под действием приложенной нагрузки штурвал повернется на угол 5° - 15°, регистрируют нагрузку, вызвавшую вращение штурвала.

Б.9.3 Оценка результатов

Лифт считают выдержавшим испытания, если усилие, вызвавшее перемещение штурвала, не более 400 Н.

Б.10 Метод определения замедления при посадке кабины на ловители

Б.10.1 Сущность метода

Метод заключается в определении:

- среднего значения замедления кабины при посадке на ловители плавного торможения;

- максимального значения замедления кабины при посадке на ловители резкого торможения;

- времени превышения замедления 25 м/с2 при посадке кабины на ловители резкого торможения.

Б.10.2 Процедура испытаний

Б.10.2.1 Ловители плавного торможения

В кабине лифта размещают груз, масса которого на 25 % превышает номинальную грузоподъемность лифта. Посадку на ловители осуществляют при движении кабины с номинальной скоростью. Регистрируют замедление кабины от момента включения ловителей до полной остановки кабины.

Б.10.2.2 Ловители резкого торможения

В кабине лифта размещают груз, масса которого равна номинальной грузоподъемности лифта. Посадку на ловители осуществляют при движении кабины с номинальной скоростью. Регистрируют замедление кабины от момента включения ловителей до полной остановки кабины.

Б.10.3 Оценка результатов

Лифт считают выдержавшим испытание, если при использовании ловителей:

- плавного торможения среднее замедление кабины - не более 9,81 м/с2;

- резкого торможения замедление кабины - не более 25 м/с2;

- резкого торможения время действия замедления кабины, превышающего 25 м/с2, - не более 0,04 с.

Б.11 Метод определения ускорения (замедления) кабины при эксплуатационных режимах и при экстренном торможении

Б.11.1 Сущность метода

Метод заключается в определении ускорения (замедления) кабины при эксплуатационных режимах и при экстренном торможении.

Б.11.2 Процедура испытаний

Б.11.2.1 Определение ускорения (замедления) кабины при эксплуатационных режимах

В кабине лифта размещают груз массой 75 кг. Регистрацию ускорения (замедления) кабины лифта осуществляют при ее пуске по команде и автоматической остановке как при движении вверх, так и вниз.

Б.11.2.2 Определение замедления кабины при экстренной остановке

В кабине лифта размещают груз массой 75 кг. Регистрацию замедления кабины лифта, движущейся с номинальной скоростью, осуществляют при ее остановке по команде «Стоп» как при движении вверх, так и вниз.

Б.11.3 Оценка результатов

Лифт считают выдержавшим испытание:

- если при эксплуатационных режимах работы ускорение (замедление) кабины не превышает:

2 м/с2 для пассажирских лифтов и грузовых лифтов, доступных для людей,

1 м/с2 для пассажирских лифтов для лечебно-профилактических учреждений;

- если при экстренных остановках в обоих направлениях среднее значение замедления не превысило 9,81 м/с2.

Б.12 Метод определения усилия, необходимого для открытия автоматической двери кабины лифта, у которого предусмотрена возможность самостоятельного освобождения пользователя из кабины лифта, находящейся в зоне отпирания дверей шахты

Б.12.1 Сущность метода

Метод заключается в определении усилия, которое необходимо приложить изнутри кабины к двери кабины для ее открытия.

Б.12.2 Процедура испытаний

Кабину устанавливают в зоне точной остановки. Отключают электропитание привода дверей. К двери кабины изнутри крепят устройство, позволяющее регистрировать усилие, необходимое для открытия двери. Измерение проводят на середине высоты створки, при этом устройство устанавливают так, чтобы измерение усилия проводили во время перемещения двери на 2/3 ширины проема.

Результат испытаний определяют как среднеарифметическое трех измерений.

Б.12.3 Оценка результатов

Лифт считают выдержавшим испытание, если усилие, необходимое для открывания двери кабины, определенное как среднеарифметическое трех измерений, - не более 300 Н.

Б.13 Метод проверки тормозной системы

Б.13.1 Сущность метода

Метод заключается в определении достаточности тормозного момента для остановки привода.

Б.13.2 Процедура испытаний

В кабине лифта размещают груз, масса которого на 25 % превышает номинальную грузоподъемность лифта. Кабину опускают вниз на номинальной скорости. После достижения кабиной номинальной скорости осуществляют отключение привода, сопровождающееся наложением тормоза.

Б.13.3 Оценка результатов

Лифт считают выдержавшим испытания, если тормозная система остановила привод.

Б.14 Метод проверки тяговой способности канатоведущего шкива или барабана трения

Б.14.1 Сущность метода

Метод заключается в проверке достаточности сцепления между канатоведущим шкивом или барабаном трения и тяговыми элементами.

Б.14.2 Процедура испытаний

В кабине лифта размещают груз, масса которого на 25 % превышает номинальную грузоподъемность лифта. Кабину опускают вниз на номинальной скорости. После достижения кабиной номинальной скорости осуществляют отключение привода, сопровождающееся наложением тормоза.

Б.14.3 Оценка результатов

Лифт считают выдержавшим испытания, если произошла полная остановка кабины до ее соприкасания с буферами.

Б.15 Метод определения замедления при посадке кабины на буфер

Б.15.1 Сущность метода

Метод заключается в определении:

- среднего значения замедления кабины при посадке на буфер;

- времени превышения замедления 25 м/с2 при посадке кабины на буфер с нелинейными характеристиками, буфер энергонакопительного типа с амортизированным обратным ходом, буфер энергорассеивающего типа.

Б.15.2 Процедура испытаний

Б.15.2.1 Буфер энергонакопительного типа

В кабине лифта размещают груз, масса которого равна номинальной грузоподъемности лифта. Посадку на буфер осуществляют при движении кабины с номинальной скоростью. Регистрируют замедление кабины от момента касания буфера до полной остановки кабины.

Б.15.2.2 Буфер энергонакопительного типа с амортизированным обратным ходом, буфер энергорассеивающего типа

В кабине лифта размещают груз, масса которого равна номинальной грузоподъемности лифта. Посадку на буфер осуществляют при движении кабины с номинальной скоростью или со скоростью, для которой был рассчитан ход буфера, в случае применения буфера с укороченным ходом. Регистрируют замедление кабины от момента качания буфера до полной остановки кабины.

Б.15.З Оценка результатов

Лифт считают выдержавшим испытание, если:

- при посадке кабины на буфер среднее замедление кабины - не более 9,81 м/с2;

- при посадке кабины на буфер энергонакопительного типа с нелинейными характеристиками, буфер энергонакопительного типа с амортизированным обратным ходом, буфер энергорассеивающего типа время действия замедления кабины, превышающего 25 м/с2, - не более 0,04 с.

Б.15 (Введен дополнительно, Изм. № 1).

Приложение В
(обязательное)

Методы испытаний устройств безопасности лифта

В.1 Метод испытаний замка двери шахты лифта

В.1.1 К заявке на проведение испытаний замка двери шахты должен прилагаться сборочный чертеж замка, дающий представление о:

- работе замка в нормальных условиях эксплуатации;

- значении зацепления запирающего элемента, в том числе при срабатывании электрического устройства безопасности;

- работе устройства механического контроля запирания при наличии такого устройства;

- работе устройства аварийного отпирания замка;

- виде тока [постоянный и (или) переменный], номинальных напряжении и токе электрического устройства безопасности.

На чертеже должны быть изображены детали, участвующие в работе замка. В прилагаемой к чертежу спецификации должны быть перечислены основные детали, виды используемых материалов и характеристики крепежа.

В.1.2 Для проведения испытаний заявитель должен предоставить один экземпляр серийно изготовляемого замка. Если для испытания предоставлен опытный образец замка, то испытание должно быть повторено на серийном образце. Если испытание замка возможно только совместно с дверью шахты лифта, то для испытаний должен быть предоставлен замок, установленный в рабочем положении на полностью собранной двери. Допускается уменьшение размера двери по сравнению с серийным образцом, если это не влияет на результаты испытаний. Устройства, обеспечивающие прямую или косвенную механическую связь между панелями горизонтально- и вертикально-раздвижных дверей с несколькими панелями считают входящими в состав замка.

В.1.3 Метод испытаний

В.1.3.1 Сущность метода

Метод заключается в проверке функционирования замка, его прочности и долговечности в указанных заявителем условиях.

В.1.3.2 Процедура испытаний

Во время проведения испытаний должны быть выполнены:

- проверка соответствия замка данным, указанным в заявке;

- проверка вхождения запирающего элемента до срабатывания электрического устройства безопасности;

- подтверждение прочности и долговечности механических и электрических элементов.

Управление установленным в рабочее положение замком должно осуществляться элементом, воздействующим на него в нормальных условиях работы. Если замок может устанавливаться в нескольких рабочих положениях или на него могут воздействовать различные элементы, то проверку на долговечность следует проводить в условиях, вызывающих наибольшие напряжения в элементах замка. Перед проведением испытаний замок должен быть смазан в соответствии с требованиями, указанными в документации изготовителя.

Число полных циклов работы и перемещений запирающего элемента должно быть зарегистрировано механическим или электрическим счетчиком.

В.1.3.3 Подтверждение долговечности

Запирающий элемент замка должен совершить (1000000 ± 1) % полных циклов: цикл состоит из одного полного хода запирающего элемента вперед и одного полного хода запирающего элемента назад.

Должно быть обеспечено плавное, без толчков, перемещение запирающего элемента. При испытании замков горизонтально- и вертикально-раздвижных дверей с несколькими панелями частота перемещения запирающего элемента должна соответствовать размерам конструкции.

В случае если замок снабжен механическим устройством для контроля положения запирающего элемента, то это устройство должно быть подвергнуто испытанию на долговечность продолжительностью (100000 ± 1) % циклов.

Должно быть обеспечено плавное, без толчков, перемещение механического устройства для контроля запирающего элемента.

Контакт электрического устройства безопасности, контролирующего запирание замка, должен замыкать цепь при номинальном напряжении и при токе, вдвое превышающем номинальное значение.

В.1.3.4 Подтверждение прочности

В.1.3.4.1 Статические испытания

Замок распашных дверей должен быть испытан на постепенно возрастающую в течение 300 с от 0 до 3000 Н статическую нагрузку.

Замок раздвижных дверей должен быть испытан на постепенно возрастающую в течение 300 с от 0 до 1000 Н статическую нагрузку.

Нагрузка должна быть приложена в направлении открывания двери.

В.1.3.4.2 Динамические испытания

Замок, находящийся в запертом положении, должен быть испытан направленным в направлении открывания двери ударом твердым предметом. Энергия удара должна быть равна энергии тела массой 4 кг, падающего с высоты 0,5 м.

В.1.3.4.3 Испытание электрического устройства безопасности, контролирующего срабатывание замка Испытание проводят после испытания на долговечность. Во время испытания должна быть проверена достаточность способности разъединения цепи под током. Значения тока и номинального напряжения, используемые при испытании, определяет изготовитель устройства.

При отсутствии особых указаний предусматриваются следующие номинальные значения:

- переменный ток: 220 В, 2А;

- постоянный ток: 180 В, 2А.

Испытания следует проводить при нахождении замка в рабочем положении. Если возможны несколько вариантов такого положения, испытание необходимо проводить при наиболее неблагоприятном положении.

Испытуемый образец электрического устройства безопасности должен находиться в корпусе и иметь электропроводку, используемую при нормальной работе.

Электрическое устройство безопасности, контролирующее срабатывание замка и установленное в цепи переменного тока, должно размыкать и замыкать электрическую цепь, находящуюся под напряжением, равном 110 % номинального значения, 50 раз с нормальной скоростью и с интервалами 5 - 10 с. Контакт устройства должен оставаться замкнутым в течение не менее 0,5 с.

Цепь должна включать последовательно установленные дроссель и сопротивление. Испытательный ток должен в 11 раз превышать номинальное значение, указанное изготовителем устройства.

Электрическое устройство безопасности, контролирующее срабатывание замка и установленное в цепи постоянного тока, должно размыкать и замыкать электрическую цепь, находящуюся под напряжением, равным 110 % номинального значения, 20 раз с нормальной скоростью и с интервалами 5 - 10 с. Контакт устройства должен оставаться замкнутым в течение не менее 0,5 с.

Цепь должна включать последовательно установленные дроссель и сопротивление с такими показателями, чтобы ток достигал 95 % испытательного тока при установившемся режиме за 300 мс.

Испытательный ток должен составлять 110 % номинального значения, указанного изготовителем устройства.

В.1.3.5 Оценка результатов

Испытания замка считают положительными, если в результате испытаний на долговечность, статических и динамических, отсутствуют износ, деформации или поломки, отрицательно влияющие на безопасность.

Испытания электрического устройства безопасности, контролирующего срабатывание замка, считают удовлетворительными, если не возникло трекинга диэлектриков или дугообразования и если не имел места износ, отрицательно влияющий на безопасность.

В.2 Метод испытаний ловителей

В.2.1 В заявке на проведение испытаний ловителей заявитель должен указать:

- минимальную и максимальную улавливаемые массы;

- номинальную скорость лифта;

- минимальную и максимальную скорости срабатывания ограничителя скорости;

- для регулируемых ловителей - способ регулирования (плавный, ступенчатый). К заявке на проведение испытания ловителей следует прилагать:

- чертежи деталей и сборочные чертежи ловителей с описанием конструкции, работы, используемых материалов и указанием размеров и числа деталей конструкции;

- информацию о типе и материале применяемых направляющих, состоянии их поверхности (тянутая, фрезерованная и т.п.);

- график нагрузки на упругие элементы для ловителей плавного торможения;

- формулы или графики, показывающие изменение усилия торможения, как функцию установленного параметра для ловителей плавного торможения, рассчитанных на улавливание различных масс.

В.2.2 Для проведения испытаний заявитель должен предоставить:

- ловители мгновенного действия: два комплекта ловителей в сборе с клиньями или зажимами,

по два отрезка направляющих каждого типа, с которыми будут взаимодействовать ловители. Если разные типы направляющих имеют одинаковую толщину и необходимую для наложения ловителей ширину и такое же качество поверхности, то повторное испытание не требуется;

- ловители плавного торможения:

один комплект ловителей, установленный на балке, имеющей указанные испытательной лабораторией (центром)размеры,

необходимое для проведения испытаний в полном объеме число тормозных элементов,

по два отрезка направляющих каждого типа, с которыми будут взаимодействовать ловители.

Для всех типов ловителей длину отрезков направляющих определяет производящая испытание лаборатория. Установку направляющих и необходимый для них крепеж также определяет испытательная лаборатория (центр) в соответствии с используемым ею оборудованием.

В.2.3 Метод испытаний

В.2.3.1 Сущность метода

Метод заключается в определении усилия торможения, создаваемого сработавшими ловителями, и улавливаемой массы.

В.2.3.2 Ловители мгновенного действия

В.2.3.2.1 Испытательное оборудование

Испытание следует проводить с использованием пресса или аналогичного устройства, способного перемещаться без резких изменений скорости. При этом измеряют:

- пройденное расстояние как функцию силы;

- деформацию деталей ловителей как функцию силы или как функцию пройденного расстояния.

В.2.3.2.2 Процедура испытаний

Ловители должны быть установлены на направляющие. На детали ловителей должны быть нанесены реперные метки, обеспечивающие возможность измерения их деформации.

Пройденное расстояние должно быть зарегистрировано как функция силы. После испытания необходимо:

- сравнить твердость клиньев или захватных приспособлений ловителей с исходными значениями, указанными заявителем;

- убедиться в отсутствии разрушения конструкции, деформации и других изменений (например, трещин, деформации или износа схватывающих элементов, наличия задиров на направляющих поверхностях);

- сфотографировать, при необходимости, блок ловителей, схватывающие элементы и направляющие для подтверждения наличия деформаций или разрушений.

По результатам испытаний должны быть построены графики:

- пройденного расстояния как функции силы;

- деформации ловителей как функции силы или пройденного расстояния.

Энергия, поглощенная ловителями, определяется путем интегрирования площади графика «расстояние - сила». При интегрировании учитывают:

- если отсутствует остаточная деформация, - общую площадь;

- если имеется остаточная деформация:

или площадь, ограниченную значениями, при которых был достигнут предел упругости, или площадь до значения, соответствующего максимальной силе.

В.2.3.2.3 Определение допустимой улавливаемой массы

В.2.3.2.3.1 Если в результате испытаний отсутствует остаточная деформация, то при коэффициенте безопасности, равном 2, допустимую улавливаемую массу (Р + Q)1, кг, вычисляют по формуле

где Р - масса пустой кабины и прикрепленных к ней элементов, таких как часть подвесного кабеля, уравновешивающие канаты/цепи и т.д., кг;

Q - номинальная нагрузка, кг;

К - энергия, поглощенная одним ловителем, определенная путем интегрирования общей площади графика «расстояние - сила», Дж;

gн - ускорение свободного падения, равное 9,81 м/с2;

h - высота свободного падения, м, вычисляемая по формуле (v1 - максимальная скорость срабатывания ограничителя скорости, м/с; 0,1 м - расстояние, пройденное за время срабатывания ограничителя скорости; 0,03 м - перемещение за время устранения зазора между схватывающими элементами и направляющими).

В.2.3.2.3.2 Если в результате испытаний имеются остаточные деформации, то допустимую улавливаемую массу вычисляют по формулам:

- при коэффициенте безопасности, равном 2:

где K1 - энергия, поглощенная ловителями, определенная путем интегрирования площади, ограниченной значениями, при которых был достигнут предел упругости «расстояние - сила», Дж;

- при коэффициенте безопасности, равном 3,5:

где К2 - энергия, поглощенная ловителями, определенная путем интегрирования площади до значения, соответствующего максимальной силе графика «расстояние - сила», Дж. Из двух полученных значений заявитель имеет право выбрать любое.

В.2.3.3 Ловители плавного торможения

В.2.3.3.1 Процедура испытаний

Испытание следует проводить при свободном падении удерживаемого ловителями элемента. При этом должны быть проведены прямые или косвенные измерения:

- общей высоты падения;

- длины тормозного пути на направляющих;

- величины проскальзывания каната ограничителя скорости или заменяющего устройства;

- суммарного перемещения упругих элементов.

Общая высота падения и длина тормозного пути на направляющих должны быть зарегистрированы как функция времени.

В ходе испытаний должны быть определены:

- среднее усилие торможения;

- максимальное мгновенное усилие торможения;

- минимальное мгновенное усилие торможения.

В.2.3.3.1.1 Нерегулируемые ловители, предназначенные для улавливания конкретной массы

Должно быть проведено четыре испытания ловителей по улавливанию свободно падающей массы, равной (Р + Q). После каждого испытания должна быть сделана пауза для восстановления нормальной температуры трущихся элементов.

Во время испытаний допускается использовать несколько идентичных комплектов трущихся элементов. При этом один комплект трущихся элементов должен выдерживать:

- три испытания для номинальной скорости не более 4 м/с;

- два испытания для номинальной скорости более 4 м/с.

Высота свободного падения должна быть рассчитана исходя из максимальной скорости срабатывания ограничителя скорости, при которой возможно использование данных ловителей.

В.2.3.3.1.2 Регулируемые ловители, предназначенные для улавливания различных масс

Независимо от способа регулирования тормозного усилия (плавного или ступенчатого) должны быть проведены две серии испытаний для максимальной и минимальной заявленных улавливаемых масс.

Должны быть проверены предоставленные заявителем формулы или графики, показывающие изменение тормозного усилия в функции установленного параметра.

В.2.3.4 Определение усилия торможения

В.2.3.4.1 Усилие торможения, развиваемое нерегулируемыми ловителями, предназначенными для улавливания конкретной массы, при использовании направляющих одного типа определяется как среднее значение средних усилий торможения, определенных в процессе проведения испытаний. Каждое испытание следует проводить на новом участке направляющих. Среднее значение усилия торможения, полученное в результате одного испытания, не должно отличаться от усилия торможения, полученного в результате обработки всех испытаний, более чем на 25 %.

В.2.3.4.2 Усилие торможения, развиваемое регулируемыми ловителями, предназначенными для улавливания различных масс, со ступенчатым или плавным регулированием следует определять для минимальной и максимальной улавливаемых масс, указанных заявителем.

В.2.3.5 После испытания необходимо:

- сравнить твердость схватывающих элементов ловителей с исходными значениями, указанными заявителем;

- при отсутствии разрушения конструкции проверить наличие деформации или разрушений (например, трещин, деформации или износ схватывающих элементов, задиров на направляющих поверхностях);

- сфотографировать, при необходимости, ловители в сборе, схватывающие элементы и направляющие для подтверждения наличия деформаций или разрушений.

8.2.3.6 Определение допустимой улавливаемой массы

В.2.3.6.1 Допустимую массу, улавливаемую нерегулируемыми ловителями, предназначенными для улавливания конкретной массы, вычисляют по формуле

где Р - масса пустой кабины и соединенных с ней элементов, таких как часть подвесного кабеля, уравновешивающие канаты/цепи и т.д., кг;

Q - номинальная нагрузка, кг;

FT - усилие торможения, Н, определенное в соответствии с В.2.3.3.1.

В.2.3.6.2 Допустимая улавливаемая масса для регулируемых ловителей со ступенчатым регулированием, предназначенных для улавливания различных масс, должна быть рассчитана для каждого шага регулирования в соответствии с В.2.3.6.1.

В.2.3.6.3 Допустимая улавливаемая масса для ловителей с плавным регулированием должна быть рассчитана для максимальной и минимальной заявленных масс в соответствии с В.2.3.6.1.

Если определенная по результатам испытаний допустимая улавливаемая масса отличается от установленной заявителем более чем на 20 %, то допускается, по согласованию с заявителем, проведение повторных испытаний при другой настройке ловителей.

В.3 Метод испытаний ограничителя скорости

8.3.1 В заявке на проведение испытаний ограничителя скорости должны быть указаны:

- тип (или типы) ловителей, которые будут приводиться в действие данным ограничителем скорости;

- номинальная скорость лифта, для которого можно использовать ограничитель скорости;

- предполагаемое значение усилия на канате ограничителя скорости при его срабатывании.

К заявке на проведение испытаний ограничителя скорости должны быть приложены чертежи деталей и сборочный чертеж ограничителя скорости, дающие представление о конструкции, действии, регулировании, материалах, размерах и допусках ограничителя скорости.

В.3.2 Для проведения испытаний заявитель должен предоставить:

- один ограничитель скорости;

- канат ограничителя скорости, используемый с данным ограничителем скорости (длину каната определяет испытательная лаборатория);

- одно натяжное устройство каната ограничителя скорости, используемое с данным ограничителем скорости.

В.3.3 Метод испытаний

В.3.3.1 Сущность метода

Метод заключается в плавном разгоне ограничителя скорости до его срабатывания.

В.3.3.2 Процедура испытаний

Во время испытаний должна быть выполнена проверка соответствия ограничителя скорости данным, указанным в заявке.

Во время проведения испытания должны быть определены:

- скорость срабатывания ограничителя скорости;

- усилие, возникающее в канате ограничителя скорости при его срабатывании. Кроме того, должна быть проверена работа электрического устройства безопасности:

- контролирующего срабатывание ограничителя скорости;

- отключающего привод лифта до срабатывания ограничителя скорости (при его наличии).

Должно быть выполнено не менее 20 испытаний в диапазоне скоростей срабатывания ограничителя скорости, соответствующих номинальным скоростям лифта, указанным в заявке на проведение испытаний.

Большая часть испытаний должна быть выполнена на крайнем значении диапазона скоростей.

Угол обхвата канатом шкива ограничителя скорости должен быть равен 180°, если другое значение не оговорено в документации изготовителя.

Если в конструкции ограничителя скорости предусмотрено устройство, зажимающее канаты, оно должно быть проверено на отсутствие остаточных деформаций после срабатывания.

В.3.4 Оценка результатов

Испытания ограничителя скорости считают положительными, если:

- значения скорости срабатывания ограничителя скорости, полученные во время 20 испытаний, находятся в пределах, оговоренных заявителем;

- электрические устройства безопасности, установленные на ограничителе скорости, во время 20 испытаний срабатывают в случаях, оговоренных заявителем;

- усилие в канате ограничителя скорости при его срабатывании не менее 300 Н или не менее большей, оговоренной заявителем;

- отсутствуют остаточные деформации устройства (при его наличии), зажимающего канаты.

В.4 Метод испытаний буферов

В.4.1 В заявке на проведение испытаний должны быть указаны:

- максимальная скорость удара;

- минимальная и максимальная массы, на восприятие нагрузки от которой рассчитан буфер. К заявке на проведение испытания буфера должны быть приложены:

- чертежи деталей и устройств, поясняющие устройство и работу буфера, с указанием применяемых материалов, размеров и допусков;

- характеристика используемой жидкости для гидравлических буферов.

В.4.2 Для проведения испытаний заявитель должен предоставить:

- один буфер;

- необходимое количество жидкости для гидравлического буфера (поставляется отдельно).

В.4.3 Метод испытаний

В.4.3.1 Сущность метода

Метод заключается в проверке способности буфера улавливать свободно падающие грузы массой, указанной заявителем, при указанной максимальной скорости удара.

В.4.3.2 Процедура испытаний

Во время проведения испытаний грузы должны перемещаться по жестким направляющим. Буфер следует устанавливать и крепить так же, как и при обычной эксплуатации. Во время проведения испытаний температура окружающего воздуха должна находиться в диапазоне 15 °С - 25 °С.

Гидравлический буфер должен быть заполнен жидкостью в соответствии с требованиями изготовителя.

В.4.3.2.1 Энергонакопительные буфера с амортизированным обратным ходом

Испытание проводят грузами массой М, падающими на буфер с ускорением свободного падения с высоты Н.

Скорость движения груза следует регистрировать с момента касания грузом буфера и до окончания испытания.

Максимально допустимую массу груза Мmах, кг, вычисляют по формуле

где С - масса, необходимая для полного сжатия пружины, кг.

Минимально допустимую массу груза Mmin, кг, вычисляют по формуле

Высоту Н, м, с которой падает груз, вычисляют по формуле

H = 0,5 FL = 0,067 v2,

где FL - полное сжатие пружины, м;

v - номинальная скорость лифта, м/с.

Указанный тип буферов допускается использовать при номинальной скорости лифта, вычисляемой по формуле , но не более 1,6 м/с.

В.4.3.2.2 Энергорассеивающие буфера

Испытание проводят падающими с ускорением свободного падения грузами с минимальной и максимальной массами, указанными заявителем. В момент касания буфера должна быть достигнута максимально требуемая скорость груза.

Скорости движения груза следует регистрировать с момента касания грузом буфера или в течение всего перемещения груза. Ускорение замедления груза должно быть рассчитано или измерено в функции времени на всем протяжении перемещения груза.

Должно быть проведено два испытания:

- падение груза с минимальной массой;

- падение груза с максимальной массой.

После каждого испытания буфер должен удерживаться в полностью сжатом положении в течение 5 мин. Затем груз должен быть убран для возвращения буфера в нормальное положение. Буфер с пружинным или гравитационным возвратом должен возвращаться в нормальное положение не более чем за 120 с.

Перед вторым испытанием должен быть сделан перерыв на 30 мин, чтобы жидкость возвратилась в резервуар и из нее вышли пузырьки воздуха.

Если после проведения испытаний с минимальным и максимальным грузами не был достигнут положительный результат, то испытательная лаборатория (центр) по согласованию с заявителем может установить другие значения предельных масс.

В.4.3.2.3 Буфер с нелинейными характеристиками

Испытание проводят падающими с ускорением свободного падения грузами, масса которых соответствует минимальному и максимальному значениям, указанным заявителем. В момент соприкасания с буфером груз должен иметь максимальную

установленную скорость, но не менее 0,8 м/с. Во время проведения трех испытаний с максимальным грузом исходное значение усилия буфера при его ходе, равном 50 % его высоты, не должно отличаться от установленного более чем на 5 %. Это требование следует выполнять также при проведении испытаний с минимальным грузом.

Пройденное расстояние, ускорение падения и замедления груза следует регистрировать с момента опускания груза и вплоть до полного успокоения системы. С каждым из грузов проводят по три испытания. Интервал между двумя испытаниями должен быть не менее 5 и не более 30 мин.

Измеренное при свободном падении груза массой, равной номинальной грузоподъемности, и скорости 115 % номинальной среднее ускорение замедления а не должно превышать 9,81 м/с2. Значение среднего ускорения рассчитывают для временного интервала между двумя абсолютными минимумами замедления (см. рисунок В.1). Время действия ускорения замедления, превышающего 2,5 gн, м/с2, должно быть не более 0,04 с.

t0 - момент касания буфера; t1 - второй абсолютный минимум; gн = 9,81 м/с2

Рисунок В.1 - График торможения

Если после проведения испытаний с минимальным и максимальным грузами не был достигнут положительный результат, то испытательная лаборатория (центр) по согласованию с заявителем может установить другие значения предельных масс.

В.4.3.3 Оценка результатов

B.4.3.3.1 Испытания энергонакопительного буфера с амортизированным обратным ходом считают положительными, если:

- скорость подъема груза при обратном ходе буфера не более 1 м/с;

- после двух испытаний буфера максимальной массой отсутствуют остаточные деформации или повреждения.

B.4.3.3.2 Испытания энергорассеивающего буфера считают положительными, если:

- через 30 мин после проведения второго испытания уровень жидкости соответствует уровню, необходимому для нормальной работы;

- после испытания буфера максимальной массой отсутствуют остаточные деформации или повреждения.

B.4.3.3.3 Испытания буфера с нелинейными характеристиками считают положительными, если после испытания максимальным грузом отсутствуют остаточные деформации или повреждения.

В.5 Метод испытаний гидроаппарата безопасности

В.5.1 В заявке на проведение испытания гидравлического аппарата безопасности заявитель должен указать:

- рабочий диапазон расхода рабочей жидкости;

- рабочий диапазон давления рабочей жидкости;

- диапазон вязкости применяемой рабочей жидкости;

- рабочий диапазон температуры окружающей среды;

- способ установки.

К заявке на проведение испытания гидравлического аппарата безопасности следует прилагать чертежи деталей и устройств, дающие представление о конструкции, действии, регулировании, материалах, размерах и допусках гидравлического устройства безопасности и компонентах конструкции.

В.5.2 Для проведения испытаний заявитель должен предоставить:

- один экземпляр серийно изготовляемого гидравлического устройства безопасности. Если для испытания предоставлен опытный образец гидравлического устройства безопасности, то испытание должно быть повторено на серийном образце;

- перечень рабочих жидкостей, которые могут быть использованы вместе с гидравлическим устройством безопасности, или необходимое для проведения испытания количество специальной жидкости;

- при необходимости приспособления, позволяющие установить гидравлическое устройство безопасности на испытательное оборудование лаборатории.

В.5.3 Метод испытаний

В.5.3.1 Испытательное оборудование

Гидравлическое устройство безопасности, смонтированное в соответствии с установленным методом, должно быть испытано в составе гидравлической системы, в которой:

- требуемое испытательное давление получено от постоянно действующей на поршень нагрузки;

- расход рабочей жидкости контролируют регулируемым клапаном;

- регистрируют давление перед и после гидравлического устройства безопасности в период проведения испытаний;

- обеспечивают установку различных значений температуры окружающей среды и вязкости гидравлической жидкости.

Оборудование должно обеспечивать возможность регистрации расхода рабочей жидкости во время проведения испытаний. Допускается определять расход рабочей жидкости через клапан (то есть скорость плунжера) посредством измерения других параметров, если посредством этого можно определить расход рабочей жидкости.

B.5.3.2 Аппаратура

Точность контрольно-измерительных приборов должна позволять выполнять измерения в пределах следующих допустимых отклонений:

± 1 % значений массы, усилия, расстояния, скорости;

± 5 °С значений температуры.

Регистрирующая аппаратура должна быть в состоянии определять сигналы, изменяющиеся во времени в пределах 0,01 с.

B.5.3.3 Процедура испытаний

Во время проведения испытаний должны быть выполнены:

- имитация полного разрыва трубопровода, произошедшего при неподвижной кабине;

- проверка удержания гидравлическим устройством безопасности установленного давления.

В.5.3.3.1 Имитация полного разрыва трубопровода

Истечение рабочей жидкости должно быть начато при неподвижном поршне посредством открытия клапана при условии, что статическое давление перед гидравлическим устройством безопасности упадет ниже 10 %-ной отметки от давления за гидравлическим устройством безопасности.

При проведении испытаний должны быть проверены:

- возможность закрытия клапана в установленном диапазоне расхода рабочей жидкости;

- возможность закрытия клапана в установленном диапазоне вязкости рабочей жидкости;

- возможность закрытия клапана в установленном диапазоне давления рабочей жидкости;

- возможность закрытия клапана в установленном диапазоне температуры окружающей среды. Это может быть достигнуто посредством двух серий испытаний:

- с максимальным давлением, максимальной температурой окружающей среды, установленными минимальным расходом рабочей жидкости и минимальной вязкостью рабочей жидкости;

- с минимальным давлением, минимальной температурой окружающей среды, установленными максимальным расходом рабочей жидкости и максимальной вязкостью рабочей жидкости.

В каждой серии должно быть выполнено не менее 10 испытаний для определения допуска срабатывания гидравлического устройства безопасности в вышеупомянутых условиях. При проведении каждого испытания производят запись:

- зависимости расхода рабочей жидкости от времени;

- зависимости давления перед и после гидравлического устройства безопасности от времени. Типичные характеристики этих кривых показаны на рисунке В.2.

В.5.3.3.2 Проверка удержания гидравлическим устройством безопасности заданного давления

Во время проверки гидравлическое устройство безопасности должно выдержать в течение не менее чем 2 мин давление, в пять раз превышающее максимальное.

B.5.3.4 Оценка результатов

B.5.3.4.1 Действие закрытия

Гидравлическое устройство безопасности считают прошедшим испытание, если кривые, полученные в результате проверок по 3.3.1, показывают, что:

- время t0 за которое расход рабочей жидкости возрастает от номинального до максимального Qmax, не превышает 0,16 с;

- время td сокращения расхода рабочей жидкости находится в интервале:

где Qmax - максимальный расход гидравлической жидкости, дм3/мин,

td - время, с,

А - рабочая площадь поршня, на которую действует давление, см2;

- время, в течение которого значение давления превышает номинальное более чем в 3,5 раза, не должно превышать 0,04 с;

- гидравлическое устройство безопасности срабатывает прежде, чем скорость движения кабины лифта вниз превысит номинальную на 0,3 м/с.

B.5.3.4.2 Удержания гидравлическим устройством безопасности установленного давления Гидравлическое устройство безопасности считают прошедшим испытание, если после проверки по

В.3.3.2 отсутствуют его повреждения.

Рp - пик давления; Ps - давление при статической нагрузке; t - время;  - гидравлическое устройство безопасности
должно сработать прежде, чем скорость превысит номинальную на 0,3 м/с;  - давление после гидравлического
устройства безопасности;  - расход гидравлической жидкости;  - давление перед гидравлическим устройством безопасности

Рисунок В.2 - Расход гидравлической жидкости, давление перед и после гидравлического устройства
безопасности

Приложение Г
(обязательное)

Перечень устройств (минимальный), указываемый в приложении
к сертификату соответствия

Лебедка.

Гидроагрегат.

Система управления (контроллер).

Привод дверей кабины.

Дверь шахты.

Замок двери шахты.

Ловители.

Ограничитель скорости.

Буфер.

В приложении к сертификату указывают тип (модель) устройства, производителя устройства, страну происхождения.

Приложение Д (Исключено, Изм. № 1).

Ключевые слова: лифты, правила и методы исследований (испытаний), измерения, сертификация, правила отбора образцов