Стандарт распространяется на круглые бортовые (глухие и створчатые) и универсальные иллюминаторы, применяемые на судах и плавсредствах и предназначенные для обеспечения необходимого обзора из помещений, а также для доступа света и воздуха в те помещения, в которых они установлены. Стандарт не распространяется на иллюминаторы судов с динамическими принципами поддерживания.
| Обозначение: | ГОСТ 19261-98 |
| Название рус.: | Иллюминаторы судовые круглые. Технические условия |
| Статус: | действует |
| Заменяет собой: | ГОСТ 19261-82 «Иллюминаторы судовые круглые. Технические условия» |
| Дата актуализации текста: | 05.05.2017 |
| Дата добавления в базу: | 01.09.2013 |
| Дата введения в действие: | 01.01.1998 |
| Утвержден: | 08.08.2001 Госстандарт России (Russian Federation Gosstandart 322-ст)12.11.1998 Межгосударственный Совет по стандартизации, метрологии и сертификации (Inter-Governmental Council on Standardization, Metrology, and Certification 14) |
| Опубликован: | ИПК Издательство стандартов (2002 г. ) |
| Ссылки для скачивания: |
ГОСТ 19261-98
МЕЖГОСУДАРСТВЕННЫЙ СТАНДАРТ
ИЛЛЮМИНАТОРЫ СУДОВЫЕ КРУГЛЫЕ
ТЕХНИЧЕСКИЕ УСЛОВИЯ
МЕЖГОСУДАРСТВЕННЫЙ СОВЕТ
ПО СТАНДАРТИЗАЦИИ, МЕТРОЛОГИИ И СЕРТИФИКАЦИИ
Минск
Предисловие
1 РАЗРАБОТАН ТК 15, Украинским научно-исследовательским институтом стандартизации и сертификации в судостроении (УкрГОСНИИСС)
ВНЕСЕН Государственным комитетом стандартизации, метрологии и сертификации Украины
2 ПРИНЯТ Межгосударственным Советом по стандартизации, метрологии и сертификации (протокол № 14 от 12 ноября 1998 г.)
За принятие проголосовали:
|
Наименование государства |
Наименование национального органа по стандартизации |
|
Азербайджанская Республика |
Азгосстандарт |
|
Республика Армения |
Армгосстандарт |
|
Республика Беларусь |
Госстандарт Республики Беларусь |
|
Республика Казахстан |
Госстандарт Республики Казахстан |
|
Российская Федерация |
Госстандарт России |
|
Туркменистан |
Главгосслужба «Туркменстандартлары» |
|
Республика Узбекистан |
Узгосстандарт |
|
Украина |
Госстандарт Украины |
3 Постановлением Государственного комитета Российской Федерации по стандартизации и метрологии от 8 августа 2001 г. № 322-ст межгосударственный стандарт ГОСТ 19261-98 введен в действие непосредственно в качестве государственного стандарта Российской Федерации с 1 января 2002 г.
4 ВЗАМЕН ГОСТ 19261-82
СОДЕРЖАНИЕ
|
3 Классификация, основные параметры и размеры.. 2 4.3 Требования стойкости к внешним воздействиям и живучести. 12 4.4 Конструктивные требования. 12 7 Транспортирование и хранение. 16 |
ГОСТ 19261-98
МЕЖГОСУДАРСТВЕННЫЙ СТАНДАРТ
ИЛЛЮМИНАТОРЫ СУДОВЫЕ КРУГЛЫЕ
Технические условия
Ships side scuttles.
Specifications
Дата введения 2002-01-01
Настоящий стандарт распространяется на круглые бортовые (глухие и створчатые) и универсальные иллюминаторы (далее - иллюминаторы), применяемые на судах и плавсредствах и предназначенные для обеспечения необходимого обзора из помещений, а также для доступа света и воздуха в те помещения, в которых они установлены.
Стандарт не распространяется на иллюминаторы судов с динамическими принципами поддерживания.
Требования настоящего стандарта являются обязательными.
В настоящем стандарте использованы ссылки на следующие стандарты:
ГОСТ 9.014-78 Единая система защиты от коррозии и старения. Временная противокоррозионная защита изделий. Общие требования
ГОСТ 263-75 Резина. Метод определения твердости по Шору А
ГОСТ 2712-75 Смазка АМС. Технические условия
ГОСТ 2991-85 Ящики дощатые неразборные для грузов массой до 500 кг. Общие технические условия
ГОСТ 9424-79 Стекла закаленные для судовых иллюминаторов. Технические условия
ГОСТ 10198-91 Ящики деревянные для грузов массой свыше 500 до 20000 кг. Общие технические условия
ГОСТ 14192-96 Маркировка грузов
ГОСТ 15150-69 Машины, приборы и другие технические изделия. Исполнения для различных климатических районов. Категории, условия эксплуатации, хранения и транспортирования в части воздействия климатических факторов внешней среды
ГОСТ 18477-79 Контейнеры универсальные. Типы, основные параметры и размеры
ГОСТ 24597-81 Пакеты тарно-штучных грузов. Основные параметры и размеры
ГОСТ 24634-81 Ящики деревянные для продукции, поставляемой для экспорта. Общие технические условия
3.1 Стандарт устанавливает два вида иллюминаторов:
круглые бортовые - глухие (N) и створчатые;
универсальные (U).
В зависимости от выдерживаемого расчетного давления круглые бортовые иллюминаторы подразделяют на три типа:
А - тяжелые;
В - нормальные;
О - облегченные (только для катеров).
3.2 Исполнения иллюминаторов и их условные обозначения должны соответствовать указанным в таблице 1.
Таблица 1
|
Исполнение |
Условное обозначение исполнения с учетом способа крепления |
||||
|
Наличие штормовой крышки |
Наличие ограждения |
болтами (В) |
сваркой (W) |
||
|
Бортовой |
Створчатый |
Со штормовой крышкой (S) |
- |
SB |
SW |
|
Без штормовой крышки (LR)* |
LRB |
LRW |
|||
|
Глухой (N) |
Со штормовой крышкой |
- |
NW |
||
|
Универсальный (U) |
- |
С ограждением (О) |
UOB |
- |
|
|
Без ограждения (Р) |
UPB |
||||
|
* Только для иллюминаторов типа В. Примечание - На универсальные и бортовые створчатые иллюминаторы без штормовой крышки могут быть установлены затемнительные и предохранительные щитки (приложение А). Необходимость поставки щитков должна оговариваться потребителем в договоре на поставку иллюминаторов. |
|||||
3.3 Номинальные размеры иллюминаторов должны соответствовать указанным в таблице 2.
Таблица 2
В миллиметрах
|
бортового |
универсального |
||||
|
типа А |
типа В |
типа О |
|||
|
створчатого |
глухого |
створчатого |
глухого |
створчатого |
|
|
250 |
200 |
200 |
200 |
200 |
200 |
|
300 |
250 |
250 |
250 |
- |
250 |
|
350 |
300 |
300 |
300 |
- |
300 |
|
- |
350 |
350 |
- |
- |
- |
|
- |
- |
400 |
- |
- |
- |
|
- |
- |
450 |
- |
- |
- |
|
Примечание - За номинальный размер иллюминатора принят диаметр иллюминатора в свету (D). |
|||||
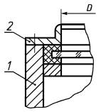
3.4 Основные параметры и размеры бортовых створчатых иллюминаторов типов А и В со штормовыми крышками (исполнения SB и SW) должны соответствовать указанным на рисунках 1 и 2 и в таблице 3.
1 - корпус; 2 - ось петли; 3 - уплотнительная прокладка; 4 - стекло; 5 - штормовая крышка; 6 - рама; 7 - задрайка (откидной болт, гайка-барашек, ось); 8 - резьбовое кольцо для крепления стекла
Рисунок 1 - Типы А и В, исполнение SB
1 - корпус; 2 - ось петли; 3 - уплотнительная прокладка; 4 - стекло; 5 - штормовая крышка; 6 - рама; 7 - задрайка (откидной болт, гайка-барашек, ось); 8 - резьбовое кольцо для крепления стекла
Рисунок 2 - Типы А и В, исполнение SW
Таблица 3
|
D1 |
D2 |
Толщина стекла S, мм |
Количество креплений, шт., не менее*), для иллюминаторов |
Расчетное давление, кПа (кгс/см2), не более |
Материал |
Условное обозначение класса материала |
Масса, кг, не более |
|||||||||
|
типа А |
типа В |
статическое |
кратковременное динамическое |
Тип А |
Тип В |
|||||||||||
|
мм |
Тип А |
Тип В |
Рама |
Крышка |
Рама |
Крышка |
Тип А |
Тип В |
Тип А |
Тип В |
||||||
|
200 |
250 |
350 |
- |
8 |
- |
- |
2 |
2 |
- |
210 (2,10) |
- |
320 (3,20) |
Сталь |
222 |
- |
19,7 |
|
Алюминиевый сплав |
333 |
9,3 |
||||||||||||||
|
250 |
305 |
400 |
12 |
8 |
3 |
3 |
3 |
302 (3,02) |
134 (1,34) |
450 (4,50) |
200 (2,00) |
Сталь |
222 |
22,6 |
21,1 |
|
|
Алюминиевый сплав |
333 |
14,1 |
13,2 |
|||||||||||||
|
300 |
360 |
450 |
15 |
10 |
3 |
328 (3,28) |
146 (1,46) |
500 (5,00) |
220 (2,20) |
Сталь |
222 |
31,0 |
28,9 |
|||
|
Алюминиевый сплав |
333 |
19,0 |
17,3 |
|||||||||||||
|
350 |
410 |
500 |
12 |
241 (2,41) |
154 (1,54) |
360 (3,60) |
240 (2,40) |
Сталь |
222 |
36,7 47,0**) |
34,6 |
|||||
|
Алюминиевый сплав |
333 |
24,4 |
21,6 |
|||||||||||||
|
400 |
460 |
550 |
- |
- |
- |
- |
118 (1,18) |
- |
180 (1,80) |
Сталь |
222 |
- |
42,8 |
|||
|
Алюминиевый сплав |
333 |
24,7 |
||||||||||||||
|
450 |
510 |
600 |
15 |
Сталь |
222 |
52,3 |
||||||||||
|
Алюминиевый сплав |
333 |
29,4 |
||||||||||||||
|
*) Количество креплений включает откидные болты и петли с круглыми отверстиями. Петли с овальными отверстиями не являются креплением. **) Только для иллюминаторов с увеличенной высотой корпуса (4.1.5). Примечание - Условное обозначение класса материала: 2 - сталь; 3 - алюминиевый сплав. Первая цифра в графе «Условное обозначение класса материала» в таблице 3 обозначает материал корпуса, вторая - рамы, третья - штормовой крышки. |
||||||||||||||||
При применении в бортовых створчатых иллюминаторах типов А и В со штормовыми крышками (исполнения SB и SW) кольца на винтах для крепления стекла (взамен резьбового кольца) узел крепления стекла в раме должен соответствовать указанному на рисунке 3.
1 - корпус; 2 - рама; 3 - кольцо на винтах для крепления стекла
Рисунок 3 - Узел крепления стекла в бортовых створчатых иллюминаторах
3.5 Основные параметры и размеры бортовых стальных створчатых иллюминаторов типа О со штормовой крышкой должны соответствовать указанным на рисунке 4 и в таблице 4.
1 - кольцо на винтах для крепления стекла; 2 - корпус; 3 - петля; 4 - рама; 5 - стекло; 6 - штормовая крышка; 7 - уплотнительная прокладка; 8 - задрайка (откидной болт, гайка-барашек, ось); 9 - закладной штырь; 10 - цепочка
Рисунок 4 - Тип О
Таблица 4
|
D2 |
Толщина стекла S, мм |
Количество креплений, шт. |
Расчетное давление, кПа (кгс/см2) |
Материал |
Условное обозначение класса материала*) |
Масса, кг, не более |
|||
|
мм |
Рама |
Крышка |
статическое |
кратковременное динамическое |
|||||
|
200 |
356 |
8 |
2 |
2 |
210 (2,10) |
320 (3,20) |
Сталь |
222 |
10,4 |
|
*) Первая цифра в графе «Условное обозначение класса материала» обозначает материал корпуса, вторая - рамы, третья - штормовой крышки. |
|||||||||
3.6 Основные параметры и размеры бортовых створчатых иллюминаторов без штормовой крышки (исполнения LRB и LRW) должны соответствовать указанным на рисунках 5 и 6 и в таблице 5.
1 - корпус; 2 - петля; 3 - рама; 4 - стекло; 5 - резьбовое кольцо для крепления стекла; 6 - уплотнительная прокладка; 7 - задрайка (откидной болт, гайка-барашек, ось)
Рисунок 5 - Исполнение LRB
1 - корпус; 2 - петля; 3 - рама; 4 - стекло; 5 - резьбовое кольцо для крепления стекла; 6 - уплотнительная прокладка; 7 - задрайка (откидной болт, гайка-барашек, ось)
Рисунок 6 - Исполнение LRW
Таблица 5
|
D1 |
D2 |
Толщина стекла S, мм |
Количество креплений рамы, шт., не менее*) |
Расчетное давление, кПа (кгс/см2) |
Материал |
Условное обозначение класса материала**) |
Масса, кг, не более |
||
|
мм |
статическое |
кратковременное динамическое |
|||||||
|
250 |
305 |
400 |
8 |
3 |
134 (1,34) |
200 (2,00) |
Сталь |
220 |
17,2 |
|
Алюминиевый сплав |
330 |
9,5 |
|||||||
|
300 |
360 |
450 |
10 |
146 (1,46) |
220 (2,20) |
Сталь |
220 |
20,5 |
|
|
Алюминиевый сплав |
330 |
12,3 |
|||||||
|
350 |
410 |
500 |
12 |
154 (1,54) |
240 (2,40) |
Алюминиевый сплав |
330 |
16,2 |
|
|
*) Количество креплений включает откидные болты и петли с круглым отверстием. Петля с овальным отверстием не является креплением. **) Условное обозначение класса материала: 2 - сталь; 3 - алюминиевый сплав; 0 - составная часть отсутствует. Первая цифра в графе «Условное обозначение класса материала» обозначает материал корпуса, вторая - рамы, третья - штормовой крышки. |
|||||||||
При применении в бортовых створчатых иллюминаторах без штормовой крышки кольца на винтах для крепления стекла (взамен резьбового кольца) узел крепления стекла в раме должен соответствовать указанному на рисунке 3.
3.7 Основные параметры и размеры бортовых глухих иллюминаторов (исполнение NW) должны соответствовать указанным на рисунке 7 и в таблице 6.
1 - корпус; 2 - петля; 3 - уплотнительная прокладка; 4 - штормовая крышка; 5 - стекло; 6 - резьбовое кольцо для крепления стекла; 7 - задрайка (откидной болт, гайка-барашек, ось)
Рисунок 7 - Исполнение NW
Таблица 6
|
D1 |
Толщина стекла S, мм |
Количество креплений штормовой крышки, шт., не менее*) |
Расчетное давление, кПа (кгс/см2), не более |
Материал |
Условное обозначение класса материала***) |
Масса, кг, не более |
|||||||
|
статическое |
кратковременное динамическое |
||||||||||||
|
мм |
Тип А |
Тип В |
Тип А |
Тип В |
Тип А |
Тип В |
Тип А |
Тип В |
Тип А |
Тип В |
|||
|
200 |
250 |
10 |
8 |
2 |
2 |
328 (3,28) |
210 (2,10) |
500 (5,00) |
320 (3,20) |
Сталь |
202 |
14,8 |
12,8 |
|
250 |
305 |
12 |
3 |
302 (3,02) |
134 (1,34) |
450 (4,50) |
200 (2,00) |
20,9 |
15,5 |
||||
|
300 |
360 |
15 |
10 |
328 (3,28) |
146 (1,46) |
500 (5,00) |
220 (2,20) |
26,2 |
20,8 |
||||
|
350 |
410 |
- |
- |
241 (2,41) |
- |
360 (3,60) |
- |
31,7 56,7**) |
- |
||||
|
*) Количество креплений включает откидные болты и петли с круглыми отверстиями. Петли с овальными отверстиями не являются креплением. **) Только для иллюминаторов с увеличенной высотой корпуса (4.1.5). ***) Условное обозначение класса материала: 2 - сталь; 0 - составная часть отсутствует. Первая цифра в графе «Условное обозначение класса материала» обозначает материал корпуса, вторая - рамы, третья - штормовой крышки. |
|||||||||||||
При применении в бортовых глухих иллюминаторах кольца на винтах для крепления стекла (взамен резьбового кольца) узел крепления стекла в корпусе должен соответствовать указанному на рисунке 8.
1 - корпус; 2 - кольцо на винтах
Рисунок 8 - Узел крепления стекла в бортовых глухих иллюминаторах
3.8 Основные параметры и размеры универсальных иллюминаторов (исполнения UOB, UPB) должны соответствовать указанным на рисунках 9 и 10 и в таблице 7.
1 - корпус; 2 - стекло; 3 - пруток; 4 - герметизирующий материал
Рисунок 9 - Исполнение UOB
1 - корпус; 2 - стекло; 3 - герметизирующий материал
Рисунок 10 - Исполнение UPB
Таблица 7
|
D1 |
Толщина стекла S, мм |
Количество прутков ограждения, шт. |
Материал |
Условное обозначение класса материала*) |
Масса, кг, не более |
|||
|
мм |
закаленного |
армированного |
UPB |
UOB |
||||
|
200 |
280 |
8 |
10 |
3 |
Сталь |
200 |
1,9 |
2,3 |
|
Алюминиевый сплав |
300 |
1,3 |
1,4 |
|||||
|
250 |
330 |
- |
4 |
Сталь |
200 |
2,7 |
3,3 |
|
|
Алюминиевый сплав |
300 |
1,7 |
1,9 |
|||||
|
300 |
380 |
10 |
5 |
Сталь |
200 |
3,8 |
4,7 |
|
|
Алюминиевый сплав |
300 |
2,7 |
3,1 |
|||||
|
*) Условное обозначение класса материала: 2 - сталь; 3 - алюминиевый сплав; 0 - составная часть отсутствует. Первая цифра в графе «Условное обозначение класса материала» обозначает материал корпуса, вторая - рамы, третья - штормовой крышки. |
||||||||
3.9 Размеры паза для стекла и кольца для крепления стекла в корпусе (раме) иллюминатора должны соответствовать указанным на рисунках 11 - 13 и в таблице 8.
а - при применении резьбового кольца; б - при применении кольца на винтах;
1 - кольцо для крепления стекла; 2 - предохранительная прокладка; 3 - стекло; 4 - уплотнительная прокладка; 5 - прокладочное кольцо
Рисунок 11 - Размеры паза для стекла и кольца для крепления стекла в раме бортовых створчатых иллюминаторов

а - при применении резьбового кольца; б - при применении кольца на винтах;
1 - кольцо для крепления стекла; 2 - предохранительная прокладка; 3 - стекло; 4 - уплотнительная прокладка; 5 - прокладочное кольцо
Рисунок 12 - Размеры паза для стекла и кольца для крепления стекла в корпусе бортовых глухих иллюминаторов
1 - стекло; 2 - герметизирующий материал; 3 - корпус
Рисунок 13 - Размеры паза для стекла в универсальных иллюминаторах
Таблица 8
В миллиметрах
|
D3 |
D4 |
D5 |
D6 |
|||
|
для иллюминаторов |
||||||
|
из стали |
из алюминиевого сплава |
|||||
|
глухих |
створчатых |
створчатых |
||||
|
200 |
213 - 215 |
217 |
М220´2 |
256 |
270 |
240 |
|
250 |
263 - 265 |
267 |
М270´2 |
310 |
320 |
290 |
|
300 |
316 - 319 |
322 |
М325´2 |
366 |
370 |
340 |
|
350 |
366 - 369 |
372 |
М375´2 |
350 |
420 |
390 |
|
400 |
416 - 419 |
422 |
М425´2 |
- |
470 |
440 |
|
450 |
466 - 469 |
472 |
М475´2 |
- |
520 |
- |
|
Примечание - Конструкторская документация на иллюминаторы с применением крепления стекла планкой на винтах разрабатывается по заявкам предприятий. |
||||||
3.10 Установочные размеры уплотнительных прокладок рамы и штормовой крышки бортовых иллюминаторов должны соответствовать указанным на рисунке 14.
1 - рама (крышка); 2 - уплотнительная прокладка; 3 - корпус
Рисунок 14
3.11 Схемы условного обозначения иллюминаторов
3.11.1 Схема условного обозначения иллюминаторов типов А, В и О

Примеры условных обозначений:
Круглый бортовой иллюминатор тяжелого типа с номинальным размером 250 мм, глухой, со штормовой крышкой, крепление сваркой, условное обозначение материала 202, с полированным прозрачным стеклом:
Иллюминатор A 250-NW-202-VI ГОСТ 19261-98
То же, створчатый, условное обозначение материала 222:
Иллюминатор A 250-SW-222-VI ГОСТ 19261-98
То же, нормального типа без штормовой крышки:
Иллюминатор В 250-LRW-220-VI ГОСТ 19261-98
То же, облегченного типа со штормовой крышкой, крепление болтами:
Иллюминатор О 250-SB-222-VI ГОСТ 19261-98
3.11.2 Схема условного обозначения универсального иллюминатора

Примеры условных обозначений:
Круглый универсальный иллюминатор с номинальным размером 200 мм, без ограждения, крепление болтами, условное обозначение материала 300, с полированным прозрачным стеклом:
Иллюминатор 200-UPB-300-VI ГОСТ 19261-98
То же, с ограждением, условное обозначение материала 200:
Иллюминатор 200-UOB-200-VI ГОСТ 19261-98
То же, с ограждением, условное обозначение материала 300, с армированным стеклом:
Иллюминатор 200-UOB-300-3 ГОСТ 19261-98
4.1.1 Иллюминаторы должны изготовляться в соответствии с требованиями настоящего стандарта и по рабочим чертежам, утвержденным в установленном порядке.
4.1.2 Рама и штормовая крышка бортового иллюминатора должны открываться внутрь помещения вверх.
Для фиксирования рам и крышек в открытом положении на иллюминаторах должны быть установлены стопоры.
Угол открывания иллюминатора должен быть 80°, 95° или 105° (для иллюминаторов типа О - не более 120°).
4.1.3 Уплотнительные прокладки рам и штормовых крышек должны быть равномерно обжаты при задраивании иллюминатора.
При этом деформация прокладок от вдавливания уплотняющего буртика должна быть не менее 1,5 мм.
4.1.4 В бортовых створчатых иллюминаторах типа А, предназначенных для судов, поднадзорных Морскому Регистру, одна из задраек рамы должна быть со специальной гайкой, отвинчиваемой специальным ключом.
4.1.5 При внедрении в заказах модульной системы формирования и отделки судовых помещений М-100 могут быть установлены иллюминаторы с увеличенной высотой корпуса. Изготовление таких иллюминаторов - по конструкторской документации, утвержденной в установленном порядке.
4.1.6 В иллюминаторах должны быть установлены стекла по ГОСТ 9424.
4.1.7 В универсальных иллюминаторах с номинальным размером 200 мм допускается устанавливать незакаленное стекло, армированное металлической сеткой и изготовленное по техническим условиям на стекло конкретного вида.
4.1.8 Для герметизации стекол и изготовления уплотнительных прокладок, рам и штормовых крышек должны применяться герметизирующие материалы (резина или герметик), устойчивые к воздействию ультрафиолетовых лучей и условиям эксплуатации, указанным в 4.3.1.
Примечание - Установку стекла на герметик необходимо производить с равномерным зазором по контуру, не допуская непосредственного контакта с металлом.
4.1.9 Твердость резины по Шору должна быть не более 50 единиц по ГОСТ 263 для уплотнительных прокладок рам и штормовых крышек и не более 80 единиц - для уплотнительных прокладок стекол.
4.1.10 Защитные покрытия металлических деталей иллюминаторов должны соответствовать требованиям стандартов на конкретные покрытия. Вид и толщина покрытий - по конструкторской документации, утвержденной в установленном порядке.
4.1.11 Трущиеся и резьбовые поверхности должны быть покрыты смазкой АМС-3 по ГОСТ 2712.
4.1.12 На поверхности иллюминаторов не должно быть механических повреждений и деформаций, не допускаются трещины, раковины, царапины, сколы и вмятины, снижающие прочность, водонепроницаемость и товарный вид изделия.
4.2.1 Средний срок службы иллюминаторов - 25 лет со дня сдачи судна в эксплуатацию.
4.2.3 Срок сохраняемости изделия: при условии хранения 2 (О) по ГОСТ 15150 - 20 лет с переконсервацией через 5 лет; при условии хранения 5 (ОЖ4) по ГОСТ 15150 - 20 лет с переконсервацией через 1 год.
4.3.2 Иллюминаторы должны изготовляться климатического исполнения ОМ категории 1 по ГОСТ 15150.
4.3.3 Иллюминаторы должны быть прочными при действии расчетных давлений (таблицы 3 - 6) и водонепроницаемыми при действии испытательных давлений, указанных в таблице 11.
4.4.1 Основные составные части и детали иллюминаторов должны быть изготовлены из материалов, указанных в таблице 9.
Таблица 9
|
Материал составных частей и деталей |
Применяемость |
||
|
Корпус |
Сталь |
Иллюминаторы бортовые створчатые, глухие, универсальные |
|
|
Алюминиевый сплав |
Иллюминаторы бортовые створчатые типов А и В, универсальные |
||
|
Рама |
Сталь |
Иллюминаторы бортовые створчатые |
|
|
Алюминиевый сплав |
Иллюминаторы бортовые створчатые типов А и В |
||
|
Штормовая крышка |
Сталь |
Иллюминаторы бортовые створчатые и глухие |
|
|
Алюминиевый сплав |
Иллюминаторы бортовые створчатые типов А и В |
||
|
Кольцо для крепления стекла |
резьбовое |
Алюминиевый сплав |
Иллюминаторы бортовые из алюминиевого сплава |
|
Бронза, латунь |
Иллюминаторы бортовые стальные |
||
|
на винтах |
Сталь |
Иллюминаторы бортовые стальные |
|
|
Алюминиевый сплав |
Иллюминаторы бортовые из алюминиевого сплава |
||
|
Откидной болт |
Нержавеющая сталь, бронза |
Иллюминаторы бортовые створчатые и глухие |
|
|
Гайка-барашек |
Латунь |
||
|
Гайка специальная |
Нержавеющая сталь, латунь |
Иллюминаторы бортовые створчатые типа А |
|
|
Примечание - В бортовых иллюминаторах экспортного исполнения из алюминиевого сплава должны применяться откидные болты и гайки только из нержавеющей стали. |
|||
4.4.2 Механические характеристики материалов, из которых должны изготовляться составные части и детали иллюминаторов, указаны в таблице 10.
Таблица 10
|
Предел прочности материала составных частей и деталей, мН/м2 (кгс/см2), не менее |
Относительное удлинение материала, %, не менее |
|
|||||||
|
Тип бортового иллюминатора |
Универсальный иллюминатор |
Тип бортового иллюминатора |
Универсальный иллюминатор |
|
|||||
|
А |
В |
О |
А |
В |
О |
|
|||
|
Корпус |
300 (30,0) |
180 (18,0) |
180 (18,0) |
15 |
10 |
10 |
|
||
|
Рама |
- |
- |
|
||||||
|
Штормовая крышка |
|
||||||||
|
Резьбовое кольцо |
|
||||||||
|
Откидной болт |
350 (35,0) |
20 |
15 |
||||||
|
Ось петли или откидного болта |
|
||||||||
|
Гайка-барашек |
250 (25,0) |
250 (25,0) |
14 |
14 |
|
||||
|
Гайка специальная |
- |
- |
|
||||||
|
Кольцо на винтах |
300 (30,0) |
180 (18,0) |
15 |
10 |
|
||||
|
|||||||||
4.5.1 В комплект поставки входят:
для бортовых иллюминаторов:
иллюминатор в сборе - 1 шт.;
ключ для монтажа резьбового кольца (при креплении стекла резьбовым кольцом);
комплект запасных инструментов и принадлежностей (ЗИП);
для универсальных иллюминаторов:
корпус - 1 шт.;
стекло - 1 шт.;
комплект ЗИП.
Примечание - Поставляемое количество ключей для монтажа резьбового кольца в бортовых иллюминаторах определяется потребителем из расчета два ключа на заказ.
4.5.2 В комплект ЗИП входят:
для бортовых иллюминаторов:
стекло - 1 шт.;
уплотнительные прокладки рамы и штормовой крышки - 1 шт. каждого типоразмера;
для универсальных иллюминаторов:
стекло - 1 шт.;
уплотнение (герметик) - 0,06 кг.
Примечания
1 По согласованию с предприятием-потребителем допускается поставлять иллюминаторы без стекол. В этом случае уплотнительные прокладки рамы (крышки) предприятие-изготовитель иллюминаторов поставляет не вклеенными в пазы.
Стекла, включая предусмотренные комплектом ЗИП, а также герметизирующий материал (при установке стекол на герметик) должны быть заказаны предприятием-потребителем.
2 Исполнения иллюминаторов и их составных частей, входящих в комплект поставки, - согласно конструкторской документации и договору на поставку иллюминаторов.
4.6.1 Каждый из иллюминаторов должен иметь маркировку, содержащую:
наименование или товарный знак предприятия-изготовителя;
условное обозначение иллюминатора;
обозначение основного конструкторского документа;
клеймо заказчика и букву «З» (для изделий заказчика);
дату изготовления (месяц, год);
клеймо ОТК предприятия-изготовителя.
надпись по условиям контракта или «Сделано в ...» (страна-изготовитель изделия);
условное обозначение иллюминатора;
обозначение основного конструкторского документа;
дату изготовления (месяц, год);
клеймо предприятия-изготовителя.
4.6.4 Транспортная маркировка ящиков с иллюминаторами, поставляемыми со стеклами, или ящиков со стеклами для иллюминаторов должна содержать основные, дополнительные информационные надписи и манипуляционные знаки: «Хрупкое. Осторожно», «Верх», «Беречь от влаги» в соответствии с ГОСТ 14192.
4.7.1 Негрунтованные поверхности иллюминаторов должны быть законсервированы по варианту временной защиты ВЗ-4 ГОСТ 9.014. Законсервированные поверхности иллюминаторов должны быть упакованы по варианту внутренней упаковки ВУ-0 ГОСТ 9.014.
4.7.2 Иллюминаторы поставляют без упаковки в контейнерах по ГОСТ 18477 или упаковывают в деревянные ящики с распорками типа I по ГОСТ 10198 или типа III по ГОСТ 2991.
При поставке иллюминаторов в контейнере иллюминаторы устанавливают горизонтально и прочно раскрепляют прокладками, исключающими их перемещение.
4.7.3 Ящики, предназначенные для упаковывания иллюминаторов, поставляемых на экспорт, должны соответствовать требованиям ГОСТ 24634.
4.7.4 Иллюминаторы с неустановленными стеклами допускается транспортировать пакетами в сварных металлических каркасах, изготовленных по конструкторским документам, утвержденным в установленном порядке. Размеры пакетов не должны превышать 1240 мм´800 мм´1350 мм (масса брутто пакета - не более 1,25 т) в соответствии с ГОСТ 24597.
4.7.5 Стекла и прокладки упаковывают в соответствии с требованиями ГОСТ 9424 (для закаленных стекол) и действующей нормативной документации (для других видов стекол).
5.1 Для проверки соответствия иллюминаторов требованиям настоящего стандарта проводят приемосдаточные испытания.
5.2 Иллюминаторы для приемки предъявляют партиями.
Каждая партия должна состоять из иллюминаторов одного типоразмера, одинаковые детали которых изготовлены из одного материала с применением одной технологии, и поставляемых по одному документу.
Количество изделий в партии не должно превышать 100 шт.
5.3 При приемосдаточных испытаниях проводят сплошной контроль на соответствие 4.1.2, 4.1.4, 4.1.12, 4.5, 4.5.1, 4.5.2, 4.6.1, 4.6.2, 4.6.3, 4.6.4 и выборочный контроль на соответствие 4.1.1, 4.1.3, 4.4.1 на 5 % иллюминаторов от партии, но не менее чем на двух иллюминаторах, а также на соответствие 4.3.2 в части водонепроницаемости иллюминаторов.
Примечание - Универсальные иллюминаторы на соответствие требованиям 4.1.2, 4.1.3, 4.1.4, 4.3.2 не проверяют.
5.4 Если при испытаниях по 5.3 будут обнаружены иллюминаторы, не соответствующие требованиям настоящего стандарта, партию возвращают для разбраковывания и устранения дефектов.
После разбраковывания и устранения дефектов проводят повторные испытания. Результаты повторных испытаний распространяют на всю партию.
5.5 Требования 4.2.2, 4.3.1, 4.3.2, 4.3.3 обеспечиваются выбором материала, защитных покрытий и конструкций иллюминаторов, а также входным контролем качества материалов и соответствия допустимых сроков их хранения.
5.6 Три образца от первой партии серийно изготовленных иллюминаторов со штормовыми крышками должны быть испытаны предприятием-изготовителем на механическую прочность без стекла, с закрытой крышкой.
Если при испытаниях на механическую прочность будут обнаружены иллюминаторы, не соответствующие требованиям 4.3.3, партию возвращают для разбраковывания и устранения дефектов.
После разбраковывания и устранения дефектов проводят повторные испытания. Результаты повторных испытаний распространяют на всю партию.
5.7 Для проверки водонепроницаемости отбирают 10 % иллюминаторов от партии, но не менее двух штук.
Если при испытаниях на водонепроницаемость будут обнаружены иллюминаторы, не соответствующие требованиям 4.3.3, испытаниям подвергают удвоенное число иллюминаторов из этой же партии.
Если при повторных испытаниях будут обнаружены иллюминаторы, не соответствующие требованиям 4.3.3, испытаниям подвергают все иллюминаторы. Результаты этих испытаний распространяют на всю партию.
Примечание - По согласованию с заказчиком и органами технического надзора испытания иллюминаторов на водонепроницаемость могут не проводиться.
5.8 Соответствие иллюминаторов требованиям, установленным в 4.1.5, 4.1.9, 4.1.10, 4.4.1, проверяют при проведении операционного контроля.
Примечание - Универсальные иллюминаторы на соответствие 4.1.9 не проверяют.
6.1 Контроль конструкции и размеров иллюминаторов (4.1.2, 4.1.4, 4.4.1) проводят сличением с чертежами и проверкой размеров с помощью измерительных инструментов, обеспечивающих требуемую точность.
6.2 Контроль внешнего вида иллюминаторов, комплектности и маркировки (3.2, 4.1.12, 4.5.1, 4.5.2, 4.5.3, 4.6.1, 4.6.2, 4.6.3) проводят внешним осмотром.
6.3 Равномерность прилегания уплотнительных прокладок рам и штормовых крышек к буртикам корпусов и рам иллюминаторов (4.1.3) проверяют по меловому отпечатку:
на уплотнительные буртики рамы или корпуса наносят слой мела, излишки мела удаляют; обжимают резину на глубину не более 1 мм.
Меловой отпечаток должен быть в центре уплотняющей прокладки с учетом поля допуска. Разрыв мелового отпечатка не допускается.
6.4 Контроль марок материалов (4.1.6 - 4.1.9, 4.4.1, 4.4.2) проводят по документам качества или по данным лабораторных испытаний и анализа предприятия-изготовителя.
6.5 Контроль массы иллюминаторов проводят взвешиванием на весах с ценой деления не более 0,1 кг.
6.6 На механическую прочность и водонепроницаемость иллюминаторы проверяет предприятие-изготовитель в такой последовательности: иллюминатор устанавливают на стенд и закрепляют в рабочем положении. В камере стенда постепенно, со скоростью не более 45 кПа (0,45 кгс/см2) в минуту, механическим или ручным насосом создают испытательное давление, измеряемое манометром класса точности 1,5 - 2,5 с пределом измерения не менее 1,5 испытательного давления.
6.7 На механическую прочность (4.3.3) иллюминаторы проверяют давлением, превышающим в 1,25 раза расчетное давление, указанное в таблицах 3-6.
6.8 Иллюминаторы считают прочными, если после сброса давления остаточные деформации рамы и штормовой крышки не превышают 1 % номинального размера иллюминатора.
6.9 На водонепроницаемость (4.3.3) иллюминаторы проверяют со стеклом и открытой крышкой (при наличии), а также без стекла, с закрытой крышкой (при наличии), гидростатическим давлением, указанным в таблице 11.
Таблица 11
|
Испытательное давление, кПа (кгс/см2) |
|||
|
Иллюминатор со стеклом и открытой крышкой*) |
Иллюминатор без стекла и с закрытой крышкой |
||
|
Бортовой |
Тип А |
150 (1,50) |
100 (1,00) |
|
Тип В |
75 (0,75) |
50 (0,50) |
|
|
Тип О |
35 (0,35) |
35 (0,35) |
|
|
Универсальный |
75 (0,75) |
- |
|
|
*) Иллюминаторы, устанавливаемые на кораблях, судах и плавсредствах заказчика, проверяют на водонепроницаемость давлением: - 200 кПа (2,00 кгс/см2) - бортовой типа А; - 100 кПа (1,00 кгс/см2) - бортовой типа В; - 50 кПа (0,50 кгс/см2) - бортовой типа О; - 100 кПа (1,00 кгс/см2) - универсальный. |
|||
6.10 Иллюминатор считают водонепроницаемым, если на его контрольной поверхности при испытании в течение 3 мин не будут обнаружены течи в виде струй, потеков и капель.
7.1 Транспортирование иллюминаторов в таре и пакетами должно осуществляться любым видом транспорта (железнодорожным, воздушным, автомобильным, водным). Иллюминаторы в контейнерах транспортируют железнодорожным, автомобильным и водным видами транспорта.
Транспортирование иллюминаторов любым транспортом перечисленных видов производят в соответствии с правилами перевозок и техническими условиями погрузки и крепления грузов, действующими на транспорте данного вида, при соблюдении условий хранения 5 (ОЖ4) или 8 (ОЖ3) по ГОСТ 15150.
Вид отправки указывает предприятие-изготовитель иллюминаторов в зависимости от объема отправляемой партии.
7.2 При транспортировании иллюминаторов контейнерами (или пакетами) к каждому из них должен быть жестко прикреплен ярлык, на котором несмываемой краской должна быть нанесена транспортная маркировка, содержащая основные, дополнительные и информационные надписи в соответствии с ГОСТ 14192.
7.3 Иллюминаторы должны храниться изготовителем и потребителем на складах закрытого типа по группе 2 (С) по ГОСТ 15150.
8.1 Виды и объемы технического обслуживания в процессе технической эксплуатации иллюминаторов - в соответствии с действующей нормативной документацией.
8.2 Монтаж иллюминаторов на судне необходимо выполнять в соответствии с требованиями действующей нормативной документации, устанавливающей типовые технологические процессы монтажа иллюминаторов на заказе, а также требованиями конструкторской документации, устанавливающей конструктивно-монтажные узлы крепления иллюминаторов.
9.1 Изготовитель гарантирует соответствие иллюминаторов требованиям настоящего стандарта при соблюдении потребителем условий транспортирования, хранения, монтажа и эксплуатации.
9.2 Гарантийный срок эксплуатации иллюминаторов - 14 мес, а для кораблей и судов заказчика - 5 лет со дня подписания приемного акта на заказ. При этом гарантийный срок эксплуатации иллюминаторов должен быть не менее гарантийного срока эксплуатации корабля (судна) после его постройки и подписания приемного акта на судно.
9.3 Гарантийный срок эксплуатации иллюминаторов, поставляемых на экспорт, - 24 мес с момента проследования их через государственную границу государства - изготовителя (поставщика) иллюминаторов.
(рекомендуемое)
А.1 Щитки изготовляют трех типов:
I - предохранительные для бортовых створчатых иллюминаторов без штормовых крышек;
II - предохранительные для универсальных иллюминаторов;
III - затемнительные для универсальных иллюминаторов.
А.2 Основные параметры и размеры щитков должны соответствовать указанным на рисунках А.1 - А.3 и в таблице А.1.
1 - щиток; 2 - прокладка; 3 - иллюминатор
Рисунок А.1 - Тип I

1 - щиток; 2 - задрайка (болт, барашек); 3 - резиновый шнур; 4 - иллюминатор
Рисунок А.2 - Тип II
1 - щиток; 2 - прокладка; 3 - задрайка (шпилька, барашек); 4 - иллюминатор
Рисунок А.3 - Тип III
А.3 Схема условного обозначения щитов.
|
X |
XXX |
XX |
|
|||
|
|
|
|
|
|
|
Материал корпуса щитка: ЛС - для щитков из алюминиевого сплава; для стальных щитков обозначение материала не указывают |
|
Номинальный размер иллюминатора |
||||||
|
Тип щитка (I, II или III) |
||||||
Примеры условных обозначений:
Предохранительный щиток типа I для иллюминаторов с номинальным размером 200 мм, из алюминиевого сплава:
Щиток I 200 ЛС
То же, типа II для иллюминаторов с номинальным размером 200 мм, стальной:
Щиток II 200
Затемнительный щиток типа III для иллюминаторов с номинальным размером 200 мм, из алюминиевого сплава:
Щиток III 200 ЛС
Таблица А.1
|
D1, мм |
S, мм |
R, мм |
Количество креплений, шт. |
Материал |
Масса, кг, не более |
||||||||||
|
Тип щитка |
|||||||||||||||
|
I |
II |
III |
I |
II |
III |
I |
II |
I, II |
I |
II |
III |
I |
II |
III |
|
|
200 |
227 |
320 |
325 |
4 |
3 |
2 |
240 |
800 |
2 |
Алюминиевый сплав |
Сталь |
Алюминиевый сплав |
0,5 |
2,6 |
0,5 |
|
4 |
Алюминиевый сплав |
1,3 |
|||||||||||||
|
250 |
282 |
370 |
285 |
3 |
Сталь |
0,8 |
3,3 |
0,6 |
|||||||
|
4 |
Алюминиевый сплав |
1,6 |
|||||||||||||
|
300 |
337 |
425 |
340 |
3 |
570 |
Сталь |
1,2 |
4,0 |
0,8 |
||||||
|
4 |
Алюминиевый сплав |
2,0 |
|||||||||||||
|
350 |
387 |
- |
- |
- |
- |
- |
- |
- |
- |
1,4 |
- |
- |
|||
|
400 |
437 |
820 |
1,8 |
||||||||||||
|
450 |
487 |
920 |
2,3 |
||||||||||||
Ключевые слова: иллюминаторы судовые круглые, классификация, основные параметры, технические требования, требования безопасности, правила приемки, методы контроля, транспортирование, хранение, условия эксплуатации, гарантии изготовителя