Настоящий стандарт распространяется на желтый железо-окисный синтетический неорганический пигмент, представляющий собой моногидрат окиси железа.
| Обозначение: | ГОСТ 18172-80 |
| Название рус.: | Пигмент желтый железоокисный. Технические условия |
| Статус: | действует |
| Заменяет собой: | ГОСТ 18172-72 «Пигмент желтый железоокисный» |
| Дата актуализации текста: | 05.05.2017 |
| Дата добавления в базу: | 01.09.2013 |
| Дата введения в действие: | 01.01.1981 |
| Утвержден: | 31.01.1980 Госстандарт СССР (USSR Gosstandart 494) |
| Опубликован: | Издательство стандартов (1987 г. ) |
| Ссылки для скачивания: |

ГОСУДАРСТВЕННЫЙ СТАНДАРТ СОЮЗА ССР
ПИГМЕНТ ЖЕЛТЫЙ ЖЕЛЕЗООКИСНЫЙ
ТЕХНИЧЕСКИЕ УСЛОВИЯ
ГОСТ 18172-80
ГОСУДАРСТВЕННЫЙ КОМИТЕТ СССР ПО СТАНДАРТАМ
Москва
ГОСУДАРСТВЕННЫЙ СТАНДАРТ СОЮЗА ССР
|
ПИГМЕНТ ЖЕЛТЫЙ ЖЕЛЕЗООКИСНЫЙ Технические условия Yellow
iron oxide. |
ГОСТ Взамен |
|
Постановлением Государственного комитета СССР по стандартам от 31 января 1980 г. № 494 срок введения установлен с 01.01.81 |
|
|
Проверен в 1985 г. Постановлением Госстандарта от 13.11.85 № 3594 срок действия продлен до 01.01.91 |
|
Настоящий стандарт распространяется на желтый железо-окисный синтетический неорганический пигмент, представляющий собой моногидрат окиси железа.
(Измененная редакция, Изм. № 2).
1.1. Желтый железоокисный пигмент в зависимости от цвета и применения должен выпускаться следующих марок, указанных в табл. 1.
|
Марка |
Назначение |
|
Ж-0 |
Лакокрасочные материалы для покрытий высокой атмосферостойкости и с высокими декоративными свойствами (класс покрытий I и II по ГОСТ 9.032-74); художественные краски, а также высококачественные изделия кожевенной, бумажной, керамической и резиновой промышленности |
|
Ж-1 |
Лакокрасочные материалы для покрытий повышенной атмосферостойкости с хорошими декоративными свойствами (класс покрытия II и III по ГОСТ 9.032-74); художественные краски, а также для керамической, кожевенной, бумажной и резиновой промышленности |
|
Ж-2 |
Лакокрасочные материалы, эксплуатируемые в атмосферных условиях и внутри помещения, а также для строительной промышленности |
(Измененная редакция, Изм. № 2).
1.2. Пигменты должны изготовляться в соответствии с требованиями настоящего стандарта по технологическому регламенту, утвержденному в установленном порядке.
1.3. Образцы цвета и красящей способности утверждаются в установленном порядке.
1.4. По физико-химическим показателям пигмент должен соответствовать требованиям и нормам, указанным в табл. 2.
|
Наименование показателя |
Норма для марки |
Метод испытания |
|||
|
Ж-0 |
Ж-1 |
Ж-2 |
|||
|
Высший сорт ОКП |
Первый сорт ОКП |
ОКП |
ОКП |
||
|
1. Цвет |
|||||
|
а) инструментальный метод определения - полное цветовое различие DЕ, не более |
6 |
6 |
6 |
6 |
По ГОСТ 16873-78 и п. 4.2 настоящего стандарта |
|
б) визуальный метод определения |
В пределах допусков цвета паст, утвержденных образцов каждой марки |
||||
|
2. Массовая доля соединений железа в пересчете на Fe2O3, %, не менее |
87 |
86 |
85 |
84 |
По п. 4.3 |
|
3. Массовая доля веществ, растворимых в воде, %, не более |
0,3 |
0,5 |
0,8 |
По ГОСТ 21119.2-75 и п. 4.4 настоящего стандарта |
|
|
4. Массовая доля летучих веществ, %, не более |
0,5 |
1,0 |
1.5 |
По ГОСТ 21119.1-75 и п. 4.5 настоящего стандарта |
|
|
5. рН водной суспензии |
4,5 - 7,0 |
4,0-7,0 |
4,0-7,0 |
По ГОСТ 21119.3-75 |
|
|
6. Диспергируемость за 30 мин, мкм, не более |
15 |
20 |
25 |
25 |
По п. 4.6 |
|
7. Маслоемкость, г/100 г пигмента |
30 - 50 |
35-60 |
35-60 |
По ГОСТ 21119.8-75 и п. 4.7 настоящего стандарта |
|
|
8. Укрывистость, г/м2, не более |
15 |
20 |
20 |
По ГОСТ 8784-75 и п. 4.8 настоящего стандарта |
|
|
9. Относительная красящая способность, %, не менее |
100 |
95 |
95 |
По ГОСТ 16872-78 и п. 4.9 настоящего стандарта |
|
|
10. Остаток после мокрого просеивания на сите с сеткой 0063, %, не более |
0,01 |
0,08 |
0,20 |
0,30 |
По ГОСТ 21119.4-75 и п. 4.10 настоящего стандарта |
|
11. Остаток после сухого просеивания на сите с сеткой 016, %, не более |
0,05 |
0,05 |
Не нормируется |
По ГОСТ 21119.4-75 и п. 4.11 настоящего стандарта |
|
Примечание. Марка Ж-0 может быть переведена в марку Ж-1, а марка Ж-1 в Ж 2 при отклонении одного из показателей до нормы низшей марки при условии сохранения цвета лучшей марки, а маслоемкости низшей марки. Норма по показателю "диспергируемость" не является браковочной до 01.01.93. Определение обязательно с 01.01.91.
(Измененная редакция, Изм. № 1, 2).
2.1. Пигмент пожаро- и взрывобезопасен.
2.2. Предельно допустимая концентрация пигмента в воздухе рабочей зоны производственных помещений - 10 мг/м3 класс опасности 4.
2.3. При производстве пигмента и в производственных помещениях, в которых используется этот пигмент, необходимо соблюдать «Санитарные правила организации технологических процессов и гигиенические требования к производственному оборудованию» № 554-65, утвержденные Министерством здравоохранения СССР.
3.1. Правила приемки - по ГОСТ 9980.1-86.
Относительную красящую способность и маслоемкость пигмента определяют периодически по требованию потребителя.
(Измененная редакция, Изм. № 1).
3.2. Показатель «остаток после сухого просеивания» по пункту 11 табл. 2 нормируется для пигмента, предназначенного для резиновой промышленности.
4.1. Отбор проб - по ГОСТ 9980.2-86.
4.2. Определение цвета
4.2.1. Инструментальный метод
Полное цветовое различие DЕ определяют в пасте по ГОСТ 16873-78 на приборах типа «Радуга», «Спектротон» или «Пульсар» при геометрии измерения диф/8° с учетом зеркальной составляющей, при этом для получения пасты берут 3,00 г пигмента и 3,0-4,0 см3 льняного масла.
В качестве образца сравнения используют пасты образцов цвета желтого железоокисного пигмента каждой марки, светлый допуск, утвержденные в установленном порядке. Допускается в качестве образца сравнения использовать пасту образца цвета желтого железоокисного пигмента, согласованного с конкретным потребителем.
За результат испытаний принимают среднее арифметическое результатов двух параллельных определений, абсолютное расхождение между которыми не превышает допускаемое расхождение, равное 1,5. Допускаемая абсолютная суммарная погрешность результата анализа ±1,5 при доверительной вероятности 0,95. Окончательный результат округляют до целого числа.
(Измененная редакция, Изм. № 2).
4.2.2. Визуальный метод
При визуальной оценке цвет пигмента определяют в пасте в полном тоне по ГОСТ 16873-78 относительно паст двух утвержденных образцов каждой марки, при этом для получения пасты берут 0,3 - 0,4 см3льняного масла.
При разногласиях определение проводят инструментальным методом.
(Измененная редакция, Изм. № 2).
4.3. Определение массовой доли железа в пересчете на Fe2O3
4.3.1. Реактивы и растворы
Кислота соляная по ГОСТ 3118-77, ч. д. а., разбавленная 1:1.
Кислота сульфосалициловая по ГОСТ 4478-78, ч. д. а., с массовой долей кислоты в растворе, 5 %.
Аммиак водный по ГОСТ 3760-79 с массовой долей аммиака 10 %.
Натрий уксуснокислый по ГОСТ 199-78, ч. д. а., насыщенный раствор.
Аммоний азотнокислый по ГОСТ 22867-77, ч. д. а., с массовой долей в растворе 2 %.
Стандартный раствор Fе с массовой концентрацией 1 мг/см3 готовят по ГОСТ 4212-76.
Этилендиаминтетрауксусной кислоты динатриевая соль (трилон Б) по ГОСТ 10652-73, раствор концентрации с (С10Н14О8N2Nа2×2Н20)=0,05 моль/дм3 (0,05 М); готовят и сохраняют раствор по ГОСТ 10398-76, разд. 3. Допускается приготовление из фиксанала.
Бумага индикаторная универсальная.
Вода дистиллированная по ГОСТ 6709-72.
Весы лабораторные общего назначения по ГОСТ 24104-88 2-го класса точности с наибольшим пределом взвешивания 200 г или весы аналогичного типа.
(Измененная редакция, Изм. № 1, 2).
4.3.2а. Определение массы железа, соответствующей 1 см3 раствора трилона Б
50 см3 стандартного раствора железа помещают в коническую колбу вместимостью 250 см3 и разбавляют водой до 100 см3 и далее определение проводят по п. 4.3.2.
Массу железа (А) в граммах, соответствующую 1 см3 раствора трилона Б, вычисляют по формуле
,
где V1 - объем стандартного раствора железа, взятый для титрования, см3,
V - объем раствора трилона Б, израсходованный на титрование, см3;
т - масса железа в 1 см3 стандартного раствора, г.
(Введен дополнительно, Изм. № 1).
4.3.2. Проведение испытания
0,1000 г пигмента, высушенного при (105 ± 5) °С в течение 2 ч, помещают в коническую колбу вместимостью 250 см3 и растворяют при нагревании в 30 см3 раствора соляной кислоты. Раствор охлаждают, разбавляют водой до 100 см3 и, добавляя раствор уксуснокислого натрия, доводят рН раствора до 2 - 3 по универсальной индикаторной бумаге. Приливают 5 см3 раствора сульфосалициловой кислоты, нагревают до 50 - 70 °С и титруют раствором трилона Б до перехода окраски из темно-вишневой в лимонно-желтую.
(Измененная редакция, Изм. № 2).
4.3.3. Обработка результатов
Массовую долю соединения железа в пересчете на Fe2O3 (Х1) в процентах вычисляют по формуле
,
где V - объем раствора трилона Б, израсходованный на титрование, см3;
А - масса железа, соответствующая 1 см3 раствора трилона Б с концентрацией 0,05 моль/дм3;
1,4297 - коэффициент пересчета Fe на Fe2O3;
т - масса навески пигмента, г.
За результат испытания принимают среднее арифметическое двух параллельных определений, допускаемые расхождения между которыми не должны превышать 0,5 % (Р1 = 0,95).
4.3.2, 4.3.3. (Измененная редакция, Изм. № 1).
4.4. Массовую долю веществ, растворимых в воде, определяют по ГОСТ 21119.2-75, методом горячей экстракции или кондуктометрическим.
При этом для получения водной вытяжки берут навеску 10 г и фильтруют через фильтр «синяя лента».
Построение градуировочного графика проводят по раствору сульфата аммония (ГОСТ 3769-78).
4.5. Массовую долю летучих веществ определяют по ГОСТ 21119.1-75, разд. 2, при этом берут навеску пигмента массой 5 г и высушивают в течение 2 ч.
(Измененная редакция, Изм. № 2).
4.6 - 4.6.3. (Исключены, Изм. № 1).
4.6а Определение диспергируемости
4.6а.1. Аппаратура, реактивы
Мельница лабораторная бисерная с частотой вращения вала мешалки (3000 ± 250) мин-1.
Стакан металлический вместимостью 250 см3.
Шарики стеклянные для диспергирования в бисерных мельницах диаметром (1,7 ± 0,3) мм, стойкостью к абразивному износу не менее 93 %.
Палочка стеклянная.
Гриндометр (прибор «Клин»).
Весы лабораторные по ГОСТ 24104-88 3-го класса точности с наибольшим пределом взвешивания 1000 г.
Уайт-спирит (нефрас-С4-155/200) по ГОСТ 3134-78.
Лак ПФ-064Н, ПФ-060Н вязкостью 60 - 80 с по вискозиметру типа ВЗ-246 по ГОСТ 9070-75 с диаметром сопла 4 мм, разбавленный уайт-спиритом до массовой доли летучих веществ 30 %, определенных по ГОСТ 17537-72.
4.6а.2. Проведение испытания
В стакан бисерной мельницы помещают 80 см3 стеклянных шариков и 65,0 г лака. Вращая стакан, смачивают шарики лаком, затем добавляют 37,0 г пигмента. Содержимое стакана тщательно перемешивают стеклянной палочкой, подставляют стакан под мешалку бисерной мельницы, закрепляют в держателе, закрывают крышкой и включают бисерную мельницу. Желтый железоокисный пигмент диспергируют в течение 30 мин.
Сразу же после выключения бисерной мельницы стакан снимают с мешалки. Степень перетира определяют по ГОСТ 6589-74. Отбор пробы - с помощью стеклянной палочки.
4.6а - 4.6а.2. (Введены дополнительно Изм. № 2).
4.7. Маслоемкость определяют по ГОСТ 21119.8-75, разд. 1 (с помощью стеклянной палочки).
4.8. Укрывистость определяют по ГОСТ 8784-75, разд. 1. при этом берут 2 г пигмента, взвешенного с погрешностью не более 0,01 г, и 4 - 5 г натуральной льняной олифы по ГОСТ 7931-76. Пигмент растирают с натуральной олифой на плите курантом или на механическом растирателе типа МАПП-1.
4.9. Относительную красящую способность определяют по ГОСТ 16872-78, разд. 1 или 2, при этом для получения пасты цветного пигмента берут 0,603 г пигмента и 1,12 см3 льняного масла. Для получения испытуемой и контрольной пасты берут 0,600 г пасты цветного пигмента.
При
разногласиях в оценке качества пигмента испытания проводят по ГОСТ 16872-78, разд.
2, при этом относительную красящую способность определяют по величине
.
4.10. Остаток после мокрого просеивания определяют по ГОСТ 21119.4-75, разд. 1. Масса навески - 50 г. Допускается использовать металлические сита диаметром 100 мм.
(Измененная редакция, Изм. № 2).
4.11. Остаток после сухого просеивания определяют по ГОСТ 21119.4-75, разд. 2. Масса навески - 10 г.
5.1. Упаковка, маркировка, транспортирование и хранение пигмента - по ГОСТ 9980.3-86 - ГОСТ 9980.5-86. Основной вид тары - мягкие контейнеры и бумажные метки.
(Измененная редакция, Изм. № 1).
5.2. Маркировка транспортной тары - по ГОСТ 14192-77 с нанесением манипуляционного знака «Боится сырости», с указанием знака опасности по ГОСТ 19433-88 (класс 9, подкласс 9.2, классификационный шифр 922).
(Введен дополнительно, Изм. № 2).
6.1. Изготовитель гарантирует соответствие пигмента требованиям настоящего стандарта при соблюдении условий транспортирования и хранения.
6.2. Гарантийный срок хранения пигмента - 12 мес со дня изготовления.
(Измененная редакция, Изм. № 1).
Справочное
Массовая доля соединений серы в пересчете на SO3, %, не более: для марки Ж-0 - 1,2; для марки Ж-1 - 1,8; для марки Ж-2 - 2,0.
Определение массовой доли соединений серы в пересчете на SO3 проводят титрометрическим методом
Реактивы, материалы и оборудование
Йод по ГОСТ 4159-79, раствор концентрации с (1/2 .J2) = 0,01 моль/дм3 (0,01 н.).
Крахмал растворимый по ГОСТ 10163-76, с массовой долей крахмала в растворе 1 %.
Кислота серная по ГОСТ 4204-77, ч., концентрированная.
Кислород газообразный технический и медицинский в баллонах по ГОСТ 5583-78.
Кальций хлористый плавленый по ГОСТ 4460-77.
Меди окись порошкообразная по ГОСТ 16539-79.
Вода дистиллированная по ГОСТ 6709-72.
Лодочка фарфоровая для сжигания № 3 по ГОСТ 9147-80.
Трубка фарфоровая с внутренним диаметром 20 мм и длиной 700 мм.
Бюретка но ГОСТ 20292-74, 2-2-25-0,1.
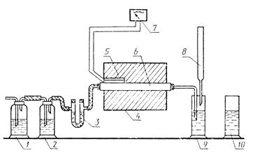
Установка для сжигания (см. чертеж).
1 - склянка с 30 %-ным раствором щелочи; 2 - склянка с концентрированной серной кислотой (плотностью - 1,84 г/см3); 3 - U-образная трубка с плавленным хлористым кальцием; 4 - трубчатая печь; 5 - термопара; 6 - фарфоровая трубка; 7 - милливольтметр; 8 - бюретка; 9 - поглотительная склянка; 10 - контрольный сосуд
Определение массы SO3, соответствующей 1 см3 раствора йода молярной концентрации с (1/2 J2) = 0,01 моль/дм3.
(0,5000 - 0,5099) г стандартного образца концентрата 154-б сжигают в установке и титруют раствором йода в соответствии с п. 4.6.3.
Массу SO3 (А), соответствующую 1 см3 раствора йода с молярной концентрацией с (1/2 J2) = 0,01 моль/дм3 в граммах, вычисляют но формуле
,
где V - объем раствора йода с молярной концентрацией с (1/2 J2), израсходованный на титрование, см3;
т - масса стандартного образца, г;
0,31 - массовая доля серы в пересчете на SO3 в стандартном образце № 154-б, %.
Проведение испытания
0,2 г пигмента, высушенного до постоянной массы при 105 - 110 °С, взвешивают с погрешностью не более 0,0002 г, помещают равномерным слоем в лодочку и сверху насыпают 1,5 г окиси меди, взвешенной с погрешностью не более 0,02 г. Лодочку при помощи стального крючка вдвигают в середину фарфоровой трубки, нагретой до 1250 °С. Трубку закрывают резиновой пробкой, соединенной с резиновой трубкой и капилляром. Конец капилляра опускают в поглотительную склянку (или колбу Эрленмейера), содержащую приблизительно 150 мл дистиллированной воды, 5 мл раствора крахмала и 0,5 - 0,7 мл раствора йода, прибавляемого из бюретки до получения устойчивой синей окраски раствора. Аналогично готовится контрольный раствор в другой поглотительной склянке.
Через установку пропускают кислород со скоростью 5 - 10 пузырьков в секунду и титруют обесцвечивающийся раствор в поглотительной склянке раствором йода до получения устойчивой синей окраски, не изменяющейся в течение 3 мин. Эта окраска должна совпадать с окраской контрольного раствора.
Обработка результатов
Массовую долю соединений серы в пересчете на SO3 (Х2) в процентах вычисляют по формуле
,
где V - объем раствора йода с молярной концентрацией с (1/2 J2) = 0,01 моль/дм3 израсходованный на титрование, см3;
А - масса SO3, соответствующая 1 см3 раствора йода с молярной концентрацией с (1/2 J2) = 0,01 моль/дм3, г;
т - масса навески пигмента, г.
За результат испытания принимают среднее арифметическое двух параллельных определений, допускаемые расхождения между которыми не должны превышать 0,05% при доверительной вероятности Р = 0,95.
(Введено дополнительно, Изм. № 1).